|
|
(21), (22) Заявка: 2008105151/03, 14.02.2008
(24) Дата начала отсчета срока действия патента:
14.02.2008
(46) Опубликовано: 27.06.2009
(56) Список документов, цитированных в отчете о поиске:
FR 2649423 А2, 11.01.1991. DE 2703583 A1, 03.08.1978. DE 2729907 A1, 18.01.1979. DE 4447121 A1, 03.08.1995. EP 0534312 A1, 31.03.1993. EP 0344423 A1, 06.12.1989. RU 58126 U1, 10.11.2006.
Адрес для переписки:
300001, г.Тула, ул. Плеханова, 45-А, кв.26, пат.пов. Л.Ф.Новиковой, рег. 224
|
(72) Автор(ы):
Дутко Олег Романович (RU), Франко Олег Михайлович (RU)
(73) Патентообладатель(и):
Дутко Олег Романович (RU), Франко Олег Михайлович (RU)
|
(54) БЕТОННЫЙ ДОЖДЕПРИЕМНЫЙ ЛОТОК И ЗАКЛАДНАЯ ДЕТАЛЬ ДЛЯ НЕГО
(57) Реферат:
Изобретение относится к устройствам для сбора и отвода воды с наземных дорожных покрытий и может быть использовано при благоустройстве дворов, скверов, садов, парков и т.п. Настоящее изобретение решает задачу повышения прочностных свойств бетонного дождеприемного лотка, а также повышение универсальности крепления металлической решетки к лотку. Данная задача решается тем, что в бетонном лотке, в верхней части продольных боковых сторон которого выполнены горизонтальные опорные поверхности, на которых размещены обоймы с горизонтальной опорной поверхностью под металлическую решетку, размещены закладные детали, выполненные в виде литейных плоских стержней, ориентированных плоской частью вдоль боковой стороны лотка. В верхней части стержней выполнено утолщение в виде прямоугольного параллелепипеда с полостью, открытой со стороны внутренней части лотка под крепежную гайку без возможности ее проворота. Центральное резьбовое отверстие под стяжной болт выполнено сквозным в верхней части параллелепипеда, а плоская часть стержня снабжена анкерными элементами. Крепление решеток к лоткам универсально: или посредством резьбового соединения болт – резьбовое отверстие, или болт – гайка, размещенная в открытой полости верхней утолщенной части закладной детали. Для повышения жесткости закладная деталь выполнена с ребрами жесткости, соединяющими плоскую часть стержня с расширенной частью. Анкерные элементы закладной детали могут быть выполнены на боковых сторонах плоской части стержня в виде равномерно расширяющихся к верхней части стержня выступов. 2 н. и 9 з.п. ф-лы, 6 ил.
Изобретение относится к устройствам для сбора и отвода воды с наземных дорожных покрытий и может быть использовано при благоустройстве дворов, скверов, садов, парков и т.п., для формирования пешеходных зон, тротуаров, велосипедных дорожек и т.д. Элемент бетонного лотка, а именно закладная деталь, предназначенная для крепления на лотке дождеприемной металлической решетки, может найти применение и в других железобетонных и бетонных строительных конструкциях для соединения их между собой и с другими конструкциями.
Известен патент Германии 2703583, МПК2 Е01С 11/22, E03F 5/06, 03.08.1978 г. По данному патенту предложены различные варианты крепления защитной металлической решетки к бетонному дождеприемному лотку, в верхней части продольных боковых сторон которого выполнены горизонтальные опорные поверхности. По одному из вариантов (Фиг.6 патента) в теле бетонного лотка размещена закладная деталь в виде анкерного болта. Металлическая решетка крепится к лотку клеящей твердеющей прослойкой и резьбовым соединением болт-гайка. По другому варианту (Фиг.4) на верхней части боковых сторон лотка посредством клеящей твердеющей прослойки закреплен насадок (крышка) с резьбовым отверстием под крепежный болт металлической решетки. К недостатку данных конструкций следует отнести то, что нагрузка от металлической решетки передается непосредственно на верхнюю опорную поверхность лотка, что приводит его к разрушению. Кроме того, в случае повреждения резьбовой части болта (первый вариант) или отверстия в насадке (второй вариант) проблематично закрепить решетку на лотке.
В качестве прототипа как для заявляемого бетонного дождеприемного лотка, так и для закладной детали для него взят элемент армированного бетонного желоба и закладная деталь для крепления металлической крышки к элементу желоба по патенту Франции 2649423, МКИ Е01С 11/22, 11.01.1991 г. По данному патенту в верхней части продольные боковые стороны элемента бетонного желоба охвачены обоймами, выполненными из металлического профиля, и образуют посредством уступа горизонтальную опорную поверхность под металлическую решетку. К внутренней поверхности обойм приварены закладные детали, размещенные в теле желоба, выполненных в виде полых стержней. В верхней части отверстия стержней выполнены резьбовыми под стяжные болты крепления металлической решетки, а в каждой паре стержней, размещенных на противоположных сторонах желоба, в отверстиях нижней части стержня размещены концы арматурной скобы, размещенной в поперечном сечении тела желоба. Данный элемент имеет более высокие прочностные свойства, чем вышеописанные лотки, за счет укрепления краев желоба металлическими обоймами и за счет снабжения их арматурными элементами-скобами. Однако он имеет те же недостатки, что и вышеописанные бетонные лотки. Во-первых, профиль верхней части желоба имеет малую опорную поверхность под металлическую решетку, а закладная деталь расположена близко к внутренней поверхности, что приводит к быстрому разрушению края желоба. Во-вторых, в случае повреждения резьбовой части в отверстии стержня проблематично закрепить решетку на желобе.
Настоящее изобретение решает задачу повышения прочностных свойств бетонного дождеприемного лотка за счет нового конструктивного исполнения закладных деталей и предварительного надежного крепления их в металлических обоймах перед прессованием тела лотка, а также повышение универсальности крепления металлической решетки к дождеприемному лотку, а значит, и повышение ремонтопригодности дождеотводного канала, формируемого из дождеприемных лотков.
Данная задача решается тем, что в бетонном дождеприемном лотке, в верхней части продольных боковых сторон которого выполнены горизонтальные опорные поверхности, на которых размещены обоймы, выполненные из металлического профиля, основание которых по внутренней поверхности контактирует с опорной горизонтальной поверхностью соответствующей боковой стороной лотка и по внешней поверхности образует горизонтальную опорную поверхность под металлическую решетку, снабженном закладными деталями, размещенными в теле лотка и выполненными в виде стержня с центральным резьбовым отверстием под стяжной болт крепления металлической решетки, закладные детали выполнены в виде литейных плоских стержней, ориентированных плоской частью вдоль боковой стороны лотка. В верхней части стержней выполнено утолщение в виде прямоугольного параллелепипеда с полостью, открытой со стороны внутренней части лотка под крепежную гайку без возможности ее проворота. Центральное резьбовое отверстие под стяжной болт выполнено сквозным в верхней части параллелепипеда, а плоская часть стержня снабжена анкерными элементами.
На внешней боковой продольной стороне каждой обоймы может быть выполнен продольный вертикальный выступ высотой не более толщины металлической решетки.
Со стороны открытой части параллелепипеда на его торцевой поверхности могут быть выполнены базирующие выступы, размещенные в ответных отверстиях, выполненных в боковых продольных сторонах обойм.
Со стороны открытой части параллелепипеда на его верхней грани целесообразно выполнить лыску для полного прилегания закладной детали к внутренней поверхности обоймы в месте ее изгиба.
Закладная деталь для вышеописанного бетонного дождеприемного лотка, выполненная в виде стержня с центральным резьбовым отверстием под стяжной болт крепления металлической решетки, выполнена в виде литейного плоского стержня, в верхней части которого выполнено утолщение в виде прямоугольного параллелепипеда с открытой полостью под крепежную гайку и сквозным отверстием в верхней части параллелепипеда под стяжной болт. Плоская часть стержня снабжена анкерными элементами.
Для повышения жесткости закладная деталь выполнена с ребрами жесткости, соединяющими плоскую часть стержня с расширенной частью.
В плоской части стержня вдоль его продольной оси выполнены отверстия, выполняющие роль анкерных элементов.
Для изменения длины закладной детали для различных типоразмеров лотка на плоской части стержня выполнены поперечные насечки, по которым плоская часть стержня может быть укорочена путем излома ее по насечке.
Анкерные элементы закладной детали могут быть выполнены на боковых сторонах плоской части стержня в виде равномерно расширяющихся к верхней части стержня выступов.
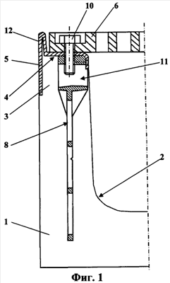
На фиг.1 представлен поперечный разрез бетонного дождеприемного лотка; на фиг.2 – закладная деталь, вид спереди; на фиг.3 представлен продольный разрез А-А закладной детали на фиг.2; на фиг.4 – поперечный разрез В-В закладной детали на фиг.2; на фиг.5а и 5б – вид в аксонометрии вариантов исполнения закладной детали, которые не исчерпывают другие возможные варианты их исполнения.
Бетонный дождеприемный лоток в поперечном сечении имеет прямоугольный профиль 1 внешней поверхности и U-образный профиль 2 внутренней поверхности, вместе образующие в верхней части дождеприемного лотка продольные боковые стороны 3 лотка с горизонтальными опорными поверхностями 4, на которых размещены П-образные обоймы 5, выполненные из металлического профиля. Основание каждой обоймы 5 по внутренней поверхности контактирует с опорной горизонтальной поверхностью соответствующей боковой стороной лотка и по внешней поверхности образует горизонтальную опорную поверхность под металлическую решетку 6.
На внутренних боковых продольных сторонах обойм 5 с определенным шагом выполнены отверстия 7 для предварительного базирования закладных деталей 8 перед прессованием лотка. В основании обойм 5 выполнены отверстия 9, в которых посредством стяжных болтов 10 закреплены закладные детали 8. Защитная металлическая решетка 6 может крепиться к бетонному лотку как посредством стяжных болтов 10, так и посредством гаек (не показано), размещенных в полости 11 закладных деталей 8.
На внешней боковой продольной стороне каждой обоймы 5 может быть выполнен продольный вертикальный выступ 12 высотой не более толщины металлической решетки 6.
Каждая закладная деталь 8 для вышеописанного бетонного дождеприемного лотка выполнена в виде литейного стержня. В верхней части литейного стержня выполнено утолщение 13 в виде прямоугольного параллелепипеда с открытой полостью 11 под крепежную гайку и сквозным резьбовым отверстием 14 в верхней части параллелепипеда под стяжной болт 10. Плоская часть 15 стержня снабжена анкерными элементами, выполненными, например, на боковых сторонах плоской части стержня в виде равномерно расширяющихся к верхней части стержня выступов 16.
Для повышения жесткости стержня он снабжен ребрами жесткости 17, соединяющими плоскую часть 15 стержня с расширенной частью 13.
В плоской части 15 стержня вдоль его продольной оси выполнены отверстия 18, выполняющие роль анкерных элементов.
На плоской части 15 стержня выполнены поперечные насечки 19, по которым плоская часть стержня может быть укорочена путем излома ее по насечке.
Со стороны открытой части параллелепипеда на его торцевой поверхности могут быть выполнены базирующие выступы 20 под ответные отверстия 7, выполненные в обойме 5.
Со стороны открытой части параллелепипеда на его верхней грани выполнена лыска 21. Данная лыска обеспечивает более полное прилегание закладной детали 8 к внутренней поверхности обоймы 5.
Изготовление бетонного лотка осуществляют следующим образом.
Если необходимо, для случая изготовления невысоких лотков закладные детали 8 укорачивают путем отлома соответствующей длины по насечкам 19.
Предварительно закладные детали 8 крепят в металлических обоймах 5. Для этого закладные детали 8 выступами 20 фиксируют в ответных отверстиях 7 обойм 5. После чего закладные детали закрепляют на обойме 5 посредством болтов 10, вворачиваемых в резьбовое отверстие 14. Далее в полости 11 закладных деталей размещают наполнитель, например кусок поролона (не показано), для исключения заполнения данной полости бетоном в процессе изготовления лотка.
Обоймы 5 с закрепленными в них закладными деталями 8 размещают и фиксируют в форме, которую заполняют бетоном. Методом прессования изготавливают качественный, прочный бетонный дождеприемный лоток, в теле которого запрессованы закладные детали 8, плоская поверхность которых ориентирована вдоль боковой стороны лотка. После прессования лотка поролон извлекают из полости 11.
Открытая часть полости 11 закладной детали 8 обращена во внутреннюю часть лотка и ее высота больше высоты крепежной гайки, а ширина данной полости, с одной стороны, позволяет разместить крепежную гайку в ней, а с другой стороны, фиксирует ее от проворота.
После сборки из дождеприемных лотков дождеотводного канала его сверху защищают решетками 6. Крепление решеток 6 к бетонным лоткам осуществляется следующим образом. Выворачивают болты 10 из отверстий 14. На опорные поверхности обойм 5 укладывают решетки 6 и стяжными болтами 10, вворачиваемыми в отверстия 14 закладных деталей 8, надежно крепят их к бетонном лоткам. В случае повреждения резьбовой части отверстий 14 крепление решеток 6 к лоткам осуществляется путем предварительного размещения крепежной гайки в соответствующей полости 11 и последующего вворачивания в нее болта 10. Таким образом, крепление решеток 6 к лоткам универсально: или посредством резьбового соединения болт 10 – резьбовое отверстие 14, или болт 10 – гайка (не показано), размещенная в полости 11.
В процессе эксплуатации поверхностного дождеотводного канала дождевая вода свободно через металлические решетки попадает в дождеприемный бетонный лоток и отводится в канализацию или другую сборную емкость.
За счет использования в бетонном лотке закладных деталей заявленной конструкции нагрузка от металлической решетки передается как на внешнюю опорную поверхность лотка, так и на весь объем тела лотка. По сравнению с известными дождеотводными каналами данный бетонный дождеприемный лоток обладает повышенными прочностными свойствами, что позволяет ему выдержать большие нагрузки и удлинить срок его эксплуатации. Кроме того, улучшается обслуживание дождеотводного канала, формируемого из заявленного дождеприемного лотка, путем универсальности крепления металлических решеток к лоткам.
Источники информации
1. Патент Франции 2649423, МКИ Е01С 11/22, 11.01.1991 г. (прототип);
2. Патент Германии 2703583, МКИ Е01С 11/22, E03F 5/06, 03.08.1978 г.;
3. Патент Германии 2729907, МКИ Е01С 11/22, E03F 3/04, 18.01.1979 г.;
4. Патент Германии 19526985, МКИ Е01С 11/22, 13.01.2000 г.;
5. Патент Германии 4447121, МКИ Е01С 11/22, E03F 3/04, 03.08.1995 г.;
6. Патент Франции 2700563, МКИ Е01С 11/22, 22.07.1994 г.;
7. Патент Франции 2743373, МКИ Е01С 11/22, 11.07.1997 г.;
8. Европатент 0344423, МКИ Е01С 11/22, 25.03.1989 г.;
9. Европатент 0534312, МКИ Е01С 11/22, 31.03.1993 г.
Формула изобретения
1. Бетонный дождеприемный лоток, в верхней части продольных боковых сторон которого выполнены горизонтальные опорные поверхности, на которых размещены обоймы, выполненные из металлического профиля, основание которых по внутренней поверхности контактирует с опорной горизонтальной поверхностью соответствующей боковой стороной лотка, и по внешней поверхности образует горизонтальную опорную поверхность под металлическую решетку, снабженный закладными деталями, размещенными в теле лотка и выполненными в виде стержня с центральным резьбовым отверстием под стяжной болт крепления металлической решетки, отличающийся тем, что закладные детали выполнены в виде литейных плоских стержней, ориентированных плоской частью вдоль боковой стороны лотка, в верхней части которых выполнено утолщение в виде прямоугольного параллелепипеда с полостью открытой со стороны внутренней части лотка под крепежную гайку без возможности ее проворота, причем центральное резьбовое отверстие под стяжной болт выполнено сквозным в верхней части параллелепипеда, а плоская часть стержня снабжена анкерными элементами.
2. Лоток по п.1, отличающийся тем, что на внешней боковой продольной стороне каждой обоймы выполнен продольный вертикальный выступ высотой не более толщины металлической решетки.
3. Лоток по п.1, отличающийся тем, что со стороны открытой части параллелепипеда на его торцевой поверхности выполнены базирующие выступы, размещенные в ответных отверстиях, выполненных в боковых продольных сторонах обойм.
4. Лоток по п.1, отличающийся тем, что со стороны открытой части параллелепипеда на его верхней грани выполнена лыска.
5. Закладная деталь для бетонного дождеприемного лотка, выполненная в виде стержня с центральным резьбовым отверстием под стяжной болт крепления металлической решетки, отличающаяся тем, что она выполнена в виде литейного плоского стержня, в верхней части которого выполнено утолщение в виде прямоугольного параллелепипеда с открытой полостью под крепежную гайку и сквозным отверстием в верхней части параллелепипеда под стяжной болт, а плоская часть стержня снабжена анкерными элементами.
6. Закладная деталь по п.5, отличающаяся тем, что она выполнена с ребрами жесткости, соединяющими плоскую часть стержня с расширенной частью.
7. Закладная деталь по п.5, отличающаяся тем, что в плоской части стержня вдоль продольной оси выполнены отверстия.
8. Закладная деталь по п.5, отличающаяся тем, что на плоской части стержня выполнены поперечные насечки.
9. Закладная деталь по п.5, отличающаяся тем, что анкерные элементы выполнены на боковых сторонах плоской части стержня в виде равномерно расширяющихся к верхней части стержня выступов.
10. Закладная деталь по п.5, отличающаяся тем, что со стороны открытой части параллелепипеда на его торцевой поверхности выполнены базирующие выступы.
11. Закладная деталь по п.5, отличающаяся тем, что со стороны открытой части параллелепипеда на его верхней грани выполнена лыска.
РИСУНКИ
|
|