|
|
(21), (22) Заявка: 2007143822/02, 26.11.2007
(24) Дата начала отсчета срока действия патента:
26.11.2007
(46) Опубликовано: 27.06.2009
(56) Список документов, цитированных в отчете о поиске:
RU 2041354 C1, 09.08.1995. US 5223664 A, 29.06.1993. RU 2154623 C1, 20.08.2000. WO 8808414 A1, 03.11.1988.
Адрес для переписки:
607188, Нижегородская обл., г. Саров, пр. Мира, 37, ФГУП “РФЯЦ-ВНИИЭФ”, начальнику ОПИНТИ
|
(72) Автор(ы):
Шутов Виктор Иванович (RU), Вакин Алексей Васильевич (RU)
(73) Патентообладатель(и):
Российская Федерация, от имени которой выступает государственный заказчик-Федеральное агентство по атомной энергии (RU), Федеральное госудаственное унитарное предприятие “Российский федеральный ядерный центр-Всероссийский научно-исследовательский институт экспериментальной физики”-ФГУП “РФЯЦ-ВНИИЭФ” (RU)
|
(54) ДЕТОНИРУЮЩИЙ ШНУР
(57) Реферат:
Изобретение относится к детонирующим шнурам (ДШ) и может быть применено для инициирования зарядов взрывчатых веществ (ВВ). ДШ включает сердцевину из ВВ, оплетку или оболочку и входной участок, снабженный наконечником, представляющим собой заряд-усилитель из ВВ, в котором выполнен канал для размещения входного участка ДШ. Заряд-усилитель выполнен в виде единой шашки, а канал – глухим. Глубину канала h и диаметр шашки DШ выбирают из определенных соотношений. Изобретение позволяет упростить требования по технологичности при сохранении надежности соединения и обеспечении безотказности срабатывания. 1 ил.
Изобретение относится к области взрывных работ, в частности к детонирующим шнурам (ДШ), и может быть применено в различных областях промышленности, где проводятся взрывные работы, для инициирования зарядов взрывчатых веществ (ВВ) в качестве средства инициирования в детонационных системах.
Задачей, стоящей в данной области техники, является создание ДШ, достаточно тонкого в сечении, так называемого малогабаритного ДШ, с минимальным бризантным действием, при этом высоконадежного в функционировании и с достаточной инициирующей способностью. Для повышения инициирующей способности малогабаритных ДШ применяют, например, наконечники с зарядами-усилителями различных конструкций, выполняют концевые участки ДШ с расширением и т.п.
Известен малогабаритный ДШ (патент РФ 2154623, опубликован 20.08.2000 г.), состоящий из оболочки и сердцевины из ВВ, концевой участок которого выполнен с расширением, что позволяет выполнить ДШ по всей длине относительно тонким и малобризантным в радиальном направлении. Концевой участок играет роль заряда-усилителя для передачи детонационного импульса приемному инициируемому заряду. Выполнение заряда-усилителя такой конфигурации целесообразно производить только на концевом участке. На начальном участке ДШ имеет малый диаметр сердцевины ВВ, и для надежного инициирования самого ДШ необходимо применять заряд-усилитель с обеспечением ряда требований. Соединение заряда-усилителя с ДШ должно быть герметичным, беззазорным, что не всегда может быть сохранено к моменту срабатывания, т.к. в процессе транспортировки, хранения и температурных перепадов могут возникать повреждения, что в конечном результате приводит к отказу.
Известен способ соединения средств взрывания между собой (патент РФ 2163000, опубликован 10.02.2001 г.), включающий нанесение герметизирующего покрытия на промежуточный детонатор и детонирующий шнур при сборке. Безотказность функционирования такого соединения достигается за счет того, что герметизирующее покрытие на шнур наносят выборочно, исключая места контактирования его с промежуточным детонатором во время стыковки с ним, а после стыковки герметизирующее покрытие наносят на всю поверхность соединения.
Недостатком такого соединения ДШ с промежуточным детонатором является длительность сборки и ограниченность в выборе материала герметизирующего покрытия.
Известен малогабаритный ДШ «Детон» (патент 2041354, опубликован 09.08.1995 г.), включающий сердцевину из ВВ, оплетку и наконечник на входном участке. Сердцевина представляет собой тонкую сплошную гибкую нить из ВВ, состоящую из конгломератов частиц бризантного ВВ, распределенных в полимерной матрице. Наконечник представляет собой заряд-усилитель из взрывчатого вещества, в котором выполнен канал для размещения входного участка ДШ. Заряд-усилитель помещен в металлический колпачок и выполнен составным из цилиндрического заряда и кольцевого, в канале последнего и размещают без зазора входной участок ДШ. Цилиндрический заряд инициируют капсюлем-детонатором или электродетонатором, после чего детонационный импульс от цилиндрического заряда передается на кольцевой заряд и торец ДШ, а кольцевой заряд, в свою очередь, инициирует нить ДШ по образующей. Т.о. заряд-усилитель является средством взрывания ДШ, обеспечивая торцевое и боковое инициирование нити ВВ. Данная конструкция по количеству сходных признаков и решаемой задаче является наиболее близкой к заявляемому изобретению и выбрана в качестве прототипа.
Недостатком прототипа являются повышенные требования к изготовлению, связанные с обязательным условием установки входного участка МДШ в канале без зазора.
Техническим результатом заявляемого решения является повышение технологичности изготовления путем упрощения требований, предъявляемых к соединению МДШ со средством его взрывания.
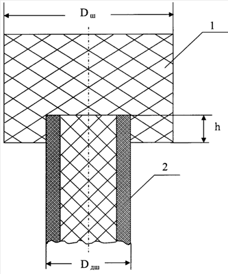
Указанный технический результат достигается за счет того, что в известном детонирующем шнуре, включающем сердцевину из взрывчатого вещества, оплетку (оболочку) и входной участок, снабженный наконечником, представляющим собой заряд-усилитель из взрывчатого вещества, в котором выполнен канал для размещения входного участка ДШ, отличительным является то, что заряд-усилитель выполняют в виде единой шашки, а канал – глухим, при этом глубину канала h и диаметр шашки DШ выбирают из следующих соотношений:
h=(0,5-l)DДШ;
DШ=2 DДШ, где
DДШ – диаметр детонирующего шнура.
Выполнение заряда-усилителя в виде единой шашки упрощает конструкцию средства взрывания и повышает технологичность изготовления.
Выполнение канала глухим снимает требование по беззазорному соединению МДШ со средством взрывания: в отсутствии зазора между зарядом-усилителем и МДШ обеспечивается его надежность инициирования; при наличии зазора, как показали исследования, за счет кумуляции продуктов взрыва в зазоре уровень надежности инициирования МДШ также сохраняется.
Глубина канала h, выбранная из вышеуказанного соотношения, упрощает контроль заглубления МДШ в шашку ВВ, что также повышает технологичность изготовления.
Диаметр шашки DШ, выбранный из вышеуказанного соотношения, обеспечивает условие отсутствия влияния боковой разгрузки в шашке ВВ на формирование зоны кумуляции продуктов взрыва в зазоре, что также способствует снятию требования по беззазорному соединению МДШ со средством взрывания, т.е. повышению технологичности изготовления.
На чертеже приведена общая схема заявляемого устройства, где:
1 – заряд-усилитель
2 – детонирующий шнур.
Примером конкретного исполнения заявляемого устройства может служить следующая конструкция. Заряд-усилитель 1 выполнен в виде шашки из пластического ВВ диаметром 3 мм, в которой выполнен глухой канал диаметром 1,5 мм и глубиной 1 мм. Детонирующий шнур 2 наружным диаметром 1,5 мм выполнен по патенту РФ 2154623 (описание данного ДШ приведено выше, на л. 2-1) и вмонтирован в заряд-усилитель 1.
Работа заявляемого устройства осуществляется следующим образом. Заряд-усилитель 1 подрывается любым средством инициирования (капсюлем-детонатором, электродетонатором и т.п.). Детонация выходит на торец глухого отверстия заряда-усилителя 1. При отсутствии зазора между торцом ДШ 2 и торцом глухого отверстия заряда-усилителя 1 детонация надежно передается сердцевине ДШ, выполненной из ВВ. При наличии зазора между ДШ 2 и торцом глухого отверстия заряда-усилителя 1, за счет кумуляции продуктов взрыва, в зазоре формируется зона повышенного давления, что также приводит к надежному инициированию МДШ.
Эксперименты проводили с устройствами, в которых реализовали зазоры разной величины вплоть до 2 мм. Во всех экспериментах были получены положительные результаты.
Формула изобретения
Детонирующий шнур, включающий сердцевину из взрывчатого вещества, оплетку или оболочку и входной участок, снабженный наконечником, представляющим собой заряд-усилитель из взрывчатого вещества, в котором выполнен канал для размещения входного участка детонирующего шнура, отличающийся тем, что заряд-усилитель выполнен в виде единой шашки, а канал – глухим, при этом глубина канала h и диаметр шашки DШ выбраны из следующих соотношений: h=(0,5-1)DДШ и DШ=2DДШ, где DДШ – диаметр детонирующего шнура, мм.
РИСУНКИ
TK4A – Поправки к публикациям сведений об изобретениях в бюллетенях “Изобретения (заявки и патенты)” и “Изобретения. Полезные модели”
Напечатано: (73) Российская Федерация, от имени которой выступает государственный заказчик-Федеральное агентство по атомной энергии (RU), Федеральное госудаственное унитарное предприятие «Российский федеральный ядерный центр-Всероссийский научно-исследовательский институт экспериментальной физики»-ФГУП «РФЯЦ-ВНИИЭФ» (RU)
Следует читать: (73) Российская Федерация, от имени которой выступает государственный заказчик-Федеральное агентство по атомной энергии (RU), Федеральное государственное унитарное предприятие «Российский федеральный ядерный центр-Всероссийский научно-исследовательский институт экспериментальной физики»-ФГУП «РФЯЦ-ВНИИЭФ» (RU)
Номер и год публикации бюллетеня: 18-2009
Код раздела: FG4A
Извещение опубликовано: 20.08.2009 БИ: 23/2009
|
|