|
|
(21), (22) Заявка: 2005132817/03, 22.03.2004
(24) Дата начала отсчета срока действия патента:
22.03.2004
(30) Конвенционный приоритет:
25.03.2003 US 10/397,001
(43) Дата публикации заявки: 10.06.2006
(46) Опубликовано: 27.06.2009
(56) Список документов, цитированных в отчете о поиске:
WO 02/40418 A2, 23.05.2002. WO 02/40418 A2, 23.05.2002. US 5858519 A, 12.01.1999. JP 10101825 A, 21.04.1998.
(85) Дата перевода заявки PCT на национальную фазу:
25.10.2005
(86) Заявка PCT:
US 2004/008707 20040322
(87) Публикация PCT:
WO 2004/087415 20041014
Адрес для переписки:
103735, Москва, ул. Ильинка, 5/2, ООО “Союзпатент”, пат.пов. Л.С.Кишкиной
|
(72) Автор(ы):
ФИНЛИ Джеймс Дж. (US), ТИЛЬ Джеймс П. (US)
(73) Патентообладатель(и):
ППГ ИНДАСТРИЗ ОГАЙО, ИНК. (US)
|
(54) СПОСОБ ИЗГОТОВЛЕНИЯ ИЗДЕЛИЙ С ПОКРЫТИЕМ И ИЗДЕЛИЯ С ПОКРЫТИЕМ, ИЗГОТОВЛЕННЫЕ ЭТИМ СПОСОБОМ
(57) Реферат:
Изобретение относится к изделиям с покрытием. Технический результат изобретения заключается в уменьшении механического или химического повреждения конструкционного покрытия, нанесенного на подложку. Конструкционное покрытие наносят на первую подложку, которая может быть выполнена из стекла, пластика, металла и т.д. Конструкционное покрытие включает, по меньшей мере, одну пленку, содержащую оксид металла, и, по меньшей мере, одну металлическую пленку, отражающую инфракрасные лучи. На конструкционное покрытие наносят защитное покрытие. Защитное покрытие состоит из первого слоя, содержащего от 50 до 100 вес.% оксида алюминия и от 50 до 0 вес.% оксида кремния, и второго слоя, содержащего от 50 до 100 вес.% оксида кремния и от 50 до 0 вес.% оксида алюминия. Защитное покрытие имеет толщину от 300 Å до 5 микрон. На защитное покрытие наносят полимерный материал и сверху размещают вторую подложку с целью получения ламинированного изделия. 4 н. и 28 з.п. ф-лы, 8 ил.
Уровень техники
Область изобретения
Настоящее изобретение относится в основном к изделиям с покрытием, т.е. имеющим покрытие к автомобильным прозрачным деталям, и к способу изготовления изделий с покрытием.
Описание доступной в настоящее время технологии
Известна возможность уменьшения накопления тепла внутри транспортных средств путем применения ламинированного ветрового стекла, имеющего два стеклянных слоя с ослабляющим инфракрасное (ИК) или ультрафиолетовое (УФ) воздействие солнцезащитным покрытием, помещенным между слоями с целью предохранения солнцезащитного покрытия от механического или химического повреждения. Такие традиционные ветровые стекла изготовляют путем формовки и отжига двух плоских стеклянных заготовок (на одну из которых нанесено солнцезащитное покрытие), получая при этом два отформованных и отожженных стеклянных слоя, которые затем скрепляются между собой с помощью промежуточного пластикового слоя. Поскольку традиционные солнцезащитные покрытия включают металлические слои, которые отражают тепло, стеклянные заготовки обычно нагревают и формуют в виде «дублетов», т.е. заготовки при нагреве и формовании располагают одну на другой и помещают между стеклянными заготовками конструкционное покрытие для предотвращения неравномерного нагревания и охлаждения, что могло бы повлиять на конечную форму слоев. Примеры ламинированных ветровых стекол и способов их изготовления раскрыты в патентах США  4820902, 5028759 и 5653903.
Способность дублета к прогреву, как правило, ограничивается способностью конструкционного покрытия быть подвергнутому термообработке без неблагоприятного повреждения. Под «способностью к прогреву» подразумевается максимальная температура и/или максимальное время при конкретной температуре, до которой дублет может быть нагрет без повреждения конструкционного покрытия. Такое повреждение может принять форму окисления различных металлических слоев в покрытии, что может повлиять на оптические свойства покрытия, такие как отражение и/или пропускание солнечной энергии.
Было бы также полезно обеспечить солнцезащитное покрытие и на других автомобильных прозрачных деталях, таких как габаритные фонари, задние фонари, верхние люки, ночные верхние окна и т.д. Однако способы изготовления ламинированных ветровых стекол трудно адаптируются к изготовлению других типов ламинированных и/или неламинированных автомобильных прозрачных деталей. Например, традиционные автомобильные габаритные фонари обычно изготовляют из одной стеклянной заготовки, которую отдельно нагревают, формуют и закаляют до желаемой кривизны, диктуемой размерами отверстия в транспортном средстве, в котором габаритный фонарь должен быть установлен. Проблема, возникающая при изготовлении габаритных фонарей и отсутствующая при изготовлении ветровых стекол, является проблемой отдельного нагрева стеклянных заготовок с теплоотталкивающим солнцезащитным покрытием.
Кроме того, если габаритный фонарь размещается таким образом, что покрытие находится на поверхности габаритного фонаря, обращенной наружу от транспортного средства (на внешней поверхности), покрытие при этом чувствительно к механическому повреждению со стороны ударяющихся о покрытие предметов и к химическому повреждению от кислотного дождя или моющих средств, применяемых для мойки автомобилей. Если покрытие находится на поверхности габаритного фонаря, обращенной внутрь транспортного средства (на внутренней поверхности), покрытие чувствительно к механическому повреждению от прикосновений находящихся в транспортном средстве лиц или от поворотов вверх и вниз в оконном проеме, а также к химическому повреждению в результате контакта с обычными стеклоочистителями. Кроме того, если покрытие является слабоизлучающим, оно может создавать парниковый эффект, улавливая тепло внутри транспортного средства.
В то же время известна возможность уменьшения химического повреждения или коррозии покрытию с помощью покрытия его сверху химически стойким материалом, нанося такие надпокрытия обычно как можно более тонкими с той целью, чтобы они не оказывали неблагоприятного воздействия на оптические характеристики (например, цвет, отражающую способность и пропускание) нижележащего покрытия и чтобы при этом они не усиливали в значительной степени излучения нижележащего покрытия. Такие тонкие надпокрытия обычно не отвечают требованиям стойкости при транспортировке, обработке и конечной эксплуатации традиционных покрытых автомобильных прозрачных деталей, которые легко повреждаются и постоянно подвергаются воздействию окружающей среды. Кроме того, такие тонкие надпокрытия скорее всего не облегчают обсуждаемую выше проблему парникового эффекта. Примеры традиционных надпокрытий раскрыты в патентах США  4716086, 4786563, 5425861, 5344718, 5376455, 5584902 и 5532180.
Таким образом, представляется целесообразным создание способа изготовления изделия, например ламинированной или неламинированной автомобильной прозрачной детали, имеющего конструкционное покрытие, которое понижает или устраняет, по меньшей мере, некоторые из обсуждаемых выше проблем.
Раскрытие изобретения
Изделие изобретения включает, по меньшей мере, одну подложку, конструкционное покрытие, образованное поверх, по меньшей мере, части подложки, и защитное покрытие, образованное поверх, по меньшей мере, части конструкционного покрытия. Конструкционное покрытие и защитное покрытие образуют блок покрытий. На защитном покрытии может быть образован, по меньшей мере, один полимерный материал. Защитное покрытие может иметь коэффициент преломления такой же, как коэффициент преломления полимерного материала. В результате этого присутствие защитного покрытия проявляет слабый или нулевой нежелательный оптический эффект типа нежелательного изменения цвета, отражения и/или пропускания по сравнению с покрытой подложкой. Изделие может быть ламинированным и содержать две или более подложки, а также полимерный материал, представляющий собой материал промежуточного слоя, скрепляющего одну с другой, по меньшей мере, две подложки.
Ламинированная автомобильная прозрачная деталь, которой конкретно посвящено изобретение, включает первую стеклянную подложку, имеющую первую главную поверхность, и конструкционное покрытие, образованное на, по меньшей мере, части первой главной поверхности. Конструкционное покрытие может включать, по меньшей мере, одну содержащую оксид металла покровную пленку и, по меньшей мере, одну отражающую инфракрасный свет пленку металла. Защитное покрытие может быть образовано на, по меньшей мере, части конструкционного покрытия. Конструкционное покрытие может содержать от 0 до 100 вес.% оксида алюминия, в частности от 5 до 100 вес.%, от 0 до 100 вес.% оксида алюминия и/или от 0 до 100 вес.% оксида кремния, в частности от 0 до 65 вес.% оксида кремния, и может иметь толщину в пределах от 50 Å до 5 µм. Стеклянная деталь может, кроме того, включать вторую стеклянную подложку и полимерный материал, примером которого может быть (не ограничивая этим изобретения) поливинилбутираль, расположенный между защитным слоем и второй стеклянной подложкой. Материал для защитного покрытия и/или полимерный материал могут подбираться таким образом, чтобы показатели преломления защитного покрытия и полимерного слоя были существенно одинаковыми, например с разницей один от другого в пределах ±0,2.
Монолитное изделие включает подложку, конструкционное покрытие, образованное на, по меньшей мере, части подложки, и защитное покрытие, образованное на, по меньшей мере, части конструкционного покрытия. Конструкционное покрытие и защитное покрытие образуют блок покрытий. Защитное покрытие может иметь толщину в пределах от 1 до 5 µм. Полимерный материал может быть образован на, по меньшей мере, части конструкционного покрытия. Защитное покрытие может иметь коэффициент преломления существенно такой же, как и коэффициент преломления полимерного материала.
Способ изготовления ламинированного изделия включает подготовку первой подложки; образование конструкционного покрытия на, по меньшей мере, части первой подложки; образование защитного покрытия на, по меньшей мере, части конструкционного покрытия; и образование полимерного материала на, по меньшей мере, части защитного покрытия. Защитное покрытие и/или полимерный материал подбираются таким образом, чтобы защитное покрытие и полимерный материал имели существенно одни и те же показатели преломления.
Еще один способ изобретения включает подготовку первой подложки, образование конструкционного покрытия на, по меньшей мере, части первой подложки, образование защитного покрытия на, по меньшей мере, части конструкционного покрытия и подготовку второй подложки. Первая и вторая подложки могут быть расположены таким образом, чтобы образовать дублет с расположенным между подложками конструкционным покрытием. Защитное покрытие может включать один или более слоев, например, в качестве единственного слоя слой, содержащий от 0 до 100 вес.% оксида алюминия и/или от 100 до 0 вес.% оксида кремния, например от 5 до 100 вес.% оксида алюминия и от 95 до 0 вес.% оксида кремния, например от 50 до 70 вес.% оксида алюминия и от 50 до 30 вес.% оксида кремния. Альтернативным образом, защитное покрытие может включать два или более слоев, например первый слой, содержащий от 5 до 100 вес.% оксида алюминия и от 95 до 0 вес.% оксида кремния, например от 50 до 70 вес.% оксида алюминия и от 50 до 30 вес.% оксида кремния, и второй слой, содержащий от 30 до 100 вес.% оксида кремния и от 70 до 0 вес.% оксида алюминия, например от 70 до 100 вес.% оксида кремния и от 0 до 30 вес.% оксида алюминия. Дублет может быть прогрет и/или отформован. Защитное покрытие может действовать как кислородный барьер для улучшения нагреваемости дублета путем предотвращения или уменьшения окисления металлических слоев в нижележащем конструкционном покрытии.
Краткое описание чертежей
Фиг.1 представляет боковой разрез (немасштабированный) краевой части ламинированной автомобильной прозрачной детали, например габаритного фонаря, обладающего признаками изобретения.
Фиг.2 представляет общий, частично раскрытый вид устройства (с удаленными для ясности частями) для изготовления стеклянных заготовок G (покрытых или непокрытых) в соответствии с настоящим изобретением.
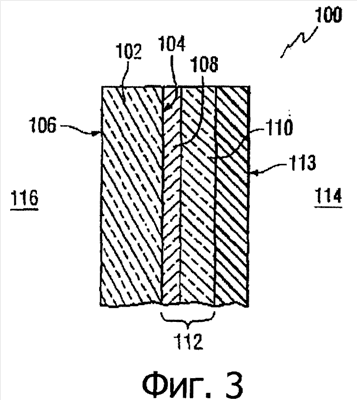
Фиг.3 представляет боковой разрез (немасштабированный) части монолитного изделия в соответствии с настоящим изобретением.
Фиг.4 представляет график, демонстрирующий результаты теста Табера на истирание для подложек с защитным покрытием изобретения в сравнении с подложками без защитного покрытия;
Фиг.5 представляет график среднего помутнения для отдельных подложек на фиг.4.
Фиг.6 представляет график зависимости значения излучательной способности от толщины покрытия для подложек с защитным покрытием изобретения.
Фиг.7 представляет график, демонстрирующий результаты теста Табера на истирание для подложек с защитным покрытием изобретения.
Фиг.8 представляет гистограмму, демонстрирующую влияние термообработки и толщины покрытия на истирание Табера для покрытых подложек, имеющих защитное покрытие изобретения.
Описание предпочтительных воплощений
Используемые в настоящей заявке пространственные термины и термины направления, такие как «левый», «правый», «внутренний», «внешний», «выше», «ниже», «верхний», «нижний» и т.п., соотносятся с изобретением так, как это показано на чертежах. Однако следует иметь в виду, что изобретение может принимать различные альтернативные направления и в соответствии с этим указанные термины не рассматриваются как ограничительные. Кроме того, в соответствии с логикой настоящей заявки все используемые в описании и формуле изобретения числа, выражающие размеры, физические характеристики, параметры обработки, количества ингредиентов, условия реакции и т.д., следует принимать как числа, которые могут быть во всех случаях изменены с помощью термина «примерно (приблизительно)». Таким образом, если не оговорено особо, приводимые в последующем описании и формуле изобретения численные значения могут меняться в зависимости от желаемых свойств, являющихся целью настоящего изобретения. В самом крайнем случае, без намерения ограничить применения теории эквивалентов в отношении объема формулы изобретения, каждое численное значение рекомендуется воспринимать, по меньшей мере, с учетом количества приведенных значащих цифр и применения обычных средств округления. Наряду с этим все раскрываемые в заявке интервалы значений следует понимать как включающие нижние и верхние значения интервалов и любой и все входящие в них подынтервалы. Например, заявляемый интервал «от 1 до 10» следует понимать как интервал, включающий любой и все подынтервалы между (и включая их) минимальным значением 1 и максимальным значением 10 или меньше, например от 5,5 до 10. Термин «плоская» или «существенно плоская» подложка относится к подложке с существенно плоской формой, т.е. подложка лежит в основном в единственной геометрической плоскости, причем такие подложки, как это должно быть очевидно для специалиста в данной областью, могут иметь слабые изгибы, выступы или впадины. Кроме того, согласно логике настоящей заявки термины «образованные поверх», «нанесенные поверх» или «приготовленные (созданные) поверх» обозначают образованные, нанесенные или приготовленные на, но не обязательно в контакте с поверхностью. Например, слой покрытия «образованный поверх» подложки не отрицает возможности наличия еще одного или более слоев покрытия или пленок одинакового или различного состава, расположенных между образованным слоем покрытия и подложкой. Все цитируемые в заявке документы следует принимать как полностью включенные в настоящую заявку в качестве ссылочного материала. Согласно логике настоящей заявки термины «полимер» или «полимерный» относятся к олигомерам, гомополимерам, сополимерам и тройным сополимерам, например полимерам, образуемым двумя или более типами мономеров или полимеров.
Как следует из приведенного ниже обсуждения, защитное покрытие изобретения может быть использовано при изготовлении ламинированных и неламинированных (например, с одной подложкой) изделий. В случае применения ламинированных изделий защитное покрытие, как правило, может быть тоньше, чем при применении неламинированных изделий. Вначале будут описаны структурные компоненты и способ изготовления выбранного в качестве примера ламинированного изделия, после чего будет описано выбранное в качестве примера ламинированное изделие. Под «монолитной» подразумевается единая структурная подложка или структурный элемент, например, включающий одну подложку. В приведенном ниже обсуждении описывается выбранный в качестве примера изделия (ламинированного или монолитного) автомобильный габаритный фонарь. Однако изобретение не ограничивается автомобильными габаритными фонарями и может быть использовано также в отношении любых изделий, таких как (не ограничиваясь ими) изолирующие стеклянные устройства, гражданские или торговые ламинированные окна (например, стеклянные люки в крыше) или прозрачные детали для наземных, воздушных, космических, надводных или подводных транспортных средств, несколькими произвольно взятыми примерами которых являются ветровые стекла, задние фонари, дневные или ночные верхние окна (люки в крыше) автомобилей.
Фиг.1 иллюстрирует ламинированное изделие в виде габаритного фонаря 10, обладающего признаками изобретения. Ламинированный габаритный фонарь 10 включает первую подложку, или слой, 12, имеющую внешнюю главную поверхность 13 и внутреннюю главную поверхность 14. Под «слоем» подразумевается подложка, которая была выгнута до желаемой формы или кривизны и/или подвергнута термообработке типа отжига или закалки. Конструкционное покрытие 16 может быть образовано поверх (например, на), по меньшей мере, части и предпочтительно на всей внутренней главной поверхности 14 с помощью любого традиционного способа, несколькими произвольно выбранными примерами которого являются (не ограничиваясь ими) химическое осаждение из паровой фазы и пиролиз распыленного слоя. Как будет более подробно описано, защитное покрытие 17 изобретения может быть образовано поверх (например, на), по меньшей мере, части и предпочтительно на всем конструкционном покрытии 16, и оно не только способствует повышению механической и химической стойкости, но также обеспечивает улучшенные характеристики прогрева при выгибе и/или формовке заготовки, на которую это покрытие нанесено. Полимерный слой 18 может располагаться между первым слоем 12 и второй подложкой, или слоем, 20, имеющей внутреннюю главную поверхность 22 и внешнюю главную поверхность 23. В одном из не ограничивающих изобретения воплощении внешняя главная поверхность 23 может быть обращена наружу транспортного средства, а внешняя главная поверхность 13 может быть обращена внутрь транспортного средства. По периметру ламинированного габаритного фонаря 10 в процессе или после ламинирования может быть любым традиционным способом нанесен обычный краевой уплотнитель 26. На поверхности, по меньшей мере, одного из слоев 12 и 20 может быть помещена декоративная лента 90, например непрозрачная, полупрозрачная или окрашенная полоса, например, по периметру одной из внутренней или внешней главных поверхностей.
В широкой практике изобретения подложки, используемые для первого слоя 12 и второго слоя 20, могут быть из любого желаемого материала, обладающего желаемыми характеристиками, такими как непрозрачность, полупрозрачность или прозрачность для видимого света. Под «прозрачным» подразумевается материал подложки с пропускаемостью от более 0 до 100%. Под «видимым светом» или «видимой областью» подразумевается электромагнитная энергия в диапазоне от 395 нанометров (нм) до 800 нм. Альтернативным образом, подложка может быть полупрозрачной или непрозрачной. Под «полупрозрачной» подразумевается подложка, которая пропускает электромагнитную энергию (например, видимый свет), но рассеивает эту энергию в такой степени, что предметы на противоположной от наблюдателя стороне подложки не являются четко видимыми. Под «непрозрачной» подразумевается подложка с пропускаемостью для видимого света, равной 0%. Примеры подходящих подложек включают (но не ограничиваются ими) подложки из пластика (такого как акриловые полимеры, например полиакрилаты; полиалкилметакрилаты, например полиэтилметакрилаты, полипропилметакрилаты и т.п.; полиуретаны; поликарбонаты; полиалкилтерефталаты, например полиэтилентерефталат (ПЭТ), полипропилентерефталаты, полибутилентерефталаты и т.п.; полисилоксансодержащие полимеры; или сополимеры каких-либо мономеров для их получения, или любые их смеси); металлические подложки, такие как (но не ограничиваемые ими) оцинкованная сталь, нержавеющая сталь и алюминий; керамические подложки; кафельные подложки; стеклянные подложки; или смеси или комбинации любых указанных выше материалов. Например, подложка может быть традиционным неокрашенным стеклом на основе соды-извести-кремнезема, т.е. «светлым стеклом», или же она может быть окрашенным или же какого-либо рода цветным стеклом, боросиликатным стеклом, свинцовым стеклом, закаленным, незакаленным, отожженным или термоупроченным стеклом. Стекло может быть любого типа, такое как обычное флоат-стекло, или плоское стекло, или же оно может иметь любой состав с любыми оптическими свойствами, например любой степенью пропускания видимого излучения, пропускания ультрафиолетового излучения, пропускания инфракрасного излучения и/или пропускания суммарной солнечной энергии. Подходящие для практики изобретения типы стекла описаны, например (но не рассматриваются как ограничительные), в патентах Соединенных штатов  4746347, 4792536, 5240886, 5385872 и 5393593. Изобретение не ограничивает толщину подложки. Подложка, как правило, может быть более толстой в случае типичных архитектурных применений, чем в случае типичных применений в транспортных средствах. В одном из воплощений подложка может быть стеклом с толщиной в пределах от 1 до 20 мм, например от 1 до 10 мм, например от 2 до 6 мм, например от 3 до 5 мм. Для формовки ламинированного автомобильного габаритного фонаря первый и второй слои 12, 20 могут быть менее примерно 3,0 мм по толщине, например менее примерно 2,5 мм по толщине, например в пределах толщины от примерно 1,0 мм до примерно 2,1 мм. Как описывается ниже, в случае монолитных изделий подложка может быть более толстой.
Конструкционное покрытие 16 может быть любого желаемого типа. Согласно логике настоящей заявки термин конструкционное покрытие относится к покрытию, которое модифицирует одно или более физических свойств подложки, на которую оно нанесено, например оптические, тепловые, химические или механические свойства, и не предназначено для полного удаления с подложки при последующей обработке. Конструкционное покрытие 16 может иметь один или более слоев конструкционного покрытия с одинаковым или различным составом или функциональностью. Согласно логике настоящей заявки термин «пленка» относится к области покрытий с желаемым или выбранным составом покрытия. «Слой» может включать одну или более «пленок», а «покрытие» может включать один или более «слоев».
Конструкционное покрытие 16 может быть, например, электропроводящим покрытием, таким как, например, электропроводящее покрытие, используемое для изготовления подогреваемых стекол, раскрытых в патентах США  5653903 и 5028759, или однопленочным или многопленочным покрытием, используемым в качестве антенны. Аналогичным образом, конструкционное покрытие 16 может быть солнцезащитным покрытием. Согласно логике настоящей заявки термин «солнцезащитное покрытие» относится к покрытию, состоящему из одного или более слоев или пленок, которые влияют на противосолнечные свойства покрытого изделия, такие как (не ограничиваясь ими) объем солнечного излучения, например видимого, инфракрасного или ультрафиолетового излучения, падающего на и/или проходящего через покрытое изделие, инфракрасное или ультрафиолетовое поглощение или отражение, коэффициент экранирования, излучающую способность и т.д. Солнцезащитное покрытие может блокировать, поглощать или фильтровать выбранные участки солнечного спектра, такие как (не ограничиваясь ими) ИК, УФ и/или видимые спектры. Примеры солнцезащитных покрытий, которые могут быть использованы в практике изобретения, можно, например, найти (но не рассматривая их в качестве ограничения) в патентах США  4898789, 5821001, 4716086, 4610771, 4902580, 4716086, 4806220, 4898790, 4834857, 4948677, 5059295 и 5028759, а также в патентной заявке США с серийным номером 09/058440.
Конструкционное покрытие 16 может быть также слабоизлучающим покрытием, которое позволяет пропускание через покрытие энергию видимых длин волн, например от 395 до 800 нм, но отражает более длинноволновую солнечную инфракрасную энергию. Под «слабым излучением» подразумевается способность к излучению ниже 0,4, например ниже 0,3, например ниже 0,2, например ниже 0,1, в конкретном случае ниже или равную 0,05. Примеры слабоизлучающих покрытий можно найти, например, в патентах США  4952423 и 4504109 и в британской ссылке GB 2302102. Конструкционное покрытие 16 может быть однослойным покрытием или многослойным покрытием и может включать один или более металлов, неметаллов, полуметаллов, полупроводников и/или сплавов, соединений, композитов, комбинаций или их смесей. Например, конструкционное покрытие 16 может быть однослойным металлооксидным покрытием, неметаллооксидным покрытием, металлонитридным или оксинитридным покрытием, или неметаллонитридным или оксинитридным покрытием, или многослойным покрытием.
Примеры подходящих конструкционных покрытий для использования в изобретении являются коммерчески доступными от фирмы PPG Industries, Inc. (Питтсбург, Пенсильвания) из серий покрытий под названиями SUNGATE® и SOLARBAN®. Такие конструкционные покрытия обычно включают одну или более противоотражающих покровных пленок, содержащих диэлектрические или противоотражающие материалы, такие как оксиды металлов или оксиды металлических сплавов, которые являются прозрачными для видимого света. Конструкционное покрытие может также включать одну или более пленок, отражающих инфракрасное излучение, включающих отражающий металл, например благородный металл, такой как золото, медь или серебро, или их комбинации или сплавы, и может, кроме того, включать известную в практике базисную пленку или барьерную пленку, такую как титан, расположенную над и/или под металлическим отражающим слоем. Конструкционное покрытие может иметь любое желаемое число пленок, отражающих инфракрасное излучение, в частности 1 или более серебряных слоев, например 2 или более серебряных слоев, например 3 или более серебряных слоев.
Хотя это и не ограничивает изобретения, конструкционное покрытие 16 может быть расположено на одной из внутренних главных поверхностей 14, 22 ламината, делая покрытие 16 менее чувствительным к износу со стороны внешней среды и к механическому износу по сравнению с чувствительностью конструкционного покрытия 16 в том случае, если бы оно было на внешней поверхности ламината. Однако конструкционное покрытие 16 может быть также создано на одной или на обеих внешних главных поверхностях 13 или 23. Как показано на фиг.1, часть покрытия 16, например площадь шириной приблизительно от 1 мм до 20 мм, в частности от 2 до 4 мм вокруг внешнего периметра покрытой области, может быть удалена или ликвидирована любым традиционным способом, например с помощью размола перед ламинированием или путем экранирования в процессе нанесения покрытия, с целью сведения к минимуму повреждения конструкционного покрытия 16 по краям ламината в результате выветривания или воздействия природных условий во время эксплуатации. Кроме того, ликвидация части покрытия могла бы быть произведена и с конструкционными целями, например, для антенн, обогреваемых ветровых стекол или для улучшения радиоволновой передачи, причем ликвидируемый участок может быть любого размера. В эстетических целях для того, чтобы скрыть удаленную часть, на какой-либо поверхности слоев или покрытий, например на обеих поверхностях одного или обоих слоев, например по периметру внешней главной поверхности 13, может быть помещена цветная непрозрачная или полупрозрачная полоса 90. Полоса 90 может быть выполнена из какого-либо керамического материала и может быть закреплена на внешней главной поверхности 13 любым традиционным способом.
Защитное покрытие 17 изобретения может быть образовано поверх, например на, по меньшей мере, части и предпочтительно поверх всей внешней поверхности конструкционного покрытия 16. Помимо всего прочего, защитное покрытие 17 может сделать излучательную способность блока покрытий (например, конструкционного покрытия плюс защитное покрытие) более высокой по сравнению с излучательной способностью одного конструкционного покрытия 16. Например, если конструкционное покрытие обладает величиной излучательной способности 0,2, добавление защитного покрытия 17 может повысить величину излучательной способности образующегося блока покрытий выше 0,2. В одном из воплощений защитное покрытие может увеличивать излучательную способность образующегося блока покрытий в два или более раз по сравнению с излучательной способностью одного конструкционного покрытия (например, если излучательная способность конструкционного покрытия равна 0,05, добавление защитного слоя может повысить излучательную способность образующегося блока покрытий до 0,1 или выше), например в пять раз или выше, например в десять раз или выше, например в двадцать раз или выше. В еще одном воплощении изобретения защитное покрытие 17 может повышать излучательную способность образующегося блока покрытий до величины, практически равной излучательной способности подложки, на которую нанесено покрытие, например в пределах 0,2 от излучательной способности подложки. Если, например, подложкой является стекло с излучательной способностью приблизительно 0,84, защитное покрытие 17 может обеспечивать блоку покрытий излучательную способность в пределах от 0,3 до 0,9, такую как более 0,3, например более 0,5, например более 0,6, в пределах от 0,5 до 0,9. Как будет описано ниже, повышение излучательной способности конструкционного покрытия 16 при нанесении защитного покрытия 17 улучшает характеристики прогрева и охлаждения покрытого слоя во время обработке. Защитное покрытие 17 защищает конструкционное покрытие 16 также и от механического и химического воздействия при работе, хранении, транспортировке и обработке.
В одном из воплощений защитное покрытие 17 может иметь показатель преломления (т.е. индекс рефракции) существенно такой же, как и показатель преломления слоя 12, на которое нанесено покрытие. Если, например, слой 12 является стеклом с показателем преломления 1,5, защитное покрытие 17 может иметь показатель преломления ниже 2, например от 1,3 до 1,8, например 1,5±0,2.
Защитное покрытие 17 может быть любой желаемой толщины. В одном из выбранных в качестве примера воплощений с ламинированным изделием защитное покрытие может иметь толщину в пределах от 100 до 50000 Å, такую как от 500 до 50000 Å, например от 500 до 10000 Å, в частности от 100 до 2000 Å. Далее, защитное покрытие 17 может иметь неравномерную толщину вдоль поверхности конструкционного покрытия 17. Под «неравномерной толщиной» подразумевается то, что толщина защитного покрытия 17 может меняться вдоль данной единичной площади, например защитное покрытие 17 может иметь повышенные и пониженные точки или участки.
Защитное покрытие 17 может быть любым желаемым материалом или смесью материалов. В одном из выбранных в качестве примера воплощений защитное покрытие 17 может включать один или более металлооксидных материалов, таких как (не ограничиваясь ими) оксид алюминия, оксид кремния или их смеси. Например, защитное покрытие может быть представлять собой единственный слоя покрытия, включающий оксид алюминия в пределах от 0 до 100 вес.% и/или от 0 до 100 вес.% оксид кремния, например от 5 до 100 вес.% оксида алюминия и от 95 до 0 вес.% оксида кремния, например от 10 до 90 вес.% оксида алюминия и от 90 до 10 вес.% оксида кремния, например от 15 до 90 вес.% оксида алюминия и от 85 до 10 вес.% оксида кремния, например от 50 до 70 вес.% оксида алюминия и от 50 до 30 вес.% оксида кремния, например от 35 до 100 вес.% оксида алюминия и от 65 до 0 вес.% оксида кремния, например от 70 до 90 вес.% оксида алюминия и от 10 до 30 вес.% оксида кремния, например от 75 до 85 вес.% оксида алюминия и от 15 до 25 вес.% оксида кремния, например 88 вес.% оксида алюминия и 12 вес.% оксида кремния, например от 65 до 75 вес.% оксида алюминия и от 25 до 35 вес.% оксида кремния, например 70 вес.% оксида алюминия и 30 вес.% оксида кремния. Могут также присутствовать и другие материалы, такие как алюминий, хром, гафний, иттрий, никель, бор, фосфор, титан, цирконий и/или их оксиды.
Альтернативным образом, защитное покрытие 17 может быть многослойным покрытием, образованным путем раздельного образования слоев металлооксидных материалов, таких как (не ограничиваясь ими) двойной слой, образованный одним содержащим оксид металла слоем (например, первый слой, содержащий оксид кремния и/или оксид алюминия), образованным поверх другого содержащего оксид металла слоя (например, второго слоя, содержащего оксид кремния и/или оксид алюминия). Индивидуальные слои многослойного защитного покрытия 17 могут иметь любую желаемую толщину.
В одном из воплощений защитное покрытие 17 может включать первый слой, образованный поверх конструкционного покрытия, и второй слой, образованный поверх первого слоя. В одном из не ограничивающих изобретения воплощений первый слой может содержать оксид алюминия или смесь или сплав, содержащие оксид алюминия и оксид кремния. Например, первый слой может включать смесь оксида алюминия и оксида кремния, содержащую более 5 вес.% оксида алюминия, например более 10 вес.% оксида алюминия, например более 15 вес.% оксида алюминия, например более 30 вес.% оксида алюминия, например более 40 вес.% оксида алюминия, например от 50 до 70 вес.% оксида алюминия, например в пределах от 70 до 100 вес.% оксида алюминия, и от 30 до 0 вес.% оксида кремния. В одном из не ограничивающих изобретения воплощений первый слой может иметь толщину в пределах от более 0 до 1 микрона, например от 50 до 100 Å, например от 100 до 250 Å, например, 101 до 250 Å, например от 100 до 150 Å, например от более 100 до 125 Å. Второй слой может содержать оксид кремния или смесь или сплав, содержащие оксид кремния или оксид алюминия, например, второй слой может содержать смесь оксид кремния/оксид алюминия, имеющую более 40 вес.% оксида кремния, например более 50 вес.% оксида кремния, например более 60 вес.% оксида кремния, например более 70 вес.% оксида кремния, например более 80 вес.% оксида кремния, например в пределах от 80 до 90 вес.% оксида кремния и от 10 до 20 вес.% оксида алюминия, например 85 вес.% оксида кремния и 15 вес.% оксида алюминия. В одном из не ограничивающих изобретения воплощений второй слой может иметь толщину в интервале от более 0 Å до 2 микрон, например от 50 до 5000 Å, например от 50 до 2000 Å, например от 100 до 1000 Å, например от 300 до 500 Å, например от 350 до 400 Å. Как описано ниже, присутствие защитного покрытия 17 может улучшить прогреваемость функционально покрытой подложки.
Полимерный слой 18 может включать любой полимерный материал. Полимерный материал может включать один полимерный компонент или же он может включать смесь разных полимерных компонентов, таких как (но не ограничиваясь ими) один или более пластиковых материалов, таких как (но не ограничиваясь ими) один или более термореактивных или термопластичных материалов. Полимерный слой 18 может склеивать между собой слои. В число полезных термореактивных компонентов входят полиэстеры, эпоксиды, фенольные соединения и полиуретаны, такие как уретан реакционного инжекционного формования (RIM), термореактивные материалы и их смеси. В число полезных термопластичных компонентов входят полиолефины, такие как полиэтилен и полипропилен, полиамиды, такие как нейлон, термопластичные полиуретаны, термопластичные полиэстеры, акриловые полимеры, винильные полимеры, поликарбонаты, сополимеры акрилонитрил-бутадиен-стирол (ABS), EPDM (этилен-пропилен-диеновый) каучук, их сополимеры и смеси.
В число подходящих акриловых полимеров входят сополимеры одного или более компонента из следующей группы: акриловая кислота, метакриловая кислота и ее алкиловые эфиры, такие как метилметакрилат, этилметакрилат, гидроксиэтилметакрилат, бутилметакрилат, этилакрилат, гидроксиэтилакрилат, бутилакрилат и 2-этилгексилакрилат. Другие подходящие акриловые соединения и способы их получения раскрыты в патенте США 5196485.
Полезные полиэстеры и алкиды могут быть получены известным способом путем конденсации многоатомных спиртов, таких как этиленгликоль, пропиленгликоль, бутиленгликоль, 1,6-гексиленгликоль, неопентилгликоль, триметилолпропан и пентаэритрит, с поликарбоновыми кислотами, такими как адипиновая кислота, малеиновая кислота, фумаровая кислота, фталевые кислоты, триметиллитовая кислота или жирные кислоты высыхающих масел. Примеры подходящих полиэстерных материалов раскрыты в патентах США  5739213 и 5811198.
В число полезных полиуретанов входят продукты реакции полимерных полиолов, таких как полиэстер-полиолы или акриловые полиолы, с полиизоцианатом, включая ароматические диизоцианаты, такие как 4,4 -дифенилметандиизоцианат, алифатические диизоцианаты, такие как 1,6-гексаметилендиизоцианат и циклоалифатические диизоцианаты, такие как изофорондиизоцианат и 4,4 -метилен-бис(циклогексилизоцианат). Предполагается, что используемый здесь термин «полиуретан» включает как полиуретаны, так и поликарбамиды и поли(уретан-карбамиды).
Подходящие содержащие эпокси-функцию материалы раскрыты в патенте США 5820987.
Полезные винильные смолы включают поливинилацеталь, поливинилформаль и поливинилбутираль.
Полимерный слой 18 может иметь любую желаемую толщину. Например, в одном из не ограничивающих изобретения воплощений толщина поливинилбутираля может быть в пределах от 0,50 мм до примерно 0,80 мм, в частности 0,76 мм. Полимерный материал может иметь любой желаемый показатель преломления. В одном из воплощений полимерный материал имеет показатель преломления в пределах от 1,4 до 1,7, в частности от 1,5 до 1,6.
Защитное покрытие 17 может иметь показатель преломления существенно такой же, как показатель преломления материала полимерного слоя 18. Под «существенно таким же» показателем преломления подразумевается, что показатель преломления материала защитного покрытия и материала полимерного слоя являются одинаковыми или достаточно близкими для того, чтобы присутствие защитного покрытия 17 не оказывало больших или не оказывало никаких нежелательных оптических эффектов, таких как нежелательные изменения цвета, отражающей способности или пропускания. Действительно, защитное покрытие 17 проявляет себя оптически так, как если бы оно было продолжением материала полимерного слоя. Присутствие защитного покрытия 17 преимущественно не является причиной возникновения оптически нежелательной границы раздела между защитным покрытием 17 и полимерным слоем 18. В одном из воплощений защитное покрытие 17 и полимерный слой 18 могут иметь показатели преломления, отличающиеся один от другого в пределах ±0,2, например в пределах ±0,1, например в пределах ±0,05. Благодаря тому что показатель преломления материала защитного покрытия подобран таким же или существенно таким же, как показатель преломления материала полимерного слоя, присутствие защитного покрытия 17 не оказывает вредного влияния на оптические свойства ламинированного изделия при сравнении с оптическими свойствами ламинированного изделия без защитного покрытия 17. Например, если полимерный слой 18 включает поливинилбутираль, имеющий показатель преломления 1,5, защитное покрытие 17 можно подбирать или формовать таким образом, чтобы оно имело показатель преломления ниже 2, в частности от 1,3 до 1,8, например 1,5±0,2.
Ниже будет обсужден выбранный в качестве примера способ изготовления ламинированного габаритного фонаря 10 с использованием признаков изобретения.
Готовят первую подложку и вторую подложку. Первая и вторая подложки могут быть плоскими стеклянными заготовками с толщиной приблизительно от 1,0 до 6,0 мм, обычно от примерно 1,0 до примерно 3,0 мм, например от примерно 1,5 до примерно 2,3 мм. Конструкционное покрытие 16 может быть образовано поверх, по меньшей мере, части главной поверхности первой стеклянной подложки, например главной поверхности 14. Конструкционное покрытие 16 может быть образовано с использованием любого традиционного способа, такого как (не ограничивая этим изобретения) нанесение из паровой фазы с помощью магнетронного распыления (MSVD), пиролитическое нанесение типа химического нанесения из паровой фазы (CVD), распылительный пиролиз, CVD при атмосферном давлении (APCVD), CVD при пониженном давлении (LPCVD), усиливаемое плазмой CVD (PFCVD), CVD с помощью плазмы (PACVD) или термическое испарение с помощью нагрева, производимого с помощью электросопротивления или пучка электронов, нанесение с помощью катодного разряда, нанесение с помощью плазменного распыления, влажное химическое нанесение (например, зольгелевое, зеркальное серебрение и т.п.) или какой-либо другой способ по желанию. Например, конструкционное покрытие 16 может быть образовано поверх первой подложки после нарезки первой подложки до желаемых размеров. Альтернативным образом, конструкционное покрытие 16 может быть образовано поверх стеклянного листа перед его обработкой и/или поверх стеклянной ленты, уложенной на ванне из расплавленного металла, например олова, в обычной поплавковой камере с помощью одного или более обычных устройств для нанесения покрытия, помещенных в поплавковую камеру. После ее выхода из поплавковой камеры лента может быть разрезана с образованием покрытой первой подложки.
Альтернативным образом, конструкционное покрытие 16 может быть образовано поверх стеклянной ленты после выхода ленты из поплавковой камеры. Например, в патентах США  4584206, 4900110 и 5714199 раскрываются способы и устройство для нанесения металлсодержащей пленки на нижнюю поверхность стеклянной ленты. Такого рода известное устройство может быть расположено после (по ходу процесса) ванны с расплавленным оловом в процессе с использованием флоат-стекла, в результате чего на нижней стороне стеклянной ленты, т.е. на стороне ленты, контактирующей с расплавленным металлом, образуется конструкционное покрытие. Кроме того, конструкционное покрытие 16 может быть образовано поверх первой подложки с помощью способа MSVD после разрезки подложки до желаемых размеров.
Защитное покрытие 17 изобретения может быть образовано поверх, по меньшей мере, части конструкционного покрытия 16. Защитное покрытие 17 дает несколько преимуществ в процессе обработки при изготовлении ламинированного изделия. Например, защитное покрытие 17 может защищать конструкционное покрытие 16 от механического и/или химического воздействия при эксплуатации, транспортировке, хранении и обработке. Наряду с этим, как описано ниже, защитное покрытие 17 может облегчать индивидуальный нагрев и охлаждение конструкционно покрытой заготовки благодаря повышению излучательной способности образующегося покрытого блока. В прошлом при нанесении внешних покрытий на конструкционные покрытия с целью защиты конструкционного покрытия от химического и механического воздействия при обработке эти покрытия делались как можно более тонкими, чтобы не испортить эстетические или солнцезащитные свойства конструкционного покрытия, например излучающую способность покрытия. В противоположность этому в настоящем изобретении защитное покрытие 17 может быть изготовлено достаточно толстым с целью усиления излучающей способности блока покрытий. Кроме того, при существенном совпадении показателей преломления защитного покрытия 17 и материала полимерного слоя 18 (и/или подложки, на которую он нанесен) присутствие защитного покрытия 17 оказывает лишь небольшое или не оказывает никакого вредного влияния на эстетические и/или оптические характеристики ламинированного изделия 10.
Если конструкционное покрытие 16 является слабоизлучающим покрытием, имеющим один или более отражающих в инфракрасной области металлических слоев, добавление защитного покрытия 17 с целью повышения излучательной способности покрытого блока ухудшает характеристики теплового отражения в инфракрасной области конструкционного покрытия 16. Однако при этом блок покрытий сохраняет способность отражать инфракрасные лучи солнца.
Защитное покрытие 17 может быть образовано с помощью любого традиционного способа, такого как (не ограничивая этим изобретения) описанные выше способы для нанесения конструкционного покрытия, из которых лишь в качестве примера можно упомянуть CVD, MSVD в ванне или вне ванны и зольгелевый способ. Например, подложка с конструкционным покрытием может быть направлена в традиционное устройство для нанесения покрытия методом, в котором имеются один или более металлических электродов, например катодов, которые могут распыляться в кислородсодержащей атмосфере с образованием металлооксидного защитного покрытия. В одном из не ограничивающих изобретения воплощений MSVD-устройство может включать один или более катодов из алюминия, кремния или смесей или сплавов алюминия или кремния. Катоды могут, например, содержать от 5 до 100 вес.% алюминия и от 95 до 0 вес.% кремния, например от 10 до 100 вес.% алюминия и от 90 до 0 вес.% кремния, например от 35 до 100 вес.% алюминия и от 0 до 65 вес.% кремния, например от 50 до 80 вес.% алюминия и от 20 до 50 вес.% кремния, например 70 вес.% алюминия и 30 вес.% кремния. Для облегчения распыления катода(ов) и/или для воздействия на показатель преломления или стойкость образующегося покрытия могут также дополнительно присутствовать и другие материалы или легирующие добавки, такие как алюминий, хром, гафний, иттрий, никель, бор, фосфор, титан или цирконий. Как описано выше, защитное покрытие 17 может быть образовано в виде единственного слоя, содержащего один или более металлооксидных материалов, или в виде многослойного покрытия, имеющего два или более отдельных слоев, где каждый отдельный слой включает один или более металлооксидных материалов. Защитное покрытие 17 может быть нанесено в достаточном количестве или до достаточной толщины для повышения излучательной способности блока покрытий по сравнению с излучательной способностью одного конструкционного покрытия. В одном из воплощений защитное покрытие может быть нанесено до толщины в пределах от 100 до 50000 Å и/или до увеличения излучательной способности блока покрытий до величины большей или равной примерно 0,3, например большей или равной 0,4, например большей или равной 0,5.
Конструкционное покрытие 16 и/или защитное покрытие 17 могут быть нанесены на плоскую подложку или на подложку после ее выгиба и формовки для получения желаемого контура.
Покрытая первая подложка или непокрытая вторая подложка могут быть разрезаны с образованием первого, покрытого, слоя и второго, непокрытого, слоя соответственно, из которых каждый обладает желаемой формой и желаемыми размерами. Покрытый и непокрытый слои могут быть сшиты, вымыты, согнуты и отформованы до желаемого контура с образованием первого и второго слоев 12 и 20 соответственно, с целью их ламинирования. Как это известно рядовым специалистам в данной области техники, общая форма покрытых и непокрытых заготовок и слоев зависит от конкретного транспортного средства, для которого они предназначаются, так как конечная форма габаритного фонаря у разных производителей автомобилей разная.
Покрытые и непокрытые заготовки могут быть отформованы с использованием любого желаемого способа. Например, заготовки могут формоваться с использованием способа «RPR», раскрытого в патенте США 5286271, или модифицированного RPR-способа, раскрытого в патентной заявке США с серийным номером 09/512852. На фиг.2 демонстрируется дополнительное RPR-устройство 30, пригодное для практики изобретения и включающее печь 32, например печь с радиаторным подогревом или туннельный лер, имеющую печной конвейер 34, состоящий из множества отстоящих друг от друга конвейерных роликов 36. Нагреватели, например нагревательные змеевики радиаторного типа, могут быть помещены над и/или под печным конвейером 34 по длине печи 32 и могут регулироваться таким образом, чтобы они создавали по длине печи 32 зоны нагрева с разной температурой.
Формовочный узел 50 может быть расположен так, чтобы он прилегал к разгрузочной стороне печи 32 и мог включать нижнюю пресс-форму 51, имеющую перемещаемое по вертикали кольцо 52, и конвейер формовочного узла 54, имеющий множество роликов 56. Верхняя вакуумная пресс-форма 58, имеющая съемную или реконфигурируемую формовочную поверхность 60 определенной формы, может быть расположена над нижней пресс-формой 51. Вакуумная пресс-форма 58 может перемещаться с помощью челночного приспособления 61.
Транспортный узел 62, имеющий множество профилированных транспортирующих роликов 64, может быть расположен вплотную к разгрузочному концу формовочного узла 50. Транспортирующие ролики 64 обладают поперечно-вертикальной кривизной, в существенной мере совпадающей с поперечной кривизной формовочной поверхности 60.
Закалочный или охлаждающий узел 70 может быть расположен вплотную к разгрузочному концу транспортного узла 62 и может включать множество роликов 72 для перемещения заготовок через узел 70 с целью охлаждения, закалки и/или термоупрочнения. Ролики 72 могут обладать поперечно-вертикальной кривизной существенно такой же, что и кривизна у транспортирующих роликов 64.
В прошлом нагрев функционально покрытых заготовок (подложек) представлял трудности, обусловленные способностью конструкционного покрытия 16 отражать тепло, что приводило к неравномерному прогреву покрытых и непокрытых сторон заготовки. В патентной заявке США с серийным номером 09/512852 раскрывается способ преодоления этой проблемы путем модифицирования способа нагрева RPR , состоящего в подводе тепла первоначально к поверхности заготовки без конструкционного покрытия. В настоящем изобретении эта проблема решается нанесением усиливающего излучательную способность защитного покрытия 17, что позволяет использовать тот же самый или практически тот же самый способ нагрева заготовок как с конструкционным покрытием, так и без конструкционного покрытия.
Как показано на фиг.2, первая заготовка 80 с блоком покрытий (например, конструкционным покрытием 16 и защитным покрытием 17) и вторая заготовка 82 без конструкционного покрытия перед ламинированием могут по отдельности нагреваться, формоваться и охлаждаться. Под «отдельным нагревом» подразумевается то, что заготовки при нагреве не укладываются одна на другую. В одном из воплощений первую заготовку 80 помещают на печной конвейер 34 защитным покрытием 17 вниз, т.е. так, что защитное покрытие 17 в процессе нагрева находится в контакте с роликами печного конвейера 36. Присутствие защитного покрытия 17 с более высокой излучательной способностью уменьшает проблему теплоотражения металлическими слоями конструкционного покрытия 16 и способствует более равномерному прогреву покрытой и непокрытой сторон первой заготовки 80. Это помогает предотвратить искривление первой заготовки 80, обычное для прежних нагревательных процессов. В одном из выбранных в качестве примера воплощений заготовки прогревают при температуре приблизительно от 640 до 704°С в течение периода времени приблизительно от 10 до 30 мин.
В конце печи 32 размягченные стеклянные заготовки, как покрытые 80, так и непокрытые 82, перемещают от печи 32 к формовочному узлу 50 и на нижнюю пресс-форму 51. Нижняя пресс-форма 51 перемещается вверх, поднимая стеклянную заготовку с целью прижатия размягченной теплом стеклянной заготовки к формовочной поверхности 60 верхней пресс-формы 58, придавая таким образом стеклянной заготовке форму, например кривизну, формовочной поверхности 60. Верхняя поверхность стеклянной заготовки находится в контакте с формовочной поверхностью 60 верхней пресс-формы 58 и удерживается на месте с помощью вакуума.
Челночное приспособление 61 приводится в действие для перемещения верхней вакуумной пресс-формы 58 от формовочного узла 50 к транспортному узлу 62, где вакуум отключается, отпуская отформованную стеклянную заготовку на искривленные транспортирующие ролики 64. Транспортирующие ролики 64 перемещает отформованную стеклянную заготовку на ролики 72 и в охлаждающий узел 70 для закалки или термоупрочнения с помощью любого удобного способа. В охлаждающем узле 70 снизу и сверху отформованной стеклянной заготовки подается воздух с целью закалки или термоупрочнения стеклянных заготовок с образованием первого и второго слоев 12 и 20. Присутствие сильноизлучающего защитного покрытия 17 способствует также более ровному охлаждению покрытой заготовки 80 в охлаждающем узле 70.
В еще одном воплощении покрытые и непокрытые заготовки могут нагреваться и/или формоваться в виде дублетов. В одном из воплощений покрытые и непокрытые заготовки могут быть размещены таким образом, чтобы конструкционное покрытие 16 с защитным покрытием 17 находилось между двумя заготовками. Заготовки после этого могут нагреваться и/или формоваться с помощью любого удобного способа. Полагают, что защитное покрытие 17 действует в качестве кислородного барьера для уменьшения или предупреждения прохождения кислорода в конструкционное покрытие 16, где кислород мог бы реагировать с компонентами конструкционного покрытия 16, такими как (не ограничивая ими изобретения) металлы, например серебро, разрушая конструкционное покрытие 16. В одном из традиционных способов дублет может помещаться на опору и нагреваться до температуры, достаточной для выгиба или формовки заготовок до желаемого конечного контура. В отсутствие защитного покрытия 17 типичные заготовки с конструкционным покрытием не могут выдерживать цикл нагрева выше приблизительно 1100°F (593°C) в течение более примерно двух минут (при нагревании выше 900°F (482°C) в течение более примерно шести минут цикла нагрева) без разрушения конструкционного покрытия 16. Такое разрушение может принимать форму мутного или желтоватого внешнего вида с понижением пропускания видимого света на 10% или более. Металлические слои в конструкционном покрытии 16, такие как серебряные слои, могут реагировать с кислородом, диффундирующим в конструкционное покрытие 16, или с кислородом, находящимся в конструкционном покрытии 16. Однако полагают, что использование защитного покрытия 17 позволит заготовке с конструкционным покрытием выдерживать нагревательный цикл при температуре 1100°F (593°С) или выше в течение периода от пяти до пятнадцати минут, например от пяти до десяти минут, например от пяти до шести минут (при нагревании выше 900°F (482°C) в течение от десяти до двадцати минут, например от десяти до пятнадцати минут, например от десяти до двенадцати минут нагревательного цикла) без значительного разрушения конструкционного покрытия 16, например с менее чем 5% потери пропускания видимого света, например с менее чем 3% потери, например с менее чем 2% потери, например с менее чем 1% потери, например с отсутствием потери пропускания видимого света.
С целью образования ламинированного изделия 10 изобретения покрытый стеклянный слой 12 располагают покрытой внутренней главной поверхностью 14, обращенной к существенно комплементарной к ней внутренней главной поверхности 22 непокрытого слоя 22 и отделенной от нее полимерной пленкой 18. Часть, например полоса с шириной примерно 2 мм, покрытия 16 и/или защитного покрытия 17 может быть перед ламинированием удалена по периметру первого слоя 12. На одном или на обоих слоях 12 или 20, например на внешней поверхности 13 первого слоя 12, может быть помещена керамическая полоса 90 для того, чтобы укрыть непокрытую периферийную краевую область ламинированного габаритного фонаря и/или чтобы обеспечить дополнительное затенение пассажиров внутри транспортного средства. Первый слой 12, полимерный слой 18 и второй слой 20 могут быть проламинированы друг с другом любым подходящим образом, например (без намерения ограничить этим изобретения), как описано в патентах США  3281296, 3769133 и 5250146, в результате чего образуется ламинированный габаритный фонарь 10 изобретения. Как показано на фиг.1, по краю габаритного фонаря 10 может быть нанесен краевой уплотнитель 26.
Хотя в названном выше способе изготовления ламинированного габаритного фонаря 10 изобретения используется устройство и способ RPR, габаритный фонарь 10 настоящего изобретения может быть изготовлен и с помощью других способов, таких как способы горизонтального выгиба под давлением, описанные, например, в патентах США  4661139, 4197108, 4272274, 4265650, 4508556, 4830650, 3459526, 3476540, 3527589 и 4579577.
Фиг.3 иллюстрирует монолитное изделие 100, в частности монолитную автомобильную прозрачную деталь, обладающую признаками изобретения. Изделие 100 включает подложку или слой 102, имеющую первую главную поверхность 104 и вторую главную поверхность 106. Конструкционное покрытие 108 может быть образовано поверх, по меньшей мере, части, такой как большая часть, например всей площади поверхности первой главной поверхности 104. Защитное покрытие 110 изобретения может быть образовано поверх, по меньшей мере, части, такой как большая часть, например всей площади поверхности конструкционного покрытия 108. Конструкционное покрытие 108 и защитное покрытие 110 составляют блок покрытий 112. Блок покрытий 112 может включать другие слои покрытия или пленки, произвольно взятым примером которых является (не ограничивая собой изобретения) традиционный подавляющий цвет слой или слой, обеспечивающий барьер для диффузии натриевых ионов. Возможный полимерный слой 113, такой как слой, включающий один или более полимерных материалов, таких как материалы, описанные выше, могут быть нанесены поверх защитного покрытия 110 с помощью любого желаемого способа.
Слоем 102 может быть любой желаемый материал, такой как материалы, описанные выше для слоев 12, 20, и может иметь любую толщину. В одном из не ограничивающих изобретения воплощений в отношении применения в качестве монолитного автомобильного габаритного фонаря слой 102 может иметь толщину менее или равную 20 мм, например менее примерно 10 мм, такую как от примерно 2 до примерно 8 мм, например от примерно 2,6 до примерно 6 мм.
Конструкционное покрытие 108 может быть любого желаемого типа или толщины, таких как те, которые описаны выше для конструкционного покрытия 16. В одном из воплощений конструкционное покрытие 108 является солнцезащитным покрытием, имеющим толщину от примерно 600 до примерно 2400 Å.
Защитное покрытие 110 может быть из любого желаемого материала и иметь любую желаемую структуру, такую как структуры, описанные выше для защитного покрытия 17. Защитное покрытие 110 изобретения может быть образовано в количестве, достаточном для увеличения, например значительного увеличения, излучательной способности блока покрытий 112 по сравнению с излучательной способностью одного конструкционного покрытия 108. Для одного выбранного в качестве примера монолитного изделия защитное покрытие 110 может иметь толщину, большую или равную 1 µм, такую как в пределах от 1 до 5 µм. В одном из воплощений защитное покрытие 110 увеличивает излучательную способность блока покрытий 112, по меньшей мере, вдвое по сравнению с излучательной способностью одного конструкционного покрытия (например, если излучательная способность конструкционного покрытия 108 равна 0,05, добавление защитного покрытия 110 повысит излучательную способность образовавшегося блока покрытий до, по меньшей мере, 0,1). В еще одном воплощении защитное покрытие 110 повышает излучательную способность блока покрытий 112 до 0,5 или более, в частности более 0,6, например в пределах от примерно 0,5 до примерно 0,8.
Увеличение излучательной способности блока покрытий 112 поддерживает способность к отражению солнечной энергии конструкционным покрытием 108 (например, способность к отражению электромагнитной энергии в пределах от 700 до 2100 нм), но уменьшает способность к отражению тепловой энергии конструкционным покрытием 108 (например, способность к отражению электромагнитной энергии в пределах от 5000 до 25000 нм). Увеличение излучательной способности конструкционного покрытия 108 путем создания защитного покрытия 110 также улучшает характеристики прогрева и охлаждения закрытой подложки при обработке, как это описано выше при обсуждении ламинированного изделия. Защитное покрытие 110 защищает также конструкционное покрытие 108 от механического и химического воздействия при эксплуатации, транспортировке, хранении и обработке.
Защитное покрытие 110 может иметь показатель преломления такой же или существенно такой же, как показатель преломления слоя 102, на который оно нанесено. Например, если слой 102 является стеклом с показателем преломления 1,5, защитное покрытие 110 может иметь показатель преломления меньше 2, такой как от 1,3 до 1,8, например 1,5±0,2. Дополнительно к этому или альтернативным образом, защитное покрытие 110 может иметь показатель преломления существенно такой же, как показатель преломления полимерного слоя 113.
Защитное покрытие 110 может иметь любую толщину. В монолитном воплощении защитное покрытие 110 может иметь толщину 1 µм или более, что предотвращает изменения цвета внешнего вида изделия 100. Защитное покрытие 110 может иметь толщину менее 5 µм, например в пределах от 1 до 3 µм. В одном из воплощений защитное покрытие 110 может быть достаточно толстым, чтобы выдержать установленный Национальным институтом стандартизации США (ANSI) стандартный тест ANSI/SAE 26.1-1966 с менее 2% потерь блеска в 1000 циклах, что позволяет его использование в качестве прозрачной детали для автомобилей. Защитное покрытие 110 не обязательно должно иметь равномерную толщину по всей поверхности конструкционного покрытия 108, но может иметь повышенные или пониженные точки или участки поверхности.
Защитное покрытие 110 может быть однослойным и содержать один или более металлооксидных материалов, таких как те, которые описаны выше. Альтернативным образом, защитное покрытие 110 может быть многослойным покрытием, имеющим два или более слоя покрытия, как описано выше. Каждый слой покрытия может включать один или более металлооксидных материалов. Например, в одном из воплощений, защитное покрытие 110 может включать первый слой, содержащий оксид алюминия, и второй слой, содержащий оксид кремния. Отдельные слои покрытия могут иметь желаемую толщину, как описано выше.
Подложка с блоком покрытий 112 может нагреваться и/или формоваться с помощью любого желаемого способа, такого как способ, описанный выше для нагрева подложки с покрытием ламинированного изделия.
Оптимальный полимерный слой 113 может включать один или более полимерных компонентов, таких как те, которые описаны выше для полимерного слоя 18. Полимерный слой 113 может быть любой желаемой толщины. В одном из не ограничивающих изобретения воплощений полимерный слой 113 может иметь толщину более 100 Å, такую как более 500 Å, такую как более 1000 Å, такую как более 1 мм, такую как более 10 мм, такую как в пределах от 100 Å до 10 мм. Полимерный слой 113 может быть либо постоянным слоем (т.е. не предполагаемым быть удаленным), либо временным слоем. Под «временным слоем» подразумевается слой, предназначенный для удаления путем (не ограничивая этим изобретения) удаления с помощью сжигания или смывания растворителем на последующей стадии обработки. Полимерный слой 113 может быть образован с помощью любого традиционного способа.
Монолитное изделие 100 является особенно полезным в качестве автомобильной прозрачной детали. Согласно логике настоящей заявки термин «автомобильная прозрачная деталь» относится к автомобильному габаритному фонарю, заднему фонарю, дневному верхнему окну, ночному верхнему окну и т.п. «Прозрачная деталь» может обладать способностью пропускать видимый свет в любом желаемом объеме, например от 0 до 100%. Для участков, находящихся в поле зрения, пропускаемость видимого света должна быть предпочтительно выше 70%. Для участков вне поля зрения пропускаемость видимого света может быть ниже 70%.
Если в качестве автомобильной прозрачной детали типа габаритного фонаря используется слой 102 только с одним конструкционным покрытием 108, слабоизлучающее конструкционное покрытие 108 может снижать проникание в автомобиль солнечной энергии, но может при этом усиливать парниковый эффект, задерживая тепловую энергию внутри автомобиля. Защитное покрытие 110 изобретения позволяет преодолеть эту проблему путем создания блока покрытий 112, имеющего слабоизлучающее конструкционное покрытие 108 (с излучательной способностью, например, 0,1 или ниже) на одной стороне блока покрытий 112 и на другой стороне сильноизлучающее защитное покрытие 110 (с излучательной способностью, например, 0,5 или выше). Отражающие солнечные лучи металлические слои в конструкционном покрытии 108 снижают проникание внутрь автомобиля солнечной энергии, а сильноизлучающее защитное покрытие 110 уменьшает парниковый эффект и позволяет удалять тепловую энергию внутри автомобиля. Кроме того, слой 110 (или слой 17) может поглощать солнечный свет в одной или более областях электромагнитного спектра: УФ, ИК и/или видимой.
Обращаясь к фиг.3, отметим, что изделие 100 может быть помещено в автомобиль так, чтобы защитное покрытие 110 было обращено к первой стороне автомобиля, а слой 102 обращен ко второй стороне автомобиля. Если первая сторона автомобиля 114 обращена наружу от транспортного средства, блок покрытий 112 будет отражать солнечную энергию благодаря находящимся в конструкционном покрытии 108 отражательным слоям. Однако из-за высокой излучательной способности (например выше 0,5) блока покрытий 112, по меньшей мере, часть тепловой энергии будет поглощаться. Чем выше излучательная способность блока покрытий 112, тем больше тепловой энергии будет поглощено. Защитное покрытие 110, в дополнение к тому, что оно придает блоку покрытий 112 повышенную излучательную способность, защищает при этом менее стойкое конструкционное покрытие от механического и химического повреждения. Оптимальный полимерный слой 113 также может обеспечивать стойкость к механическому и/или химическому воздействию.
Альтернативным образом, если первая стороны 114 обращена внутрь транспортного средства, изделие 100 все еще обеспечивает отражение солнечных лучей благодаря металлическим слоям в конструкционном покрытии 108. Однако присутствие защитного покрытия 110 уменьшает способность к отражению тепловой энергии за счет поглощения тепловой энергии, в результате чего предотвращается нагрев тепловой энергией внутреннего пространства автомобиля и повышение его температуры, и уменьшает парниковый эффект. Термическая энергия из внутреннего пространства транспортного средства поглощается защитным слоем 110 и не отражается назад во внутреннее пространство транспортного средства.
Хотя блок покрытий изобретения является в особенности полезным для автомобильных прозрачных деталей, его не следует рассматривать как ограничение лишь для применения а автомобиле. Например, блок покрытий может вводиться в состав традиционных изоляционно-стеклянных элементов (например, блок покрытий может быть создан на внутренней или внешней поверхности одного из стеклянных листов, образующих изоляционно-стеклянный элемент). Если блок покрытий находится на внутренней поверхности в воздушном пространстве, ему не требуется быть механически и/или химически стойким как в том случае, если бы он был на внешней поверхности. Кроме того, блок покрытий мог бы быть использован в сезонно регулируемом окне, как это раскрыто в патенте США 4081934. Если блок покрытий находится на внешней поверхности окна, он должен быть достаточно толстым, чтобы защитить конструкционное покрытие от механического и/или химического повреждения. Изобретение могло бы быть также использовано в качестве монолитного стекла.
Изобретение иллюстрируют следующие примеры, которые, однако, не следует рассматривать ограничивающими изобретение своими деталями. Все части и процентные содержания в приведенных ниже примерах, так же как и по всему описанию, если не оговорено особо, даются в весовом выражении.
ПРИМЕРЫ
Несколько образцов конструкционных покрытий с разными защитными покрытиями изобретения были приготовлены и протестированы на стойкость, светорассеивающую мутность, возникающую после истирания по Таберу, и излучательную способность. Конструкционные покрытия не оптимизировались в отношении механических или оптических свойств, но были использованы просто для того, чтобы проиллюстрировать относительные свойства (например, стойкость, излучательную способность и/или мутность) подложки с конструкционным покрытием, имеющей защитное покрытие изобретения. Способы приготовления таких конструкционных покрытий описаны, например (но не должны рассматриваться как ограничительные), в патентах США  4898789 и 6010602.
Образцы были получены путем нанесения сверху (на обычное светлое стекло на основе соды и извести) разных конструкционных покрытий, как описано ниже, с алюмооксидными защитными покрытиями, обладающими признаками изобретения и имеющими толщину в пределах от 300 до 1,5 µм. Используемые в тестах конструкционные покрытия обладают высокой отражательной способностью в инфракрасном солнечном свете и характеристическую низкую излучательную способность и включают многослойные интерференционные толстые пленки, изготовляемые путем нанесения попеременно слоев из станната цинка и серебра, используя вакуумное нанесения с помощью магнетронного распыления (MSVD). Рассматриваемые ниже образцы обычно имели в конструкционном покрытии два серебряных слоя и три цинк-станнатных слоя. В конструкционных покрытиях сверху серебряных слоев использованы также тонкие грунтовочные слои из металлического титана с целью защиты серебряных слоев от окисления в процессе нанесения методом MSVD оксидных цинк-станнатных слоев и обеспечения надежного нагрева для осуществления выгиба стеклянной подложки. Используемые в приведенных ниже примерах два конструкционных покрытия различаются в основном самым верхним тонким слоем многослойного покрытия, из которых один слой представляет собой металлический Ti, а другой оксид TiO2. Толщина каждого из внешних слоев из Ti или TiO2 лежит в пределах от 10 до 100 Å. Альтернативные примеры, которые в равной степени применимы, но которые не были подготовлены, представляют собой конструкционные покрытия без внешнего слоя из Ti или TiO2 или каких-либо других металлических или оксидных внешних слоев. Используемые в примерах конструкционные покрытия с тонким Ti внешним слоем имеют после прогрева зеленый отражаемый цвет. Другие возникающие после прогрева отражаемые цвета конструкционных покрытий, которые могут быть защищены защитным слоем изобретения, могут быть получены путем изменения толщины отдельных серебряных или цинк-станнатных слоев в конструкционном покрытии.
Тонкие или толстые алюмооксидные защитные покрытия для приведенных ниже примеров были нанесены с использованием реактивного распыления Al на среднечастотном биполярном пульсирующем двойном магнетроне в Airco ILS 1600, специально модифицированном для подвода мощности к двум из трех целей. Использовалась энергия от источника постоянного тока Advanced Energy (AE) Pinnacle(Dual и переключающего устройства Astral®, преобразующего подаваемый постоянный ток в биполярный пульсирующий ток. Стеклянные подложки с конструкционным покрытием вводили в устройство для нанесения покрытий Airco ILS 1600 методом MSVD, имеющим кислород-реактивную атмосферу кислород/аргон. Два алюминиевых катода распылялись в течение разных отрезков времени с целью получения поверх конструкционных покрытий алюмооксидных слоев разной толщины.
Были приготовлены три вырезанных образца (образцы А-С), которые были оценены следующим образом.
Образец А – полоски размером 10×10 см и бесцветного флоат-стекла толщиной 2 мм, приобретенного от фирмы PPG Industries, Inc. (Питтсбург, Пенсильвания).
Образец В – полоски размером 1010 см, нарезанные из бесцветного стекла толщиной 2 мм, имеющие экспериментальное слабоизлучающее конструкционное покрытие толщиной примерно 1600 Å с зеленым отражаемым цветом, получаемое способом MSVD (как описано выше), и не имеющие защитного алюмооксидного покрытия, использовались в качестве контрольного образца.
Образец С – полоски размером 10×10 см, нарезанные из бесцветного стекла толщиной 2 мм, имеющие экспериментальное конструкционное покрытие толщиной примерно 1600 Å с синим отражаемым цветом, получаемое способом MSVD, но, кроме того, имеющие также защитное алюмооксидное (Al2O3) покрытие изобретения толщиной 1,53 µм, нанесенное поверх конструкционного покрытия.
Параллельные образцы А-С были затем протестированы в соответствии со стандартным тестом Табера на истирание (ANSI/SAE 26.1-1996) и результаты приведены на фиг.4. Измерения плотности царапин (SD) по Таберу для данного числа циклов были проведены путем измерения на микроскопе общей длины царапин для всех царапин на площади в один квадратный микрон с использованием оцифровывающей и анализирующей изображение компьютерной программы. Полоски образца С (с защитным покрытием) обнаружили более низкую плотность царапин по сравнению с полосками образца В (с конструкционным покрытием). Полоски образца С обладали примерно такой же стойкостью, что и полоски непокрытого стекла образца А. Результаты теста Табера были получены для «свеженанесенного» защитного покрытия, имея в виду, что полоски покрытого стекла после нанесения методом MSVD защитного покрытия не были прогреты. Ожидается, что результаты по плотности царапин должны улучшиться (т.е. плотность царапин для малого числа циклов Табера должна снизиться) при нагреве покрытой подложки благодаря более высокой плотности нагретого блока покрытий. Например, покрытые подложки следует нагревать от комнатной температуры до максимальной температуры в пределах от 640 до 704°С и охлаждаться в течение периода времени от 10 до 30 мин.
На фиг.5 показана зависимость средней светорассеивающей мутности от числа циклов Табера (в соответствии с ANSI/SAE 26.1-1996) для параллельных образцов А и С, как описано выше. Образец А является непокрытым стеклом, использующимся в качестве эталона. Результаты показывают, что возникшая у образца С после 1000 циклов мутность близка к 2%, т.е. допустимому минимуму, установленному ANSI для безопасности автомобильного стела. Незначительное улучшение стойкости защитного покрытия, судя по всему, приводит после 1000 циклов Табера к превышению установленной ANSI безопасной мутности менее чем на 2%.
На фиг.6 показано влияние защитного надпокрытия изобретения, нанесенного способом MSVD при различных значениях разряжения на два разных конструкционных покрытия. Показанные на фиг.6 образцы являются полосками толщиной 2 мм бесцветного флоат-стекла со следующими нанесенными на них покрытиями:
Образец D – эталонный образец; отражающее синий цвет конструкционное покрытие с номинальной толщиной 1600 Å, не имеющее защитного покрытия.
Образец Е – эталонный образец; отражающее зеленый цвет конструкционное покрытие с номинальной толщиной 1600 Å, не имеющее защитного покрытия.
Образец F(HP) – конструкционное покрытие образца D плюс алюмооксидное защитное покрытие, нанесенное распылением, как описано выше, способом MSVD при значении разряжения 8 µм кислорода и аргона.
Образец F(LP) – конструкционное покрытие образца D плюс алюмооксидное защитное покрытие, нанесенное распылением, как описано выше, способом MSVD при значении разряжения 4 µм кислорода и аргона.
Образец G(HP) – конструкционное покрытие образца Е плюс алюмооксидное защитное покрытие, нанесенное распылением, как описано выше, способом MSVD при значении разряжения 8 µм кислорода и аргона.
Образец G(LP) – конструкционное покрытие образца Е плюс алюмооксидное защитное покрытие, нанесенное распылением, как описано выше, способом MSVD при значении разряжения 4 µм кислорода и аргона.
Как показано на фиг.6, по мере увеличении толщины защитного слоя излучательная способность блока покрытий также увеличивается. При толщине защитного слоя примерно 1,5 µм блок покрытий обладал излучательной способностью, большей примерно 0,5.
На фиг.7 показаны результаты измерений плотности царапин после 10 циклов истирания по Таберу для описанных выше образцов F(HP), F(LP) G(HP) и G(LP). Эталонные конструкционные покрытия D и Е без защитного покрытия имели начальные плотности царапин порядка от примерно 45 мм-1 до 50 мм-1. Как показано на фиг.7, нанесение защитного покрытия изобретения (даже порядка менее приблизительно 800 Å) улучшает стойкость образующегося блока покрытий.
На фиг.8 показаны результаты измерений плотности царапин после 10 циклов истирания по Таберу для следующих образцов отражающих синий и зеленый цвет покрытий с алюмооксидными защитными покрытиями толщиной 300, 500 и 700 Å:
Образец Н – конструкционное покрытие образца D плюс алюмооксидное защитное покрытие, нанесенное распылением, как описано выше, способом MSVD.
Образец G(LP) – конструкционное покрытие образца Е плюс алюмооксидное защитное покрытие, нанесенное распылением, как описано выше, способом MSVD.
Как показано на правой стороне фиг.8, нагревание блока покрытий изобретения улучшает стойкость блока покрытий. Покрытия на правой стороне фиг.8 нагревали, помещая их на 3 мин в печь при 705°С, после чего извлекали из печи, затем помещали в печь на 5 мин при 205°С, извлекали покрытые образцы из печи и оставляли их охлаждаться в нормальных условиях.
Специалистам в данной области техники совершенно ясно, что в изобретение могут быть внесены модификации без отхода от понятий, раскрытых в предшествующем описании. Например, хотя в предпочтительном воплощении ламинированного изделия конструкционное покрытие включает только один слой, следует понимать, что изобретение могло бы также реализоваться с обоими слоями, имеющим конструкционное покрытие, или с одним слоем, имеющим конструкционное покрытие, и другим слоем, имеющими неконструкционное покрытие, например фотокаталитическое покрытие. Кроме того, специалисту в данной области должно быть ясно, что описанные выше предпочтительные рабочие параметры могут быть отрегулированы, если необходимо, для других материалов подложки и/или для другой толщины. Соответственно, описанные здесь детально воплощения являются лишь иллюстративными и не ограничивающими объема изобретения, которому следует придать всю полноту прилагаемой формулы изобретения и любого или всех ее эквивалентов.
Формула изобретения
1. Ламинированное изделие, включающее: первую подложку, имеющую первую главную поверхность; конструкционное покрытие, образованное поверх, по меньшей мере, части первой главной поверхности, при этом конструкционное покрытие включает, по меньшей мере, одну пленку, содержащую оксид металла, покровную и, по меньшей мере, одну металлическую пленку, отражающую инфракрасные лучи, защитное покрытие, образованное поверх, по меньшей мере, части конструкционного покрытия, при этом защитное покрытие включает первый слой, образованный поверх конструкционного покрытия, и второй слой, образованный поверх первого слоя, при этом первый слой содержит от 50 до 100 вес.% оксида алюминия и от 50 до 0 вес.% оксида кремния, и второй слой, образованный поверх первого слоя, содержит от 50 до 100 вес.% оксида кремния и от 50 до 0 вес.% оксида алюминия, причем защитное покрытие имеет толщину в пределах от 300 Å до 5 мкм и конструкционное покрытие и защитное покрытие образуют блок покрытий; вторую подложку; и полимерный материал, расположенный между защитным слоем и второй подложкой, причем защитное покрытие имеет показатель преломления в пределах ±0,2 по отношению к показателю преломления полимерного материала.
2. Изделие по п.1, в котором, по меньшей мере, одна из первой и второй подложек выбрана из стекла, пластика, металла, керамики и их комбинаций.
3. Изделие по п.1, в котором изделие является автомобильной прозрачной деталью.
4. Изделие по п.1, в котором конструкционное покрытие обладает излучательной способностью в пределах от более 0 до 0,1.
5. Изделие по п.1, в котором защитное покрытие увеличивает излучательную способность блока покрытий до, по меньшей мере, 0,3.
6. Изделие по п.1, в котором защитное покрытие имеет показатель преломления в пределах ±0,1 по отношению к показателю преломления полимерного материала.
7. Изделие по п.1, в котором полимерный материал включает, по меньшей мере, один полимер, выбираемый из виниловой резины, полиуретанового, полиэстерного, акрилового и эпокси-полимеров.
8. Изделие по п.1, в котором защитное покрытие имеет неравномерную толщину.
9. Изделие по п.1, в котором первая и вторая подложки содержат стекло, конструкционное покрытие включает солнцезащитное покрытие, полимерный материал включает поливинилбутираль, и защитное покрытие имеет показатель преломления в пределах 1,5±0,1.
10. Изделие по п.1, в котором защитное покрытие содержит от 15 до 70 вес.% оксида алюминия и от 85 до 30 вес.% оксида кремния.
11. Изделие по п.10, в котором первый слой содержит, по меньшей мере, 70 вес.% оксида алюминия и не более 30 вес.% оксида кремния.
12. Изделие по п.10, в котором первый слой имеет толщину в пределах от 50 Å до 1 µм.
13. Изделие по п.10, в котором первый слой имеет толщину в пределах от 100 до 250 Å.
14. Изделие по п.10, в котором второй слой содержит, по меньшей мере, 70 вес.% оксида кремния и не более 30 вес.% оксида алюминия.
15. Изделие по п.10, в котором второй слой имеет толщину в пределах от 50 до 2000 Å.
16. Изделие по п.10, в котором второй слой имеет толщину в пределах от 300 до 500 Å.
17. Монолитное изделие, включающее подложку; конструкционное покрытие, образованное поверх, по меньшей мере, части подложки; при этом конструкционное покрытие включает, по меньшей мере, одну пленку, содержащую оксид металла и, по меньшей мере, одну пленку, отражающую инфракрасные лучи, защитное покрытие, состоящее из слоя, содержащего смесь оксида алюминия и оксида кремния, образованное поверх, по меньшей мере, части конструкционного покрытия, при этом защитное покрытие включает первый слой, образованный поверх конструкционного покрытия, и второй слой, образованный поверх первого слоя, при этом первый слой содержит от 50 до 100 вес.% оксида алюминия и от 50 до 0 вес.% оксида кремния, и второй слой, образованный поверх первого слоя, от 50 до 100 вес.% оксида кремния и от 50 до 0 вес.% оксида алюминия, при этом конструкционное покрытие и защитное покрытие образуют блок покрытий и защитное покрытие имеет толщину в пределах от 300 Å до 5 мкм; и полимерный материал, образованный поверх, по меньшей мере, части защитного покрытия, при этом защитное покрытие имеет показатель преломления, по существу, такой же, что и коэффициент преломления полимерного материала.
18. Изделие по п.17, в котором это изделие является автомобильной прозрачной деталью.
19. Изделие по п.17, в котором конструкционное покрытие обладает излучательной способностью 0,1 или меньше.
20. Изделие по п.17, в котором защитное покрытие содержит по меньшей мере один слой, содержащий от 75 до 85 вес.% оксида алюминия и/или от 15 до 25 вес.% оксида кремния.
21. Изделие по п.17, в котором защитное покрытие имеет толщину в пределах от 1 до 5 мкм.
22. Изделие по п.17, в котором защитное покрытие имеет показатель преломления в пределах ±0,2 от показателя преломления межслойного материала.
23. Монолитное изделие, включающее подложку, конструкционное покрытие, образованное поверх, по меньшей мере, части подложки, при этом конструкционное покрытие содержит, по меньшей мере, одну пленку, содержащую оксид металла и, по меньшей мере, одну металлическую пленку, отражающую инфракрасные лучи, многослойное защитное покрытие включает первый слой, образованный поверх конструкционного покрытия, и второй слой, образованный поверх, по меньшей мере, части первого слоя, при этом первый и второй слои содержат смесь оксида алюминия и оксида кремния, и первый слой содержит, по меньшей мере, 50 вес.% оксида алюминия и второй слой содержит 50 вес.% оксида кремния, при этом конструкционное покрытие и защитное покрытие образуют блок и имеют толщину в пределах от 300 Å до 5 мкм, и полимерный материал, образованный поверх, по меньшей мере, части защитного покрытия, причем защитное покрытие имеет показатель преломления, который, по существу, тот же самый, что и показатель преломления полимерного материала.
24. Изделие по п.23, в котором первый слой содержит, по меньшей мере, 70 вес.% оксида алюминия и не более 30 вес.% оксида кремния.
25. Изделие по п.23, в котором первый слой имеет толщину в пределах от 50 Å до 1 мкм.
26. Изделие по п.25, в котором первый слой имеет толщину в пределах от 100 до 250 Å.
27. Изделие по п.23, в котором второй слой содержит, по меньшей мере, 70 вес.% оксида кремния и не более 30 вес.% оксида алюминия.
28. Изделие по п.27, в котором второй слой имеет толщину в пределах от 50 до 2000 Å.
29. Изделие по п.28, в котором второй слой имеет толщину в пределах от 300 до 500 Å.
30. Изделие по п.17, в котором полимерный материал содержит поливинилбутираль.
31. Изделие по п.17, в котором защитное покрытие имеет неравномерную толщину.
32. Ламинированное изделие, включающее первую подложку, имеющую первую главную поверхность; конструкционное покрытие, образованное поверх, по меньшей мере, части первой главной поверхности, причем конструкционное покрытие содержит, по меньшей мере, одну пленку, содержащую оксид металла и, по меньшей мере, одну металлическую пленку, отражающую инфракрасные лучи, многослойное защитное покрытие, образованное поверх, по меньшей мере, части конструкционного покрытия, чтобы образовать блок покрытий, при этом защитное покрытие является многослойным покрытием, включающим первый слой, образованный поверх конструкционного покрытия, и второй слой, образованный поверх первого слоя, при этом первый слой содержит от 50 до 100 вес.% оксида алюминия и от 50 до 0 вес.% оксида кремния, и второй слой содержит, по меньшей мере, от 50 до 100 вес.% оксида кремния и от 50 до 0 вес.% оксида алюминия, при этом защитное покрытие имеет толщину в пределах от 300 Å до 5 мкм, вторую подложку, и полимерный материал, расположенный между первой и второй подложками, причем защитное покрытие имеет показатель преломления, по существу, такой же самый, что и показатель преломления полимерного материала.
РИСУНКИ
|
|