|
|
(21), (22) Заявка: 2007106165/15, 20.02.2007
(24) Дата начала отсчета срока действия патента:
20.02.2007
(43) Дата публикации заявки: 27.08.2008
(46) Опубликовано: 27.06.2009
(56) Список документов, цитированных в отчете о поиске:
RU 2279407 С1, 10.07.2006. RU 2243916 С2, 10.01.2005. RU 2277514 C2, 10.06.2006. RU 2220112 C1, 27.12.2003. RU 52397 U1, 27.03.2006. RU 2033974 C1, 30.04.1995. RU 2109649 C1, 27.04.1998.
Адрес для переписки:
115569, Москва, ул. Шипиловская, 5, кв.182, О.И. Брик
|
(72) Автор(ы):
Бобылев Юрий Олегович (RU)
(73) Патентообладатель(и):
Бобылев Юрий Олегович (RU)
|
(54) СПОСОБ ОЧИСТКИ СТОЧНЫХ ВОД С ИНТЕНСИФИКАЦИЕЙ НАСЫЩЕНИЯ ИХ КИСЛОРОДОМ И УСТРОЙСТВО ДЛЯ ЕГО ОСУЩЕСТВЛЕНИЯ
(57) Реферат:
Изобретение может быть использовано для глубокой биологической очистки бытовых сточных вод в отдельно стоящих коттеджах, приусадебных домах, гостиничных комплексах, школах, на предприятиях общественного питания. Предложены два варианта способа, в которых обеспечивается перемещение пузырьков воздуха в одном случае вниз, а в другом случае вверх, и устройство для их осуществления. Устройство содержит вертикальную трубу 5, установленную с зазором 7 относительно дна емкости 1 и снабженную патрубком 6 для подачи сточных вод. Внутри по центру трубы 5 вертикально расположены биологическая загрузка 8 и мелкопузырчатый аэратор 9. Емкость 1 снабжена двумя парами эрлифтов 12, 14 и соединена переливными трубопроводами 2, 3 с отстойником 4, снабженным аэратором 25, рециркуляционным насосом 24 ила и выпускным клапаном 28 для выхода очищенной воды. Переливные трубопроводы 2, 3 снабжены взаимосвязанными запирающими клапанами 26, 27. Устройство снабжено блоком управления 19, компрессором 20, переключающим клапаном 21, распределителем 23 с регулятором 22. Технический результат: получение высококачественных очищенных сточных вод, снижение энергозатрат при интенсификации очистки, повышение эксплуатационной надежности работы установки и снижение трудоемкости как при ее изготовлении, так и при ее эксплуатации. 3 н. и 1 з.п. ф-лы, 2 ил.
Изобретение относится к устройствам для глубокой биологической очистки бытовых сточных вод активным илом во взвешенном состоянии, используемых как в отдельно стоящих коттеджах, приусадебных домах, так в гостиничных комплексах, школах, спортивных клубах, поселках, предприятиях общественного питания и т.д.
При биологической очистке сточных вод используется активный ил, представляющий собой смесь различных бактерий и мелких микроорганизмов, но при этом активационный процесс возможен только при непрерывном наличии кислорода воздуха с различной степенью насыщения, что обеспечивает непрерывное взаимодействие сточных вод с илом во взвешенном состоянии и процесс окисления.
Известно техническое решение по патенту России 2060967, кл. C02F 3/02, 1995 г. «Способ глубокой биохимической очистки сточных вод и установка для его осуществления», в котором согласно способу производят подачу исходных сточных вод, первичное отстаивание сточных вод, аэрацию, вторичное отстаивание иловой смеси, озонирование, рециркуляцию ила и выпуск очищенной воды. Установка по этому источнику информации состоит из первичного отстойника, аэротенка с аэратором, вторичного отстойника, трубопроводов подачи сточной воды, удаления осадка, рециркуляции активного ила, выпуска очищенной воды, а также озонирования в первичном отстойнике, дополнительным отстойником, сообщенным с первичным отстойником, емкостью очищенной воды и трубопроводами для осадка и активного ила, соединяющего нижние части всех отстойников. Однако данное техническое решение, как в части способа, так и в части устройства очень сложно и загромождено излишними трубопроводами, а озонаторы установлены в неэффективных местах емкостей.
Известен модельный ряд установок под общим названием «ЮБАС», защищенных патентами РФ  2201405, 2220112, 2228915 «Способ очистки сточных вод и устройство для его осуществления». Это полностью автоматизированные системы различного уровня сложности. Все эти технические решения содержат накопительный уравнивающий резервуар, где производится аэробно-аноксидная биологическая очистка аэробным активным илом путем подачи воздуха ритмичным способом и происходит процесс ферментативного разложения органических загрязнений. Далее предварительно очищенная вода с илом поступает в аэротенк – активационный резервуар, где происходит окончательное разрушение органического загрязнения, также путем подачи воздуха для эффективной работы ила, после чего вода поступает в отстойник. Отстоявшийся ил накапливается внизу отстойника, а вода, пройдя ряд очисток через пористые фильтры, выводится из установок. Необходимый воздух в этих установках подается в придонную часть резервуаров и соответственно пузырьки воздуха поднимаются вертикально, в связи с чем часть объема в каждой емкости остается без необходимого количества кислорода.
Наиболее близким техническим решением является «Способ глубокой биологической очистки сточных вод и устройство для его осуществления» по патенту РФ 2279407, кл. C02F 3/02, 2006 г., которое включает уравнивающий резервуар, активационный резервуар, отстойник, камеру с пористым фильтром, камеру стабилизации ила, систему трубопроводов и насосов, обеспечивающих принудительную перекачку воды, и блок управления. Данное устройство и способ по очистке сточных вод предусматривает более тщательную очистку воды, так как предусматривает тройное перекачивание и перетекание воды, а соответственно и ее перемешивание с илом, который в каждой емкости насыщается придонными аэраторами. Однако наличие трех камер перетекания воды осложняет конструкцию устройства.
Технической задачей настоящего изобретения является создание способа и компактной установки, обеспечивающих достижение технического результата, заключающегося в получении высококачественных очищенных сточных вод, пригодных к повторному использованию, снижение энергозатрат при интенсификации очистки, заключающегося в организации рациональной схемы процесса ферментативного разложения органических загрязнений, а также процесса нитрификации, денитрификации и дефосфотации на всех стадиях очистки сточных вод, тем самым повышается результативная степень очистки сточных вод, а также заключающегося в повышении эксплуатационной надежности работы установки и снижении трудоемкости как при ее изготовлении, так и при ее эксплуатации.
Указанный технический результат в части способа достигается тем, что на дно в емкости с зазором устанавливают вертикальную трубу, снабженную патрубком для подачи сточных вод, вертикальной биологической загрузкой, расположенной в центре трубы, и установленным с возможностью перемещения вдоль трубы мелкопузырчатым аэратором, воздух в который подают импульсно, при этом емкость снабжают, по крайней мере двумя парами эрлифтов, перекачивающих воду из емкости в трубу, причем выходные патрубки эрлифтов располагают по внутреннему периметру трубы тангенциально, аэратор устанавливают в верхней зоне трубы, в работу включают все эрлифты, а суммарную производительность эрлифтов выбирают из условия, что скорость движения переливаемой воды больше скорости перемещения пузырьков, вследствие чего обеспечивается перемещения пузырьков воздуха вниз.
Указанный технический результат в части способа достигается тем, что на дно в емкости с зазором устанавливают вертикальную трубу, снабженную патрубком для подачи сточных вод, вертикальной биологической загрузкой, расположенной в центре трубы, и установленным с возможностью перемещения вдоль трубы мелкопузырчатым аэратором, воздух в который подают импульсно, при этом емкость снабжают, по крайней мере, двумя парами эрлифтов, перекачивающих воду из емкости в трубу, причем выходные патрубки эрлифтов располагают по внутреннему периметру трубы тангенциально, аэратор устанавливают в нижней зоне трубы, в работу включают, по крайней мере, пару эрлифтов, а суммарную производительность эрлифтов выбирают из условия, что скорость движения переливаемой воды меньше скорости перемещения пузырьков, вследствие чего обеспечивается замедленное перемещение пузырьков воздуха вверх.
Указанный технический результат в части устройства достигается тем, что в емкости установлена с зазором относительно дна вертикальная труба, снабженная патрубком для подачи сточных вод, а внутри в центре трубы вертикально расположены биологическая загрузка и мелкопузырчатый аэратор, установленный с возможностью перемещения и фиксации в установленном положении, при этом емкость снабжена, по крайней мере, двумя парами эрлифтов, выходные патрубки которых расположены по внутреннему периметру трубы тангенциально, и расположенными на разных уровнях переливными трубопроводами, соединяющими емкость с отстойником, снабженным аэратором, рециркуляционным насосом ила и выпускным клапаном для выхода очищенной воды, а переливные трубопроводы снабжены взаимосвязанными запирающими клапанами.
Указанный технический результат в части устройства достигается тем, что устройство снабжено взаимодействующими между собой блоком управления, компрессором, переключающим клапаном, распределителем с регулятором.
Изобретение поясняется следующими чертежами:
на фиг.1 изображено устройство;
на фиг.2 сечение А-А на фиг.1.
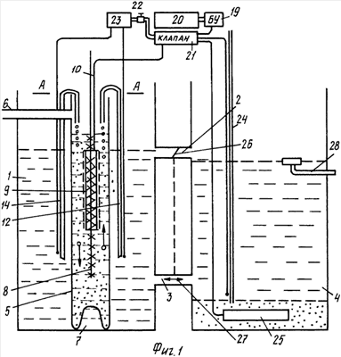
Устройство для очистки сточных вод с интенсификацией насыщения их кислородом состоит из емкости 1 и соединенной с ней переливными патрубками верхним 2, нижним 3 с отстойником 4. Внутри емкости 1 установлена вертикальная труба 5, расположенная в центре емкости, и снабженная патрубком 6 для подачи сточных вод, причем труба 5 установлена в емкости 1 с зазором 7 между дном емкости 1 и нижним торцом трубы 5. Внутри трубы 5 установлена биологическая загрузка 8, которая может быть выполнена либо плоской, проходящей через центр трубы, либо крестообразной (на чертеже не показано), как пересечение двух плоских, причем центр пересечение совпадает с центром трубы. Внутри трубы расположен мелкопузырчатый аэратор 9, которому по трубопроводу 10 импульсно подается воздух. Мелкопузырчатый аэратор 9 установлен с возможностью перемещения вдоль трубы 5 по вертикали и его фиксации в требуемом месте. Емкость 1 снабжена эрлифтами 11, 12, 13, 14, которые переливают воду из емкости 1 в трубу 5, при этом загнутые патрубки 15, 16, 17, 18 эрлифтов в трубе 5 расположены тангенциально по внутреннему периметру трубы 5 Устройство снабжено блоком 19 управления взаимодействующим как с компрессором 20, так и с переключающим клапаном 21, который взаимодействует посредством регулятора 22 с распределителем 23, причем переключающий клапан 21 взаимодействует с рециркуляционным насосом 24 ила отстойника 4, в котором осаждается ил и где также установлен придонный аэратор 25 ила, подключенный к переключающему клапану 21. Переливные трубопроводы 2, 3 соединяющие емкость 1 с отстойником 4, снабжены взаимосвязанными клапанами 26, 27, пропускающими воду только в одну сторону, причем если клапан 26 открыт, то клапан 27 закрыт и наоборот, это обеспечивает перелив воды только через один какой нибудь клапан. Отстойник 4 снабжен выпускным патрубком 28 для отвода очищенной воды.
Устройство работает следующим образом. Сточные воды через патрубок 6 поступают в вертикальную трубу 5, где они подвергаются обработке посредством активного ила в присутствии кислорода воздуха, поступающего из мелкопузырчатого аэратора 9, при этом воздух в аэратор подают импульсно. При работе устройства по первому способу мелкопузырчатый аэратор устанавливают в верней зоне трубы и фиксируют его. Затем включают все эрлифты, которыми вода из емкости 1 перекачивается в трубу, т.е. заливается сверху, а так как патрубки установлены тангенциально, то вода, закручиваясь по трубе, опускается вниз, при этом напор воды, дополнительно регулируемый посредством регулятора, такой сильный, что мелкие пузырьки воздуха потоком воды опускаются вниз, тем самым воздух пронизывает весь столб жидкости в трубе, воздух взаимодействует с илом, находящимся во взвешенном состоянии в воде. При достижении воды уровня переливного верхнего патрубка 2 обработанная вода переливается в отстойник 4. В емкости 1 в ее верхней зоне вода находится в успокоенном состоянии, а ил оседает в нижнюю зону емкости, так как весь бурлящий процесс взаимодействия воды ила и воздуха происходит в трубе 5. В отстойнике вода отстаивается и по трубопроводу 26 выводится из устройства.
При работе устройства по второму способу мелкопузырчатый аэратор 9 устанавливают в нижней зоне трубы 5, включают только часть эрлифтов, но обязательно противоположно расположенных относительно центра трубы, для лучшего создания процесса закручивания воды по периметру трубы. Пузырьки воздуха при меньшем потоке воды поднимаются вверх, но медленно, так как вода, заливаемая сверху, тормозит их подъем, тем самым способствует лучшему контакту воздуха с илом, вода очищается илом в этом бурлящем потоке. Так как мелкопузырчатый аэратор установлен в нижней зоне трубы, то воздух тоже пронизывает весь столб жидкости в трубе. В этом случае вода может переливаться как по трубопроводу 2, так и по трубопроводу 3. Трубопроводы 2, 3 снабжены клапанами.
Предложенные два способа и устройство являются энергосберегающими, а устройство надежным в работе, простым по конструктивному выполнению, дешевым в изготовлении и надежным в эксплуатации.
Формула изобретения
1. Способ очистки сточных вод, включающий подачу сточных вод в емкость, их биологическую очистку с помощью активного ила и на пористом фильтре с биологической загрузкой, подачу очищенных вод в отстойник, отличающийся тем, что на дно в емкости с зазором устанавливают вертикальную трубу, снабженную патрубком для подачи сточных вод, вертикальной биологической загрузкой, расположенной в центре трубы, и установленным с возможностью перемещения вдоль трубы мелкопузырчатым аэратором, воздух в который подают импульсно, при этом емкость снабжают, по крайней мере, двумя парами эрлифтов, перекачивающих воду из емкости в трубу, причем выходные патрубки эрлифтов располагают по внутреннему периметру трубы тангенциально, аэратор устанавливают в верхней зоне трубы, в работу включают все эрлифты, а суммарную производительность эрлифтов выбирают из условия, что скорость поступления переливаемой воды больше скорости перемещения пузырьков, вследствие чего обеспечивается перемещение пузырьков воздуха вниз.
2. Способ очистки сточных вод, включающий подачу сточных вод в емкость, их биологическую очистку с помощью активного ила и на пористом фильтре с биологической загрузкой, подачу очищенных вод в отстойник, отличающийся тем, что на дно в емкости с зазором устанавливают вертикальную трубу, снабженную патрубком для подачи сточных вод, вертикальной биологической загрузкой, расположенной в центре трубы, и установленным с возможностью перемещения вдоль трубы мелкопузырчатым аэратором, воздух в который подают импульсно, при этом емкость снабжают, по крайней мере, двумя парами эрлифтов, перекачивающих воду из емкости в трубу, причем выходные патрубки эрлифтов располагают по периметру трубы тангенциально, аэратор устанавливают в нижней зоне трубы, в работу включают пару эрлифтов, а суммарную производительность эрлифтов выбирают из условия, что скорость поступления переливаемой воды меньше скорости перемещения пузырьков, вследствие чего обеспечивается перемещение пузырьков воздуха вверх.
3. Устройство для очистки сточных вод, содержащее емкость, отстойник, камеру с пористым фильтром, систему трубопроводов и насосов, обеспечивающих принудительную перекачку воды, и блок управления, отличающееся тем, что в емкости установлена с зазором относительно дна вертикальная труба, снабженная патрубком для подачи сточных вод, а внутри по центру трубы вертикально расположены биологическая загрузка и мелкопузырчатый аэратор, установленный с возможностью перемещения и фиксации в установленном положении, при этом емкость снабжена, по крайней мере, двумя парами эрлифтов, выходные патрубки которых расположены по внутреннему периметру трубы тангенциально, и расположенными на разных уровнях переливными трубопроводами, соединяющими емкость с отстойником, снабженным аэратором, рециркуляционным насосом ила и выпускным клапаном для выхода очищенной воды, а переливные трубопроводы снабжены взаимосвязанными запирающими клапанами.
4. Устройство по п.3, отличающееся тем, что оно снабжено взаимодействующими между собой блоком управления, компрессором, переключающим клапаном, распределителем с регулятором.
РИСУНКИ
|
|