|
|
(21), (22) Заявка: 2006123544/12, 03.12.2004
(24) Дата начала отсчета срока действия патента:
03.12.2004
(30) Конвенционный приоритет:
04.12.2003 GB 0328160.7 31.03.2004 GB 0407375.5
(43) Дата публикации заявки: 20.01.2008
(46) Опубликовано: 27.06.2009
(56) Список документов, цитированных в отчете о поиске:
SU 277533 A1, 01.01.1970. FR 1053839 A, 05.02.1954. US 5125697 A, 30.06.1992. DE 4334486 A1, 20.04.1995. US 2129250 A, 06.09.1938.
(85) Дата перевода заявки PCT на национальную фазу:
04.07.2006
(86) Заявка PCT:
GB 2004/005103 20041203
(87) Публикация PCT:
WO 2005/054072 20050616
Адрес для переписки:
103735, Москва, ул. Ильинка, 5/2, ООО “Союзпатент”, пат.пов. Л.С.Кишкиной
|
(72) Автор(ы):
БУТ Питер (GB), БАНС Мартин Кристофер (GB), ДЕЙВИС Уил Джон (GB), ФОРДХЭМ Карл Эдвард (GB), ПИКОП Александр Джеймс (GB)
(73) Патентообладатель(и):
ИМПЕРИАЛ КЕМИКАЛ ИНДАСТРИЗ ПЛС (GB)
|
(54) ТАРНЫЙ КОМПЛЕКТ
(57) Реферат:
Тарный комплект содержит контейнер для краски и крышку. Контейнер имеет наружную стенку, образующую кромку, охватывающую отверстие, находящееся на одном его торце, и крышку для закрывания отверстия с возможностью ее снятия. Тарный комплект снабжен по меньшей мере одним фиксатором, выполненным с возможностью шарнирного поворота от разблокированного положения к положению фиксации, причем по меньшей мере один фиксатор снабжен элементом для контактного сцепления фиксатора, который в положении фиксации входит в контактное сцепление с соответствующим элементом контактного сцепления, имеющимся на крышке и/или контейнере, для присоединения крышки к контейнеру. Фиксатор при его шарнирном повороте вокруг оси, расположенной в плоскости крышки, от разблокированного положения к положению фиксации охватывает кромку контейнера и/или край крышки с возможностью фиксации на кромке контейнера. Предусмотрен вариант тарного комплекта и укупорочное средство для контейнера. Изобретение направлено на создание новой конструкции тарного комплекта, который обеспечивает фиксацию крышки на контейнере с большей степенью надежности, исключая ее случайное отсоединение и возможность нежелательного вытекания содержимого из контейнера. 3 н. и 30 з.п. ф-лы, 16 ил.
Настоящее изобретение относится к тарному комплекту, в состав которого входит съемная крышка для герметизации тарного комплекта. Крышка обычно выполнена с возможностью повторного запирания. Изобретение предназначено, в частности, для закрывания контейнеров с жидкостью, например с краской, хотя это не является единственным применением изобретения.
Банки с краской, например, зачастую просто закрываются крышкой, имеющей выступающую наружу кромку, которую напрессовывают на верхнюю часть контейнера. Удаление крышки может быть выполнено путем ввода лезвия отвертки и его поворота с вращением для того, чтобы с помощью такого рычага вскрыть крышку. При повторной герметизации контейнера эта крышка может быть заменена, но при этом сопрягаемые поверхности крышки и контейнера обычно повреждаются и могут покрываться высохшим содержимым контейнера, в результате чего для повторного закрывания контейнера необходимо приложить значительное усилие. Однако даже после приложения усилия герметизация может быть не достигнута, что может привести к вытеканию и/или ухудшению качества содержимого.
Известны также более сложные конструктивные исполнения укупорочных средств. В опубликованной международной заявке WO 03/062081 описано повторно закрываемое укупорочное средство для контейнера, содержащее крышку и юбку, которая для фиксации крышки на контейнере выполнена сгибаемой. В конструкции такого укупорочного средства необходимо, чтобы его кромка снаружи контейнера имела профиль свернутого завитка. Металлическая крышка контейнера снабжена отдельной прикрепленной к ней периферийной юбкой, которая свисает вниз и имеет точку перегиба, что позволяет разворачивать искривленный край вниз так, чтобы он контактировал с завитком контейнера снизу. Между металлической крышкой и верхней кромкой контейнера размещен уплотнительный компаунд. Юбка с помощью прорезей может быть разделена на большое количество отдельных участков для облегчения ее сгибания вниз вокруг внешней поверхности контейнера с тем, чтобы фиксировать крышку с возможностью съема. Следует учитывать, что для эффективности действия укупорочного средства в его конструкции необходимо наличие нескольких элементов сложного профиля.
В патенте US 3688942 A раскрыта простая форма выполнения комплекта, включающего контейнер и укупорочное средство, в котором на открытом торце корпуса контейнера имеется формованный периферийный участок с юбкой, направленной радиально наружу и вниз. Укупорочное средство также снабжено периферийной частью с юбкой, в которой имеется множество фиксаторов, соединенных с юбкой посредством гибких шарниров, выполненных заодно с юбкой. Элементы фиксаторов находятся в зацеплении со свободной кромкой юбочной части контейнера за счет наличия (в юбке укупорочного средства) криволинейного паза, а паз выполнен таким, чтобы при присоединении укупорочного средства к контейнеру между ними было размещено сжимаемое уплотнение.
Хотя каждое из решений, известных из WO 03/062081 и US 3688942 А, обеспечивает съемное укупорочное средство для контейнера, снятие крышки с контейнера осуществляют с помощью определенной ее части, которая выступает за пределы внешней границы поверхности контейнера, что может привести к непреднамеренному открыванию контейнера и опасности утечки содержимого контейнера.
В патенте US 1482931 А описан закрываемый сверху резервуар, корпус которого выполнен с завернутой наружу кромкой и закрывается крышкой, имеющей опущенный вниз кольцевой фланец. К нижнему концу фланца присоединена пара подпружиненных рычагов-рукояток, расположенных диаметрально противоположно друг другу и спрофилированных для контактного сцепления снизу с завернутой кромкой корпуса резервуара, осуществляемого для фиксации на нем крышки.
В соответствии с первым аспектом настоящего изобретения обеспечивается тарный комплект, включающий контейнер для краски и крышку, в котором контейнер имеет внешнюю наружную стенку, образующую кромку, охватывающую отверстие, имеющееся на одном торце, и в котором имеется крышка, обеспечивающая закрытие отверстия с возможностью съема крышки, при этом тарный комплект снабжен по меньшей мере одним фиксирующим элементом (фиксатором), который может шарнирно перемещаться между положениями закрытия и открытия, при этом по меньшей мере один фиксатор имеет элемент для контактного сцепления, который в положении закрытия входит в сцепление с соответствующим элементом для контактного сцепления, имеющимся на крышке и/или контейнере, для фиксации крышки на контейнере, причем фиксатор при его шарнирном повороте вокруг оси, расположенной в плоскости крышки, от положения открытия к положению закрытия охватывает кромку контейнера и/или края крышки таким образом, что он фиксируется на кромке контейнера.
В соответствии со вторым аспектом настоящего изобретения обеспечивается укупорочное средство для контейнера, в котором контейнер имеет внешнюю наружную стенку, образующую кромку, охватывающую отверстие, образованное на одном торце, и в котором имеется крышка, обеспечивающая закрытие отверстия, с возможностью ее съема, содержащая поверхность, перекрывающую отверстие контейнера, при этом периферийный край крышки посажен на кромку контейнера, и юбку, которая опущена вниз с края крышки, охватывает снаружи кромки контейнера и проходит вокруг внешней поверхности наружной стенки контейнера, при этом укупорочное средство содержит по меньшей мере один шарнирный фиксатор, охватывающий снаружи кромку контейнера для фиксации на нем крышки.
Преимущественно, и в отличие от описанного выше аналога, шарнирное соединение фиксатора, выполненное так, что он охватывает кромку контейнера и блокируется на ней, обеспечивает фиксацию крышки на контейнере с большей степенью надежности, и, следовательно, менее вероятно, что она случайно отсоединится от контейнера.
Крышка укупорочного устройства, таким образом, содержит поверхность, которая закрывает отверстие контейнера, предпочтительно с посадкой ее края на кромку контейнера и с надежным уплотнением по ней, и юбку, опускающуюся вниз и проходящую от поверхности, закрывающей контейнер.
Предпочтительно указанный шарнирный фиксатор или каждый из указанных шарнирных фиксаторов спрофилирован так, что он обеспечивает взаимное контактное сцепление с сопрягаемым профилем поверхности на контейнере или на крышке с тем, чтобы осуществлять фиксацию крышки на контейнере. Такое профилирование может включать выполнение взаимодействующих при контактном сцеплении выступов, или взаимодействующих выступов и впадин. Профилированными могут быть внутренняя и/или внешняя поверхность контейнера и/или крышки.
Шарнирное крепление определенного фиксатора или каждого фиксатора может быть расположено снаружи или внутри области, ограниченной окружной стенкой контейнера.
Указанный или каждый из указанных фиксаторов может быть сформован заодно с крышкой или контейнером и при этом шарнирно соединен с крышкой и контейнером с помощью гибкого шарнира.
Шарнирное крепление фиксаторов позволяет повторно открывать и закрывать контейнер, избегая при этом какую-либо их остаточную деформацию.
Предпочтительно поверхность крышки, закрывающая контейнер, выполнена таким образом, чтобы по меньшей мере при запирании фиксатора (фиксаторов) она обеспечивала уплотнение контейнера.
Преимущественно фиксаторы выполнены шарнирными, так, чтобы они закрывали крышку поверх верхней кромки контейнера и при этом их свободные концы располагались внутри области, ограниченной этой кромкой, что уменьшает опасность случайного открытия крышки. В этом случае свободные концы фиксаторов могут располагаться вровень с верхней поверхностью крышки, или по меньшей мере они будут располагаться ниже уровня кромки.
Предусмотрено, однако, что шарнирное соединение фиксаторов может находиться с внутренней стороны периметра кромки контейнера так, чтобы фиксаторы при движении вниз закрывали контейнер вокруг его внешней поверхности, при этом предпочтительно свободные концы фиксаторов располагаются рядом с внешней поверхностью контейнера.
В соответствии с третьим аспектом настоящего изобретения обеспечивается укупорочное средство для контейнера, в котором контейнер имеет наружную стенку, образующую кромку, охватывающую отверстие, находящееся на одном его торце, при этом наружная стенка снабжена по меньшей мере одним выходящим наружу выступом, проходящим по меньшей мере частично вокруг внешней поверхности стенки и расположенным рядом с отверстием, и в котором имеется крышка для закрывания контейнера, выполненная с возможностью съема с контейнера, имеющая поверхность для закрывания отверстия контейнера и свисающую вниз юбку, ограждающую снаружи выступ на контейнере, при этом юбка снабжена по меньшей мере одним шарнирным фиксатором, включающим (а) направленный внутрь выступ для взаимодействия с направленным наружу выступом на контейнере и (b) край, охватывающий снаружи кромку контейнера у его отверстия и находящийся в контактном сцеплении с крышкой, фиксируя таким образом крышку на контейнере с помощью соответствующих выступов, направленных внутрь и наружу, входящих в контактное сцепление друг с другом.
Преимущественно по меньшей мере один выступ на контейнере находится на некотором расстоянии от кромки, в продольном направлении вниз от отверстия.
В соответствии с четвертым аспектом настоящего изобретения обеспечивается тарный комплект, содержащий контейнер и крышку, в котором контейнер имеет наружную стенку, образующую кромку, охватывающую отверстие, находящееся на одном его торце, и в котором имеется крышка для закрывания отверстия с возможностью ее снятия, при этом тарный комплект снабжен по меньшей мере одним фиксатором, выполненным с возможностью шарнирного поворота от разблокированного положения к положению фиксации, причем по меньшей мере один фиксатор снабжен элементом для контактного сцепления фиксатора, который в закрытом положении входит в контактное сцепление с соответствующим элементом контактного сцепления, имеющимся на крышке и/или контейнере, для присоединения крышки к контейнеру, причем фиксатор при перемещении от разблокированного положения к положению фиксации поворачивается шарнирно вверх.
Следует отметить, что в отличие от упомянутого выше патента US 1482931 A, укупорочное средство, выполненное в соответствии с настоящим изобретением, обеспечивает четкий и точный контакт фиксатора (фиксаторов) на крышке укупорочного средства.
При запирании контейнера, осуществляемом путем перемещения указанного или каждого из указанных фиксаторов вверх, предпочтительно путем соединения с защелкиванием, менее вероятно, что при подхватывании пользователем контейнера с краской фиксатор случайно переместится в разблокированное положение, поскольку обычно пользователь будет подхватывать контейнер движением, направленным вверх, которое по направлению противоположно перемещению вниз, необходимому для разблокирования фиксатора, и, следовательно, освобождению крышки от контейнера. Если соединение с защелкиванием осуществляется поверх кромки контейнера на самой кромке контейнера, то свободные концы указанного или каждого из указанных фиксаторов могут в сохранности и видимыми находиться с внутренней стороны периметра кромки контейнера, предотвращая, кроме того, случайное освобождение крышки.
Для укупорочного средства согласно настоящему изобретению требуется сравнительно малое количество элементов, включающее в своей самой основной форме воплощения кромку контейнера, спрофилированную подходящим образом, и крышку, которая служит для закрывания контейнера и фиксации закрывания с помощью одного или более шарнирных фиксаторов, выполненных заодно с контейнером.
Следует также отметить, что фиксаторы в положении блокирования не находятся в напряженном состоянии. Это позволяет избежать проблемы деформации пластмассового материала, сохраняя в то же время воздействие вертикального усилия на наружные выступы контейнера.
Следует принимать во внимание, что слышимый звуковой эффект посадки фиксаторов с защелкиванием будет служить оповещением пользователя о том, что фиксаторы гарантированно находятся на месте.
Крышка и юбка предпочтительно отлиты заодно друг с другом, при этом указанный или каждый из указанных фиксаторов предпочтительно отлит заодно с юбкой, предпочтительно вместе с шарнирным соединением с использованием гибкого соединительного шарнира. В качестве альтернативы указанный или каждый из указанных фиксаторов может быть прикреплен к юбке с помощью соответствующего отдельно выполненного шарнира.
Предпочтительно в юбке на периферийном участке определенного или каждого фиксатора выполнено окно, тем самым при фиксации крышки на контейнере фиксатор входит в окно, и при этом соответствующие направленные внутрь и наружу выступы входят в контактное сцепление непосредственно друг с другом.
Поскольку крышка и контейнер в отсутствии какой-либо прокладки будут контактировать с содержимым контейнера, они будут изготовлены из относительно инертного материала. Например, они могут быть изготовлены из пластмассового материала, предпочтительно путем литья. В частности, эти элементы могут быть изготовлены посредством сравнительно недорогого метода литья под давлением с использованием, например, полиэтилентерафталата. Однако предусмотрено, что при соответствующих внешних условиях для их изготовления можно применять металл.
Указанный фиксатор или каждый из указанных фиксаторов может быть утоплен в противолежащую, по существу плоскую, верхнюю поверхность крышки для обеспечения, кроме того, защиты от случайного освобождения укупорочного средства от контейнера.
Предпочтительно для укупорочного средства, имеющего, как правило, конфигурацию с круглым сечением, используются три фиксатора, расположенные на равном расстоянии друг от друга по периметру крышки. В то же время в случае необходимости могут быть использованы два или четыре или большее количество фиксаторов. Если же укупорочное средство имеет конфигурацию с прямоугольным сечением, то предполагается, что на каждой из сторон укупорочного средства будет установлен по меньшей мере один фиксатор, или же в качестве альтернативы, фиксатор может быть установлен в каждом углу контейнера.
Хотя предпочтительно наружный выступ на внешней поверхности контейнера проходит без разрывов вокруг контейнера, позволяя тем самым зафиксировать на нем крышку в каком-либо положении, предусмотрено, что выступ может быть выполнен в виде большого количества отдельных участков. В последнем случае количество отдельных участков выступа предпочтительно следует выбирать равным количеству фиксаторов, необходимых для того, чтобы соответствующим образом разместить на контейнере крышку с обеспечением их взаимной фиксации.
Выгодно, чтобы на внешней поверхности основания контейнера была выполнена одна или более чем одна выемка для облегчения захвата контейнера пользователем.
Следует отметить, что выполнение выступа необходимо также и на крышке, и что те элементы, которые присущи крышке и описаны выше, необходимы независимо от типа контейнера, на котором предполагается использовать эту крышку.
Тарный комплект далее будет описан с помощью примера воплощения и со ссылкой на сопровождающие чертежи.
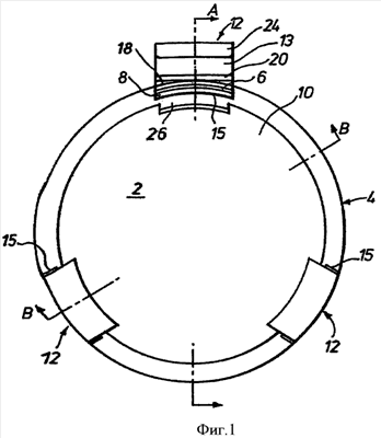
Фиг.1 – тарный комплект с двумя фиксаторами, показанными в положении фиксации, и третьим фиксатором – в разблокированном положении, вид сверху.
Фиг.2 – разрез по линии А-А на фиг.1, демонстрирующий крышку в разблокированном положении.
Фиг.3 – разрез по линии В-В на фиг.1, демонстрирующий крышку в фиксированном положении.
Фиг.3А – разрез по линии В-В на фиг.1, демонстрирующий крышку в разблокированном и фиксированном положениях.
Фиг.4 – другое конструктивное воплощение сборного контейнера, вид сверху.
Фиг.5 – разрез по линии С-С на фиг.4, показывающий тарный комплект в фиксированном положении крышки.
Фиг.6-фиг.15 – вид в разрезе альтернативных примеров воплощения, отображающий тарный комплект в разблокированном и фиксированном положениях.
Фиг.16 – тарный комплект в соответствии с фиг.1-фиг.15, вид снизу.
На чертежах показан цилиндрический контейнер 2, предназначенный для содержания краски, изготовленный из пластмассы и закрытый литой пластмассовой крышкой 4. Контейнер 2 снабжен выступом 6, проходящим по окружности внешней поверхности контейнера, расположенным вблизи верхней кромки 8 открытого торца контейнера. Крышка 4 имеет плоскую опущенную вниз (ниже торца контейнера) верхнюю поверхность 10, которая размещена внутри кромки 8 контейнера и снабжена тремя шарнирными фиксирующими элементами 12, расположенными по окружности на равном расстоянии друг от друга, входящими в опущенную вниз юбку 14 крышки 4. Цилиндрическая внутренняя поверхность юбки 14 имеет диаметр, обеспечивающий ее скользящую посадку поверх окружного выступа 6, выполненного на внешней поверхности контейнера 2.
Каждый фиксатор 12 отлит заодно с юбкой 14 и может шарнирно откидываться от нижней периферийной кромки 16 юбки с помощью гибкого шарнира 18 (фиг.2), открывая при этом окно 15 в юбке 14. Шарнирно соединенная часть фиксатора 12, как правило, имеет L-образную форму с проходящим от шарнира 18 нижним участком 13, который в непосредственной близости от шарнира снабжен направленным внутрь выступом 20, в целом имеющим такие же размер и форму, что и выступ 6 на контейнере. Выступы 6 и 20 смещены в продольном направлении относительно верхних торцов контейнера и крышки 4 соответственно, таким образом, что при перемещении фиксатора 12 от разблокированного положения (фиг.2) к положению фиксации (фиг.3) фиксирующий выступ 20 входит в контактное сцепление с внешней стенкой контейнера 2 непосредственно ниже выступа 6.
В положении закрытия (фиксации) верхняя часть 22 фиксатора 12 охватывает кромку 8 контейнера снаружи своим свободным крюкообразным концом 24, защелкиваясь над локальным утолщением 26 выступающего отбортованного края 27 крышки 4. Т.е. такое контактное сцепление фиксатора 12 на верхней кромке крышки 4, при одновременном контактном сцеплении выступов 6 и 20, происходит с защелкиванием, обеспечивая тем самым слышимую индикацию того, что крышка 4 соответствующим образом закреплена на контейнере 2. В результате фиксатор 12 запирается на кромке 8 контейнера и остается в положении блокирования за счет фиксации с защелкиванием, осуществляемой между крюкообразным концом 24 и локальным утолщением 26 крышки, и при приведении фиксатора в положение закрытия, крышка удерживается на контейнере за счет контактного сцепления между выступом 20 на фиксаторе 12 и выступом 6 на кромке контейнера.
Фиг.3А более детально демонстрирует взаимодействие между фиксатором 12, когда он поднимается вверх из положения разъединения (показано пунктиром) в положение фиксации. Из сравнения положений разъединения и фиксации видно, что фиксатор 12 охватывает сверху кромку 8 контейнера и фиксируется на кромке контейнера 8 благодаря контактному сцеплению между локальным утолщением 26 отбортованного края 27 крышки и крюкообразным концом 24 фиксатора 12. Необходимо отметить, что в данном примере воплощения отбортованный край 27 крышки заключен между кромкой 8 контейнера и фиксатором 12, и фиксатор 12 запирается на кромке контейнера непосредственно путем фиксации на отбортованном краю 27, который, в свою очередь, фиксируется на поверхности кромки 8 контейнера. За счет осуществляемого таким образом запирания фиксатора 12 на кромке 8 контейнера крышка удерживается на контейнере с большей степенью надежности.
Следует отметить, что в положении фиксации нажимное усилие, действующее на свободный конец 24 фиксатора 12 в направлении вверх, заставит шарниры 18 поворачиваться так, чтобы можно было снять крышку 4 с контейнера 2. Герметизация и открывание контейнера 2 могут осуществляться повторно.
Следует отметить, что шарнирное крепление фиксаторов 12 на юбке 14 крышки осуществляется на внешней поверхности контейнера 2, и, следовательно, при обычном использовании, оно не контактирует с содержимым контейнера. Поэтому содержимое контейнера 2 не оказывает влияния на фиксаторы 12.
На фиг.4 представлен вид сверху модификации тарного комплекта, отображенного на фиг.1-фиг.3А, а на фиг.5 показан разрез по линии С-С на фиг.4. Круговая крышка 30 для контейнера (не показан) снабжена тремя шарнирными фиксаторами 32, расположенными по окружности крышки на одинаковом расстоянии друг от друга, изображенными на чертеже в положении закрытия (фиксации). Однако, в отличие от описанного выше примера осуществления, центральная часть поверхности 34 не занижена и находится по существу на одном уровне с верхней поверхностью 33 фиксатора 32. На поверхности 34 имеется также участок 36, представляющий собой раковинообразную выемку, примыкающую к каждому фиксатору 32, при этом фиксатор частично проходит поверх участка 36 с выемкой в виде раковины, чтобы облегчить поднятие из него шарнирно соединенного фиксатора 32 в направлении положения разблокирования, для того, чтобы крышку 30 можно было снять с контейнера. Плоская верхняя поверхность крышки, снабженная выемками для фиксаторов, кроме того, предотвращает случайное открытие контейнера. Крышка удерживается на контейнере таким же образом, как это описано в отношении тарного комплекта, иллюстрируемого на фиг.1-фиг.3А.
На фиг.6 представлено альтернативное выполнение тарного комплекта, которое идентично конструктивному выполнению, показанному на фиг.1-фиг.5, за исключением того, что край 227 крышки не имеет локального утолщения. Крышка удерживается на контейнере таким же образом, что и в конструкциях, представленных на фиг.1-фиг.5, за исключением того, что фиксатор 232 запирается на контейнере путем контактного сцепления выступа 224 фиксатора с внутренней поверхностью 235 края крышки 227.
На фиг.7 представлено альтернативное воплощение тарного комплекта, идентичное комплекту, показанному на фиг.6, и функционирующее одинаковым образом, за исключением того, что в этой конструкции комплекта гибкий шарнир 318 расположен на нижней кромке юбки 314, а не на некотором удалении от нижней кромки. За счет поворота шарнирного фиксатора вокруг нижней кромки юбки, а не более высокого местоположения на юбке, относительно шарнира создается больший момент, способствующий удерживанию фиксатора в положении закрытия.
На фиг.8 показано альтернативное воплощение комплекта, аналогичное комплекту, представленному на фиг.7, и функционирующее одинаковым образом, за исключением того, что внутренняя поверхность 435 края крышки и выступ 424 на фиксаторе спрофилированы такими, чтобы выступ 424 защелкивался во впадине 436, образованной внутренней поверхностью 435 края крышки. Такое выполнение обеспечивает более четкую фиксацию, с защелкиванием, и в результате при необходимости перемещения фиксатора 432 из положения соединения в положение разъединения необходимо большее усилие для того, чтобы разобщить выступ 424 на фиксаторе и впадину 436 на кромке контейнера по сравнению с примерами воплощения, иллюстрируемыми на фиг.1-фиг.7. Таким образом, крышка прикреплена к контейнеру с большей степенью надежности.
На фиг.9 представлено альтернативное воплощение комплекта, которое аналогично комплекту, показанному на фиг.8, и функционирует одинаковым образом, за исключением того, что, во-первых, на кромке контейнера имеется выемка 536, а во-вторых, на юбке и на внешней поверхности края контейнера отсутствуют выступы. Для удерживания фиксатора 532 в положении соединения выступ 524 фиксатора защелкивается в выемке 536. Таким образом, из фиг.9 можно видеть, что крышка прикрепляется к контейнеру за счет непосредственного контактного сцепления фиксатора 532 с контейнером, а не с крышкой. Такое соединение является предпочтительным, если контейнер изготовлен из материала, более жесткого, чем крышка. Чтобы предоставить фиксатору возможность контактирования непосредственно с кромкой контейнера, край 527 крышки видоизменен таким образом, что он не поднимается вверх выше настолько, насколько опущен вниз выступ 524.
Кроме того, на чертеже видно, что контактное сцепление между выступом 524 и впадиной 536 предотвращает снятие крышки с контейнера при нахождении фиксатора 532 в закрытом положении. По этой причине необходимость в наличии выступов на юбке и внешней поверхности кромки контейнера отсутствует. Однако в альтернативном примере осуществления могут быть выступы выполнены на юбке (фиксатора) и на внешней поверхности кромки контейнера, такие как в раскрытых выше конструкциях контейнера с крышкой, показанных на фиг.1-фиг.8, если это необходимо для обеспечения еще более надежного удерживания крышки на контейнере.
В одном из альтернативных примеров воплощения на выступе фиксатора может быть выполнена выемка для взаимодействия с соответствующим выступом на внутренней поверхности стенки контейнера. Выполнение соответствующих элементов для контактного сцепления на крышке и контейнере возможно также за счет профилирования участков их кромок такими, чтобы в положении фиксации они находились в контактном сцеплении.
На фиг.10 и фиг.11 представлено альтернативное воплощение тарного комплекта, которое аналогично воплощению, отображенному на фиг.7, за исключением того, что в фиксаторе 632 имеется окно 650, которое образует внутреннюю грань 651 и внешнюю грань 652 и допускает прохождение между ними соответствующего участка 653 края крышки. Данное окно имеет такие размеры, что оно обеспечивает плотную посадку участка 653 края крышки, но не препятствует шарнирному повороту фиксатора 632 от разблокированного положения к положению фиксации. Внутренняя грань 651 расположена так, чтобы при нахождении фиксатора 632 в положении соединения осуществлялось контактное сцепление между внутренней гранью 651 фиксатора 632 и внутренней поверхностью 657 соответствующего участка 653 края крышки. Таким образом, в данном примере воплощения именно внутренняя грань 651 окна действует как элемент контактного сцепления, а фиксатор 632 удерживается в положении сцепления за счет посадки с защелкиванием, реализуемой между внутренней гранью 651 окна и соответствующим участком 653 крышки. Внешняя грань 652 окна обеспечивает также более надежное блокированное положение фиксатора 632, поскольку перемещение фиксатора предотвращается за счет контактного сцепления участка 653 крышки с внешней гранью 652.
На фиг.12 представлено альтернативное воплощение тарного комплекта, которое аналогично показанному на фиг.10 и фиг.11, за исключением того, что, помимо контактирующей с крышкой внутренней грани 751 окна 750, на крышке, примыкающей к окну, имеется выступ 724, обеспечивающий большую поверхность контактного сцепления и, следовательно, большую надежность удерживания фиксатора на крышке. Таким образом, конструктивное исполнение комплекта, представленное на фиг.12, можно рассматривать как комбинацию воплощений, представленных на фиг.7 и фиг.11.
На фиг.13 представлено альтернативное воплощение тарного комплекта, которое аналогично воплощению на фиг.7, за исключением того, что на фиксаторе 832 имеется дополнительный выступ 860, а расположенный внутри соединения край 827 крышки выступает радиально наружу так, что в положении блокирования фиксатор может находиться в сцеплении с дополнительным выступом 860. Наличие дополнительного выступа 860 обеспечивает более надежную фиксацию таким же образом, как и в случае воплощений, показанных на фиг.11 и фиг.12, за исключением того, что в данном воплощении грань 652 заменена выступом 860, а грань 651 – выступом 824.
На фиг.14 представлено альтернативное воплощение комплекта, аналогичное воплощению на фиг.6 и фиг.7, за исключением того, что шарнир 918 размещен на поверхности 934 крышки, а не на юбке 915. Из иллюстрируемых положений фиксатора 932, разблокированного (показано пунктирной линией) и блокирующего с защелкиванием, можно видеть, что при перемещении от разблокированного положения к защелкиванию фиксатор шарнирно поворачивается вниз. Кроме того, видно, что шарнир 918 установлен радиально во внутренней от края 908 зоне контейнера. Фиксатор запирается на крышке, а крышка фиксируется на контейнере таким же образом, как это описано в отношении конструкций, представленных на фиг.6 и фиг.7, за исключением того, что выступ 920 на юбке фиксатора защелкивается снизу выступа 906 на внешней поверхности края контейнера. За счет размещения шарнира во внутренней от края контейнера зоне можно, в альтернативном примере воплощения, совсем исключить выступ 924 так, чтобы фиксатор 932 запирался на кромке контейнера путем соединения с защелкиванием, обеспечиваемого контактным сцеплением выступа 906 и выступа 920, при шарнирном повороте фиксатора вниз относительно шарнира 918, в положение запирания. Крышка удерживается на контейнере благодаря контактному сцеплению между выступом 906 и выступом 920. Таким образом, видно, что в данном примере воплощения размещение шарнира 918 во внутренней от края контейнера зоне позволяет выступам 906 и 920 запирать фиксатор на кромке контейнера, при отсутствии необходимости в использовании выступа 924, и удерживать крышку на контейнере. Как было отмечено выше, выполнение выступа 924 на фиксаторе 932 будет запирать фиксатор на контейнере с большей степенью надежности.
На фиг.15 представлено альтернативное воплощение комплекта, которое аналогично воплощению на фиг.14, за исключением того, что фиксатор 1032 входит в контактное сцепление непосредственно с кромкой 1008 контейнера, а не с краем крышки.
Возможна модификация данного конструктивного воплощения, осуществляемая таким же образом, как показано на фиг.14, за счет удаления выступа 1024 и реализации соединения с защелкиванием между выступом 1006 и выступом 1020.
Кроме того, данное воплощение можно модифицировать за счет исключения выступов 1006 и 1020 и выполнения выступа 1024 на фиксаторе и кромке 1008 контейнера так, как это описано в отношении воплощения согласно фиг.9, для того, чтобы фиксатор удерживался на контейнере за счет соединения с защелкиванием между выступом 1024 фиксатора и кромкой 1008 контейнера.
Из примеров воплощений, представленных на фиг.14 и фиг.15, видно, что именно размещение шарнира на участке поверхности крышки, расположенном по радиусу в направлении внутрь от верхней кромки контейнера, позволяет фиксатору шарнирно поворачиваться с схватыванием кромки контейнера сверху и фиксацией на кромке контейнера.
Фиг.16 иллюстрирует низ контейнера 40, в котором имеется раковинообразная впадина 42, выполненная в основании контейнера с помощью литьевого формования или иным образом и предназначенная для облегчения захвата контейнера рукой при его использовании.
Формула изобретения
1. Тарный комплект, содержащий контейнер для краски и крышку, в котором контейнер имеет наружную стенку, образующую кромку, охватывающую отверстие, находящееся на одном его торце, и в котором имеется крышка для закрывания отверстия с возможностью ее снятия, при этом тарный комплект снабжен по меньшей мере одним фиксатором, выполненным с возможностью шарнирного поворота от разблокированного положения к положению фиксации, причем по меньшей мере один фиксатор снабжен элементом для контактного сцепления фиксатора, который в положении фиксации входит в контактное сцепление с соответствующим элементом контактного сцепления, имеющимся на крышке и/или контейнере, для присоединения крышки к контейнеру, причем фиксатор при его шарнирном повороте вокруг оси, расположенной в плоскости крышки, от разблокированного положения к положению фиксации охватывает кромку контейнера и/или край крышки с возможностью фиксации на кромке контейнера.
2. Тарный комплект по п.1, в котором фиксатор выполнен с возможностью шарнирно поворачиваться вверх при переходе от разблокированного положения к положению фиксации.
3. Тарный комплект по п.2, в котором фиксатор или каждый из фиксаторов выполнен с возможностью шарнирно поворачиваться на поверхность крышки, закрывающую контейнер.
4. Тарный комплект по п.2 или 3, в котором фиксатор или каждый из фиксаторов выполнен с возможностью шарнирно поворачиваться так, что его свободный конец располагается в области, ограниченной (снаружи) кромкой контейнера.
5. Тарный комплект по п.1, в котором свободный конец каждого фиксатора расположен по существу на одном уровне с верхней или внешней поверхностью крышки, или расположен по меньшей мере ниже уровня кромки или с внутренней стороны на внешней поверхности крышки.
6. Тарный комплект, содержащий контейнер и крышку, в котором контейнер имеет наружную стенку, образующую кромку, охватывающую отверстие, находящееся на одном его торце, и в котором имеется крышка для закрывания отверстия с возможностью ее снятия, при этом тарный комплект снабжен по меньшей мере одним фиксатором, выполненным с возможностью шарнирного поворота от разблокированного положения к положению фиксации, причем по меньшей мере один фиксатор снабжен элементом для контактного сцепления фиксатора, который в закрытом положении входит в контактное сцепление с соответствующим элементом контактного сцепления, имеющимся на крышке и/или контейнере, для присоединения крышки к контейнеру, причем фиксатор при перемещении от разблокированного положения к положению фиксации поворачивается шарнирно вверх.
7. Тарный комплект по п.2, в котором крышка имеет закрывающую поверхность для закрытия отверстия контейнера, и юбку, опускающуюся вниз от закрывающей поверхности, при этом предпочтительно фиксатор или каждый из фиксаторов сформован заодно с юбкой, причем более предпочтительно фиксатор или каждый из фиксаторов сформован заодно с юбкой с использованием гибкого соединительного шарнира.
8. Тарный комплект по п.7, в котором фиксатор или каждый из фиксаторов шарнирно соединен с юбкой на нижнем свободном конце юбки.
9. Тарный комплект по п.1, в котором фиксатор или каждый из фиксаторов шарнирно присоединен к контейнеру.
10. Тарный комплект по п.1, в котором фиксатор шарнирно присоединен к крышке, при этом шарнир расположен в радиальном направлении внутрь от кромки.
11. Тарный комплект по п.10, в котором фиксатор или каждый из фиксаторов отлит заодно с крышкой, предпочтительно фиксатор или каждый из фиксаторов отлит заодно с крышкой с использованием гибкого соединительного шарнира.
12. Тарный комплект по п.10 или 11, в которой фиксатор или каждый из фиксаторов шарнирно перемещается вниз от разблокированного положения к положению фиксации.
13. Тарный комплект по п.1, в котором фиксатор фиксируется на кромке контейнера непосредственно путем контактного сцепления с кромкой контейнера.
14. Тарный комплект по п.1, в котором крышка имеет уплотнительную поверхность, контактирующую с внутренней поверхностью окружной стенки контейнера с образованием между ними уплотнения.
15. Тарный комплект по п.1, в котором фиксатор или каждый из фиксаторов выполнен с возможностью фиксации с защелкиванием на крышке и/или контейнере.
16. Тарный комплект по п.1, в котором фиксатор или каждый из фиксаторов выполнен с возможностью фиксации с защелкиванием вблизи кромки контейнера и/или вблизи края крышки.
17. Тарный комплект по п.1, в котором для юбки или для каждой юбки на периферийном участке фиксатора или каждого из фиксаторов выполнено окно, при этом фиксатор или каждый из фиксаторов в положении фиксации входит в окно.
18. Тарный комплект по п.17, в котором фиксатор входит в окно таким образом, что в положении фиксации располагается по существу вровень с внешней периферийной поверхностью юбки.
19. Тарный комплект по п.1, в котором фиксатор или каждый из фиксаторов снабжен элементом для контактного сцепления, который в положении фиксации находится в контактном сцеплении вблизи кромки крышки и/или края контейнера.
20. Тарный комплект по п.19, в котором край крышки выполнен так, что он располагается с внутренней стороны окружной стенки контейнера рядом с кромкой контейнера.
21. Тарный комплект по п.20, в котором толщина края крышки локально увеличена на участке размещения фиксатора или каждого из фиксаторов.
22. Тарный комплект по п.1, содержащий два или более, предпочтительно три, фиксатора.
23. Тарный комплект по п.1, в котором контейнер и крышка, как правило, имеют цилиндрическую конфигурацию.
24. Тарный комплект по п.1, в котором поверхность крышки, предназначенная для закрывания отверстия контейнера, содержит паз, приспособленный для размещения в нем кромки контейнера.
25. Тарный комплект по п.24, в котором фиксатор или каждый из фиксаторов в положении фиксации расположен по существу вровень с внешней поверхностью паза.
26. Тарный комплект по п.1, в котором в фиксаторе выполнено окно, и грань окна образует элемент контактного сцепления фиксатора или каждого из фиксаторов.
27. Тарный комплект по п.1, в котором фиксатор или каждый из фиксаторов снабжен по меньшей мере одним элементом для контактного сцепления, и крышка снабжена по меньшей мере одним соответствующим элементом для контактного сцепления с тем, чтобы при нахождении фиксатора в положении блокирования по меньшей мере одни соответствующие элементы контактного сцепления имели возможность контактировать друг с другом.
28. Тарный комплект по п.1, в котором фиксатор или каждый из фиксаторов снабжен элементом для контактного сцепления, расположенным радиально с внутренней стороны от кромки и контактирующим в положении фиксации с внутренней поверхностью наружной стенки контейнера и/или внутренней поверхностью края крышки.
29. Тарный комплект по п.1, в котором поверхность крышки для закрывания контейнера в положении фиксации расположена по существу вровень с верхней поверхностью определенного фиксатора или каждого фиксатора.
30. Тарный комплект по п.1, в котором на наружной стенке контейнера имеется по меньшей мере один элемент для контактного сцепления, выполненный в виде направленного наружу выступа, проходящего по меньшей мере частично вокруг внешней поверхности наружной стенки и расположенного рядом с отверстием, а соответствующий элемент для контактного сцепления на определенном или на каждом фиксаторе представляет собой направленный внутрь выступ, выполненный на юбке и предназначенный для взаимодействия с выходящим наружу выступом контейнера, при этом в положении фиксации указанные выступы входят в контактное сцепление друг с другом.
31. Тарный комплект по п.1, в котором крышка и контейнер изготовлены из пластмассы, предпочтительно с помощью литьевого формования, более предпочтительно с использованием литья под давлением.
32. Тарный комплект по п.1, в котором элементами для контактного сцепления являются выступы, направленные наружу или внутрь.
33. Укупорочное средство для контейнера, в котором контейнер имеет наружную стенку, образующую кромку, охватывающую отверстие, находящееся на одном его торце, при этом наружная стенка снабжена по меньшей мере одним выходящим наружу выступом, проходящим по меньшей мере частично вокруг внешней поверхности стенки и расположенным рядом с отверстием, и в котором имеется крышка для закрывания контейнера, выполненная с возможностью съема с контейнера, имеющая поверхность для закрывания отверстия контейнера и свисающую вниз юбку, ограждающую снаружи выступ на контейнере, при этом юбка снабжена по меньшей мере одним шарнирным фиксатором, включающим (а) направленный внутрь выступ для взаимодействия с направленным наружу выступом на контейнере и (b) край, охватывающий снаружи кромку контейнера у его отверстия и находящийся в контактном сцеплении с крышкой, фиксируя таким образом крышку на контейнере с помощью соответствующих выступов, направленных внутрь и наружу, входящих в контактное сцепление друг с другом.
РИСУНКИ
|
|