|
(21), (22) Заявка: 2007146959/11, 20.12.2007
(24) Дата начала отсчета срока действия патента:
20.12.2007
(46) Опубликовано: 27.06.2009
(56) Список документов, цитированных в отчете о поиске:
RU 2225329 С1, 10.03.2004. SU 1762755 A3, 15.09.1992. RU 2130857 C1, 27.05.1999. US 4580745 A, 08.04.1986. US 4721272 A, 25.01.1988.
Адрес для переписки:
119027, Москва, а/я 17, В.Н.Сиротину
|
(72) Автор(ы):
Сиротин Валерий Николаевич (RU)
(73) Патентообладатель(и):
Сиротин Валерий Николаевич (RU)
|
(54) УЗЕЛ РАСЦЕПКИ ОТКИДНОЙ ЧАСТИ ФОНАРЯ САМОЛЕТА
(57) Реферат:
Изобретение относится к области авиационной техники, более конкретно – к узлу расцепки откидной части фонаря самолета. Узел расцепки содержит средство соединения каркаса откидной части фонаря с балкой подвески, которая выполнена с возможностью установки на фюзеляже. Средство включает болт и стопор. Болт имеет с одной стороны от головки резьбу для установки на откидной части фонаря, а с другой стороны штырь, выполненный с возможностью размещения в поперечном отверстии балки. Стопор установлен с возможностью взаимодействия со штырем при перемещении в продольном отверстии балки подвески. Изобретение направлено на снижение потерь импульса силы пневмогидроцилиндра на отделение от балки подвески при аварийном сбросе откидной части фонаря. 3 з.п. ф-лы, 2 ил.
Изобретение относится к области авиационной техники и касается механизмов аварийного сбора фонаря одноместной кабины самолета.
Известна система управления открытия-закрытия фонаря самолета, содержащая первое и второе средство крепления откидной части фонаря с противоположных сторон к соответствующим балкам подвески, каждое средство крепления включает закрепленные на откидной части серьги расцепки и соответствующие крюки расцепки, установленные на балке подвески и соединенные с рычагами сброса посредством механизма расцепки, установленные на балке подвески штыри и соответствующие гнезда на откидной части фонаря, а также пневмогидроцилиндр привода, который выполнен с возможностью перемещения откидной части фонаря, как в штатном режиме эксплуатации, так и при аварийном сбросе откидной части фонаря, при воздействии штока поршня пневмогидроцилиндра привода /Патент РФ 2255878, 2004/.
Механизм подвески позволяет открыть или закрыть фонарь с помощью только одного движения пневмогидроцилиндра, а также при помощи одного перемещения штока того же пневмогидроцилиндра сбросить откидную часть фонаря и сообщить ей импульс, недостаточный для удаления на безопасное для кресла расстояние.
Недостаток этого механизма заключается в том, что из-за использования отрывных болтов, соединяющих откидную часть фонаря с балками механизма подвески, при аварийном сбросе фонаря задняя отделяемая часть фонаря притормаживается гашением энергии сброса фонаря разрывом двух болтов.
Недостатком указанной системы является недостаточная безопасность катапультирования пилота из-за возможности столкновения кресла с фонарем.
Задачей изобретения является снижение потерь импульса силы пневмогидроцилиндра на отделение от балки подвески при аварийном сбросе откидной части фонаря.
Другой задачей является повышение безопасности катапультирования путем сокращения времени освобождения зоны прохода катапультируемого кресла.
Для решения указанных задач предложен узел расцепки откидной части фонаря самолета, содержащий средство соединения каркаса откидной части фонаря с балкой подвески, которая выполнена с возможностью установки на фюзеляже.
Средство включает болт и стопор, болт имеет с одной стороны от головки резьбу для установки на откидной части фонаря, а с другой стороны штырь, выполненный с возможностью размещения в поперечном отверстии балки, стопор установлен с возможностью взаимодействия со штырем при перемещении в продольном отверстии балки подвески.
Штырь выполнен на конце перед конусом с шейкой, образованной канавкой с возможностью размещения по меньшей мере части стопора.
Стопор расположен на конце штока поршня пневмоцилиндра двустороннего действия.
Поршень штока пневмоцилиндра поджат пружиной в направлении штока.
Изобретение поясняется чертежами.
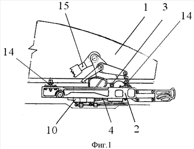
Фиг.1 – расположение узла крепления откидной части фонаря.
Фиг.2 – расположение стопора на балке подвески.
С левой и правой стороны откидная часть 1 фонаря самолета установлена на соответствующих балках 2 подвески с помощью узлов расцепки.
Каждый узел расцепки откидной части 1 фонаря самолета содержит (Фиг.1) средство соединения каркаса откидной части 1 фонаря с балкой 2 подвески, которая с одной стороны выполнена с возможностью установки на фюзеляже самолета шарнирно.
Средство соединения каркаса откидной части 1 фонаря с балкой 2 подвески включает болт 3 и стопор 4.
Болт 3 имеет (Фиг.2) одной стороны от шестигранной головки 5 резьбу 6 для установки на откидной части 1 фонаря, а с другой стороны штырь 7, выполненный с возможностью размещения в поперечном отверстии балки 2.
Штырь 7 выполнен на конце перед конусом 8 с кольцевой канавкой 9 для размещения части стопора 4.
Стопор 4 установлен в продольном отверстии балки 2 подвески с возможностью взаимодействия со штырем 7 при перемещении в продольном отверстии балки 2 подвески.
Стопор 4 расположен на конце штока 11 поршня 12 пневмоцилиндра 10 двустороннего действия, который установлен на балке 2 подвески.
Пневмоцилиндр 10 имеет пружину 13 сжатия, которая расположена в полости поршня 12 с противоположной от штока 11 стороны.
Поршень 12 штока 11 пневмоцилиндра 10 поджат пружиной 13 в направлении штока 11.
Пневмоцилиндр 10 установлен на балке 2 подвески, при этом полость поршня 12 и полость штока соединены с соответствующим образом с пневмосистемой самолета.
Балка 2 подвески выполнена со сквозным поперечным отверстием, которое выполнено с возможностью размещения штыря 7 болта 3, и с продольным глухим отверстием, которое выполнено с возможностью размещения стопора 4 в кольцевой канавке штыря 7 болта 3.
Для центрирования и направления каркаса откидной части 1 фонаря балка 2 подвески снабжена двумя дополнительными фиксаторами 14, которые расположены с противоположных сторон поперечного отверстия.
Для установки откидной части 1 фонаря в полость штока 11 каждого пневмоцилиндра 10 подают рабочее давление из пневмосистемы самолета и сжимают пружину 13 в поршневой полости.
Шток 11 поршня 12 пневмоцилиндра 10 извлекает стопор 4 из поперечного отверстия в балке 2.
В каждом узле расцепки вставляют штырь 7 болта 3 в поперечное отверстие балки 2 до упора и центрируют положение каркаса откидной части 1 фонаря относительно балки 2 дополнительными фиксаторами 14.
Затем из полости штока 11 каждого пневмоцилиндра 10 снимают давление, а в полость поршня 12 подают давление из пневмосистемы самолета.
Шток 11 поршня пневмоцилиндра перемещает в продольном отверстии стопор 4, который блокирует штырь 7 болта 3 в поперечном отверстии.
Действие пружины 13 в отсутствие давления внутри полости поршня 12 позволяет удерживать шток 11 так, чтобы блокировать стопор 4 в канавке штыря 7 болта 3 после установки откидной части 1 фонаря.
Узел расцепки обеспечивает жесткое соединение откидной части 1 фонаря и балки 2 при перемещениях в процессе штатной эксплуатации.
В аварийной ситуации в полость штока 11 пневмоцилиндра 10 подают высокое давление газа из пневмосистемы самолета, которое выше давления газа в процессе штатной эксплуатации, что позволяет сократить время выхода стопора 4 из канавки штыря 7 болта 3.
Поршень 12 сжимает пружину 13 и шток 11 извлекает стопор 4, что позволяет разблокировать штырь 7 болта 3 откидной части 1 фонаря.
В этом положении одновременное воздействие силового пневмогидроцилиндра 15 привода управления позволяет сдвинуть откидную часть 1 фонаря в продольной плоскости в направлении от козырька и сбросить откидную часть 1 вверх под углом к продольной плоскости с траекторией, не угрожающей пилоту при катапультировании.
Формула изобретения
1. Узел расцепки откидной части фонаря самолета, содержащий средство соединения каркаса откидной части фонаря с балкой подвески, которая выполнена с возможностью установки на фюзеляже, отличающийся тем, что средство включает болт и стопор, болт имеет с одной стороны от головки резьбу для установки на откидной части фонаря, а с другой стороны штырь, выполненный с возможностью размещения в поперечном отверстии балки, стопор установлен с возможностью взаимодействия со штырем при перемещении в продольном отверстии балки подвески.
2. Узел расцепки по п.1, отличающийся тем, что штырь выполнен на конце перед конусом с шейкой, образованной канавкой с возможностью размещения по меньшей мере части стопора.
3. Узел расцепки по п.1, отличающийся тем, что стопор расположен на конце штока поршня пневмоцилиндра двустороннего действия.
4. Узел расцепки по п.3, отличающийся тем, что поршень штока пневмоцилиндра поджат пружиной в направлении штока.
РИСУНКИ
|