|
|
(21), (22) Заявка: 2006123078/11, 01.12.2004
(24) Дата начала отсчета срока действия патента:
01.12.2004
(30) Конвенционный приоритет:
05.12.2003 IT TO2003A000978
(43) Дата публикации заявки: 20.01.2008
(46) Опубликовано: 27.06.2009
(56) Список документов, цитированных в отчете о поиске:
GB 2163324 А, 19.02.1986. RU 2034417 С1, 30.04.1995. WO 0043952 A1, 27.07.2000. RU 2205453 C2, 27.05.2003. EP 0996085 A1, 26.04.2000.
(85) Дата перевода заявки PCT на национальную фазу:
05.07.2006
(86) Заявка PCT:
EP 2004/053217 20041201
(87) Публикация PCT:
WO 2005/054030 20050616
Адрес для переписки:
191036, Санкт-Петербург, а/я 24, НЕВИНПАТ, А.В.Поликарпову
|
(72) Автор(ы):
САБИНА Сальваторе (IT), КАНЕПА Джованни (IT)
(73) Патентообладатель(и):
АНСАЛЬДО СЕГНАЛАМЕНТО ФЕРРОВИАРИО С.п.А. (IT)
|
(54) ЖЕЛЕЗНОДОРОЖНЫЙ МАЯК И СПОСОБ ЕГО ИЗГОТОВЛЕНИЯ
(57) Реферат:
Изобретение относится к железнодорожному маяку и способу его изготовления. Железнодорожный маяк имеет корпус (3), поддерживающий электронную схему (4), которая принимает электромагнитный разрешающий сигнал от транспортного средства, двигающегося по железнодорожной линии, и генерирует кодированный ответный сигнал (сообщение), передаваемый на транспортное средство. Корпус (3) выполнен в виде единого куска изолирующего материала и имеет по меньшей мере одно утопленное посадочное место (12а), в которое помещена электронная схема (4), которая погружена в слой изолирующей силиконовой смолы (40), залитой и отвердевшей внутри утопленного посадочного места. Способ изготовления железнодорожного маяка включает изготовление корпуса, имеющего утопленное посадочное место, вставку электронной схемы, сформированной, по меньшей мере, на печатной плате, изготовление смолы, по существу, не содержащей частиц воды или воздух, подачу указанной смолы внутрь указанного утопленного посадочного места так, чтобы погрузить указанную опору и компоненты на указанной опоре внутрь указанной смолы, после чего смоле позволяют затвердеть, чтобы достигнуть устойчивого положения указанной электронной схемы внутри указанного корпуса. Изобретение направлено на повышение устойчивости маяка к внешним факторам. 2 н. и 10 з.п. ф-лы, 9 ил.
ОБЛАСТЬ ТЕХНИКИ
Настоящее изобретение относится к железнодорожному маяку и к способу изготовления железнодорожного маяка.
УРОВЕНЬ ТЕХНИКИ
Известны железнодорожные маяки (также известные под французским термином “balise”), которые укладывают вдоль железнодорожной линии, и каждый из которых включает в себя корпус, поддерживающий электронную схему, которая принимает электромагнитный разрешающий сигнал от транспортного средства, двигающегося по железнодорожной линии, и генерирует кодированный ответный сигнал (сообщение), передаваемый на транспортное средство и содержащий информацию касательно местонахождения и движения транспортного средства.
Маяки такого рода также включают в себя приемную антенну и передающую антенну, которые обе встроены в корпус и взаимодействуют с электронной схемой, для того чтобы принимать электромагнитные сигналы от транспортного средства и передавать их на транспортное средство.
Маяки укладывают между рельсами железнодорожной линии и прикрепляют к шпалам посредством крепления, обеспечивающего крепкое присоединение к железнодорожной линии. Таким образом, маяки подвержены различным внешним факторам, которые могут разрушить сам маяк и/или электронную схему внутри.
Такие внешние факторы включают:
– атмосферные факторы (пар, дождь, лед и снег), которым подвергается маяк;
– механические нагрузки на маяк, такие как вибрация, производимая движущимся транспортным средством, или термические нагрузки, вызванные нагреванием/охлаждением маяка;
– химические агенты (кислота, масло, порошкообразный углерод, сера, железо, цинк и т.п.), которые действуют на маяк; и
– взаимодействие маяка с частями железнодорожной линии, в особенности со щебнем, образующим основу железнодорожной линии, который может по меньшей мере частично закрывать маяк.
СУЩНОСТЬ ИЗОБРЕТЕНИЯ
Целью настоящего изобретения является создание маяка, который является особенно стойким к внешним факторам, особенно пару, воде, льду и снегу.
В соответствии с настоящим изобретением предложен железнодорожный маяк, предназначенный для размещения вдоль железнодорожного полотна и включающий в себя корпус, поддерживающий по меньшей мере одну электронную схему, которая принимает электромагнитный разрешающий сигнал от транспортного средства, двигающегося по железнодорожной линии, и генерирует кодированный ответный сигнал (сообщение), передаваемый на транспортное средство и содержащий информацию о движении транспортного средства; приемную антенну и передающую антенну, которые обе встроены в указанный корпус и взаимодействуют с указанной электронной схемой; отличающийся тем, что указанный корпус выполнен в виде единого куска изолирующего материала; указанный корпус имеет по меньшей мере одно утопленное посадочное место, в которое помещена по меньшей мере одна печатная плата, несущая указанную электронную схему; указанное утопленное посадочное место заполнено отвержденной изолирующей смолой, в которую погружена указанная печатная плата и электронные компоненты этой печатной платы; указанная изолирующая смола не содержит воздуха, в частности воздушных пузырьков, и не содержит в своем составе воды.
Настоящее изобретение также относится к способу изготовления железнодорожного маяка, отличающемуся тем, что он включает изготовление корпуса, выполненного из изолирующего материала и имеющего по меньшей мере одно утопленное посадочное место; вставку электронной схемы, сформированной по меньшей мере на одной опоре, в частности на печатной плате, внутрь указанного утопленного посадочного места; указанная электронная схема принимает электромагнитный разрешающий сигнал от транспортного средства, двигающегося по железнодорожной линии, и генерирует кодированный ответный сигнал (сообщение), передаваемый на транспортное средство и содержащий информацию о движении транспортного средства; изготовление смолы, по существу, не содержащей частиц воды или воздух; подачу указанной смолы внутрь указанного утопленного посадочного места так, чтобы погрузить указанную опору и компоненты на указанной опоре внутрь указанной смолы и позволить смоле затвердеть, чтобы достигнуть устойчивого положения указанной электронной схемы внутри указанного корпуса.
КРАТКОЕ ОПИСАНИЕ ЧЕРТЕЖЕЙ
Предпочтительный, не ограничивающий изобретение, вариант его осуществления будет описан путем примера со ссылкой на сопровождающие чертежи, на которых:
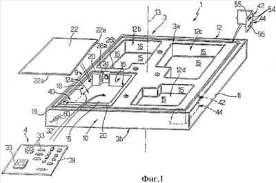
фиг.1 показывает вид в перспективе маяка в соответствии с настоящим изобретением,
фиг.2 показывает вид в перспективе составной части (антенны) маяка по фиг.1,
фиг.3а-3g показывают последовательные шаги изготовления маяка, использующего способ, соответствующий настоящему изобретению.
ВАРИАНТЫ ОСУЩЕСТВЛЕНИЯ ИЗОБРЕТЕНИЯ
Как показано на фиг.1, маяк 1 включает в себя изолирующий корпус 3 для поддержки электронной схемы 4 и установки электронной схемы 4 герметическим способом внутри маяка 1.
Маяк 1 расположен между рельсов железнодорожной линии и прикреплен к шпалам посредством комплекта крепежа (не показан).
Электронная схема 4 принимает электромагнитный разрешающий сигнал от транспортного средства, двигающегося по железнодорожной линии, и генерирует известным способом кодированный ответный сигнал (сообщение), передаваемый на транспортное средство и содержащий информацию относительно местоположения и движения транспортного средства.
Более конкретно корпус 3 выполнен в виде единого куска синтетического изолирующего материала в форме пластины, имеющей форму параллелепипеда, ограниченной с противоположных сторон плоской прямоугольной нижней гранью 3а (на фиг.1 показана лицевой стороной вверх, но в действительности используется лицевой стороной вниз) и плоской прямоугольной верхней гранью 3b.
Корпус 3 ограничен по сторонам несколькими смежными плоскими прямоугольными стенками 9, 10, 11, 12, перпендикулярными друг другу, и включает несколько утопленных посадочных мест в форме параллелепипеда 12а, 12b, 12с, 12d (в примере показано четыре, но может быть любое количество), которые открыты на нижней грани 3а и расположены, по существу, симметрично относительно оси 13, перпендикулярной к корпусу 3 и проходящей через центральную часть корпуса 3. Каждое посадочное место в форме параллелепипеда 12 ограничено, по существу, плоской прямоугольной нижней стенкой 15 и четырьмя плоскими прямоугольными боковыми стенками 16.
По меньшей мере одно утопленное посадочное место 12а включает в открытой области 19, в которой посадочное место 12а открыто по нижней грани 3а, утопленный кольцевой край 20, идущий вдоль концевых частей боковых стенок 16, а плоская прямоугольная крышка 22 расположена своими периферийными краями 22а так, что опирается на кольцевой край 20 для закрывания открытой области 19 герметично для жидкости.
Два смежных посадочных места 12а, 12b разделены перегородкой 24, снабженной сквозным соединителем 26, имеющим первый конец 26а, обращенный к утопленному посадочному месту 12а, и второй конец 26b, обращенный к утопленному посадочному месту 12b.
Электронная схема 4 образована несколькими электронными компонентами 33 (интегральные схемы, транзисторы, резисторы, конденсаторы, индуктивности, трансформаторы и т.п.), смонтированными на печатной плате 38 для поддержки и электрического соединения компонентов 33 известным образом. Согласно настоящему изобретению электронная схема 4 установлена внутри утопленного посадочного места 12а и твердо посажена внутри посадочного места посредством отвержденной силиконовой смолы 40, в которую погружена печатная плата 38 и электронные компоненты 33.
Более конкретно отвержденная силиконовая смола 40 имеет следующие характеристики:
– является изолирующей (с сопротивлением около 7.1·1013 Ом/см);
– по существу, не содержит частиц воздуха (такие как воздушные микропузырьки) и имеет электрическую прочность 16.5 кВ/мм;
– по существу, не содержит частиц воды, т.е., по существу, не содержит воды в своем составе (имеет содержание воды менее чем 0.1%).
Согласно одному аспекту настоящего изобретения приемная антенна 42 и передающая антенна 44, обе сформированные на одной и той же кольцевой опоре и подсоединенные к электронной схеме 4, совместно сформованы непосредственно внутри боковых стенок 9, 10, 11, 12.
Приемная антенна 42 и передающая антенна 44 включают в себя опорную структуру 50 (фиг.2), образованную четырьмя смежными вытянутыми прямоугольными печатными платами 52а, 52b, 52с, 52d, образующими прямоугольную рамочную структуру. Более конкретно смежные печатные платы 52 соединены электрически и механически с помощью Г-образных дуг 54 из проводящих проводов (например, из меди), проходящих между смежными оконечными частями печатных плат 52.
Каждая печатная плата 52 включает несколько первых медных дорожек 56, соединенных с помощью Г-образных дуг 54 с соответствующими несколькими первыми медными дорожками на другой печатной плате 52, чтобы образовать в целом приемную антенну 42.
Каждая печатная плата 52 также включает несколько вторых медных дорожек 56, соединенных с помощью Г-образных дуг 54 с соответствующими несколькими вторыми медными дорожками на другой печатной плате 52, чтобы образовать в целом передающую антенну 44. И каждая прямоугольная печатная плата 52а, 52b, 52с, 52d сформована совместно с соответствующей плоской прямоугольной стенкой 9, 10, 11, 12 и находится внутри нее.
Электрические проводники 60 проходят через сквозное отверстие 32 для подсоединения приемной антенны 42 и передающей антенны 44 к электронной схеме 4.
Фиг.3а-3g схематично показывают способ изготовления маяка в соответствии с настоящим изобретением.
С этой целью может быть использована форма 70 (фиг.3а), включающая верхнюю половину 70а и нижнюю половину 70b, изготовленные предпочтительно из металла (например, нержавеющая сталь).
Половины формы 70а, 70b сложены (фиг.3b) для формирования внутреннего объема, соответствующего по форме корпусу 3.
Опорная структура антенн 42, 43 также вставлена во внутренний объем.
Смесь термоотверждаемого материала, содержащая заранее заданное количество стекловолокна, затем вводится во внутренний объем 72.
Смеси, содержащей стекловолокно, позволяют отвердеть и полностью полимеризироваться (половины формы 70а и 70b могут быть оснащены нагревающими резисторами для ускорения процесса), и затем половины формы 70а и 70b раскрываются, чтобы извлечь корпус 3 (фиг.3с), который, сформированный таким образом, включает в себя утопленные посадочные места 12a-12d и объединяет антенны 42 и 44.
Корпус 3 затем может быть покрыт изолирующим покрытием из геля 74 (фиг.3с), который распыляют на все внешние поверхности корпуса и покрывают боковые стенки 9, 10, 11, 12, нижнюю грань 3а, верхнюю грань 3b, нижние стенки 15 и боковые стенки 16. Затем печатную плату 38 (фиг.3d) помещают внутрь утопленного посадочного места 12а и электрически соединяют с приемной антенной 42, передающей антенной 44 и сквозным соединителем 26. Печатная плата 38 соединяется с антеннами 42, 44 с использованием кабелей в оплетке, проходящих герметичным для жидкости образом через стенку 10.
Затем смола 40 (фиг.3е) заливается в утопленное посадочное место 12а. Смола предпочтительно может быть силиконовой смолой, включающей два жидких компонента (А и В), которые смешивают и затем обрабатывают известным образом для исключения частиц воздуха и каких-либо молекул воды в смеси. В другом способе каждый компонент (А и В) может быть обработан известным образом для исключения частиц воздуха и каких-либо молекул воды в компоненте; и затем компоненты смешиваются для образования смолы 40.
Смола может быть залита следующим образом:
– патрубок 77 помещают близко к печатной плате 38 и нижней стенке 15 утопленного посадочного места (фиг.3е), так что заливаемая смола покрывает всю нижнюю стенку 15, соприкасается с нижней поверхностью 38а печатной платы 38 и затем покрывает верхнюю поверхность 38b печатной платы 38; во время заливания смолы патрубок 77 предпочтительно расположен с противоположной стороны от сквозного соединителя 26, и скорость заливания контролируется с целью предотвращения образования пузырьков воздуха;
– патрубок 77 (фиг.3f) затем передвигается в позицию ближе к более крупным компонентам (например, трансформаторам, индуктивностям, соединителям) на печатной плате 38, и смола 40 заливается так, чтобы выгнать весь воздух из-под и/или изнутри компонентов;
– заливка смолы 40 продолжается до тех пор, пока утопленное посадочное место 12а полностью не заполнится смолой 40; после этого корпус 3 переносится, медленно и с контролируемой скоростью (так чтобы не повредить смолу), на место хранения (не показано), где смоле позволяют затвердеть.
Изготовление маяка 1 завершают присоединением закрывающей пластины 22.
Испытания, проведенные заявителем, показывают, что маяк высоко устойчив к внешним факторам, в особенности к воде, влажности (пару), снегу и льду, и не подвержен ухудшению электрических характеристик. Электронная схема 4 и подсоединенные к ней части (антенны 42, 44 и соединитель 26) фактически погружены в смолу 40 или корпус 3, которые препятствуют действию каких-либо внешних агентов на электронную схему 4. Кроме того, затвердевшая смола 40 сама не содержит элементы (воздух или вода), способные в конечном счете окислять дорожки печатной платы или соединитель 26 и/или воздействовать на работу электронных компонентов на печатной плате.
Формула изобретения
1. Железнодорожный маяк, предназначенный для размещения вдоль железнодорожной линии и включающий корпус (3), поддерживающий по меньшей мере одну электронную схему (4), которая принимает электромагнитный разрешающий сигнал от транспортного средства, двигающегося по железнодорожной линии, и генерирует кодированный ответный сигнал (сообщение), передаваемый на транспортное средство и содержащий информацию о движении транспортного средства; и приемную антенну и передающую антенну (42, 44), которые обе установлены в указанном корпусе (3) и взаимодействуют с указанной электронной схемой (4); отличающийся тем, что указанный корпус (3) выполнен в виде единого куска изолирующего материала; указанный корпус (3) имеет по меньшей мере одно утопленное посадочное место (12а), в которое помещена по меньшей мере одна печатная плата (38), несущая указанную электронную схему (4); указанное утопленное посадочное место заполнено отвержденной изолирующей смолой (40), в которую погружена указанная печатная плата (38) и электронные компоненты (33) этой печатной платы (38); указанная изолирующая смола (40) не содержит воздуха, в частности воздушных пузырьков, и не содержит в своем составе воды.
2. Маяк по п.1, в котором указанная приемная антенна и указанная передающая антенна (42, 44) сформованы совместно с указанным корпусом (3).
3. Маяк по п.1, в котором указанная приемная антенна и указанная передающая антенна (42, 44) включают опорную структуру (50), образованную несколькими вытянутыми печатными платами (52а, 52b, 52с, 52d), электрически взаимодействующими друг с другом и формирующими рамочную структуру; каждая вытянутая печатная плата (52) содержит первые проводящие дорожки (55), соединенные с соответствующими первыми проводящими дорожками (55) других вытянутых печатных плат (52) для формирования в целом указанной приемной антенны (42); и каждая вытянутая печатная плата (52) также содержит вторые проводящие дорожки (56), соединенные с соответствующими вторыми проводящими дорожками (56) других вытянутых печатных плат (52) для формирования в целом указанной передающей антенны (44).
4. Маяк по п.3, в котором смежные указанные вытянутые печатные платы (52) соединены механически и электрически посредством Г-образных дуг (54) из проводящих проводов, проходящих между смежными оконечными частями указанных вытянутых печатных плат (52).
5. Маяк по п.1, в котором указанный корпус представляет собой пластину в форме параллелепипеда.
6. Маяк по п.1, в котором указанное утопленное посадочное место (12а) имеет форму параллелепипеда.
7. Маяк по п.1, в котором указанное утопленное посадочное место (12а) закрыто плоской пластиной (22), расположенной так, что своими периферийными краями она опирается на кольцевой край (20) утопленного посадочного места (12а), чтобы закрыть указанное утопленное посадочное место (12а) герметично для жидкости.
8. Способ изготовления железнодорожного маяка, отличающийся тем, что он включает изготовление (70, 70а, 70b) корпуса (3), выполненного из изолирующего материала и имеющего по меньшей мере одно утопленное посадочное место (12а); вставку электронной схемы (4), сформированной по меньшей мере на одной опоре (38), в частности на печатной плате, внутрь указанного утопленного посадочного места (12а); указанная электронная схема (4) принимает электромагнитный разрешающий сигнал от транспортного средства, двигающегося по железнодорожной линии, и генерирует кодированный ответный сигнал (сообщение), передаваемый на транспортное средство и содержащий информацию о движении транспортного средства; изготовление (компонент А, компонент В) смолы (40), по существу несодержащей частиц воды или воздух; подачу указанной смолы (40) внутрь указанного утопленного посадочного места (12а) так, чтобы погрузить указанную опору и компоненты на указанной опоре внутрь указанной смолы, после чего смоле позволяют затвердеть, чтобы достигнуть устойчивого положения указанной электронной схемы (4) внутри указанного корпуса (3).
9. Способ по п.8, в котором указанный шаг изготовления корпуса выполняют путем ввода во внутреннее пространство (72) формы (70), соответствующее по форме указанному корпусу (3), смеси термоотверждаемых материалов, содержащей заранее заданное количество стекловолокна.
10. Способ по п.8, в котором внешние поверхности указанного корпуса (3) покрывают изолирующим слоем покрытия из геля (74).
11. Способ по п.8, в котором при указанной подаче указанной смолы помещают патрубок (77) близко к нижней стенке (15) указанного утопленного посадочного места (фиг.3е), так что заливаемая смола (40) покрывает указанную нижнюю стенку 15, соприкасается с нижней поверхностью (38а) указанной опоры (38), и в конечном счете покрывает верхнюю поверхность (38b) указанной платы; перемещают указанный патрубок в позицию ближе к более крупным компонентам на указанной опоре (38) и заливают смолу так, чтобы выгнать весь воздух из-под и/или изнутри указанных компонентов; продолжают заливку указанной смолы (40) до заполнения утопленного посадочного места (12а); и позволяют залитой смоле (40) отвердеть.
12. Способ по п.11, в котором при заливке указанный патрубок (77) располагают внутри указанного утопленного посадочного места (12а) с противоположной стороны от сквозного соединителя 26, проходящего между указанным утопленным посадочным местом (12а) и другим смежным утопленным посадочным местом (12а).
РИСУНКИ
|
|