|
|
(21), (22) Заявка: 2007144850/11, 05.12.2007
(24) Дата начала отсчета срока действия патента:
05.12.2007
(46) Опубликовано: 27.06.2009
(56) Список документов, цитированных в отчете о поиске:
RU 2031030 C1, 20.03.1995. SU 236505 A, 20.06.1969. SU 1572892 A1, 23.06.1990. US 4,306,504 A, 22.12.1981.
Адрес для переписки:
129327, Москва, а/я 64, Н.А. Туленинову
|
(72) Автор(ы):
Озеров Владимир Анатольевич (RU), Будниченко Михаил Анатольевич (RU)
(73) Патентообладатель(и):
Озеров Владимир Анатольевич (RU), Будниченко Михаил Анатольевич (RU)
|
(54) НАКАТОЧНЫЙ БАШМАК ДЛЯ ВОССТАНОВЛЕНИЯ НА РЕЛЬСОВЫЙ ПУТЬ АВАРИЙНЫХ ВАГОНОВ ПОЕЗДА, СПОСОБ ПАКЕТИРОВАНИЯ БАШМАКОВ И УСТРОЙСТВО ДЛЯ РЕАЛИЗАЦИИ СПОСОБА
(57) Реферат:
Изобретение относится к устройствам для постановки железнодорожных вагонов, сошедших с рельсов, к способам пакетирования башмаков и к устройствам для их пакетирования. Накаточный башмак для восстановления на рельсовый путь аварийных вагонов поезда характеризуется тем, что с нижней стороны корпуса в его средней и задней частях выполнено множество открытых снизу ячеек, которые образованы отбортовками и перегородками корпуса. Глубина ячеек увеличивается от задней части корпуса к его передней части. В передней части последнего выполнены поперечные передняя и задняя стенки, в которых выполнены, соответственно, передняя и задняя выемки под головку рельса рельсового пути. Корпус башмака выполнен литым из металлического сплава на основе титана. Согласно способу пакетирования накаточных башмаков сначала ориентируют башмаки бортами напротив друг друга и устанавливают их на основании кассеты на задние части на расстоянии друг от друга, большем суммы двух высот передних частей башмаков, таким образом, чтобы центр тяжести каждого башмака в указанном положении башмака находился во внутреннем контуре основания. Затем фиксируют задние части башмаков на основании кассеты и наклоняют башмаки к центральной вертикальной оси кассеты до соприкосновения горизонтальных участков бортов, которые располагают в одной вертикальной плоскости. После этого соединяют переднюю часть каждого башмака со стойкой кассеты. Устройство для реализации способа представляет собой кассету, включающую основание и закрепленную на основании стойку с грузовой проушиной на конце. По периметру основания выполнены, по крайней мере, продольные борта, расстояние между которыми выбрано меньше ширины задней части башмака. Высота стойки больше длины башмака, толщина стойки меньше ширины каждого проема, выполненного в поперечных стенках башмака под рельс рельсового пути. Стойка имеет средства соединения с ней передних частей башмаков. В результате повышается несущая способность башмака и удобство его использования. 3 н. и 3 з.п. ф-лы, 6 ил.
Данное техническое решение относится к устройствам для постановки в аварийных условиях на рельсы железнодорожных вагонов, сошедших с рельсов в результате аварии или крушения поезда. Оно также относится к способам пакетирования башмаков и специальным устройствам для их пакетирования.
Технические решения могут быть использованы в вагонных депо для постановки на рельсы колесных пар и вагонов, а также в горной промышленности для постановки на рельсы вагонеток.
Известны устройства для постановки на рельсы железнодорожных вагонов, каждое из которых представляет собой накаточный башмак для накатки на него колеса вагона, при этом башмак содержит корпус, накаточную площадку, средство для ориентации колеса колесной пары на рельсовый путь и средство фиксации башмака на рельсе рельсового пути [1-12].
Известно устройство для постановки на рельсы железнодорожных вагонов, содержащее платформу с накаточной поверхностью, внешней и внутренней направляющими для колес транспортного средства, скатным элементом и вертикальными ребрами жесткости с отверстиями, в которых с обеих сторон рельса размещены балки для взаимодействия с элементами крепления на пути, причем устройство снабжено расположенным на указанном скатном элементе обращенным к платформе хвостовиком, несущим сферическую опору для взаимодействия со сферическим гнездом, которое выполнено на платформе, а указанные отверстия в ребрах жесткости и взаимодействующие с ними балки выполнены круглыми, причем вертикальная ось симметрии сферической опоры и гнезда платформы пересечена продольной осью балок [13].
Известно устройство для подъема и транспортирования колесных пар при постановке железнодорожных транспортных средств на рельсы, сошедших с них в результате аварии или крушения. При этом устройство содержит П-образную раму в плане с катками, опоры для взаимодействия с колесом. На свободных концах рамы выполнены клинообразные выступы, входящие в соответствующие гнезда, которые выполнены в консолях, соединенных с осью катка, на другой стороне рамы при помощи рычагов установлен каток, одни концы рычагов шарнирно закреплены на раме, а вторые соединены с рамой при помощи привода перемещения [14].
Известно устройство для постановки на рельсы сошедшего с рельсов транспортного средства, содержащее платформу с накаточной поверхностью, внешней и внутренней направляющими для колес транспортного средства, имеющую скатную часть и вертикальные ребра жесткости с элементами крепления платформы на пути, причем накаточная поверхность платформы в нижней части выполнена вогнутой, а в верхней часты – выпуклой, ее участок, прилегающий к внутренней направляющей, и направляющие в плане соответственно выполнены с поперечным уклоном и вогнутыми в направлении середины платформы [15].
Известно устройство для постановки на рельсы транспортного средства, содержащее направляющую лыжу, закрепленную на скобе для охвата головки рельса, причем устройство снабжено дополнительной направляющей лыжей, которая соединена с указанной лыжей внахлест и снабжена дополнительной скобой, закрепленную на основании стойку с грузовой проушиной на конце для фиксации изделий в транспортном положении.
Близкими техническими решениями к представленному в данном описании являются накаточные башмаки [13-16], каждый из которых содержит корпус, выемку в корпусе под головку рельса, первый накаточный участок с рабочей сужающейся к передней части корпуса поверхностью, второй участок корпуса, борта корпуса и средство фиксации корпуса башмака на рельсе.
Наиболее близким техническим решением к представленному в данном описании техническому решению является накаточный башмак для восстановления на рельсовый путь аварийных вагонов поезда, содержащий корпус, в нижней части которого выполнены опоры, а в верхней части – изогнутые в вертикальной плоскости борта, один из которых имеет скошенный вниз участок, выступающий от корпуса в сторону от его передней части, при этом в стенке корпуса в его средней части выполнена прорезь под рельс рельсового пути, расположенные между бортами корпуса наклонную и горизонтальную площадки, сопряженные скругленным участком, при этом указанные площадки на виде сверху имеют сужающуюся к передней части корпуса форму, причем горизонтальная площадка расположена в передней части корпуса, а наклонная площадка расположена в задней части корпуса [15].
Известные технические решения не отвечают современным требованиям эргономики – удобству и легкости использования башмака, что связано со значительным весом башмаков, который находится в пределах 120÷150 и более кг. Большой вес башмаков, используемых в практике башмаков, соответствует нагрузке, которую воспринимает башмак от перемещающегося по нему колеса, причем эта нагрузка находится в пределах 10÷20 т.
Полученным техническим результатом представленного в данном описании технического решения является повышение эргономических качеств башмака путем облегчения башмака и повышения удобства его использования. Другим полученным результатом является снижение материалоемкости башмака и повышение его несущей способности.
Технический результат достигается накаточным башмаком для восстановления на рельсовый путь аварийных вагонов поезда, содержащим корпус, в нижней части которого выполнены опоры, а в верхней части – изогнутые в вертикальной плоскости борта, один из которых имеет скошенный вниз участок, выступающий от корпуса в сторону от его передней части, в средней части корпуса выполнена прорезь под рельс рельсового пути, между бортами корпуса расположены наклонная и горизонтальная площадки, имеющие на виде сверху сужающуюся к передней части корпуса форму, причем с нижней стороны корпуса в его средней и задней частях выполнено множество открытых снизу ячеек, которые образованы отбортовками и перегородками корпуса, причем глубина ячеек увеличивается от задней части корпуса к его передней части, в передней части последнего выполнены поперечные передняя и задняя стенки, в которых выполнены, соответственно, передняя и задняя выемки под головку рельса рельсового пути, корпус башмака выполнен литым из металлического сплава на основе титана.
Накаточный башмак содержит ячейки, которые расположены между направленными вниз продольными отбортовками корпуса и поперечными перегородками, выполненными на одной стороне от прорези корпуса с его нижней стороны, и между продольными обортовками корпуса, поперечными и продольными перегородками, выполненными на другой стороне от прорези корпуса с его нижней стороны.
Накаточный башмак содержит выполненные на крайних отбортовках корпуса в его средней части дополнительные опоры, в передней части корпуса выполнены расположенные с боковых и верхней сторон окна, между смежными окнами расположены перемычки, образующие собой ручки для ручной переноски башмака.
Указанный результат получен способом пакетирования накаточных башмаков, содержащим операцию фиксации башмаков на основании кассеты для пакетирования башмаков в их транспортном положении, для чего сначала ориентируют башмаки бортами напротив друг друга и устанавливают их на основании кассеты на задние части на расстоянии друг от друга, большем суммы двух высот передних частей башмаков, таким образом, чтобы центр тяжести каждого башмака в указанном положении башмака находился во внутреннем контуре основания, фиксируют задние части башмаков на основании кассеты и наклоняют башмаки к центральной вертикальной оси кассеты до соприкосновения горизонтальных участков бортов, которые располагают в одной вертикальной плоскости и после этого соединяют переднюю часть каждого башмака со стойкой кассеты.
Указанный результат получен устройством для реализации способа, представляющим собой кассету, включающую основание и закрепленную на основании стойку с грузовой проушиной на конце, при этом по периметру основания выполнены, по крайней мере, продольные борта, расстояние между которыми выбрано меньше ширины задней части башмака, высота стойки больше длины башмака, толщина стойки меньше ширины каждого проема, выполненного в поперечных стенках башмака под рельс рельсового пути.
Устройство характеризуется выполнением средств соединения стойки с башмаками в виде закрепленных на стойке цепей с фиксаторами на концах типа «карабин».
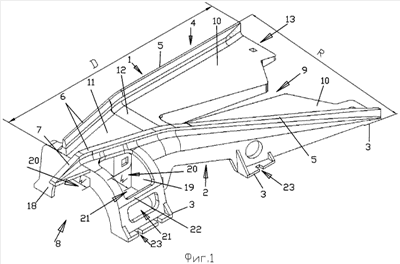
на фиг.1 показан левый накаточный башмак для восстановления на рельсовый путь аварийных вагонов, аксонометрия,
на фиг.2 – накаточный башмак – вид снизу, аксонометрия,
на фиг.3 – пример установки колесной пары вагона на рельсовый путь,
на фиг.4 и 5 – варианты поддонов для пакетирования накаточных башмаков,
на фиг.6 – схема установки накаточных башмаков на поддоне, поясняющая способ пакетирования поддонов.
Накаточный башмак (фиг.1) содержит корпус 1, в нижней части 2 которого выполнены опоры 3, а в верхней части 4 – изогнутые в вертикальной плоскости левый и правый борта. Каждый борт имеет наклонный участок 5 и горизонтальный участок 6, которые сопряжены между собой скругленным участком. Левый борт имеет скошенный вниз участок 7, выступающий от корпуса 1 в сторону от его передней части 8. В передней части корпуса выполнена аркообразная, в данном случае полукруглая выемка. В средней части корпуса выполнена прорезь 9 под рельс рельсового пути. Наклонный и горизонтальный участки 5 и 6 каждого борта расположены, соответственно, над наклонной площадкой 10 и горизонтальной площадкой 11 корпуса башмака. Эти площадки сопряжены скругленным участком корпуса 12.
Указанные площадки 10 и 11 на виде сверху имеют сужающуюся к передней части корпуса форму. Горизонтальная площадка 11 расположена в передней части корпуса, а наклонная площадка 10 расположена в средней части и в задней части 13 корпуса.
Внутри корпуса 1 (фиг.2), с нижней его стороны, под наклонной площадкой 10 выполнено множество ячеек 14, отделенных друг от друга продольными отбортовками 15 корпуса, расположенными на противоположных сторонах от прорези 9 корпуса, продольной перегородкой 16, расположенной на одной стороне корпуса от прорези 9, а также поперечными перегородками 17. По существу ячейки образованы указанными отбортовками и перегородками, при этом каждая ячейка имеет изменяемую по высоте глубину, увеличивающуюся от задней части 13 корпуса в сторону его передней части 8. Последняя имеет коробчатую форму, образованную верхней стенкой корпуса, на которой с наружной стороны расположена горизонтальная площадка 11 и расположенными под указанной верхней стенкой с нижней стороны корпуса его передней и задней стенками 18 и 19, соответственно. В стенках 18 и 19 выполнены передняя и задняя выемки 20 под головку рельса рельсового пути. В передней части 8 корпуса выполнены также расположенные с боковых и верхней сторон корпуса окна 21. Между смежными окнами 21 выполнены перемычки 22, образующие ручки для подъема башмака вручную.
Опоры 3 расположены на задней, передней и средней частях корпуса с нижней его стороны и удалены друг от друга по длине корпуса, при этом опоры имеют отверстия и выемки 23 под средства крепления башмака к полотну рельсового пути.
Представленный башмак, с одной стороны, отвечает требованиям по эргономическим условиям – обеспечивает удобное использование башмака, а также облегчает работу с башмаком путем уменьшения его массы. С другой стороны, башмак отвечает требованиям прочности из условия накатки на него одного колеса вагона под нагрузкой 15 тонн. Данная нагрузка соответствует условию прочности корпуса башмака, выполненного из металлического специального сплава на основе титана, испытанного в соответствии с указанной нагрузкой по нормальному напряжению [ ]= т=440 МПа. В этой связи существенным для удовлетворения указанных требований является указанный сплав, обеспечивший возможность изготовления башмаков литыми, что исключило необходимость применения сварки для изготовления башмаков из листового материала. При этом в сочетании с вышеописанной формой башмака литая из сплава конструкция позволила максимально уменьшить массу башмака от 120 кг до 85 кг. Это позволило в экстренных аварийных условиях постановки аварийных вагонов на рельсовый путь устанавливать на рельсе башмак одним или, по крайней мере, двумя рабочими без применения для этой цели специальных подъемных средств.
На практике используют левый и правый накаточные башмаки 24 и 25 (фиг.3), устанавливаемые, соответственно, под левое и правое колеса 26 колесной пары. На чертеже показаны реборда 27 правого колеса 26 и реборда 28 левого колеса колесной пары. Рельсовый путь по его ходу, показанному стрелкой, включает левый рельс с головкой 29 и правый рельс с головкой 30. Левый и правый накаточные башмаки 24 и 25 расположены, соответственно, на левом и правом рельсах рельсового пути, в частности на головках 29 и 30 левого и правого рельсов.
Левый и правый башмаки отличаются тем, что по ходу рельсового пути прорези 9 в наклонной площадке и выемки в стенках корпуса каждого башмака под головку рельса рельсового пути по его ходу выполнены со смещением от центральной продольной оси башмака на правую или на левую стороны. Соответственно, эти выемки расположены со смещением в противоположные стороны от продольной оси рельсового пути.
Для того чтобы установить один аварийный вагон с четырьмя колесными парами на рельсовый путь, используют восемь башмаков под каждое колесо колесной пары. Поскольку восстановление аварийных вагонов производят в экстренных аварийных случаях, то существенным с точки зрения сокращения времени и трудоемкости восстановления является время подачи башмаков к месту аварии, быстрота развертывания восстановительных работ, их трудоемкость и удобство выполнения операций.
С этой целью, согласно данному описанию, представлено устройство для пакетирования накаточных башмаков в один пакет. Данное устройство отвечает всем вышеперечисленным требованиям. Оно, кроме того, облегчает оперативную перевозку и перегрузку башмаков.
Указанное устройство представляет собой кассету (фиг.4, 5), которая включает основание 31 и закрепленную на основании стойку 32 с грузовой проушиной 33 на конце стойки. По периметру основания выполнены поперечные и продольные борта 34 и 35, соответственно. Расстояние L между продольными бортами 35 выбрано меньше ширины R задней части 13 башмака (фиг.2) на величину зазоров s (фиг.5), необходимых для свободного вхождения задней части 13 башмака между продольными бортами 35. Высота Н стойки (фиг.4) больше длины D башмака (фиг.1), а толщина t стойки выбрана меньше ширины w передней и задней выемок 19 и 20 (фиг.1), которые выполнены в вертикальных передней и задней стенках 17 и 18 корпуса. К стойке 32 одними концами прикреплены цепи 36 (фиг.4), другой конец каждой из которых оснащен прикрепленным к нему фиксатором 37 типа «карабин». Каждая цепь предназначена для фиксированного соединения башмака со стойкой во время пакетирования (установки башмаков в кассету).
Работают накаточные башмаки следующим образом. Закрепляют на левом и правом рельсах рельсового пути, соответственно, левый и правый башмаки 24 и 25 (фиг.3) посредством клиньев 38, которые забивают в выемки 19 и зазоры между головками 29 и 30 рельсов и передней стенкой 18 корпуса. Левый и правый башмаки, составляющие собой пару башмаков, крепят на основании рельсового пути вблизи колес каждой колесной пары аварийного вагона, подлежащего восстановлению на рельсовый путь.
Известным образом буксируют и перемещают в сторону башмаков аварийный вагон таким образом, чтобы колеса колесных пар (фиг.3) вагона оказались на наклонных площадках 10 левых и правых башмаков.
При затаскивании колесной пары на башмаки обод левого колеса колесной пары перемещается по верхней поверхности правого борта 5 левого башмака 24, а реборда 28 левого колеса взаимодействует с наружной поверхностью правого борта 5 левого башмака 24. Одновременно с этим обод правого колеса 26 перемещается сначала по наклонной поверхности 10 правого башмака 25, а затем благодаря сужению этой поверхности к передней части башмака обод правого колеса попадает на верхнюю поверхность правого борта 5 правого башмака 25, при этом реборда 27 правого колеса взаимодействует с боковой внутренней поверхностью правого борта 5 правого башмака 25.
Следует отметить, что при перемещении колес в продольном направлении рельсового пути по бортам 5 башмаков 24 и 25 колеса одновременно с этим перемещаются в сторону головок 29 и 30 рельс в поперечном направлении по отношению к продольной оси рельсового пути благодаря тому, что оба борта 5 башмаков, на которых находятся колеса 26, расположены под углом к продольной оси рельсового пути. В результате реборды 27 и 28 правого и левого колес колесной пары оказываются внутри колеи рельсового пути – с внутренних сторон от головок правого и левого рельсов рельсового пути. При этом реборды колес находятся сначала на уровне, который расположен выше головок рельс.
При дальнейшем перемещении правое колесо 26 колесной пары перемещается по выступающему скошенному участку 7, наклоненному к головке 29 правого рельса, а левое колесо начинает взаимодействовать своей левой стороной с внутренней поверхностью левого борта 5 левого башмака 24, который ориентирует колесо на левый рельс.
При перемещении колес по горизонтальным участкам бортов 5 правое колесо перемещается по скошенному участку 7 правого борта 5 вниз в направлении рельса и устанавливается на этом рельсе, при этом как левое колесо колесной пары, перемещаясь по горизонтальной поверхности левого башмака, устанавливается на левом рельсе. Одновременно аналогичным образом устанавливаются на рельсах рельсового пути другие колесные пары вагона.
После установки вагона на рельсовый путь накаточные башмаки отсоединяют от рельсового пути и пакетируют – устанавливают их в положение, соответствующее положению их экстренной транспортировки к другому месту работы.
Пакетирование башмаков осуществляют следующим образом.
Фиксируют на основании 31 кассеты (фиг.4), по крайней мере, два накаточных башмака, представляющих собой пару башмаков, для чего башмаки 24 и 25 их задними частями 13 устанавливают на основании 31 в вертикальном положении напротив друг друга, как это показано на фиг.6 между продольными бортами 35 и поперечными бортами 34 основания. При этом нижние части 13 башмаков разносят в стороны друг от друга на расстояние R1, которое больше суммы двух высот h передних частей башмака. Разнос в стороны нижних частей 13 осуществляют таким образом, чтобы центр тяжести Цт каждого башмака в его указанном положении находился во внутреннем контуре «абсд» основания 31 на виде сверху.
Фиксируют на основании 31 задние части 13 башмаков от их сдвига, путем введения этих частей 13 башмаков между продольными и поперечными бортами основания 31. Поскольку расстояние L (фиг.4) между продольными бортами 35 основания выбрано больше ширины R задней части 13 башмака (фиг.6) на величину зазоров s, необходимых для свободного вхождения задней части 13 башмака между продольными бортами 35, то задние части 13 башмаков свободно входят в проем между продольными бортами. Поскольку высота Н стойки (фиг.4) больше длины D башмака (фиг.1), а толщина t стойки выбрана меньше ширины w передней и задней выемок 20 в стенках 18 и 19 башмака (фиг.1), то беспрепятственно наклоняют башмаки к центральной вертикальной оси 39 стойки 32 (фиг.4) кассеты до соприкосновения горизонтальных участков 6 бортов башмаков 24 и 25. Эти горизонтальные участки 6 располагают в одной вертикальной плоскости 40 (фиг.6). После этого соединяют со стойкой 32 передние части башмаков 24 и 25. Для чего охватывают цепями 36 с боковых сторон каждый башмак и соединяют концы цепей фиксаторами 37.
В положении башмаков, показанном на фиг.6, осуществляют их погрузку и перевозку к другому месту восстановления сошедших с путей вагонов.
В случаях установки на рельсовый путь отдельных колесных пар используют пару башмаков.
Источники информации
1. DE 948981, 23.08.1954.
2. FR 581602, 03.09.1924.
3. FR 1019183, 19.01.1953.
4. US 1789634, 28.05.1930.
5. US 2901982, 05.02.1954.
6. SU 1572892, 23.06.1990.
7. SU 1801842, 15.03.1993.
8. DE 396041, 23.05.1924.
9. DE 1104988, 20.04.1961.
10. DE 1755226, 11.11.1971.
11. DE 137038, 06.09.1901.
12. DE 69901, 01.10.1892.
13. RU 2031069 C1, 20.03.1995.
14. RU 93032265 A, 10.03.1996.
15. RU 2031030 C1, 20.03.1995.
16. RU 2191723 C2, 27.10.2002.
17. RU 2234443 C1, 20.08.2004.
Формула изобретения
1. Накаточный башмак для восстановления на рельсовый путь аварийных вагонов поезда, содержащий корпус, в нижней части которого выполнены опоры, а в верхней части – изогнутые в вертикальной плоскости борта, один из которых имеет скошенный вниз участок, выступающий от корпуса в сторону от его передней части, в средней части корпуса выполнена прорезь под рельс рельсового пути, между бортами корпуса расположены наклонная и горизонтальная площадки, имеющие на виде сверху сужающуюся к передней части корпуса форму, отличающийся тем, что с нижней стороны корпуса в его средней и задней частях выполнено множество открытых снизу ячеек, которые образованы отбортовками и перегородками корпуса, причем глубина ячеек увеличивается от задней части корпуса к его передней части, в передней части последнего выполнены поперечные передняя и задняя стенки, в которых выполнены, соответственно, передняя и задняя выемки под головку рельса рельсового пути, корпус башмака выполнен литым из металлического сплава на основе титана.
2. Накаточный башмак по п.1, отличающийся тем, что он содержит ячейки, выполненные на одной стороне от прорези корпуса с его нижней стороны, и ячейки, выполненные на другой стороне от прорези корпуса с его нижней стороны.
3. Накаточный башмак по п.1, отличающийся тем, что он содержит выполненные на крайних отбортовках корпуса в его средней части дополнительные опоры, в передней части корпуса выполнены расположенные с боковых и верхней сторон окна, между смежными окнами расположены перемычки, образующие собой ручки для ручной переноски башмака.
4. Способ пакетирования накаточных башмаков, содержащий операцию фиксации башмаков на основании кассеты для пакетирования башмаков в их транспортном положении, отличающийся тем, что сначала ориентируют башмаки бортами напротив друг друга и устанавливают их на основании кассеты на задние части на расстоянии друг от друга, большем суммы двух высот передних частей башмаков таким образом, чтобы центр тяжести каждого башмака в указанном положении башмака находился во внутреннем контуре основания, фиксируют задние части башмаков на основании кассеты и наклоняют башмаки к центральной вертикальной оси кассеты до соприкосновения горизонтальных участков бортов, которые располагают в одной вертикальной плоскости, и после этого соединяют переднюю часть каждого башмака со стойкой кассеты.
5. Устройство для реализации способа, представляющее собой кассету, включающую основание и закрепленную на основании стойку с грузовой проушиной на конце, при этом по периметру основания выполнены, по крайней мере, продольные борта, расстояние между которыми выбрано меньше ширины задней части башмака, высота стойки больше длины башмака, толщина стойки меньше ширины каждого проема, выполненного в поперечных стенках башмака под рельс рельсового пути, при этом стойка имеет средства соединения с ней передних частей башмаков.
6. Устройство по п.5, отличающееся тем, что оно характеризуется выполнением средств соединения стойки и башмаков в виде закрепленных на стойке цепей с фиксаторами на концах типа «карабин».
РИСУНКИ
|
|