|
|
(21), (22) Заявка: 2006126533/11, 19.04.2005
(24) Дата начала отсчета срока действия патента:
19.04.2005
(30) Конвенционный приоритет:
20.04.2004 SE 0401017-9
(43) Дата публикации заявки: 10.02.2008
(46) Опубликовано: 27.06.2009
(56) Список документов, цитированных в отчете о поиске:
US 5360125 А, 01.11.1994. US 3994402 А, 30.11.1976. US 3913747 А, 21.10.1975. SU 1263567 А1, 15.10.1986. US 4848611 A, 18.07.1989. SU 416276 A1, 25.06.1974. SU 1463596 A1, 07.03.1989. RU 23848 U1, 20.07.2002.
(85) Дата перевода заявки PCT на национальную фазу:
24.07.2006
(86) Заявка PCT:
SE 2005/000564 20050419
(87) Публикация PCT:
WO 2005/102810 20051103
Адрес для переписки:
191036, Санкт-Петербург, а/я 24, НЕВИНПАТ, пат.пов. А.В.Поликарпову
|
(72) Автор(ы):
ХОГБРИНГ Магнус (SE), ВИКСТРЁМ Леннарт (SE)
(73) Патентообладатель(и):
Деллнер Каплерс АБ (SE)
|
(54) ЖЕЛЕЗНОДОРОЖНОЕ ТРАНСПОРТНОЕ СРЕДСТВО И ЗАЖИМНОЕ УСТРОЙСТВО ДЛЯ ФИКСАЦИИ БУКСИРНОГО УСТРОЙСТВА В ТАКИХ ТРАНСПОРТНЫХ СРЕДСТВАХ
(57) Реферат:
Изобретение относится к области железнодорожного транспорта, а именно к зажимным устройствам для фиксации буксировочных устройств сцепок подвижного состава. Транспортное средство содержит подрамник с монтажным карманом для крепления буксирного устройства, имеющего монтажный фланец. В монтажном кармане расположены на расстоянии друг от друга в осевом направлении две пары заплечиков. Между парами заплечиков расположены монтажный фланец и зажимное устройство, предназначенное для прижима монтажного фланца к первой паре заплечиков и тем самым фиксации буксирного устройства относительно подрамника. Зажимное устройство содержит вставку жесткой формы и зажимное средство, действующее между ней и монтажным фланцем для отодвигания монтажного фланца и вставки друг от друга и тем самым прижима монтажного фланца к первой паре заплечиков, и одновременно прижима вставки ко второй паре заплечиков. Зажимное средство вставляют между вставкой и монтажным фланцем буксирного устройства для отодвигания их друг от друга и тем самым прижима монтажного фланца к первой паре заплечиков. Достигается возможность надежного закрепления буксирного устройства в подрамнике транспортного средства, выполнение совмещающего плеча с возможностью упругого перемещения и возможность простой установки и извлечения буксирного устройства из монтажного кармана подрамника, а также возможность снабжения буксирного устройства интегрированным в него средством защиты от столкновений без усложнения конструкции. 2 н. и 18 з.п. ф-лы, 7 ил.
Область техники, к которой относится изобретение
Изобретение в первом аспекте относится к железнодорожному транспортному средству, содержащему подрамник, имеющий монтажный карман для крепления буксирного устройства, имеющего монтажный фланец, причем в монтажном кармане имеются две пары заплечиков, расположенных на расстоянии друг от друга в осевом направлении; между заплечиками расположены указанный монтажный фланец и зажимное устройство, предназначенное для фиксации монтажного фланца вместе с буксирным устройством относительно подрамника.
Во втором аспекте изобретение относится к зажимному устройству для установки и фиксации буксирных устройств в таких транспортных средствах.
Описание уровня техники
Несмотря на то, что устройства указанного выше типа на практике служат для передачи между различными транспортными средствами или транспортными единицами, образующими поезд, такими как вагоны и/или локомотивы, не только тяговых, но и ударных сил, специалисты называют их, как правило, буксирными устройствами. Характерной особенностью таких буксирных устройств является наличие в них совмещающего плеча (обычно в виде трубы), которое задним концом прикреплено к подрамнику данного транспортного средства, а передним концом соединено с одним или несколькими дополнительными элементами с образованием сцепки. Например, передний конец совмещающего плеча может быть непосредственно соединен с головкой сцепки, образуя вместе с ней автоматическую сцепку, которая может быть соединена с аналогичной сцепкой другого транспортного средства. Однако совмещающее плечо посредством втулочной муфты или подобного устройства можно соединить с устройством для защиты от столкновений, которое, в свою очередь, соединяется с головкой сцепки. Кроме того, в буксирном устройстве, как правило, предусмотрены средства для амортизации ударов умеренной силы, которые ежедневно происходят и передаются между соединенными транспортными средствами как во время их движения, так и во время операции сцепления этих транспортных средств.
Во многих случаях подрамники транспортных средств выполняются со стандартными монтажными карманами указанного выше типа. Такой карман представляет собой открытую внизу полость, ограниченную двумя параллельными вертикальными боковыми стенками, расположенными на расстоянии друг от друга и снабженными двумя парами заплечиков или выступов, расположенными на расстоянии друг от друга в осевом направлении. Предварительно буксирные устройства закрепляют в стандартных монтажных карманах с помощью зажимного устройства в виде упругого пакета, который сначала сжимают путем предварительного нагружения, чтобы его можно было поместить между указанными парами заплечиков, а затем дают ему возможность расшириться во время зажима между двумя парами заплечиков. Упругий пакет состоит из передней группы элементов из твердой резины, установленных между передней опорной пластиной и монтажным фланцем или крепежной деталью, расположенной на заднем конце буксирного устройства, и задней группы резиновых элементов, расположенных между монтажным фланцем и задней опорной пластиной в пакете. Между упомянутым опорными пластинами проходит центральный стержень, имеющий зажимную гайку, посредством которой опорные пластины можно сместить друг к другу во время сжатия резиновых элементов. После установки пакета в монтажный карман зажимную гайку ослабляют, резиновые элементы расширяются и с большой силой прижимают опорные пластины к передней и задней парам заплечиков в монтажые карманы. Существенный недостаток этого конструктивного решения на практике состоит в том, что совмещающее плечо буксирного устройства, а следовательно, и сцепка в целом, имеют неупругое соединение с подрамником транспортного средства, что приводит к тому, что практически все перемещения, которым подвергается сцепка во время движения транспортного средства, неизбежно воспринимаются головками двух соединенных сцепок. Все изменяющиеся перемещения, в том числе перемещения в результате действия тяговой и ударной сил, вращательные перемещения и поворотные перемещения, на границе между головками двух соединенных сцепок вызывают, помимо прочего, их повреждения и преждевременный износ.
Цели и особенности изобретения
Изобретение направлено на устранение указанных недостатков снабженных сцепками железнодорожных транспортных средств, имеющих описанные выше стандартные монтажные карманы, путем создания усовершенствованного транспортного средства, более конкретно путем усовершенствования крепления буксирных устройств. Таким образом, главной целью изобретения является создание железнодорожного транспортного средства, имеющего буксирное устройство, которое, с одной стороны, прочно и надежно закреплено в подрамнике транспортного средства, а с другой стороны, выполнено так, что его совмещающее плечо может упруго перемещаться. Другая цель изобретения заключается в создании транспортного средства, отдельное буксирное устройство которого можно простым образом устанавливать в монтажном кармане подрамника и извлекать оттуда. Еще одной целью является создание транспортного средства, отдельное буксирное устройство которого может быть снабжено интегрированным в него средством защиты от столкновений без усложнения конструкции согласно изобретению, по меньшей мере главная его цель достигается благодаря признакам, указанным в отличительной части п.1 формулы. Предпочтительные варианты выполнения транспортного средства согласно изобретению описаны в зависимых пунктах 2-9.
Второй аспект изобретения касается зажимного устройства для фиксации буксирного устройства в описанных выше стандартных монтажных карманах. Особенности этого зажимного устройства указаны в независимом пункте 10. Предпочтительные варианты выполнения зажимного устройства описаны в зависимых пунктах 11-20.
Краткое описание прилагаемых чертежей
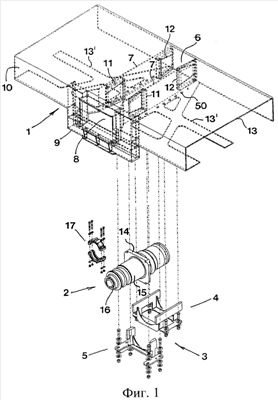
Фиг.1 изображает в аксонометрии в разобранном виде подрамник транспортного средства, имеющий стандартный монтажный карман, а также показанные отдельно буксирное устройство и зажимное устройство для установки буксирного устройства в монтажном кармане подрамника.
Фиг.2 изображает в аксонометрии в увеличенном масштабе буксирное устройство, установленное с помощью зажимного устройства в показанном частично монтажном кармане.
Фиг.3 изображает в аксонометрии вставку, входящую в состав зажимного устройства.
Фиг.4 изображает в аксонометрии зажимное средство, взаимодействующее со вставкой и образующее вместе с ней указанное зажимное устройство.
Фиг.5 изображает сбоку буксирное устройство вместе с зажимным устройством.
Фиг.6 изображает сверху устройства, показанные на фиг.5.
Фиг.7 изображает продольный разрез буксирного устройства.
Подробное описание предпочтительного варианта осуществления изобретения
На фиг.1 позицией 1 обозначен показанный частично подрамник транспортного средства, а позицией 2 – буксирное устройство, которое устанавливается в подрамнике. В нижней части фиг.1 показано зажимное устройство 3, содержащее две отдельные детали, а именно вставку 4 и зажимное средство 5.
Подрамник содержит стандартный монтажный карман 6, ограниченный двумя вертикальными стенками 7 и имеющий спереди отверстие 8. Это отверстие, окруженное рамой 9, расположено на одном из двух концов транспортного средства, например железнодорожного вагона, в частности на передней стенке 10 подрамника 1. На внутренних сторонах стенок 7 выполнены четыре выступа или заплечика, а именно передняя пара заплечиков 11 и задняя пара заплечиков 12. Сверху карман или полость 6 ограничен пластиной 13 из металлического листа, являющейся частью подрамника, а снизу открыт. С обеих сторон от кармана расположены детали 13′ опорной рамы. В общем карман имеет удлиненную форму и расположен в направлении длины транспортного средства.
Буксирное устройство 2, которое будет более подробно описано ниже со ссылками на фиг.7, содержит наружный монтажный фланец 14, от которого отходит вперед трубная-втулочная муфта 15, передний конец которой соединен с совмещающим плечом 16. С помощью соединительной муфты 17 это совмещающее плечо может быть соединено с одним или несколькими элементами (не показаны) с образованием сцепки, имеющей спереди головку, с помощью которой сцепка может быть механически соединена с соответствующей сцепкой другого транспортного средства.
На фиг.3 и 4 показаны вставка 4 и зажимное средство 5, образующие вместе зажимное устройство 3 согласно изобретению.
Вставка 4 (см. фиг.3) содержит два расположенных на расстоянии друг от друга в поперечном направлении дистанционирующих элемента 18 жесткой формы, соединенных между собой нижним основанием 19, состоящим из опорной рамы 20 и двух пар стоек 21, несущих дистанционирующие элементы 18 на уровне выше опорной рамы 20. Между дистанционирующими элементами 18 и их стойками 21 расположены элементы 22 жесткости, служащие для противодействия деформации дистанционирующих элементов. На практике вставка может быть изготовлена из сварной пластины из листового металла, причем дистанционирующие элементы 18 образованы кусками плоской прочной пластины из листового металла, имеющими удлиненную прямоугольную форму. Материалом вставки предпочтительно является сталь. В опорной раме 20, снаружи от дистанционирующих элементов 18, выполнены отверстия 23 удлиненной формы 3, зажимное средство 5, показанное на фиг.4, в общем похоже на вставку 4, т.е. содержит нижнюю деталь 25 с удлиненными отверстиями 24, на которой закреплены две стойки 26, между которыми расположен элемент 27 жесткости. Нижняя деталь 25, элемент 27 жесткости и стойки 26 вместе образуют раму 19′ жесткой формы. Каждая стойка 26 имеет сверху клиновой элемент 29. В показанном предпочтительном варианте выполнения клиновой элемент 29 имеет две клиновые поверхности – переднюю клиновую поверхность 30 и заднюю клиновую поверхность 31, каждая из которых имеет наклон относительно вертикального размера стойки, так что они сходятся в направлении вверх. С каждой задней клиновой поверхностью 31 соединен короткий, выступающий назад фланец 32. Эти фланцы 32 расположены с внутренней стороны клиновых поверхностей 31.
На фиг.7 показана принципиальная конструкция буксирного устройства 2. Спереди трубная-втулочная муфта 15 оканчивается концевой стенкой или концевой пластиной 33, в которой выполнено сквозное отверстие, через которое проходит стержень 34, несущий на заднем конце диск 35 и стопорный элемент 36, например гайку, навинченную внутренней резьбой (не показана) на задний конец стержня 34. За концевой стенкой 33 расположен первый амортизирующий упругий элемент 37. Перед концевой стенкой 33 имеются два таких упругих элемента 7, разделенных шайбой 38. Все упругие элементы 37 могут представлять собой тела из упруго деформируемого материала, например резины, однако они могут состоять из механических пружин сжатия, например тарельчатых или винтовых пружин. Отверстие в концевой стенке 33 имеет больший поперечный размер, чем стержень 34, и в кольцевой зазор между стержнем и поверхностью, ограничивающей края отверстия, вставлены два упругих тела 39 из упругодеформируемого материала, например резины. Целесообразно, если эти тела и отверстие имеют квадратную или другую некруглую форму, чтобы исключить возможность их поворота в отверстии. Аналогично, стержень 34 имеет некруглую форму поперечного сечения, соответствующую некруглой форме центрального отверстия в телах 39, через которое проходит стержень. Таким образом, тела 39 образуют торсионную подвеску, которая, с одной стороны, представляет некоторую свободу углового перемещения стержня 34 и связанного с ним совмещающего плеча 16, а с другой стороны, всегда возвращает стержень и совмещающее плечо в заданное исходное или нормальное положение. Кроме того, упругие элементы 37 дают возможность совмещающему плечу перемещаться в осевом направлении в некоторых пределах, независимо от того, действуют ли на буксирное устройство тяговые силы или ударные силы.
Задняя концевая часть 40 трубной-втулочной муфты 15 сделана более толстой и соединена с конусом 41 в виде кольца, имеющего коническую наружную поверхность. Этот конус 41 вставлен в деформационную трубу 42, жестко соединенную с монтажным фланцем 14 сварным соединением 43. Муфта 15 и ее конус 41 удерживаются в деформационной трубе посредством зажимного кольца 44 с наружной резьбой, прижатого к поверхности 45 кольцевого заплечика на утолщенной части 40 муфты. Зажимное кольцо ввинчено в имеющий внутреннюю резьбу монтажный фланец 14. Благодаря зажимному кольцу 44 движение трубной-втулочной муфты 15 в направлении вперед из деформационной трубы оказывается невозможным. При нормальных условиях муфта 15 не может также двигаться назад внутри деформационной трубы 42, поскольку зажимное кольцо 44 удерживает конус 41 прижатым или в предварительно поджатым к конической шейке 46, отделяющей переднюю широкую часть трубы 42 от задней более тонкой части. Только в случае столкновения, когда сцепка подвергается большим осевым ударным нагрузкам, трубная-втулочная муфта 15 будет двигаться назад в результате деформации трубы 42.
На фиг.2 показаны буксирное устройство 2 и взаимодействующее с ним зажимное устройство, установленные в монтажном кармане 6 подрамника транспортного средства. Установка вставки 4 зажимного устройства осуществляется с помощью болтов 47, вставленных в отверстия 23. Аналогичным образом зажимное средство 5 устанавливают с помощью болтов 48, вставленных в отверстия 24. Болты 48 взаимодействуют с пружинными шайбами или упругими элементами 49, предназначенными для постоянного приложения к клиновым элементам 29 упругой силы, направленной вверх. При монтаже вставку 4 вводят снизу в открытый снизу карман 6 и прикрепляют к подрамнику путем затягивания болтов 47, предварительно вставленных в отверстия 50 (см. фиг.1) нижних деталей 13′ подрамника. Затем в карман вставляют буксирное устройство 2, которое предварительно удерживается там с помощью средств, не показанных на чертеже. В заключение устанавливают зажимное средство 5 так, что клиновые элементы 29 располагаются в пространстве между монтажным фланцем 14 и передними концами дистанционирующих элементов или пластин 18. Как лучше видно на фиг.5, монтажный фланец 14 (на его противоположных боковых краях) выполнен с клиновыми поверхностями 51, имеющими тот же угол клина, что и передняя поверхность 30 клиновых элементов 29. Кроме того, передняя концевая поверхность 51′ каждого дистанционирующего элемента 18 имеет наклон, образуя клиновую поверхность с тем же углом клина, что и задняя поверхность 31 каждого клинового элемента 29. В связи с этим следует отметить, что обращенные друг к другу поверхности 52 заплечиков 11, 12 расположены вертикально и поэтому передняя поверхность 53 монтажного фланца 14 расположена в плоскости, перпендикулярной геометрической продольной оси буксирного устройства. Аналогично, задняя концевая поверхность 55 каждого дистанционирующего элемента 18 перпендикулярна к его продольной оси.
Когда клиновые элементы 29 вставлены в пространство между клиновыми поверхностями 51, 51′, зажимное средство 5 предварительно закрепляют болтами 48. Процесс сборки завершается затягиванием этих болтов с определенным минимальным крутящим моментом, при этом клиновые элементы прижимают с большой, благодаря эффекту клина, силой монтажный фланец 14 вперед к упорным поверхностям 52 заплечиков 11, а дистанционирующие элементы 18 их концевыми поверхностями 55 к упорным поверхностям задних заплечиков 12. При этом благодаря удлиненной форме отверстий 23, 24 для болтов 47, 48 во время этой операции не только зажимное средство 5, но и вставку 4 можно сдвигать в осевом направлении в любую сторону. После того, как монтажный фланец 14 будет зафиксирован в своем конечном положении, болты 47 тоже полностью затягивают. В собранном состоянии деформационная труба 42 и соединенная с ней трубная-втулочная муфта 15 точно и надежно удерживаются в заданном положении относительно подрамника транспортного средства, так как монтажный фланец 14 зажат описанным выше образом. Однако благодаря упругим элементам 37 и упругим телам 39 выступающее вперед совмещающее плечо 16 может упруго перемещаться относительно трубной-втулочной муфты 15. Таким образом, соединенный с совмещающим плечом 16 стержень 34 может перемещаться вперед и назад в осевом направлении, преодолевая сопротивление упругих элементов 37. Помимо этого, возможно не только угловое смещение стержня относительно геометрической оси С буксирного устройства, но и поворот стержня вверх и вниз относительно нее.
Таким образом, существенное преимущество изобретения состоит в том, что совмещающее плечо (и другие элементы, образующие вместе с ним сцепку) буксирного устройства может упруго перемещаться, в то время как буксирное устройство в целом неподвижно и надежно зафиксировано в подрамнике транспортного средства. Деформационная труба 42 служит для защиты при столкновении, что значительно облегчает последствия серьезных столкновений.
В заключение следует отметить, что нижняя деталь 25 зажимного средства 5 имеет отверстия 56 (см. фиг.2) для винтовых устройств (не показаны), посредством которых при приложении большой силы все зажимное средство можно вытянуть вниз в связи с возможным демонтажом буксирного устройства из монтажного кармана.
Возможные модификации изобретения
Изобретение не ограничено описанным вариантом, показанным на чертежах. Конструкция дистанционирующей вставки и взаимодействующего с ней зажимного средства блока может быть изменена в объеме формулы изобретения. Например, зажимное средство может содержать не клиновые, а другие зажимные или прижимные элементы. Так, вместо клиновых элементов для зажима монтажного фланца можно использовать эксцентриковые и винтовые механизмы, отделяющие монтажный фланец и дистанционирующие элементы. Нижние рамы вставки и зажимного средства могут отличаться по конструкции от показанных на чертежах.
Формула изобретения
1. Железнодорожное транспортное средство, содержащее подрамник (1) с монтажным карманом (6) для крепления буксирного устройства (2), имеющего монтажный фланец (14), причем в монтажном кармане (6) расположены на расстоянии друг от друга в осевом направлении две пары заплечиков (11, 12), между которыми расположены монтажный фланец (14) и зажимное устройство (3), предназначенное для прижима монтажного фланца к первой паре заплечиков (11) и тем самым фиксации буксирного устройства относительно подрамника, отличающееся тем, что зажимное устройство (3) содержит вставку (4) жесткой формы и зажимное средство (5), действующее между ней и монтажным фланцем (14) для отодвигания монтажного фланца (14) и вставки (4) друг от друга и тем самым прижима монтажного фланца (14) к первой паре заплечиков (11), и одновременно прижима вставки (4) ко второй паре заплечиков (12).
2. Транспортное средство по п.1, отличающееся тем, что вставка имеет два расположенных на расстоянии друг от друга в поперечном направлении дистанционирующих элемента (18) жесткой формы, соединенных между собой посредством нижнего основания (19), прикрепленного к нижней стороне подрамника (1).
3. Транспортное средство по п.2, отличающееся тем, что основание (19) вставки (4) состоит из несущей рамы (20), имеющей средства (23) для ее крепления к подрамнику (1), и двух пар стоек (21), несущих дистанционирующие элементы (18) на уровне выше несущей рамы (20).
4. Транспортное средство по п.3, отличающееся тем, что упомянутые средства крепления состоят из удлиненных отверстий (23) и вставленных в них болтов (47), которые ввинчиваются в резьбовые отверстия (50) подрамника (1).
5. Транспортное средство по любому из предыдущих пунктов, отличающееся тем, что зажимное средство (5) содержит два расположенных на расстоянии друг от друга в поперечном направлении клиновых элемента (29), соединенных между собой посредством нижней рамы (19′) и вклиненных между вставкой (4) и монтажным фланцем (14).
6. Транспортное средство по п.5, отличающееся тем, что рама (19′) зажимного средства (5) состоит из нижней детали (25), имеющей удлиненные отверстия (24) для болтов (48), и двух стоек (26), несущих клиновые элементы (29).
7. Транспортное средство по п.5, отличающееся тем, что отдельный клиновой элемент (29) имеет две противолежащие клиновые поверхности (30, 31), которые сходятся в направлении вверх и прижимаются к наклонным контактным поверхностям (51, 51′) монтажного фланца (14) и вставки (4) соответственно.
8. Транспортное средство по любому из пп.1-4, отличающееся тем, что буксирное устройство (2) содержит совмещающее плечо (16), имеющее сзади осевой стержень (34), проходящий через сквозное отверстие в пластине (33), окруженной с обеих сторон амортизирующими упругими элементами (37), предназначенными для постоянного удерживания стержня в исходном положении относительно пластины, причем стержень вместе с совмещающим плечом могут перемещаться с преодолением сопротивления этих упругих элементов.
9. Транспортное средство по п.8, отличающееся тем, что пластина (33) входит в оправку (15, 40), снабженную конусом (41) и вставленную в деформационную трубу (42), служащую для защиты при столкновении, в частности, в широкую переднюю часть трубы, соединенную через шейку (46) с ее более тонкой задней частью, которая деформируется при вхождении в нее оправки.
10. Зажимное устройство для фиксации буксирного устройства (2), снабженного монтажным фланцем (14), в монтажном кармане (6) подрамника (1) транспортного средства, имеющем две пары заплечиков (11, 12), расположенные на расстоянии друг от друга в осевом направлении, отличающееся тем, что оно содержит вставку (4) жесткой формы и зажимное средство (5), вставляемое между вставкой (4) и монтажным фланцем (14) буксирного устройства для отодвигания их друг от друга и тем самым прижима монтажного фланца к первой паре заплечиков (11).
11. Зажимное устройство по п.10, отличающееся тем, что вставка (4) имеет два дистанционирующих элемента (18) жесткой формы, расположенных на расстоянии друг от друга в поперечном направлении и соединенных между собой посредством нижнего основания (19).
12. Зажимное устройство по п.11, отличающееся тем, что нижнее основание (19) вставки (4) состоит из несущей рамы (20), имеющей средства (23) для ее крепления к подрамнику транспортного средства, и двух пар стоек (21), несущих дистанционирующие элементы (18) на уровне выше несущей рамы (20).
13. Зажимное устройство по п.12, отличающееся тем, что указанные средства крепления состоят из отверстий (23), предназначенных для прохождения через них болтов и имеющих удлиненную форму, позволяющую сдвигать несущую раму относительно предварительно затянутых болтов.
14. Зажимное устройство по п.12 или 13, отличающееся тем, что между двумя дистанционирующими элементами (18) с их стойками (21) расположены элементы (22) жесткости, предназначенные для противодействия деформации дистанционирующих элементов.
15. Зажимное устройство по любому из пп.11-13, отличающееся тем, что отдельный дистанционирующий элемент представляет собой плоское, длинное и узкое металлическое тело (18).
16. Зажимное устройство по любому из пп.10-13, отличающееся тем, что зажимное средство (5) содержит два клиновых элемента (29), расположенных на расстоянии друг от друга в поперечном направлении и соединенных между собой посредством нижней рамы (19′), имеющей средства (24), позволяющие вклинивать клиновые элементы между вставкой и монтажным фланцем.
17. Зажимное устройство по п.16, отличающееся тем, что рама (19′) зажимного средства состоит из нижней детали (25), имеющей указанные вклинивающие средства (24), и двух стоек (26), несущих клиновые элементы (29).
18. Зажимное устройство по п.17, отличающееся тем, что между двумя клиновыми элементами (29) с их несущими стойками (26) расположен элемент (27) жесткости для противодействия деформации клиновых элементов и стоек.
19. Зажимное устройство по п.17 или 18, отличающееся тем, что указанные вклинивающие средства состоят из отверстий (24), предназначенных для прохождения через них болтов и имеющих удлиненную форму, позволяющую сдвигать зажимное средство относительно монтажного кармана в осевом направлении.
20. Зажимное устройство по п.16, отличающееся тем, что отдельный клиновой элемент имеет две противолежащие клиновые поверхности (30, 31), сходящиеся в направлении вверх.
РИСУНКИ
|
|