|
|
(21), (22) Заявка: 2006131152/11, 25.01.2005
(24) Дата начала отсчета срока действия патента:
25.01.2005
(30) Конвенционный приоритет:
04.02.2004 SE 0400215-0
(43) Дата публикации заявки: 10.03.2008
(46) Опубликовано: 27.06.2009
(56) Список документов, цитированных в отчете о поиске:
US 6446820 В1, 10.09.2002. ЕР 1247716 А1, 09.10.2002. ЕР 1312527 A1, 21.05.2003. SU 1326490 A1, 30.07.1987. FR 2789358 A1, 11.08.2000. SU 192239 A1, 24.03.1967. RU 2173273 C2, 10.09.2001.
(85) Дата перевода заявки PCT на национальную фазу:
04.09.2006
(86) Заявка PCT:
SE 2005/000071 20050125
(87) Публикация PCT:
WO 2005/075272 20050818
Адрес для переписки:
191036, Санкт-Петербург, а/я 24, “НЕВИНПАТ”, пат.пов. А.В.Поликарпову
|
(72) Автор(ы):
ХОГБРИНГ Магнус (SE)
(73) Патентообладатель(и):
Деллнер Каплерс АБ (SE)
|
(54) БУКСИРОВОЧНОЕ УСТРОЙСТВО И ДЕФОРМИРУЮЩАЯСЯ ТРУБКА В СЦЕПКЕ ДЛЯ ЖЕЛЕЗНОДОРОЖНЫХ ВАГОНОВ
(57) Реферат:
Изобретение относится области железнодорожного транспорта, а именно к буксировочным устройствам, предназначенным для сцепок подвижного состава. Буксировочное устройство содержит стержень, на заднем конце которого имеется палец. Палец выступает в осевом направлении через сквозное отверстие в пластине. Обе стороны пластины охватывают пружинные амортизирующие элементы, которые всегда стремятся поддерживать палец в исходном положении относительно пластины и под действием которых палец и стержень могут перемещаться в осевом направлении. Пластина находится в оправке, которая имеет конус и вставлена в деформирующуюся трубку. Широкая передняя часть трубки через шейку переходит в более узкую заднюю часть, деформируемую при проникновении в нее оправки. Деформирующаяся трубка имеет в целом цилиндрическую форму и содержит заднюю часть, которая через сужающуюся на конус шейку переходит в более широкую переднюю часть, к которой присоединен фланец для фиксации деформирующейся трубки в раме или в шасси единицы транспортного средства. Внутри широкой передней части имеется средство для крепления зажимного кольца. Достигается возможность поглощения и гашения большого количества энергии, возникающего при столкновениях, без специальных средств защиты от столкновения и упрощение конструкции устройства. 2 н. и 6 з.п. ф-лы, 6 ил.
ОБЛАСТЬ ТЕХНИКИ
Первый аспект данного изобретение относится к буксировочному устройству, предназначенному для сцепок подвижного состава и относящемуся к устройствам, содержащим стержень, на заднем конце которого имеется палец, выступающий в осевом направлении через сквозное отверстие в пластине, обе стороны которой охвачены пружинными амортизирующими элементами, которые всегда стремятся поддерживать палец в исходном положении относительно пластины и под действием которых палец и стержень могут перемещаться в осевом направлении.
ПРЕДПОСЫЛКИ ИЗОБРЕТЕНИЯ
Несмотря на то что устройства указанного типа на практике предназначены для передачи в единице подвижного состава между различными средствами передвижения на колесах, такими как вагоны и/или локомотивы, не только тянущих усилий, но и толкающих усилий, специалисты в данной области техники называют их “буксировочными устройствами”. Характерная особенность такого буксировочного устройства заключается в том, что оно содержит стержень или фиксирующее плечо (обычно выполненное в виде трубки), задняя часть которого тем или иным способом крепится к одному из концов рамы рассматриваемого узла транспортного средства, а передний конец крепится к одной или нескольким дополнительным деталям, образующим сцепку. Например, передний конец стержня может быть непосредственно присоединен к головке сцепки и вместе с ней может образовывать автосцепку или переднюю часть стержня можно с помощью муфтового соединения или подобного приспособления присоединить к защите от столкновений, которая в свою очередь присоединена к головке сцепки. В буксировочном устройстве также имеются средства, служащие для поглощения толчков умеренного характера, т.е. таких ударных толчков, которые постоянно возникают и передаются между единицами подвижного состава при езде и при их сцеплении.
ОПИСАНИЕ УРОВНЯ ТЕХНИКИ
На рынке имеется большое количество различных буксировочных устройств указанного выше типа, в которых в качестве амортизаторов используются пружинные элементы. Если говорить более подробно, то по меньшей мере один пружинный элемент расположен на обеих сторонах пластины, имеющей сквозное отверстие, в которое вставлен палец, проходящий в осевом направлении от заднего конца стержня или фиксирующего плеча буксировочного устройства. Эти пружинные элементы, которые, например, могут состоять из прокладок или тел из упругого материала, всегда стремятся поддерживать палец, а следовательно, и стержень в заданном исходном положении до тех пор, пока устройство не подвергнется воздействию каких-либо ощутимых толчков, но как только толчки возникают и проявляются в тянущих движениях одном направлении и толкающих движениях в противоположном направлении, эти движения поглощаются пружинными элементами, расположенными по обеим сторонам пластины.
Конечно, сцепка, состоящая лишь из одного такого буксировочного устройства, и головка сцепки могут поглощать умеренные толчки и вибрации, но не такие сильные толчки, которые могут возникнуть при столкновениях. В последнее время к сцепкам все чаще предъявляется требование выполнения их со средствами специальной защиты от столкновений, т.е. средствами, которые в отличие от обычных амортизаторов способны гасить большие количества кинетической энергии в целях уменьшения и ослабления в максимально возможной степени суммарных эффектов, связанных с сильными столкновениями. При оснащении сцепок подобной защитой от столкновений необходимо в качестве дополнения соответствующего буксировочного устройства предварительно ввести средства, служащие в качестве защиты от столкновений. На практике между буксировочным устройством и головкой сцепки обычно помещается деформирующаяся трубка. Однако досадный недостаток такого решения заключается в том, что защита от столкновения зависит от длины, то есть требует, чтобы сцепка имела большую длину. Более того, решение является затратным по способу изготовления и ведет к конструктивным трудностям в других отношениях.
ЦЕЛИ И ХАРАКТЕРНЫЕ ОСОБЕННОСТИ ДАННОГО ИЗОБРЕТЕНИЯ
Целью данного изобретения является устранение изложенных выше проблем и создание усовершенствованного буксировочного устройства для сцепок подвижного состава. Таким образом, в первом аспекте основной целью изобретения является создание буксировочного устройства, которое имеет функцию защиты от столкновений. Другими словами, сцепка, в которой используется буксировочное устройство по данному изобретению, должна поглощать и гасить большие количества энергии, которые возникают при столкновениях, не требуя специальных средств защиты от столкновения, помещенных, например, между головкой сцепки и буксировочным устройством. Дополнительная цель заключается в создании буксировочного устройства, которое имеет простую конструкцию и, следовательно, имеет низкую себестоимость. Еще одна цель изобретения заключается в создании буксировочного устройства, которое после аварии имеет хорошие шансы к восстановлению при умеренных затратах.
В соответствии с изобретением, по меньшей мере, основная цель достигается за счет признаков, приведенных в отличительной части п.1 формулы изобретения. Предпочтительные варианты выполнения буксировочного устройства по данному изобретению приведены в зависимых пунктах 2-6 формулы изобретения.
Кроме того, в другом аспекте изобретение относится к деформирующейся трубке для буксировочного устройства, выполненного в соответствии с изобретением. Признаки этой деформирующейся трубки представлены в п.7. Предпочтительный вариант выполнения деформирующейся трубки, выполненной в соответствии с изобретением, дополнительно представлен в п.8 формулы изобретения.
ДОПОЛНИТЕЛЬНОЕ ПОЯСНЕНИЕ УРОВНЯ ТЕХНИКИ
Защита от столкновений в виде трубки, которая деформируется оправкой, имеющей конус, по существу известна из ЕР 1 312 527. Однако в этом случае защита от столкновений встроена в соединительную муфту, в которой отсутствует какой-либо амортизирующий пружинный элемент того типа, который отличает буксировочное устройство по данному изобретению.
КРАТКОЕ ОПИСАНИЕ ПРИЛОЖЕННЫХ ЧЕРТЕЖЕЙ
Фиг.1 представляет собой частичный разрез в аксонометрии, изображающий буксировочное устройство, выполненное в соответствии с изобретением и установленное в раме железнодорожного вагона,
фиг.2 представляет собой увеличенный частичный разрез в аксонометрии только буксировочного устройства,
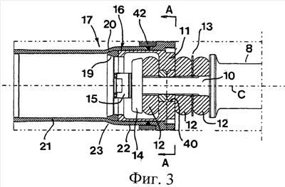
фиг.3 представляет собой увеличенный частичный продольный разрез буксировочного устройства, изображенного в исходном пусковом положении,
фиг.4 представляет собой аналогичный продольный разрез, изображающий буксировочное устройство после приведения в действие защиты от столкновений,
фиг.5 представляет собой вид с торца разреза по линии А-А, показанной на фиг.3,
фиг.6 представляет собой продольный разрез деформирующейся трубки, входящей в состав буксировочного устройства.
ПОДРОБНОЕ ОПИСАНИЕ ПРЕДПОЧТИТЕЛЬНОГО ВАРИАНТА ВЫПОЛНЕНИЯ ИЗОБРЕТЕНИЯ
На фиг.1 позиция 1 обозначает в целом раму, которая может входить в состав любой единицы подвижного состава (например, вагона, локомотива и т.п.), которая вместе с другими узлами транспортного средства может составлять узел поезда. Специалисты в данной области техники иногда называют раму кузовом или шасси. С одного торца 2 рамы установлено буксировочное устройство, в целом обозначенное позицией 3, а также два пассивных блока 4, из которых на фиг.1 показан только один. Представленная рама имеет две пластины или панели 5 и 6, между которыми заключено пустое пространство 7. В этом полом пространстве находится задняя часть буксировочного устройства 3, в то время как передняя часть буксировочного устройства выступает на некоторое расстояние из торца 2 рамы. В этой связи следует пояснить, что понятия “передний” и “задний” относятся к соответствующему буксировочному устройству, а не к раме. Другими словами, для выбранной терминологии не важно, повернут торец 2 вперед или назад в узле поезда.
Главная часть буксировочного устройства 3 состоит из стержня или фиксирующего плеча 8, которое фактически представляет собой цилиндрическую трубку. В данном примере вблизи переднего конца стержня 8 показана соединительная муфта 9, которая предназначена для соединения стержня и другого элемента, например головки сцепки, с образованием автосцепки. От заднего конца стержня 8 (см. фиг.3 и 4) выступает палец 10, более тонкий, чем стержень 8, и соосный с геометрической центральной осью С стержня. Палец 10 проходит через отверстие 40 в пластине, обозначенной позицией 11. По обе стороны этой пластины расположены амортизаторы или амортизирующие пружинные элементы 12, которые в предпочтительном случае могут состоять из прокладок или тел из упруго деформируемого материала, но также могут состоять из механических пружин сжатия, например чашеобразных или спиральных пружин. Если говорить более конкретно, то один такой пружинный элемент 12 размещен на задней стороне пластины 11, а два других пружинных элемента 12 находятся на передней стороне и разделены шайбой 13. К заднему пружинному элементу 12 прижат диск 14. С помощью стопорного элемента 15, например гайки, диск 14 удерживается прижатым к пружинному элементу 12 с заданным давлением, что обеспечивает необходимую степень сжатия в пружинных элементах 12.
Поскольку представленное буксировочное устройство было описано ранее, то, по сути, основные его элементы уже известны. Однако в уже известном буксировочном устройстве данного вида пластина 11 служит в качестве крепежной детали, которая крепится непосредственно в раме вагона или узла транспортного средства. При этом буксировочное устройство удовлетворительно служит не только для передачи между сцепленными вагонами тянущих и толкающих усилий, но также для поглощения и ослабления таких умеренных толчков, которые случаются постоянно, например, во время перемещения. Однако буксировочное устройство не может гасить такие количества кинетической энергии, которые возникают при возможных столкновениях.
Отличие данного изобретения заключается в том, что упомянутая выше пластина 11 входит в состав оправки, которая в целом обозначена позицией 16 и вставлена в деформируемую трубку 17, которая ниже называется деформирующейся трубкой. В дополнение к пластине 11 оправка 16 содержит цилиндр 18, выступающий из оправки назад, причем на заднем конце цилиндра имеется конус, обозначенный позицией 19. В представленном предпочтительном варианте пластина 11 и цилиндр 18 выполнены как единое целое из первого материала например из чугуна. Деталь, выполненная таким образом, имеет форму, напоминающую бочонок. Конус 19 в свою очередь состоит из кольца, которое выполнено из второго материала и имеет коническую поверхность 20, причем второй материал имеет большую прочность на сжатие, чем материал, из которого выполнены деталь 11 и 18, имеющие форму бочонка. В предпочтительном случае кольцо 19 можно изготовить из закаленной стали, причем кольцо постоянно присоединено к цилиндру 18, например, сваркой. В предпочтительном случае угол конусности поверхности 20 может составлять около 40° (2×20°).
Деформирующаяся трубка 17, которая отдельно показана на фиг.6 и в целом имеет форму цилиндра, имеет задний участок 21, отстоящий от более широкого переднего участка 22 шейкой 23, постепенно сужающейся в виде конуса от более широкого участка 22 к менее широкому участку 21. Понятно, что внутренний диаметр участка 22 превышает внутренний диаметр участка 21. Если говорить более точно, то внутренний диаметр участка 22 может совпадать или очень ненамного превышать наружный диаметр оправки 16, поскольку он изначально определяется максимальным диаметром конуса 19. Однако внутренний диаметр участка 21 значительно меньше наружного диаметра конуса 19. Внутренняя коническая поверхность, которая ограничивает шейку 23, обозначена позицией 24. Угол конусности этой поверхности в предпочтительном случае может соответствовать углу конусности (40°) конической поверхности 20 кольца 19. Однако возможны небольшие различия углов.
На переднем конце деформирующейся трубки 17 имеется относительно жесткий фланец 25, который в данном примере выполнен в виде отдельного элемента, имеющего раструб 25′, который присоединен к остальной части деформирующейся трубки с помощью сварного соединения 26. Фланец 25 имеет прямоугольную форму по контуру и выступает в виде консоли из участка 22 трубки, в то время как внутренний диаметр фланца и соединительной муфты по существу соответствуют внутреннему диаметру участка 22 трубки. Однако вблизи кольцеобразной торцевой поверхности 27 фланца помещена в углубление кольцеобразная канавка 29, которая ограничена плоской кольцеобразной поверхностью 29, а также цилиндрической ограничивающей поверхностью. В представленном предпочтительном варианте в указанной цилиндрической поверхности имеется внутренняя резьба 31, которую можно выполнить непосредственно в материале фланца или, в качестве альтернативы, в особом вставном кольце, которое в свою очередь крепится к цилиндрической поверхности. Ширина или протяженность резьбы 31 в осевом направлении немного меньше ширины или глубины канавки.
Указанная канавка служит для введения зажимного кольца 32, имеющего наружную резьбу 33.
Как лучше всего видно из фиг.4, рядом с передней стороной 34 пластины 11 также выполнена кольцевая канавка, которая ограничена кольцеобразной плоской поверхностью 36 уступа и цилиндрической поверхностью 37. Ширина этой цилиндрической поверхности в предпочтительном случае может соответствовать ширине кольца 32 (поскольку она отсчитывается между плоскими противоположными поверхностями кольца), но может быть немного меньше, чем глубина канавки во фланце 25.
Из фиг.5 (разрез по линии А-А, показанной на фиг.3) видно, что палец 10 имеет некруглую форму в поперечном сечении. Если говорить точнее, то форма ограничена двумя плоскими параллельными поверхностями 38 и двумя криволинейными поверхностями 39. Отверстие 40 в пластине 11, через которое пропущен палец 10, имеет по существу квадратную форму поперечного сечения и значительно шире пальца 10. Как видно из фиг.3 и 4, в отверстие 40 с противоположных направлений вставлены два вкладыша 41 из упруго деформируемого или эластичного материала, например резины. В каждом таком вкладыше 41 выполнено сквозное отверстие, имеющее такую же некруглую форму поперечного сечения, что и палец 10. По меньшей мере плоские наружные поверхности 38 оси 10 точно прилегают к передней части соответствующих плоских внутренних ограничивающих поверхностей во вкладышах 41. Деформируемые внутренние вкладыши 41 обычно гарантируют, что палец 10 займет положение угла поворота, которое показано на фиг.5. Однако довольно часто случается, что стержень 8 и, следовательно, палец 10 подвергаются воздействию скручивающих усилий, вкладыши допускают определенный поворот оси, хотя и всегда против действия упругой силы в материале. Другими словами, вкладыши образуют торсионную подвеску, которая, с одной стороны, обеспечивает необходимую гибкость соединения двух вагонов, а с другой стороны, всегда возвращает стержень (и соответствующую ему головку автосцепки) в желательное первоначальное или нормальное положение.
РАБОТА И ПРЕИМУЩЕСТВА БУКСИРОВОЧНОГО УСТРОЙСТВА, ВЫПОЛНЕННОГО В СООТВЕТСТВИИ С ИЗОБРЕТЕНИЕМ
В первую очередь обратимся к фиг.1, где позицией 42 показано, как вертикальная стенка или панель закреплена в полом пространстве 7 рамы, точнее на некотором расстоянии внутри торца 2 рамы. В этой панели 42 имеется сквозное круглое отверстие, диаметр которого по меньшей мере немного превышает наружный диаметр большего участка 22 деформирующейся трубки. Таким образом, деформирующуюся трубку можно вставлять через отверстие до тех пор, пока фланец 25 не упрется в панель 42. После этого фланец крепится к панели соответствующими крепежными средствами, например болтами, которые вставляются в сопряженные отверстия 43, расположенные, соответственно, во фланце и панели.
Когда буксировочное устройство принимает первоначальное или нормальное положение (см. фиг.1-3), конус 19 оправки 16 прижимается без зазора к шейке 23 деформирующейся трубки 17. Это осуществляется с помощью зажимного кольца 32, которое посредством резьбового соединения 31, 33 удерживает оправку в положении, в котором конусные поверхности 20 и 24 прижаты друг к другу с некоторым давлением. Фиксация оправки может, по существу, осуществляться только зажимным кольцом 32. Однако на практике предпочтительней оправку вставлять с помощью создающего большое усилие гидравлического зажимного механизма (не показан) и последующего сжатия зажимного кольца с образованием упора, который делает невозможным смещение оправки вперед в осевом направлении. Другими словами, зажимное кольцо удерживает оправку на месте внутри широкого участка 22 деформирующейся трубки. И наоборот, зажимное кольцо 32 не препятствует перемещению оправки в осевом направлении назад. Однако такому движению оправки в нормальном положении, показанном на фиг.3, препятствует шейка 23.
В любом обычном случае, например при перемещении и сцепке, средства в виде упругих элементов 12, гасящие движение в буксировочном устройстве и выполненные, соответственно, в виде вкладышей 41, работают обычным образом, т.е. тянущее, толкающее и вращательное движения в сцепке между двумя вагонами плавно и аккуратно гасятся.
Однако если происходит столкновение, в частности во время движения с высокой скоростью, то срабатывает защита от столкновения, которую создают совместно оправка 16 и деформирующаяся трубка 17. В этом случае в буксировочном устройстве происходит взаимодействие сил большой кинетической энергии, стержень 8 вместе с оправкой 16 проникает в деформирующуюся трубку. Это проникновение может иметь место без помех со стороны зажимного кольца 32, при этом гладкая цилиндрическая поверхность 37 оправки может легко скользить по такой же гладкой внутренней поверхности зажимного кольца. При освобождении оправки 16 от зажимного кольца и начале движения назад трубка 17, как показано на фиг.4, постепенно деформируется во время перехода кинетической энергии в тепловую. Таким образом, кинетическая энергия гасится под действием быстрого уменьшения результирующего воздействия столкновения вагонов состава, а также пассажиров, возможно находящихся в нем. В этой связи нужно отметить, что наружный диаметр заднего торцевого фланца 44 стержня 8 (см. фиг.4) по меньшей мере немного меньше наружного диаметра оправки 16. Это означает, что торцевой фланец 44 стержня может входить в деформирующуюся трубку на большое расстояние, не задерживаясь ею. В зависимости от природы столкновения и величины сил при ударе, возникающих в такой сцепке, оправка до погашения всей энергии может входить в деформирующуюся трубку на разную глубину. Таким образом, в особо тяжелых случаях трубка может быть деформирована вдоль основной части ее длины.
Существенное преимущество буксировочного устройства по данному изобретению заключается в том, что оно обладает присущей ему защитой от столкновений, которая может быть осуществлена конструктивно простыми и недорогими средствами. Более того, указанная защита от столкновений может быть введена в буксировочное устройство без необходимости увеличения длины стержня, выступающего из рамы. Таким образом, требуемую деформирующуюся трубку можно целиком разместить внутри пространства, уже имеющегося внутри рамы. Другое преимущество заключается в том, что конструкция буксировочного устройства предлагает приемлемые возможности ремонта буксировочного устройства после столкновения при небольших затратах. Так, может случиться, что при пластической деформации материала трубки, связанной с проникновением оправки в деформирующуюся трубку, может повредиться и изменить форму только трубки. Однако при благоприятных обстоятельствах другие детали устройства могут остаться неповрежденными, при этом буксировочное устройство можно привести в рабочее состояние за счет простой меры, заключающейся в замене деформирующейся трубки.
Следовательно, деформирующаяся трубка является запасной или заменяемой частью, признаки которой раскрыты в п.7 и п.8 формулы изобретения.
ВОЗМОЖНЫЕ МОДИФИКАЦИИ ИЗОБРЕТЕНИЯ
Изобретение не ограничено исключительно описанным выше вариантом выполнения, представленным на чертежах. Так, оправку, соединенную посредством оси со стержнем или фиксирующим плечом, можно выполнить многими способами, которые отличаются от подробного варианта выполнения, представленного на чертежах. Поэтому понятие “пластина”, используемое в описании и в формуле изобретения, должно рассматриваться в самом широком смысле. Следовательно, вместо пластины равномерной толщины передняя часть оправки может иметь любую подходящую форму при условии, что данную деталь можно утопить в сквозном отверстии для пальца и вдавить в него амортизирующие пружинные элементы.
Формула изобретения
1. Буксировочное устройство для сцепки подвижного состава, содержащее стержень (8), на заднем конце которого имеется палец (10), выступающий в осевом направлении через сквозное отверстие (40) в пластине (11), обе стороны которой охватывают пружинные амортизирующие элементы (12), которые всегда стремятся поддерживать палец в исходном положении относительно пластины и под действием которых палец и стержень могут перемещаться в осевом направлении, отличающееся тем, что указанная пластина (11) находится в оправке (16), которая имеет конус (19) и вставлена в деформирующуюся трубку (17), точнее в широкую переднюю часть (22) трубки, которая через шейку (23) переходит в более узкую заднюю часть (21), деформируемую при проникновении в нее оправки.
2. Буксировочное устройство по п.1, отличающееся тем, что в дополнение к указанной пластине (11) оправка (16) содержит цилиндр (18), который проходит из оправки назад и на свободном заднем конце которого расположен указанный конус (19).
3. Буксировочное устройство по п.2, отличающееся тем, что пластина (11) и цилиндр (18) выполнены в виде единого целого из первого материала, а конус состоит из кольца (19), выполненного из второго материала, и имеет коническую поверхность (20), причем второй материал обладает большей прочностью на сжатие, чем указанный первый материал.
4. Буксировочное устройство по любому из предшествующих пунктов, отличающееся тем, что в исходном положении оправка (16) удерживается на месте в деформирующейся трубке (17) зажимным кольцом (32), которое, с одной стороны, не допускает перемещения оправки в осевом направлении вперед из трубки до тех пор, пока оправка находится под воздействием небольших сил, но, с другой стороны, обеспечивает возможность свободного перемещения оправки назад в более узкую часть (21) трубки (17) так, что деформирует ее, если оправка подвергается воздействию значительных сжимающих усилий.
5. Буксировочное устройство по п.4, отличающееся тем, что зажимное кольцо (32) присоединено к деформирующейся трубке (17) резьбовым соединением в виде наружной резьбы (33), выполненной на наружной стороне кольца, и внутренней резьбы (31), выполненной на внутренней стороне трубки, причем зажимное кольцо служит для удержания в исходном положении конуса (19) оправки, прижатой без зазора к шейке (23) между узким (21) и широким (22) участками трубки.
6. Буксировочное устройство по п.4, отличающееся тем, что на переднем торце (34) оправки (16) имеется кольцевая канавка, в которую входит внутренняя часть зажимного кольца (32).
7. Деформирующаяся трубка для буксировочного устройства сцепки подвижного состава, отличающаяся тем, что она имеет в целом цилиндрическую форму и содержит заднюю часть (21), которая через сужающуюся на конус шейку (23) переходит в более широкую переднюю часть (22), к которой присоединен фланец (25) для фиксации деформирующейся трубки в раме или в шасси единицы транспортного средства, и тем, что внутри широкой передней части имеется средство (31) для крепления зажимного кольца (32).
8. Деформирующаяся трубка по п.7, отличающаяся тем, что указанное средство состоит из внутренней резьбы (31), сопрягающейся с наружной резьбой (33) зажимного кольца (32).
РИСУНКИ
|
|