|
|
(21), (22) Заявка: 2007116960/11, 09.09.2005
(24) Дата начала отсчета срока действия патента:
09.09.2005
(30) Конвенционный приоритет:
05.10.2004 JP 2004-292351 05.10.2004 JP 2004-292353
(43) Дата публикации заявки: 20.11.2008
(46) Опубликовано: 27.06.2009
(56) Список документов, цитированных в отчете о поиске:
JP 4153118 А, 26.05.1992. SU 846427 A1, 15.07.1981. SU 1181974 A1, 30.09.1985. JP 2002096778 A, 02.04.2002. JP 3178860 A, 02.08.1991.
(85) Дата перевода заявки PCT на национальную фазу:
07.05.2007
(86) Заявка PCT:
JP 2005/016585 20050909
(87) Публикация PCT:
WO 2006/038423 20060413
Адрес для переписки:
129090, Москва, ул.Б.Спасская, 25, строение 3, ООО “Юридическая фирма Городисский и Партнеры”, пат.пов. С.А.Дорофееву
|
(72) Автор(ы):
НАКАМУРА Дзироу (JP)
(73) Патентообладатель(и):
ДАЙФУКУ КО., ЛТД. (JP)
|
(54) ПОДВЕСНОЕ КОНВЕЙЕРНОЕ УСТРОЙСТВО
(57) Реферат:
Изобретение относится к транспортирующим конвейерным устройствам. Подвесное конвейерное устройство содержит подвеску для удерживания транспортируемого объекта, подвешенного на конвейерном подвижном элементе (1), снабженную парой из левого и правого открываемых и закрываемых захватов (15) подвески с приемниками (18), переключающимися между внутренними положениями и внешними положениями и удерживающимися на опорных элементах приемника на сторонах захватов подвески параллельными соединениями с возможностью поперечного перемещения между внутренним и внешним положениями. В секциях опорных осей параллельных соединений выполнены продолговатые отверстия, обеспечивающие вертикальное перемещение приемников (18). Нагружающие средства подпружинивают приемники (18) в направлении притягивания приемника (18) вниз к опорным элементам приемника. Внутренняя зацепляющаяся выемка на стороне приемника (18) входит в зацепление с зацепляющимся элементом, когда приемник (18) находится во внешнем положении. В точках переключения приемника на маршруте движения конвейерного подвижного элемента (1) предусмотрено средство привода приемника для поперечного перемещения приемника (18) между внутренними положениями и внешними положениями. Изобретение упрощает конструкцию и повышает надежность. 7 з.п. ф-лы, 12 ил.
Область техники
Настоящее изобретение относится к подвесному конвейерному устройству, в котором подвеска для удерживания объекта, который транспортируют подвешенным на конвейерном подвижном элементе, снабжена парами левых и правых открываемых и закрываемых захватов подвески, которые имеют приемники для размещения транспортируемого объекта на внутренние стороны нижнего конца, при этом их верхние концы шарнирно удерживаются таким образом, что они могут свободно качаться влево и вправо.
Уровень техники
В указанном выше подвесном конвейерном устройстве, как описано в Патентном документе 1, известна конструкция, в которой приемники могут переключаться между внутренним и внешним положениями в направлении открывания и закрывания относительно захватов подвески для приспособления к изменению расстояния между положениями удерживания левой и правой сторон транспортируемого объекта (положениями удерживания приемниками). Более конкретно, приемник удерживается с возможностью движения прямо на поддерживающем приемник элементе со стороны захвата подвески таким образом, что он может перемещаться в поперечном направлении между внутренним и внешним положениями в направлении открывания и закрывания, и на стороне приемника расположены стопорный штифт, который свободно поднимается, и пружина, которая нагружает стопорный штифт вниз, на стороне поддерживающего приемник элемента расположена направляющая для стопорного штифта, имеющая выемки для зацепления на обоих концах, в которые попадает стопорный штифт и входит в зацепление под действием нагружающей силы пружины, и в положениях переключения приемника, заданных на маршруте движения конвейерного подвижного элемента, расположены средство отталкивания вверх стопорного штифта для отталкивания вверх стопорного штифта, входящего в зацепление с выемкой, для разблокирования приемника, и средство привода приемника для перемещения приемника в поперечном направлении для переключения положения.
Патентный документ 1: Опубликованная нерассмотренная заявка на патент Японии H04-153118.
Раскрытие изобретения
Обычная конструкция, описанная в Патентном документе 1, представляет собой конструкцию, в которой положения приемников не определены, пока приемники не заперты стопорными штифтами во внутренних и внешних положениях в направлении открывания и закрывания, и необходимо отпирать приемники посредством отталкивания вверх стопорных штифтов в комбинации точки, в которой приемники переключены от внутренних положений во внешние положения, и точки, в которой приемники переключены от внешних положений во внутренние положения. Кроме того, необходимы не только направляющие для удерживания приемников с возможностью движения между внутренними и внешними положениями, но также подъемные стопорные штифты и направляющие для стопорных штифтов для направления стопорных штифтов, и это усложняет конструкцию и увеличивает размеры всего приемника.
Средство для решения проблемы
Целью изобретения является создание подвесного конвейерного устройства, способного решить указанную выше проблему предшествующего уровня техники, которое содержит, показывая средства вариантов его выполнения, описанных ниже, ссылочными позициями в круглых скобках, подвеску (14) для удерживания транспортируемого объекта, подвешенного на конвейерном подвижном элементе (1), имеющем пару из левого и правого открываемых и закрываемых захватов (16) подвески, которые имеют приемники (18) для размещения транспортируемого объекта (W) на внутренние стороны их нижних концов, при этом их верхние концы шарнирно удерживаются таким образом, что они могут свободно качаться влево и вправо, причем приемники (18) могут переключаться между внутренними положениями (Р1) и внешними положениями (Р2) в направлении открывания и закрывания относительно захватов (16) подвески, при этом приемник (18) удерживается на опорных элементах (21а и 21b) приемников на стороне захвата (16) подвески параллельными соединениями (23 и 24) с возможностью поперечного перемещения между внутренним и внешним положениями (Р1 и Р2), и в секциях опорных осей параллельных соединений (23 и 24) выполнены продолговатые отверстия (31), которые обеспечивают вертикальное перемещение приемников (18), причем предусмотрены нагружающие средства (28а и 28b), которые подпружинивают приемник (18) в направлении притягивания приемника (18) вниз, к опорным элементам (21а и 21b) приемника, зацепляющийся элемент (33) на стороне опорных элементов (21а и 21b) приемника и внутренняя зацепляющаяся выемка (32а) на стороне приемника (18), которая входит в зацепление с зацепляющимся элементом (33), когда приемник (18) находится во внешнем положении (Р2), а в точке переключения приемника на маршруте движения конвейерного подвижного элемента (1) расположено средство (42) привода приемника для поперечного перемещения приемника (18) между внутренними положениями (Р1) и внешними положениями (Р2).
В варианте осуществления изобретения, имеющем описанную выше конструкцию, более подробно, согласно второму варианту, внешняя зацепляющаяся выемка (32b), которая входит в зацепление с зацепляющимся элементом (33), когда приемник (18) находится во внутреннем положении (Р1), предусмотрена на стороне приемника (18), причем среди зацепляющихся выемок (32а и 32b), по меньшей мере, внутренняя зацепляющаяся выемка (32а), которая входит в зацепление с зацепляющимся элементом (33), когда приемник (18) находится во внешнем положении (Р2), и этот зацепляющийся элемент (33) сформированы так, чтобы предотвращать перемещение приемника (18) во внутреннее положение (Р1), и среди точек переключения приемника, в которых расположено средство (42) привода приемника, по меньшей мере, в точке переключения приемника для переключения приемника (18) из внешнего положения (Р2) во внутреннее положение (Р1), может также находиться средство (41) подъема приемника, которое толкает вверх приемник (18) от уровня, поддерживаемого опорными элементами (21а и 21b) приемника, для разъединения зацепления между внутренней зацепляющейся выемкой (32а) и зацепляющимся элементом (33).
При использовании конструкции согласно второму варианту, как и согласно третьему варианту, среди зацепляющихся выемок (32а и 32b), по меньшей мере, внешняя зацепляющаяся выемка (32b), которая входит в зацепление с зацепляющимся элементом (33), когда приемник (18) находится во внутреннем положении (Р1), и этот зацепляющийся элемент (33) могут быть сформированы так, что приемник (18) взаимодействует с зацепляющимся элементом (33), когда приемник (18) движется к внешнему положению (P2).
При использовании конструкции согласно второму варианту, как и согласно четвертому варианту, пара поддерживающих опорных элементов (21a и 21b) приемника расположены параллельно, и на приемнике (18), удерживаемом на опорных элементах (21a и 21b) приемника, предусмотрены выступающие опорные элементы (22a и 22b) соединительной оси, которые свободно установлены между парой опорных элементов (21a и 21b) приемника, и параллельные соединения (23 и 24) расположены между нижними опорными осями (26a и 26b), проходящими поперек пары опорных элементов (21a и 21b) приемника, и верхними опорными осями (27a и 27b), расположенными на опорных элементах (22a и 22b) соединительной оси, выполнены продолговатые отверстия (31) в удерживающих ось частях параллельных соединений (23 и 24), как отверстия для оси, в которые вставлены верхние опорные оси (27a и 27b) параллельных соединений (23 и 24), две внутренние и внешние зацепляющиеся выемки (32a и 32b) сформированы на нижних сторонах опорных элементов (22a и 22b) соединительной оси, зацепляющийся элемент (33) проходит поперек пары опорных элементов (21a и 21b) приемника, и средство (41) подъема приемника толкает нижние стороны опорных элементов (22a и 22b) соединительной оси, между парой опорных элементов (21a и 21b) приемника. Конечно, эта конструкция может быть выполнена в комбинации с конструкцией согласно третьему варианту.
Подпружинивающее средство может быть сформировано, как согласно пятому варианту, пружинами (28a и 28b) растяжения, установленными между нижними опорными осями (26a и 26b) и верхними опорными осями (27a и 27b). Эта конструкция может быть выполнена в комбинации с конструкцией согласно любому из первого-четвертого вариантов. Когда используется конструкция согласно этому пятому варианту, как согласно шестому варианту, опорные элементы (22a и 22b) соединительной оси и параллельные соединения (23 и 24) расположены параллельными парами, и пружины (28a и 28b) растяжения могут быть расположены между парой опорных элементов (22a и 22b) соединительной оси, и, как согласно седьмому варианту, пружины (28a и 28b) растяжения сформированы в плоской конфигурации посредством загибания обоих концов прямой пружинной проволоки в форме дуг в одной плоскости, и дугообразные секции на обоих концах зацепляют вокруг нижних опорных осей (26a и 26b) и верхних опорных осей (27a и 27b). Согласно восьмому варианту, пружины (28a и 28b) растяжения могут быть сформированы в S-образной форме посредством загибания дугообразных частей на обоих концах в противоположные стороны.
Эффекты изобретения
Согласно подвесному конвейерному устройству, соответствующему изобретению, имеющему описанную выше конструкцию, поскольку приемники автоматически устанавливаются во внутреннее и внешнее положения посредством зацепления между зацепляющимися выемками и зацепляющимися элементами, зацепляющиеся элементы могут быть неподвижными элементами, как обычные подъемные запорные штифты, и могут быть элементами, прикрепленными к сторонам опорного элемента приемника таким образом, что при соединении с конструкцией, в которой приемники удерживаются параллельными соединениями и направляющие скольжения стопорного штифта для направления обычных стопорных штифтов не требуются, конструкция всей секции приемника становится очень простой и может быть выполнена с небольшими размерами.
Состояние, в котором приемники устанавливаются во внутреннее и внешнее положения посредством зацепления между зацепляющимися выемками и зацепляющимися элементами, может поддерживаться нагружающими силами подпружинивающих средств, которые притягивают вниз приемники к сторонам опорного элемента приемника таким образом, что средства для запирания приемников во внутреннем и внешнем положениях по существу не требуются, однако в случае, когда приемники находятся во внешних положениях, когда захваты подвески открыты наружу для загрузки и разгрузки объекта, который необходимо транспортировать, направления перемещения внутрь приемников становятся диагональными направлениями сверху вниз, и сила тяжести действует в направлении, способствующем перемещениям приемников внутрь, таким образом, что зацепляющиеся выемки входят в зацепление и выходят из зацепления с зацепляющимися элементами вследствие действия реактивных сил против нагружающих сил, и приемники могут непредвиденно перемещаться в поперечном направлении во внутренние положения, и их положение может переключаться, однако для решения этой проблемы благодаря использованию конструкции согласно второму варианту, по меньшей мере, когда приемники находятся во внешних положениях, зацепляющиеся выемки и зацепляющиеся элементы могут надежно предотвращать перемещение приемников во внутренние положения таким образом, что приемники могут безотказно удерживаться во внешних положениях, и безопасность может быть повышена. Для переключения приемников, находящихся во внешних положениях, во внутренние положения сами приемники отталкиваются вверх таким образом, что зацепляющиеся выемки выходят вверх из зацепления с зацепляющимися элементами, и по сравнению со случаем предшествующего уровня техники, когда небольшие стопорные штифты, выступающие в поперечном направлении в сторону от приемников, должны отталкиваться вверх, конструкция средства для отталкивания вверх, устанавливаемого на маршруте транспортировки конвейерного подвижного элемента, становится более простой.
Согласно третьему варианту, для переключения приемников, находящихся во внутренних положениях, во внешние положения нет необходимости разъединять зацепление между зацепляющимися выемками и зацепляющимися элементами посредством отталкивания вверх приемников, и приемники только непосредственно принудительно перемещаются во внешние положения таким образом, что среди точек переключения приемника, заданных на маршруте движения конвейерного подвижного элемента, в точке переключения приемника для переключения приемника, находящегося во внутреннем положении, во внешнее положение необходимость применения разблокирующего средства, то есть применения средства отталкивания вверх приемника, устраняется и конструкция упрощается, при этом затраты могут снижаться. Кроме того, для перемещения приемников из внутренних положений во внешние положения зацепляющиеся выемки должны входить во взаимодействие и выходить из взаимодействия с зацепляющимися элементами с противодействием нагружающим силам подпружинивающих средств таким образом, что сопротивление этому расцеплению может быть достаточно высоким, и опасность непредвиденных перемещений приемников из внутренних положений во внешние положения вследствие вибраций может быть устранена.
Кроме того, согласно четвертому варианту, не только вся совокупность, включающая приемник и опорную конструкцию для приемника на внутренней стороне нижнего конца захвата подвески, может быть сделана компактной, но также и средство подъема приемника, которое расположено на маршруте транспортировки, может также быть сделано компактным. В этом случае, согласно пятому варианту, опорная конструкция для приемника на внутренней стороне нижнего конца захвата подвески становится более простой. Кроме того, согласно шестому варианту, устойчивость приемников может быть повышена.
Кроме того, согласно седьмому варианту, пружины растяжения, составляющие подпружинивающие средства, имеют плоскую и очень простую конфигурацию, полученную только загибанием обоих концов материала прямой пружинной проволоки в форме дуг, и по сравнению с обычным случаем, когда в качестве подпружинивающего средства используется спиральная пружина растяжения, имеющая дугообразные крюки, сформированные на обоих концах, расходы могут быть дополнительно снижены, и подпружинивающее средство может быть встроено в опорную конструкцию приемника, если обеспечено пространство немного шире диаметра материала пружинной проволоки в конструкции таким образом, что поперечная ширина опорной конструкции приемника может быть значительно сужена. В этом случае, согласно восьмому варианту, эффективная длина пружины растяжения может быть увеличена, и она может быть встроена без возможности легкого отделения.
Краткое описание чертежей
Фиг. 1 – вид сбоку, показывающий транспортирующий подвижный элемент, имеющий подвеску для удерживания транспортируемого объекта;
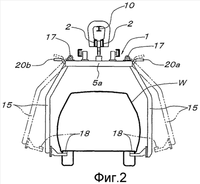
фиг. 2 – вид спереди этого конвейерного подвижного элемента;
фиг. 3 – вид в плане, показывающий средство привода приемника в точке переключения приемника и приемники;
фиг. 4 – вид в плане, показывающий средство подъема приемника и приемники;
фиг. 5 – вид сзади, показывающий средство привода приемника, средство подъема приемника и приемник на одной стороне в точке переключения приемника;
фиг. 6 – частичный продольный вид сбоку в разрезе, показывающий средство привода приемника, средство подъема приемника и приемник на одной стороне в точке переключения приемника с внутренней стороны;
фиг. 7 – продольный вид спереди в разрезе главной части, показывающий приемник, удерживаемый во внутреннем положении, средство привода приемника и средство подъема приемника;
фиг. 8 – продольный вид спереди в разрезе главной части, показывающий состояние, в котором приемник, показанный на фиг. 7, перемещен во внешнее положение средством привода приемника;
фиг. 9 – продольный вид спереди главной части, показывающий состояние, в котором приемник во внешнем положении поднят средством подъема приемника;
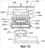
фиг. 10 – продольный вид сбоку в разрезе элементов, показанных на фиг. 7 или фиг. 8;
фиг. 11 – частичный продольный вид сбоку в разрезе, показывающий детали опорной конструкции приемника; и
фиг. 12 – продольный вид сбоку в разрезе опорной конструкции приемника в положении зацепляющегося элемента.
Описание ссылочных позиций
1: конвейерный подвижный элемент;
14: подвеска для удерживания транспортируемого объекта;
15: пара передних левого и правого захватов подвески;
16: пара задних левого и правого захватов подвески;
18: приемник;
21a, 21b: пара опорных элементов приемника;
22a, 22b: пара опорных элементов соединительной оси;
23, 24: две пары параллельных соединений;
25a, 25b: соединение;
26a, 26b: нижние опорные оси;
27a, 27b: верхние опорные оси;
28, 28b: пружина растяжения;
31: продолговатое отверстие;
32a, 32b: две внутренние и внешние зацепляющиеся выемки;
33: зацепляющийся элемент;
34: вертикальная поверхность зацепления;
35A, 35B: средство подъема приемника;
36A, 36B: средство привода приемника;
37a, 37b: пара из левого и правого подвижных элементов;
38: подъемный направляющий стержень;
39: гидравлический цилиндр;
40: подъемный опорный рычаг;
41: толкатель;
42: элемент с открытой вниз выемкой;
43: пара из левого и правого подвижных элементов;
45: направляющая скольжения;
46: ползун;
47: пара из левого и правого гидравлических цилиндров;
Р1: внутреннее положение целевого приемника переключения положения;
P2: внешнее положение целевого приемника переключения положения;
W: транспортируемый объект.
Лучший вариант осуществления изобретения
Далее будет подробно описан вариант осуществления изобретения со ссылками на прилагаемые чертежи. На фиг. 1 и фиг. 2 ссылочная позиция 1 обозначает транспортирующий подвижный элемент, состоящий из пары из передней и задней несущих роликовых тележек 3 и 4, удерживаемых на подвесных направляющих рельсах 2, несущих балок 5, подвешенных на этих несущих роликовых тележках 3 и 4, и передней свободной роликовой тележки 8 и задней свободной роликовой тележки 9, которые соединены с соответствующими несущими роликовыми тележками 3 и 4 соединительными стержнями 6 и 7 и удерживаются на подвесных направляющих рельсах 2. Этот конвейерный подвижный элемент 1 приводится в движение, когда толкатель 12, расположенный на приводной цепи 11, которая подвешена на направляющей 10 приводной цепи, уложенной на верхних сторонах подвесных направляющих рельсов 2 вдоль подвесных направляющих рельсов через роликовую тележку и приводимой в движение приводным средством, которое не показано, толкает сзади главный зацеп 13, который расположен на передней свободной роликовой тележке 8, так, чтобы он продвигался вперед и отступал назад.
В конвейерном подвижном элементе 1 подвеска 14 для удерживания транспортируемого объекта подвешена на несущей балке 5. Эта подвеска 14 состоит из пары передних левого и правого захватов 15 подвески и пары задних левого и правого захватов 16 подвески, и каждая из пар левых и правых захватов 15 и 16 подвески снабжена приемниками 18, верхние концы которых шарнирно удерживаются на левых и правых концах поперечных элементов 5a и 5b, непрерывно проходящих в поперечном направлении на переднем и заднем концах несущей балки 5, таким образом, что они открываются и закрываются влево и вправо на горизонтальных опорных осях 17, проходящих в направлении вперед и назад, при этом внутренние стороны их нижних концов снабжены приемниками 18, которые поддерживают снизу с левой и правой сторон транспортируемый объект W.
В подвеске 14 в этом варианте осуществления изобретения пара задних левого и правого захватов 16 подвески разделена на верхние части 16U захватов и нижние части 16L захватов, имеющие приемники 18, и верхние части 16U захватов шарнирно удерживаются опорными осями 17 и соединены с верхними секциями пары передних левых и правых захватов 15 подвески соответствующей парой левых и правых соединительных элементов 19a и 19b в переднем и заднем направлении, и нижние части 16L захватов удерживаются соединительными элементами 19a и 19b с возможностью изменения положения в переднем и заднем направлениях в диапазоне L. Таким образом, посредством изменения положения в переднем и заднем направлениях нижних частей 16L захватов пары из задних левого и правого захватов 16 подвески расстояние между приемниками 18 пары передних левого и правого захватов 15 подвески и приемниками 18 пары задних левого и правого захватов 16 подвески может изменяться в соответствии с типом транспортируемого объекта W. Посредством подъема открывающих рычагов 20a и 20b, расположенных на паре из левого и правого соединительных элементов 19a, ориентированных в переднем и заднем направлении рабочим средством, расположенным на маршруте движения, пара передних левого и правого захватов 15 подвески и пара задних левого и правого захватов 16 подвески могут быть открыты целиком.
В подвеске 14 в этом варианте осуществления изобретения приемники 18 пары задних левого и правого захватов 16 подвески могут изменять положение в направлении открывания и закрывания (в поперечных направлениях влево и вправо) захватов 16 подвески. В приведенном ниже подробном описании конструкции и действия приемники 18 пары задних левого и правого захватов 16 подвески будут называться целевыми приемниками 18 с переключением положения.
На нижних концах пары задних левого и правого захватов 16 подвески, то есть на нижних концах нижних частей 16L захвата, как показано на фиг. 3-5, расположены опорные кронштейны 16а приемника, проходящие внутрь, и на концах этих опорных кронштейнов 16а приемника расположена пара параллельных опорных элементов 21a и 21b приемника, проходящих внутрь. Целевой приемник 18 с переключением положения снабжен крепежным средством 18b для удерживания транспортируемого объекта над основанием 18a, удерживаемым с возможностью движения в направлении открывания и закрывания захвата подвески на опорных элементах 21a и 21b приемника, и под основанием 18a расположена пара выступающих опорных элементов 22a и 22b соединительной оси, которые расположены параллельно опорным элементам 21a и 21b приемника и свободно установлены между опорными элементами 21a и 21b приемника, и опорные элементы 22a и 22b соединительной оси и опорные элементы 21a и 21b приемника соединены двумя парами параллельных соединений 23 и 24, расположенных параллельно между парой опорных элементов 22a и 22b соединительной оси.
Нижние концы пары соединений 25a и 25b, параллельных друг к другу и формирующих параллельные соединения 23 и 24, удерживаются нижними опорными осями 26a и 26b, проходящими поперек пары опорных элементов 21a и 21b приемника, и верхние концы соединений 25a и 25b удерживаются верхними опорными осями 27a и 27b, проходящими поперек пары опорных элементов 22a и 22b соединительной оси. Таким образом, целевой приемник 18 с переключением положения может перемещаться параллельно между внутренним положением Р1 и внешним положением P2 в направлении открывания и закрывания захвата подвески, что сопровождается параллельным качанием двух пар параллельных соединений 23 и 24. Во время этого параллельного перемещения между внутренним положением Р1 и внешним положением P2 основание 18a целевого приемника 18 с переключением положения 18 выдвигается от пары опорных элементов 21a и 21b приемника, однако оно удерживается парой опорных элементов 21a и 21b приемника, когда оно находится во внутреннем положении Р1 и внешнем положении P2 на обоих концах.
Между парой опорных элементов 22a и 22b соединительной оси на стороне целевого приемника 18 с переключением положения и парой опорных элементов 21a и 21b приемника на стороне захвата 16 подвески, в качестве пружинных элементов для притягивания вниз целевого приемника 18 с переключением положения к стороне опорных элементов 21a и 21b приемника, вставлены две пары пружин 28a и 28b растяжения. Пружины 28a и 28b растяжения сформированы посредством загибания материала пружинной проволоки в S-образной конфигурации и вставлены посредством установки снаружи обеих дугообразных секций 29 и 30 на верхние опорные оси 27a и 27b на стороне опорных элементов 22a и 22b соединительной оси и нижние опорные оси 26a и 26b на стороне опорных элементов 21a и 21b приемника, и в это время начальные длины пружин 28a и 28b растяжения заданы так, что расстояния между обеими оконечными дугообразными секциями 29 и 30 немного увеличиваются вследствие деформации против упругости обеих оконечных дугообразных секций 29 и 30, и прикладывается натяжение между верхними опорными осями 27a и 27b и нижними опорными осями 26a и 26b.
В этом варианте осуществления изобретения, для получения натяжения с необходимой силой, две пружины 28a и 28b растяжения установлены каждая между верхними опорными осями 27a и 27b и нижними опорными осями 26a и 26b, однако, в зависимости от устройства пружин 28a и 28b растяжения, одна пружина 28a или 28b растяжения может быть установлена между верхними опорными осями 27a и 27b и нижними опорными осями 26a и 26b, или, согласно обстоятельствам, одна или две параллельные пружины 28a (или 28b) растяжения могут быть установлены между верхней опорной осью 27a (или 27b) и нижней опорной осью 26a (или 26b). Отдельно от верхних опорных осей 27a и 27b и нижних опорных осей 26a и 26b, шарнирно удерживающих параллельные соединения, также возможно, что пара опорных элементов 22a и 22b соединительной оси на стороне приемника 18 и пара опорных элементов 21a и 21b приемника на стороне захвата 16 подвески снабжены секциями зацепления с пружиной, и пружины растяжения установлены между этими секциями зацепления с пружиной. Конечно, в качестве пружинных элементов могут использоваться средства, отличные от пружин 28a и 28b растяжения, устроенных, как описано выше, например, обычные спиральные пружины и пластинчатые пружины.
Как показано на фиг. 11, отверстия для оси для вставки верхних опорных осей 27a и 27b, расположенные на верхних концах соединений 25a и 25b параллельных соединений 23 и 24, являются продолговатыми отверстиями 31, которые проходят вертикально вверх от верхних опорных осей 27a и 27b, когда целевой приемник 18 с переключением положения находится во внешнем положении P2 (см. фиг. 8). Таким образом, во внутреннем положении Р1 (см. фиг. 7) или внешнем положении P2 (см. фиг. 8) целевой приемник 18 с переключением положения, который находится на уровне, на котором основание 18a удерживается парой опорных элементов 21a и 21b приемника, может выдвигаться вверх в пределах продолговатых отверстий 31 с противодействием натяжению пружин 28a и 28b растяжения в продольных направлениях продолговатых отверстий 31.
В средних положениях параллельных соединений 23 и 24 на нижних сторонах пары опорных элементов 22a и 22b соединительной оси на стороне целевого приемника 18 с переключением положения, в двух точках в продольном направлении нижней стороны (двух внутренней и внешней точках в направлении открывания и закрывания захвата подвески) расположены зацепляющиеся выемки 32a и 32b. Между парой опорных элементов 21a и 21b приемника на стороне захвата 16 подвески расположен зацепляющийся элемент 33, который входит в зацепление с внутренней зацепляющейся выемкой 32a, когда целевой приемник 18 с переключением положения находится во внешнем положении P2 (см. фиг. 8), и входит в зацепление с внешней зацепляющейся выемкой 32b, когда целевой приемник 18 с переключением положения находится во внутреннем положении Р1 (см. фиг. 7). Этот зацепляющийся элемент 33 сформирован из круглого стержня, оба конца которого прикреплены посредством сварки и т.д. к паре опорных элементов 21a и 21b приемника в среднем положении параллельных соединений 23 и 24, и сформирована вертикальная поверхность 34 зацепления посредством срезания периферийной поверхности материала круглого стержня. В состоянии, когда целевой приемник 18 с переключением положения находится во внешнем положении P2, и зацепляющийся элемент 33 входит в зацепление с внутренней зацепляющейся выемкой 32a, вертикальная поверхность 34 зацепления элемента 33 зацепления входит в контакт с внутренней вертикальной поверхностью на одной стороне внутренней зацепляющейся выемки 32a для предотвращения перемещения целевого приемника 18 с переключением положения во внутреннее положение Р1. Когда целевой приемник 18 с переключением положения, находящийся во внутреннем положении Р1, показанном на фиг. 7, перемещается во внешнее положение P2, целевой приемник 18 с переключением положения (нижние стороны пары опорных элементов 22a и 22b соединительной оси) взаимодействует с зацепляющимся элементом 33, зацепляющимся одной стороной с внешней зацепляющейся выемкой 32b, с использованием расширяющейся вниз наклонной боковой поверхности на одной стороне внешней зацепляющейся выемки 32b и периферийной поверхности круглого зацепляющегося элемента 33, для разъединения зацепления между внешней зацепляющейся выемкой 32b и зацепляющимся элементом 33. Целевой приемник 18 с переключением положения (нижние стороны пары опорных элементов 22a и 22b соединительной оси) взаимодействует с зацепляющимся элементом 33 при выполнении направленных вверх перемещений верхних опорных осей 27a и 27b в продолговатом отверстии 31 и направленном вверх перемещении целевого приемника 18 с переключением положения (пары поддерживающих соединительную ось элементов 22a и 22b) в соответствии с качанием и фиксацией параллельных соединений 23 и 24.
Как ясно из описанной выше конструкции, как показано на фиг. 7, целевой приемник 18 с переключением положения во внутреннем положении Р1 удерживается во внутреннем положении Р1 только зацеплением внешней зацепляющейся выемки 32b с зацепляющимся элементом 33 силами растяжения пружин 28a и 28b растяжения таким образом, что целевой приемник 18 с переключением положения может быть принудительно перемещен во внешнее положение P2 заданным или большим рабочим усилием, однако, как показано на фиг. 8, целевой приемник 18 с переключением положения во внешнем положении P2 удерживается в этом внешнем положении P2 зацеплением внутренней зацепляющейся выемки 32a с зацепляющимся элементом 33 силами растяжения пружин 28a и 28b растяжения, и одновременно полностью предотвращается его перемещение во внутреннее положение Р1 контактом между внутренней вертикальной поверхностью на одной стороне внутренней зацепляющейся выемки 32a и вертикальной поверхности 34 зацепления зацепляющегося элемента 33. То есть целевой приемник 18 с переключением положения заперт во внешнем положении P2, и в этом состоянии целевой приемник 18 с переключением положения не может быть принудительно перемещен во внутреннее положение Р1.
Как показано на фиг. 3-6, в точках переключения приемника, заданных на маршруте движения конвейерного подвижного элемента 1, расположены средства 35A и 35B подъема приемника и средства 36A и 36B привода приемника. Средства 35A и 35B подъема приемника и средства 36B и 36B привода приемника расположены по одной паре на левой и правой сторонах, параллельных друг другу, так, что они соответствуют приемникам 18, то есть целевые приемники с переключением положения пары задних левого и правого захватов 16 подвески 14 для удерживания транспортируемого объекта на конвейерном подвижном элементе 1, когда конвейерный подвижный элемент 1 останавливается в заданном положении, и, как описано выше, пара из задних левого и правого захватов 16 подвески, включающих целевые приемники 18 с переключением положения, может изменять положение в диапазоне L таким образом, что положения средств 35А и 35В подъема приемника автоматически регулируются вперед и назад в направлении движения конвейерного подвижного элемента 1 в соответствии с текущими положениями пары задних левого и правого захватов 16, когда конвейерный подвижный элемент 1 останавливается в заданном положении.
То есть принимающие толкающие вверх средства 35A и 35B прикреплены к паре из левого и правого подвижных элементов 37a и 37b соответственно, которые автоматически регулируются по положению вперед и назад в направлении движения конвейерного подвижного элемента 1 в сцепленном состоянии в соответствии с текущими положениями пары задних левого и правого захватов 16 подвески, когда конвейерный подвижный элемент 1 останавливается в заданном положении, и состоит из подъемных опорных рычагов 40, которые удерживаются на внутренних концах подвижных элементов 37a и 37b с возможностью свободного подъема при помощи подъемных направляющих стержней 38 и приводятся в действие для подъема в заданном диапазоне гидравлическими цилиндрами 39 и толкателями 41, прикрепленными к верхним сторонам оконечностей подъемных опорных рычагов 40, и, как показано на фиг. 8, конвейерный подвижный элемент 1, целевые приемники 18 с переключением положения которого удерживаются во внешних положениях P2, останавливаются в заданном положении, как показано на фиг. 8 и фиг. 10, и толкатель 41 располагается непосредственно под точкой между внутренними соединениями 25a параллельных соединений 23 и 24 и зацепляющимися элементами 33, и в этом состоянии, посредством подъема подъемных опорных кронштейнов 40 гидравлическими цилиндрами 39, толкатель 41 входит между парой из левого и правого поддерживающих приемник элементов 41a и 41b снизу и может поднимать целевой приемник 18 с переключением положения через пару из левого и правого опорных элементов 22a и 22b соединительной оси.
Приводное средство 36A и 36B приемника также может быть снабжено открытыми вниз желобчатыми элементами 45, имеющими длину, аналогичную диапазону L, которые могут сопрягаться с крепежными средствами 18b для удерживания транспортируемого объекта на целевых приемниках 18 с переключением положения на внутренних сторонах нижних концов пары задних левого и правого захватов 16 подвески, когда текущие положения захватов 16 подвески находятся в диапазоне L, когда конвейерный подвижный элемент 1 останавливается в заданном положении. Пара из левого и правого подвижных элементов 43, которые индивидуально поддерживают желобчатые элементы 42 на их внешних концах, удерживается с возможностью поперечного движения в направлении влево и вправо (направлении открывания и закрывания захватов 16 подвески) через направляющую 45 скольжения и ползун 46, установленные на направляющей скольжения на держателе 44, проходящем в поперечном направлении влево и вправо, расположенном ниже маршрута движения подвески 14 для удерживания транспортируемого объекта, и приводятся в возвратно-поступательное движение парой из левого и правого гидравлических цилиндров 47, расположенных между держателем 44 и желобчатыми элементами 42.
В конвейерном устройстве, имеющем описанную выше конструкцию, когда конвейерный подвижный элемент 1, целевые приемники 18 с переключением положения которого удерживаются во внешних положениях P2, достигает точек переключения приемника благодаря регулировкам положения подвижных элементов 37a и 37b до или после того, как этот конвейерный подвижный элемент 1 достигает точки переключения приемника, как показано на фиг. 8 и фиг. 10, приводятся в действие средства 35А и 35В подъема приемника, расположенные в заданных положениях непосредственно под этими целевыми приемниками 18 с переключением положения. То есть посредством подъема подъемных опорных рычагов 40 гидравлическими цилиндрами 39, как показано на фиг. 9, толкатели 41, которые входят между парой из левого и правого опорных элементов 21a и 21b приемника снизу, толкают вверх целевые приемники 18 с переключением положения при помощи пары из левого и правого опорных элементов 22a и 22b соединительной оси. В результате, относительно зацепляющихся элементов 33, вставленных во внутренние зацепляющиеся выемки 32a на нижних сторонах пары из левой и правой опорных элементов 22a и 22b соединительной оси, как показано на фиг. 8, опорные элементы 22a и 22b соединительной оси отталкиваются вверх в пределах длин продолговатых отверстий 31, как показано на фиг. 9, и внутренние зацепляющиеся выемки 32a выходят из зацепления с зацепляющимися элементами 33 по направлению вверх, и целевые приемники 18 с переключением положения во внешних положениях P2 разблокируются.
С другой стороны, когда конвейерный подвижный элемент 1 достигает точек переключения приемника, везде, где пара задних левого и правого захватов 16 подвески находится в диапазоне L регулирования и в каких бы положениях ни были целевые приемники 18 с переключением положения, то есть во внутренних положениях Р1 или внешних положениях P2, эти целевые приемники 18 с переключением положения входят внутрь открытых вниз желобчатых элементов 42 в ожидании в исходных положениях средств 36A и 36B привода приемника, как показано на фиг. 7 и фиг. 9. Таким образом, как описано выше, гидравлические цилиндры 47 средств 36A и 36B привода приемника приводятся в действие после того, как целевые приемники 18 с переключением положения во внешних положениях P2 разблокируются средствами 35A и 35B подъема приемника и, как показано воображаемыми линиями фиг. 9, желобчатые элементы 42 перемещаются в поперечном направлении к внутренней стороне (сторонам центрального положения в направлении влево и вправо по ширине маршрута движения) из исходных положений, посредством чего целевые приемники 18 с переключением положения, разблокированные во внешних положениях P2, могут перемещаться во внутренние положения Р1 при помощи крепежных средств 18b для удерживания транспортируемого объекта.
После того, как внутренние зацепляющиеся выемки 32a перемещаются от зацепляющихся элементов 33 из положений непосредственно над зацепляющимися элементами 33, толкатели 41 средств 35А и 35В подъема приемника, которые подняли целевые приемники 18 с переключением положения для разблокирования, опускаются, пока целевые приемники 18 с переключением положения не достигнут внутренних положений Р1. В результате, когда целевые приемники 18 с переключением положения достигают внутренних положений Р1, как показано на фиг. 7, целевые приемники 18 с переключением положения отталкиваются вниз силами растяжения пружин 28a и 28b растяжения таким образом, что внешние зацепляющиеся выемки 32b входят в зацепление с зацепляющимися элементами 33 и удерживают целевые приемники 18 с переключением положения во внутренних положениях Р1.
Переключение положения целевых приемников 18 с переключением положения выполняется, как описано выше, посредством разблокирования целевых приемников 18 с переключением положения, запертых во внешних положениях P2 средствами 35A и 35B подъема приемника и перемещения их во внутренние положения Р1 средствами 35A и 35B привода приемника, однако, как показано на фиг. 7, для переключения положений целевых приемников 18 с переключением положения, удерживаемых во внутренних положениях Р1, во внешние положения P2, желобчатые элементы 42 средств 36A и 36B привода приемника сразу перемещаются в поперечном направлении наружу из исходных положений без приведения в действие средств 35A и 35B подъема приемника. В этом случае, как указано выше, когда целевые приемники 18 с переключением положения принудительно перемещаются из внутренних положений Р1 и внешних положений P2 поперечными перемещениями желобчатых элементов 42 при помощи крепежных средств 18b для удерживания транспортируемого объекта, посаженных в желобчатые элементы 42, внешние зацепляющиеся выемки 32b входят в контакт с зацепляющимися элементами 33 поверх них и перемещаются наружу, выполняя направленные вверх перемещения целевых приемников 18 с противодействием силам растяжения пружин 28a и 28b растяжения. В этом случае, когда целевые приемники 18 с переключением положения 18 достигают внешних положений P2, как показано на фиг. 8, целевые приемники 18 с переключением положения отталкиваются вниз силами растяжения пружин 28a и 28b растяжения, внутренние зацепляющиеся выемки 32a входят в зацепление с зацепляющимися элементами 33, и целевые приемники 18 с переключением положения, удерживаемые опорными элементами 21a и 21b приемника, запираются зацепляющимися элементами 33 (вертикальными зацепляющимися поверхностями 34) и внутренними зацепляющимися выемками 32a, входящими в зацепление с зацепляющимися элементами.
Хотя показана подвеска 14 для удерживания транспортируемого объекта, включающая пару задних левого и правого захватов 16 подвески, положения которых могут изменяться для регулирования расстояния до пары передних левого и правого захватов подвески, однако подвеска 14 для удерживания транспортируемого объекта может также иметь передний и задний захваты 15 и 16 подвески с фиксированным расстоянием между ними. Кроме того, показана подвеска 14 с двумя передней и задней парами захватов 15 и 16 подвески, однако также может использоваться подвеска для удерживания транспортируемого объекта, которая имеет пару левого и правого захватов подвески, включающих передние приемники и задние приемники. Более того, среди четырех приемников 18 в сумме двух передних и задних пар на левой и правой сторонах, пара задних левого и правого приемников 18 выполнена как переключаемая по положению между внутренними и внешними положениями в направлении открывания и закрывания захвата подвески, однако все приемники 18 могут также быть переключаемыми по положению.
Выше описан пример, в котором средства 35A и 35B подъема приемника и средства 36А и 36B привода приемника расположены в точках переключения приемника, заданных на маршруте движения конвейерного подвижного элемента 1, однако, если применяют точки переключения приемника, в которых осуществляется только переключение целевых приемников 18 с переключением положения из внутренних положений Р1 во внешние положения P2, в этих точках переключения приемника средства 35A и 35B подъема приемника не требуются. Однако подобно взаимозависимости между внутренними зацепляющимися выемками 32a и зацепляющимися элементами 33, когда внешние зацепляющиеся выемки 32b и зацепляющиеся элементы 33 имеют конфигурацию для предотвращения перемещения целевых приемников 18 с переключением положения, удерживаемых во внутренних положениях Р1, во внешние положения P2, и продолговатые отверстия 31 сформированы так, что они проходят вверх непосредственно над верхними опорными осями 27a и 27b, когда целевые приемники 18 с переключением положения удерживаются во внутренних положениях Р1 (то есть сформированы в форме веера), для обеспечения запирания целевых приемников 18 с переключением положения также во внутренних положениях Р1, средства 35A и 35B подъема приемника необходимы во всех положениях переключения приемника.
Промышленная применимость
Подвесное конвейерное устройство, соответствующее изобретению, может эффективно использоваться на автомобильной сборочной линии для сборки деталей на автомобильных кузовах, когда, по меньшей мере, два типа автомобилей подвешивают на открываемой и закрываемой подвеске и транспортируют на ней с удерживанием подвеской в различных положениях в поперечном направлении влево и вправо.
Формула изобретения
1. Подвесное конвейерное устройство, в котором подвеска (14) для удерживания транспортируемого объекта, подвешенного на конвейерном подвижном элементе (1), снабжена парой из левого и правого открываемых и закрываемых захватов (16) подвески, которые имеют приемники (18) для транспортируемого объекта (W) на внутренних сторонах их нижних концов, при этом их верхние концы шарнирно удерживаются таким образом, что они могут свободно качаться влево и вправо, причем приемники (18) могут переключаться между внутренними положениями (Р1) и внешними положениями (Р2) в направлении открывания и закрывания относительно захватов (16) подвески, при этом приемники (18) удерживаются на опорных элементах (21а и 21b) приемника на сторонах захватов (16) подвески параллельными соединениями (23 и 24) с возможностью поперечного перемещения между внутренним и внешним положениями (Р1 и Р2), и в секциях опорных осей параллельных соединений (23 и 24) выполнены продолговатые отверстия (31), которые обеспечивают вертикальное перемещение приемников (18), причем предусмотрены нагружающие средства (28а и 28b), которые подпружинивают приемники (18) в направлении притягивания приемника (18) вниз, к опорным элементам (21а и 21b) приемника, зацепляющийся элемент (33) на стороне опорных элементов (21а и 21b) приемника и внутренняя зацепляющаяся выемка (32а) на стороне приемника (18), которая входит в зацепление с зацепляющимся элементом (33), когда приемник (18) находится во внешнем положении (Р2), а в точках переключения приемника на маршруте движения конвейерного подвижного элемента (1) предусмотрено средство (42) привода приемника для поперечного перемещения приемника (18) между внутренними положениями (Р1) и внешними положениями (Р2).
2. Подвесное конвейерное устройство по п.1, в котором внешняя зацепляющаяся выемка (32b), которая входит в зацепление с зацепляющимся элементом (33), когда приемник (18) находится во внутреннем положении (Р1), предусмотрена на стороне приемника (18), причем среди зацепляющихся выемок (32а и 32b), по меньшей мере, внутренняя зацепляющаяся выемка (32а), которая входит в зацепление с зацепляющимся элементом (33), когда приемник (18) находится во внешнем положении (Р2), и этот зацепляющийся элемент (33) сформированы так, чтобы предотвращать перемещение приемника (18) во внутреннее положение (Р1), и среди точек переключения приемника, в которых предусмотрены средства (42) привода приемника, по меньшей мере, в точке переключения приемника для переключения приемника (18) из внешнего положения (Р2) во внутреннее положение (Р1), также предусмотрено средство (41) подъема приемника, которое толкает вверх приемник (18) от уровня, поддерживаемого опорными элементами (21а и 21b) приемника, для разъединения зацепления между внутренней зацепляющейся выемкой (32а) и зацепляющимся элементом (33).
3. Подвесное конвейерное устройство по п.2, в котором среди зацепляющихся выемок (32а и 32b), по меньшей мере, внешняя зацепляющаяся выемка (32b), которая входит в зацепление с зацепляющимся элементом (33), когда приемник (18) находится во внутреннем положении (Р1), и этот зацепляющийся элемент (33) могут быть сформированы так, что приемник (18) взаимодействует с зацепляющимся элементом (33) и проходит дальше него, когда приемник (18) движется к внешнему положению (Р2).
4. Подвесное конвейерное устройство по п.2, в котором два опорных элемента (21а и 21b) приемника расположены параллельно, и на приемнике (18), удерживаемом на опорных элементах (21а и 21b) приемника, предусмотрены выступающие опорные элементы (22а и 22b) соединительной оси, которые свободно установлены между двумя опорными элементами (21а и 21b) приемника, и параллельные соединения (23 и 24) предусмотрены между нижними опорными осями (26а и 26b), проходящими поперек пары опорных элементов (21а и 21b) приемника, и верхними опорными осями (27а и 27b), расположенными на опорных элементах (22а и 22b) соединительной оси, выполнены продолговатые отверстия (31) в удерживающих ось частях параллельных соединений (23 и 24), как отверстия для оси, в которые вставлены верхние опорные оси (27а и 27b) параллельных соединений (23 и 24), и две внутренние и внешние зацепляющиеся выемки (32а и 32b) сформированы на нижних сторонах опорных элементов (22а и 22b) соединительной оси, зацепляющийся элемент (33) проходит поперек пары опорных элементов (21а и 21b) приемника, и средство (41) подъема приемника выполнено так, что оно толкает нижние стороны опорных элементов (22а и 22b) соединительной оси между двумя опорными элементами (21а и 21b) приемника.
5. Подвесное конвейерное устройство по п.2, в котором подпружинивающее средство содержит пружины (28а и 28b) растяжения, установленные между нижними опорными осями (26а и 26b) и верхними опорными осями (27а и 27b), которые удерживают параллельные соединения (23 и 24).
6. Подвесное конвейерное устройство по п.5, в котором опорные элементы (22а и 22b) соединительной оси и параллельные соединения (23 и 24) расположены параллельными парами, и пружины (28а и 28b) растяжения расположены между двумя опорными элементами (22а и 22b) соединительной оси.
7. Подвесное конвейерное устройство по п.5, в котором пружины (28а и 28b) растяжения являются плоскими пружинами, сформированными посредством загибания обоих концов прямой пружинной проволоки в форме дуг в одной плоскости, и обе дугообразные секции (29 и 30) зацеплены вокруг нижних опорных осей (26а и 26b) и верхних опорных осей (27а и 27b).
8. Подвесное конвейерное устройство по п.7, в котором пружины (28а и 28b) растяжения имеют S-образную форму, дугообразные части (29 и 30) которой на обоих концах загнуты в противоположные стороны.
РИСУНКИ
|
|