|
(21), (22) Заявка: 2006139025/11, 30.03.2005
(24) Дата начала отсчета срока действия патента:
30.03.2005
(30) Конвенционный приоритет:
06.04.2004 FR 04/03616
(43) Дата публикации заявки: 20.05.2008
(46) Опубликовано: 27.06.2009
(56) Список документов, цитированных в отчете о поиске:
DE 19801058 А1, 15.07.1999. DE 19835065 А1, 10.02.2000. US 6161248 А, 19.12.2000. DE 19641042 А1, 09.04.1998. ЕР 1119478 А1, 01.08.2001.
(85) Дата перевода заявки PCT на национальную фазу:
07.11.2006
(86) Заявка PCT:
EP 2005/003316 20050330
(87) Публикация PCT:
WO 2005/108176 20051117
Адрес для переписки:
103735, Москва, ул. Ильинка, 5/2, ООО “Союзпатент”, пат.пов. Ю.В.Облову, рег. 905
|
(72) Автор(ы):
ЖАРАССОН Жан-Мишель (FR), ПОТОН Эрик (FR), ГРАССО Джузеппе (FR)
(73) Патентообладатель(и):
ВАЛЕО СИСТЭМ Д`ЭССЮАЖ (FR)
|
(54) ЩЕТКА СТЕКЛООЧИСТИТЕЛЯ С ДЕРЖАТЕЛЕМ, ВНУТРЕННИМ СТЕРЖНЕМ И СОЕДИНИТЕЛЬНОЙ ДЕТАЛЬЮ
(57) Реферат:
Изобретение относится к щеткам стеклоочистителей для автомобиля. Щетка 10 содержит держатель 12 с продольным трубчатым элементом 18, структурный элемент 14 в виде продольной горизонтальной пластины, расположенной внутри трубчатого элемента 18, и деталь 16 для соединения щетки 10 с приводным кронштейном, расположенную на держателе 12. Соединительная деталь 16 установлена на держателе 12 посредством двух вертикальных боковых продольных лапок 34. Боковые лапки 34 содержат выступы 40, которые взаимодействуют с выемками 42 в боковых кромках 14а структурного элемента 14 для фиксации последнего в трубчатом элементе 18. Достигается исключение люфта между элементами щетки стеклоочистителя. 21 з.п. ф-лы, 9 ил.
Изобретение относится к щетке стеклоочистителя типа «плоский скребок» (flat-blade) для автомобиля, содержащей соединительную деталь с приводным кронштейном, предназначенную для крепления структурного элемента с держателем.
В частности, изобретение относится к щетке стеклоочистителя автомобиля, содержащей:
– держатель, установленный в продольном главном направлении и содержащий средства для крепления очистительного скребка и трубчатый элемент, расположенный по главной продольной оси;
– структурный элемент в виде продольной горизонтальной пластины внутри трубчатого элемента;
– деталь для соединения щетки с приводным кронштейном, установленную на держателе и содержащую средства для продольной фиксации структурного элемента внутри трубчатого элемента.
При создании щетки стеклоочистителя малой высоты отказались от шарнирного выполнения щетки с очистительным скребком или пластиной в пользу комбинации полого щеткодержателя с продольным стержнем для придания жесткости, образующего собственно структуру щетки.
Держатель имеет вид продольно профилированного отрезка, содержащего трубчатый элемент, внутри которого располагается стержень в виде продольной горизонтальной пластины. Держатель содержит также нижние крюки для установки очистительного скребка.
Стержень выполнен из упругого материала, обеспечивающего прижатие очистительного скребка к поверхности очищаемого стекла.
Кроме того, щетка содержит деталь для ее соединения с приводным кронштейном, приводящим ее в движение, причем эта деталь установлена вокруг держателя и содержит средства для фиксации стержня от продольного смещения после его установки внутри держателя.
В US-A-6.161.248 описана щетка стеклоочистителя типа “плоского скребка”, в которой соединительная деталь связана со стержнем посредством упругих продольных выступов, расположенных в ответных канавках стержня.
Однако по мере использования щетки стеклоочистителя упругие продольные выступы постепенно деформируются, в результате чего в сборке образуется люфт, снижающий эффективность щетки.
Задачей изобретения является создание щетки стеклоочистителя, в которой средства фиксации стержня внутри держателя являются достаточно жесткими для предупреждения постепенной деформации и позволяют исключить образование любого люфта между разными элементами щетки стеклоочистителя.
Поэтому предметом изобретения является щетка стеклоочистителя описанного выше типа, характеризующаяся тем, что средства фиксации соединительной детали содержат выступы, которые взаимодействуют с выемками на боковых кромках структурного элемента для его фиксации в трубчатом элементе.
Предпочтительным является то, что выступы выполнены на вертикальных продольных боковых лапках соединительной детали.
Целесообразным является то, что каждый выступ расположен поперечно внутрь соединительной детали от внутренней вертикальной продольной поверхности соответствующей боковой лапки, при этом свободный поперечный конец каждого выступа содержит стопорный зубец, размещенный в соответствующей выемке структурного элемента.
Каждый стопорный зубец выполнен с возможностью прижатия части боковой стенки трубчатого элемента ко дну соответствующей выемки.
Для того чтобы во время сборки обеспечить одинаковый размер обеих частей соединительной детали в том случае, когда она состоит из двух частей, т.е. обеспечить постоянную ширину соединителя после сборки, и, следовательно, устранить отклонения, допущенные при изготовлении этих обеих частей или половинчатых деталей, зубцы выполнены с возможностью расплющивания в выемках структурного элемента.
Предпочтительным является то, что в боковых стенках и верхней поверхности трубчатого элемента выполнено боковое отверстие, которое расположено напротив каждой выемки структурного элемента и в которое входит стопорный зубец соответствующего выступа.
Боковое отверстие выполняется разрезанием соответствующей боковой стенки и верхней поверхности трубчатого элемента перед установкой соединительной детали на держателе.
Каждое боковое отверстие содержит вырез, выполненный на верхней горизонтальной поверхности трубчатого элемента, при этом свободный поперечный конец каждого выступа содержит верхний зубец, расположенный в упомянутом вырезе и предназначенный для продольной установки соединительной детали по отношению к держателю.
Каждый вырез и соответствующий верхний зубец имеют ответную форму, как правило, трапецеидальную, но могут иметь также квадратную, прямоугольную и даже трапецеидальную форму (в том случае, когда трубчатый элемент изготовлен предварительным вырезанием без отверстий предпочтительной является прямоугольная форма).
Боковое отверстие образовано разрезанием соответствующей боковой стенки и горизонтальных верхней и нижней поверхностей трубчатого элемента при установке соединительной детали на держателе.
Свободный поперечный конец каждого выступа содержит верхний зубец, расположенный над стопорным зубцом и выполненный с возможностью частичного разрезания соответствующей боковой стенки и верхней горизонтальной поверхности трубчатого элемента, нижний зубец, расположенный под стопорным зубцом и выполненный с возможностью частичного разрезания соответствующей боковой стенки и нижней горизонтальной поверхности трубчатого элемента, причем стопорный зубец выполнен с возможностью частичного прорезания отверстия при установке соединительной детали на держателе.
Стопорный зубец расположен поперечно с отступом по отношению к верхнему и нижнему зубцам.
Предпочтительным является то, что верхний и нижний зубцы расположены вертикально с обеих сторон структурного элемента таким образом, чтобы обеспечивалась вертикальная установка структурного элемента по отношению к соединительной детали.
Стопорный, верхний и/или нижний зубцы имеют форму призмы треугольного горизонтального сечения (в варианте выполнения трубчатого элемента предварительной вырезкой зубцы имеют преимущественно цилиндрическую или же треугольную форму).
Каждая выемка в структурном элементе выполнена, как правило, треугольной формы, являющейся ответной по отношению к соответствующему стопорному зубцу, или цилиндрической в варианте выполнения структурного элемента предварительным вырезанием.
Каждая выемка в структурном элементе содержит первый участок преимущественно прямоугольной формы, расположенный на боковой кромке структурного элемента, и второй участок, как правило, треугольной формы (или цилиндрической формы в варианте выполнения предварительной вырезкой), являющейся ответной по отношению к соответствующему стопорному зубцу, этот участок выполнен на продольном дне первого участка.
Другие признаки и преимущества изобретения подробнее поясняются ниже со ссылкой на чертежи, на которых представлено:
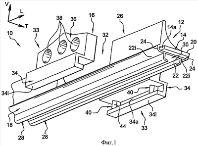
фиг.1 – схематичный вид в перспективе на щетку стеклоочистителя в разобранном состоянии согласно изобретению;
фиг.2 – щетка стеклоочистителя по фиг.1 перед установкой соединительной детали, горизонтальное сечение;
фиг.3 – вид, аналогичный виду по фиг.2, при этом соединительная деталь установлена на держателе и вертикальные стенки прижаты в выемках;
фиг.4 – вид, аналогичный виду по фиг.2, при этом показан другой вариант выполнения щетки, при котором каждая вертикальная стенка содержит соответствующий вырез для каждого выступа;
фиг.5 – вид, аналогичный виду по фиг.3, при этом щетка выполнена в соответствии с вариантом по фиг.4;
фиг.6 – вид, аналогичный виду по фиг.1, другой предпочтительный вариант выполнения щетки согласно изобретению, в котором каждый выступ содержит верхний и нижний зубцы и в котором держатель содержит соответствующие вырезы;
фиг.7 – схематичный вид сверху на щетку по фиг.6, при этом показана форма верхних зубцов на выступах и форма соответствующих вырезов;
фиг.8 – разрез щетки в вертикальной поперечной плоскости, согласно другому варианту выполнения изобретения, в котором верхние и нижние зубцы разрезают стенки трубчатого элемента;
фиг.9 – деталь выступа по фиг.8 в перспективе, изображение формы зубцов.
В описании применяются неограничивающие позиции V, L, Т для обозначения вертикального, продольного и поперечного направлений, используемых на чертежах.
В приводимом ниже описании идентичные, схожие или аналогичные элементы обозначены одними и теми же позициями.
На фиг.1 показана щетка 10 стеклоочистителя типа «плоского скребка» (flat-blade), содержащая держатель 12, установленный в главном продольном направлении с расположенными на нем другими компонентами щетки 10, структурный элемент 14, представляющий собой внутренний стержень в виде продольной горизонтальной пластины, соединительную деталь 16 для соединения щетки 10 стеклоочистителя с приводным кронштейном (не показан) и скребок (не показан).
Держатель 12 содержит центральный трубчатый элемент 18, расположенный по главной продольной оси, образованный верхней горизонтальной поверхностью 20, нижней горизонтальной поверхностью 22 и двумя продольными вертикальными боковыми стенками 24.
Очевидно, что такое выполнение трубчатого элемента не является ограничительным. Также трубчатый элемент может быть выполнен с сечением круглой или эллиптической формы, если он предназначен для размещения в нем структурного элемента 14 любой формы.
Кроме того, держатель 12 содержит верхнее продольное ребро жесткости 26, простирающееся вертикально вверх от горизонтальной верхней поверхности 20 элемента 18 и имеющее обтекаемую форму для создания усилий прижатия щетки 10 к поверхности стекла под действием воздушного потока при движении автомобиля.
Также держатель 12 содержит нижние средства для установки очистительного скребка, которые в данном случае представляют собой два продольных нижних крюка 28, расположенных напротив друг друга и образующих открытый снизу трубчатый элемент 30, в котором установлен скребок своей ответной верхней тыльной частью.
Структурный элемент 14 образует структурный элемент щетки 10, придающий жесткость держателю 12. Структурный элемент 14 выполнен из относительно твердого материала, например стали, и представляет собой продольную горизонтальную пластину внутри трубчатого элемента 18.
Соединительная деталь 16 установлена, как правило, продольно в центре держателя 12 внахлестку с элементом 18 держателя 12, т.е. она располагается над верхней горизонтальной поверхностью 20 по обеим сторонам боковых стенок 24.
Верхнее ребро жесткости 26 содержит отверстие 32, через которое соединительная деталь 16 устанавливается на держателе 12.
Соединительная деталь 16 состоит из двух частей 33, расположенных симметрично средней вертикальной продольной плоскости щетки 10 и установленных на элементе 18 с возможностью поперечного смещения.
Каждая часть 33 соединительной детали 16 содержит верхний буртик 36, опирающийся на горизонтальную верхнюю поверхность 20 элемента 18 и содержащий средства 38 для крепления на верхнем буртике 36 второй части соединительной детали 16.
Соединительная деталь 16 также содержит две нижних боковых лапки 34, каждая из которых ориентирована вниз от верхнего буртика 36 соответствующей части 33 и которые расположены поперечно по обеим сторонам элемента 18 держателя 12 таким образом, что обеспечивается поперечная установка соединительной детали 16 по отношению к элементу 18.
Свободный нижний конец 34i каждой боковой лапки 34 изогнут внутрь соединительной детали 16, образуя крюк, упирающийся в нижнюю поверхность 22i горизонтальной нижней стенки 22 элемента 18. Нижний конец 34i каждой боковой лапки 34 позволяет вертикально фиксировать соединительную деталь 16 в положении вокруг элемента 18.
Соединительная деталь 16 содержит средства продольной фиксации структурного элемента 14 после его установки внутри полого элемента 18 держателя 12.
Средства фиксации соединительной детали 16 содержат внутренние поперечные выступы 40, взаимодействующие с выемками 42 структурного элемента 14 для его фиксации внутри элемента 18 держателя.
Указанные выступы выполнены на боковых лапках 34.
Выемки 42 для размещения выступов 40 выполнены в боковых кромках 14а структурного элемента 14, при этом согласно данному варианту выполнения изобретения выемки 42 имеют ответную форму по отношению к выступам 40.
В данном случае каждая боковая лапка 34 содержит два выступа 40, и каждая боковая кромка 14а структурного элемента 14 содержит, следовательно, две выемки 42.
Каждый выступ 40 расположен поперечно внутрь соединительной детали 16 от внутренней вертикальной продольной поверхности 34а соответствующей боковой лапки 34, при этом его свободный внутренний конец содержит первый стопорный зубец 44, заведенный в соответствующую выемку 42 структурного элемента 14.
На фиг.2, 3 показан первый вариант выполнения выступов 40 и выемок 42, согласно которому боковая стенка 24 элемента 18 частично прижата ко дну соответствующей выемки 42 посредством стопорного зубца 44.
Такое прижатие боковой стенки 24, благодаря упругой или пластической деформации этой стенки 24, позволяет непосредственно фиксировать структурный элемент 14, для которого не требуется видоизменять держатель 12, что существенно снижает стоимость изготовления держателя 12 и, следовательно, щетки 10 стеклоочистителя.
На фиг.4 и 5 показан другой вариант выполнения изобретения, в котором боковые стенки 24 и горизонтальная верхняя поверхность 20 элемента 18 содержат боковое отверстие 46, расположенное напротив каждой выемки 42, и в которое заходит соответствующий стопорный зубец 44 соединительной детали 16.
Указанное боковое отверстие 46 выполняется предварительно до установки соединительной детали 16 на носителе 12 при отливке или вырезании последнего.
Таким образом, каждый стопорный зубец 44 располагается на дне соответствующей выемки 42, способствуя тем самым продольному закреплению структурного элемента 14 по отношению к соединительной детали 16.
При этом ширина каждого отверстия 46 выбирается такой, чтобы соответствующий стопорный зубец 44 постоянно обеспечивал прижатие соответствующей боковой стенки 24 ко дну выемки 42.
Согласно этому варианту выполнения каждая выемка 42 в стержне состоит из двух частей, а именно из первого участка 48, расположенного на боковой кромке стержня, и второго участка 50, расположенного на дне первого участка 48.
При этом первый участок 48 имеет продольное уширение по отношению ко второму участку и предназначен для размещения части боковой стенки 24 элемента 18, зажатого стопорным зубцом 44.
Держатель 12 выполнен из пластического материала, легкоотливаемого или экструдируемого. Однако, если примененный материал является малопригодным для деформации зубцами 44, это может ослабить на отдельных участках механическую прочность держателя 12.
На фиг.6 и 7 показан еще один вариант выполнения боковых отверстий 46, которые позволяют производить продольную установку соединительной детали 16 по отношению к держателю 12 во время сборки.
Боковое отверстие 46 содержит поэтому первый верхний вырез 52, расположенный поперечно внутрь держателя 12, второй промежуточный вырез 54 в боковой стенке 24 и нижний вырез 56 на горизонтальной нижней поверхности 22.
Каждый выступ 40 на соединительном элементе 16 содержит верхний зубец 58, расположенный над стопорным зубцом 44 и размещенный в верхнем вырезе 52, и нижний зубец 60, расположенный под стопорным зубцом 44 и размещенный в нижнем вырезе 56.
Верхний зубец 58 и нижний зубец 60 выполнены ответными по отношению к верхнему вырезу 52 и нижнему вырезу 60, что обеспечивает возможность установки соединительной детали 16 на держателе 12 без наличия люфта.
В данном случае, как это показано на фиг.7, верхний вырез 52 и ответный верхний зубец имеют преимущественно трапецеидальную форму и согласно предпочтительному варианту выполнения они образуют равнобедренную трапецию.
Кроме того, стопорный зубец 44 располагается поперечно с отступом по отношению к верхнему зубцу 58 и нижнему зубцу 60.
Боковая кромка 14а структурного элемента 14 располагается между верхним и нижним зубцами 58, 60, обеспечивая при этом вертикальную установку структурного элемента 14 в элементе 18, в частности, для поддержания структурного элемента 14 в горизонтальном положении.
Согласно этому варианту выполнения боковые отверстия 46 выполняются до сборки щетки 10, т.е. перед установкой структурного элемента 14 и соединительной детали 16.
Следовательно, для изготовления боковых отверстий 46 требуется дополнительная операция вырезания держателя 12 или изменение применяемых литейных форм.
На фиг.8 и 9 показан следующий вариант выполнения выступов 40, боковые отверстия 46 которых, т.е. верхний, промежуточный и нижний вырезы, соответственно 52, 54 и 56, выполняются во время установки соединительной детали 16 на держателе 12.
Для этого стопорный зубец 44, а также верхний и нижний зубцы 58, 60 способны произвести каждый вырезание части горизонтальной верхней поверхности 20, нижней горизонтальной поверхности 22 и расположенной напротив боковой стенки 24.
С этой целью каждый зубец 44, 58, 60 заострен, в данном случае имеют вид призмы с треугольным горизонтальным сечением, способной делать вырез в стенке элемента 18 подобно пуансону.
В этом варианте стопорный зубец 44 расположен поперечно с отступом по отношению к зубцам для того, чтобы верхний и нижний зубцы 58, 60 обеспечивали вертикальную установку структурного элемента 14 внутри элемента 18.
Формула изобретения
1. Щетка (10) стеклоочистителя автомобиля, содержащая держатель (12), установленный в главном продольном направлении, содержащий средства (28) для крепления очистительного скребка и трубчатый элемент (18), расположенный по главной продольной оси, структурный элемент (14) в виде продольной горизонтальной пластины, расположенной внутри трубчатого элемента (18), а также деталь (16) для соединения щетки (10) с приводным кронштейном, установленную на носителе (12) и содержащую средства фиксации структурного элемента (14) в продольном направлении внутри трубчатого элемента, отличающаяся тем, что средства фиксации соединительной детали (16) содержат выступы (40), взаимодействующие с выемками (42) в боковых кромках (14а) структурного элемента (14) для фиксации последнего в трубчатом элементе (18).
2. Щетка стеклоочистителя по п.1, в которой трубчатый элемент (18) образован верхней горизонтальной поверхностью (20), нижней горизонтальной поверхностью (22) и двумя вертикальными продольными боковыми стенками (24), при этом соединительная деталь (16) установлена на держателе (12) посредством двух вертикальных продольных боковых лапок (34), расположенных с обеих сторон боковых стенок (24) трубчатого элемента (18), отличающаяся тем, что выступы (40) выполнены на боковых лапках (34).
3. Щетка стеклоочистителя по п.2, отличающаяся тем, что каждый выступ (40) расположен поперечно внутрь соединительной детали (16) от внутренней вертикальной продольной поверхности (34а) соответствующей боковой лапки (34), при этом свободный поперечный конец каждого выступа (40) содержит стопорный зубец (44), расположенный в соответствующей выемке (42) структурного элемента (14).
4. Щетка стеклоочистителя по п.3, отличающаяся тем, что каждый стопорный зубец (44) выполнен с возможностью прижатия части боковой стенки (24) трубчатого элемента (18) ко дну соответствующей выемки (42).
5. Щетка стеклоочистителя по любому из пп.2-4, отличающаяся тем, что в боковых стенках (24) и верхней поверхности (20) трубчатого элемента (18) выполнено боковое отверстие (46), которое расположено напротив каждой выемки (42) структурного элемента (14) и предназначено для введения через него стопорного зубца (44) соответствующего выступа (40).
6. Щетка стеклоочистителя по п.5, отличающаяся тем, что боковое отверстие (46) образовано разрезанием соответствующей боковой стенки (24) и верхней поверхности (20) трубчатого элемента (18) до начала установки соединительной детали (16) на держателе (12).
7. Щетка стеклоочистителя по п.6, отличающаяся тем, что каждое боковое отверстие (24) содержит вырез (52), выполненный на горизонтальной верхней поверхности (20) элемента (18), при этом свободный поперечный конец каждого выступа (40) содержит верхний зубец (58), расположенный в указанном вырезе (52) и обеспечивающий продольную установку соединительной детали (16) по отношению к держателю (12).
8. Щетка стеклоочистителя по п.7, отличающаяся тем, что каждый вырез (52) и соответствующий верхний зубец (58) имеют ответные формы, как правило, трапецеидальные.
9. Щетка стеклоочистителя по п.5, отличающаяся тем, что боковое отверстие (46) образовано разрезанием соответствующей боковой стенки (24), а также горизонтальных верхней и нижней поверхностей (20, 22) трубчатого элемента (18) при установке соединительной детали (16) на держателе (12).
10. Щетка стеклоочистителя по п.9, отличающаяся тем, что свободный поперечный конец каждого выступа (40) содержит верхний зубец (58), расположенный над стопорным зубцом (44) и выполненный с возможностью частичного разрезания соответствующей боковой стенки (24) и верхней горизонтальной поверхности (20) трубчатого элемента (18), нижний зубец (60), расположенный под стопорным зубцом (44) и выполненный с возможностью частичного разрезания соответствующей боковой стенки (24) и нижней горизонтальной поверхности (22) трубчатого элемента (18), при этом стопорный зубец (44) выполнен с возможностью частичного разрезания соответствующей боковой стенки (24) для образования отверстия (46) при установке соединительной детали (16) на держателе (12).
11. Щетка стеклоочистителя по п.10, отличающаяся тем, что стопорный зубец (44) расположен поперечно с отступом по отношению к верхнему и нижнему зубцам (58, 60).
12. Щетка стеклоочистителя по п.10 или 11, отличающаяся тем, что верхний и нижний зубцы (58, 60) установлены вертикально с обеих сторон структурного элемента (14) таким образом, чтобы структурный элемент (14) устанавливался вертикально по отношению к соединительной детали (16).
13. Щетка стеклоочистителя по любому из пп.3, 4, 6-11, отличающаяся тем, что стопорный зубец (44), верхний зубец (58) и/или нижний зубец (60) выполнены в виде призмы с треугольным горизонтальным сечением.
14. Щетка стеклоочистителя по п.5, отличающаяся тем, что стопорный зубец (44), верхний зубец (58) и/или нижний зубец (60) выполнены в виде призмы с треугольным горизонтальным сечением.
15. Щетка стеклоочистителя по п.12, отличающаяся тем, что стопорный зубец (44), верхний зубец (58) и/или нижний зубец (60) выполнены в виде призмы с треугольным горизонтальным сечением.
16. Щетка стеклоочистителя по п.13, отличающаяся тем, что каждая выемка (42) структурного элемента (14) выполнена, в основном, треугольной формы, являющейся ответной по отношению к соответствующему стопорному зубцу (44).
17. Щетка стеклоочистителя по п.14 или 15, отличающаяся тем, что каждая выемка (42) структурного элемента (14) выполнена, в основном, треугольной формы, являющейся ответной по отношению к соответствующему стопорному зубцу (44).
18. Щетка стеклоочистителя по любому из пп.3, 4, 6-11, 14-16, отличающаяся тем, что каждая выемка (42) структурного элемента (14) содержит первый участок (48), в основном, прямоугольной формы, выполненный на боковой кромке (14а) структурного элемента (14), и второй участок (50), в основном, треугольной формы, являющейся ответной по отношению к соответствующему стопорному зубцу (44), выполненный на продольном дне первого участка (48).
19. Щетка стеклоочистителя по п.5, отличающаяся тем, что каждая выемка (42) структурного элемента (14) содержит первый участок (48), в основном, прямоугольной формы, выполненный на боковой кромке (14а) структурного элемента (14), и второй участок (50), в основном, треугольной формы, являющейся ответной по отношению к соответствующему стопорному зубцу (44), выполненный на продольном дне первого участка (48).
20. Щетка стеклоочистителя по п.12, отличающаяся тем, что каждая выемка (42) структурного элемента (14) содержит первый участок (48), в основном, прямоугольной формы, выполненный на боковой кромке (14а) структурного элемента (14), и второй участок (50), в основном, треугольной формы, являющейся ответной по отношению к соответствующему стопорному зубцу (44), выполненный на продольном дне первого участка (48).
21. Щетка стеклоочистителя по п.13, отличающаяся тем, что каждая выемка (42) структурного элемента (14) содержит первый участок (48), в основном, прямоугольной формы, выполненный на боковой кромке (14а) структурного элемента (14), и второй участок (50), в основном, треугольной формы, являющейся ответной по отношению к соответствующему стопорному зубцу (44), выполненный на продольном дне первого участка (48).
22. Щетка стеклоочистителя по п.17, отличающаяся тем, что каждая выемка (42) структурного элемента (14) содержит первый участок (48), в основном, прямоугольной формы, выполненный на боковой кромке (14а) структурного элемента (14), и второй участок (50), в основном, треугольной формы, являющейся ответной по отношению к соответствующему стопорному зубцу (44), выполненный на продольном дне первого участка (48).
РИСУНКИ
|