|
|
(21), (22) Заявка: 2008104661/11, 12.02.2008
(24) Дата начала отсчета срока действия патента:
12.02.2008
(46) Опубликовано: 27.06.2009
(56) Список документов, цитированных в отчете о поиске:
RU 2005084 C1, 30.12.1993. RU 2247662 C1, 10.03.2005. RU 2191705 С1, 27.10.2002. US 5772809 А, 30.06.1998.
Адрес для переписки:
105318, Москва, ул. Щербаковская, 35, кв.18, А.И.Терехову
|
(72) Автор(ы):
Терехов Анатолий Иванович (RU)
(73) Патентообладатель(и):
Терехов Анатолий Иванович (RU)
|
(54) ПОКРЫШКА ПНЕВМАТИЧЕСКОЙ ШИНЫ
(57) Реферат:
Изобретение относится к области автомобильных шин, в частности к конструкции грузовых радиальных шин с максимально допустимой нагрузкой 2500 кГс. Покрышка пневматической шины радиальной конструкции содержит протектор, брекер, боковины, каркас, состоящий из наружной и внутренней групп слоев обрезиненного корда, бортовые кольца. Каркас выполнен из трех слоев обрезиненного корда и содержит одну наружную и одну внутреннюю группы слоев. Количество слоев корда каркаса внутренней и наружной групп не менее одного и не более двух. Прочность нитей корда каркаса составляет 20-35 кГс/нить, суммарная частота нитей корда не менее 225-336 шт./100 мм. Изобретение позволяет уменьшить: массу покрышки, трудоемкость и энергоемкость ее производства. 3 ил.
Изобретение относится к области автомобильных шин, в частности к конструкции грузовых радиальных шин.
Известны грузовые радиальные шины, содержащие каркас из 4-6 слоев обрезиненного текстильного корда, брекер, протектор, боковины и бортовые кольца (авторские свидетельства СССР 1028532, кл. В60С 9/00; 1468775, кл. В60С 9/02, 1298100, кл. В60С 9/00; 1593979, кл. В60С 9/00; 1652106, кл. В60С 9/02; патенты РФ 2022807, кл. 60С 15/00; 2022808, кл. В60С 15/00, 2048991, кл. В60С 9/20; 2013216, кл. В60С 9/20; 2088424, кл. В60С 9/20; 2022806, кл. В60С 15/00; 2003491, кл. В60С 9/08; 2191705, кл. В60С 15/00; 2247662, кл. В60С 9/20.
Недостатком известных конструкций покрышек пневматических шин является невысокая работоспособность, повышенная материалоемкость и трудоемкость их изготовления.
Наиболее близким техническим решением является покрышка грузовой радиальной шины, по патенту РФ 2005084, кл. В60С 9/08. Эта покрышка пневматической шины радиальной конструкции содержит протектор, брекер, боковины, каркас, состоящий из наружной и внутренней групп слоев обрезиненного корда, бортовые кольца.
Недостатком прототипа является повышенная материалоемкость, энергоемкость и трудоемкость изготовления покрышки пневматической шины.
Техническим результатом изобретения является снижение материалоемкости, энергоемкости и трудоемкости изготовления покрышки пневматической шины посредством снижения массы каркаса при сохранении общей работоспособности пневматической шины.
Для достижения технического результата покрышка пневматической шины радиальной конструкции с максимально допустимой нагрузкой 2500 кГс, содержащая протектор, брекер, боковины, каркас, борт, состоящий из наружной и внутренней групп слоев обрезиненного корда, бортовые кольца, согласно изобретению каркас выполнен из трех слоев обрезиненного корда и содержит одну внутреннюю и одну наружную группу слоев, причем количество слоев корда каркаса внутренней и наружной групп не менее одного и не более двух, при этом каркас выполнен из слоев корда с разрывной прочностью нити не менее 20 и не более 35 кГс/нить и суммарной частотой нитей корда не менее 225 и не более 336 штук на длине 100 мм, при этом не менее 1 слоя внутренней группы каркаса завернуто на бортовое кольцо и не менее 1 слоя наружной группы каркаса завернуто под бортовое кольцо, причем количество бортовых проволок в сечении бортового кольца не менее 85 и не более 100 штук.
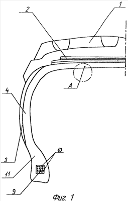
Изобретение иллюстрируется чертежами, на которых изображены меридиональное сечение покрышки пневматической шины (фиг.1), вид А (фиг.2), схема борта (фиг.3).
Покрышка пневматической шины радиальной конструкции содержит протектор 1, брекер 2, боковины 3, каркас 4 выполнен из трех слоев обрезиненного корда 5, борт 11 содержит одну внутреннюю группу 6 и одну наружную группу 7 слоев обрезиненного корда 5, каркас 4 выполнен из слоев корда 5 с разрывной прочностью нити 8 не менее 20 и не более 35 кГс/нить и суммарной плотностью нитей 8 не менее 225 и не более 336 штук на длине 100 мм, количество слоев 5 корда каркаса 4 внутренней группы 6 и наружной группы 7 не менее одного и не более двух. Слой 5 внутренней группы 6 завернуты на бортовое кольцо 9, слои 5 наружной группы 7 завернуты под бортовое кольцо 9, выполненное из бортовой проволоки 10.
При количестве слоев разрывной прочности нити корда и суммарной плотности нитей корда каркаса ниже предельного значения предложенных интервалов, каркас не имеет достаточного запаса прочности, что ведет к снижению обшей работоспособности пневматической шины.
При количестве слоев разрывной прочности нити корда и суммарной плотности нитей корда каркаса выше предельного значения предложенных интервалов, происходит снижение общей работоспособности покрышки пневматической шины из-за увеличения массы каркаса и, как следствие, повышенного теплообразования в слоях каркаса.
Пример изготовления опытных шин размера 9.00Р20, с максимально допустимой нагрузкой 2240 кГс и рабочим давлением в шина 6,4 кгс/см2. Эти шины имеют каркас из трех слоев корда с прочностью 30 кГс/нить. Материал внутренней группы каркаса 30 КНТС, внутренняя группа состоит из двух слоев, материал наружной группы каркаса 302 КНТС, наружная группа состоит из одного слоя. Суммарная частота нитей корда 263±1 шт.на длине 100 мм. Угол закроя слоев каркаса 0±1°, толщина обрезиненных слоев каркаса 1,15±0,05 мм. Два слоя каркаса внутренней группы завернуты на бортовое кольцо, один слой наружной группы завернут под бортовое кольцо. Бортовое кольцо: ширина кольца 14,2±1,5 мм, высота кольца 13,5±1,5 мм, количество бортовых проволок в сечении кольца 90 шт. Брекер выполнен из четырех слоев обрезиненного металлокорда марки 9Л23.
Сопоставительный анализ предложенного изобретения с прототипом (см. таблицу) показывает, что заявляемая покрышка пневматической шины радиальной конструкции отличается тем, что каркас вместо четырех слоев обрезиненного корда имеет три слоя обрезиненного корда с разрывной прочностью 20-35 кГс/нить и суммарной частотой нитей корда 225-336 шт./100 мм, при этом масса слоев корда каркаса на 1,1-1,3 кг и масса покрышки на 2 кг меньше, чем у прототипа, а общая работоспособность выше, чем у прототипа. При этом энергоемкость и трудоемкость производства каркасов покрышки на 25% меньше, чем у прототипа, а общая трудоемкость производства покрышки на 15% меньше, чем у прототипа.
 |
Показатели |
Шина 9.00Р20 |
| п/п |
 |
Прототип |
Заявленная шина |
| 1 |
2 |
3 |
4 |
| 1. |
Количество слоев каркаса, шт. |
4 |
3 |
| 2. |
Разрывная прочность каркаса, кГс/нить |
18 |
20-35 |
| 3. |
Количество групп: общее, шт. |
2 |
2 |
| 4. |
Количество слоев, шт.: |
 |
 |
 |
– во внутренней группе; |
3 |
2 |
 |
– в наружной группе; |
1 |
1 |
| 5. |
Суммарная частота нитей корда, шт./100 мм |
340 |
225-336 |
| 6. |
Масса слоев корда каркаса, кГс |
6,7 |
5,4-5,6 |
| 7. |
Максимально допустимая нагрузка на шину, кГс |
2500 |
2500 |
| 8. |
Общая работоспособность (пробег), км |
3250 |
3650-3850 |
| 9. |
Энергоемкость производства каркаса покрышки, % |
100 |
75 |
| 10. |
Трудоемкость производства каркаса покрышки, % |
100 |
75 |
| 11. |
Трудоемкость производства покрышки, % |
100 |
85 |
| 12. |
Масса покрышки, кГс |
45 |
43 |
Формула изобретения
Покрышка пневматической шины радиальной конструкции с максимально допустимой нагрузкой 2500 кГс, содержащая протектор, брекер, боковины, каркас, борт, состоящий из наружной и внутренней групп слоев обрезиненного корда, бортовые кольца, отличающаяся тем, что каркас выполнен из трех слоев обрезиненного корда и содержит одну внутреннюю и одну наружную группу слоев корда, причем количество слоев корда каркаса внутренней и наружной групп не менее одного и не более двух, при этом каркас выполнен из слоев корда с разрывной прочностью нити не менее 20 и не более 35 кГс/нить и суммарной частотой нитей корда не менее 225 и не более 336 штук на длине 100 мм, при этом не менее одного слоя внутренней группы каркаса завернуто на бортовое кольцо и не менее одного слоя наружной группы каркаса завернуто под бортовое кольцо, причем количество бортовых проволок в сечении бортового кольца не менее 85 и не более 100 шт.
РИСУНКИ
|
|