|
|
(21), (22) Заявка: 2007106085/12, 27.06.2005
(24) Дата начала отсчета срока действия патента:
27.06.2005
(30) Конвенционный приоритет:
08.11.2004 IT FI2004A000226
(43) Дата публикации заявки: 27.08.2008
(46) Опубликовано: 27.06.2009
(56) Список документов, цитированных в отчете о поиске:
ЕР 1110727 A1, 27.06.2001. SU 341213 A1, 05.06.1972. SU 371093 A1, 22.11.1973. RU 2009045 С1,15.03.1994. RU 2020075 С1, 30.09.1994. DE 4303381 A1, 01.12.1994.
(85) Дата перевода заявки PCT на национальную фазу:
19.02.2007
(86) Заявка PCT:
IT 2005/000368 20050627
(87) Публикация PCT:
WO 2006/048907 20060511
Адрес для переписки:
129090, Москва, ул. Б.Спасская, 25, стр. 3, ООО “Юридическая фирма Городисский и Партнеры”, пат.пов. С.А.Дорофееву, рег. 146
|
(72) Автор(ы):
ПЕТРИ Стефано (IT)
(73) Патентообладатель(и):
ФУТУРА С.П.А. (IT)
|
(54) УСТРОЙСТВО И СПОСОБ СНЯТИЯ ФОРМЫ С ПЕЧАТНОГО ЦИЛИНДРА В ПЕЧАТНЫХ МАШИНАХ
(57) Реферат:
Изобретение предназначено для машин, применяемых для печати на бумажных полосах, в частности на слоях для производства рулонных кухонных бумажных полотенец. Устройство для замены печатной формы на печатном цилиндре печатной машины или подобном устройстве, где цилиндр соединен с двигателем, приводящим его во вращение вокруг его продольной оси, и снабжен радиальными отверстиями, соединенными с отверстием для впуска воздуха, которое выполнено с возможностью соединения с источником сжатого воздуха посредством подающего средства. При этом оно содержит автоматическое средство, которое определяет положение отверстия для впуска воздуха относительно подающего средства и позиционирует отверстия для впуска воздуха и подающего средства возвратно-поступательным перемещением в положение соединения. При этом автоматическое определяющее и позиционирующее средство соединено с программируемым электронным средством, которое, когда указанное отверстие для впуска воздуха и подающее средство находятся на одной оси, осуществляет соединение и включает включающий/выключающий клапан, который, с одной стороны, соединен с источником сжатого воздуха и, с другой стороны, соединен с подающим средством. 2 н. и 11 з.п. ф-лы, 6 ил.
Настоящее изобретение относится к устройству и способу снятия формы с печатного цилиндра в печатных машинах. В частности, но не исключительно, предлагаемые устройство и способ предназначены для машин, относящихся к типу, применяемому для печати на бумажных полосах или слоях для производства рулонных кухонных бумажных полотенец, рулонов туалетной бумаги и пр.
Известно, что печатные машины указанного выше типа, также известные как флексографские печатные машины, содержат цилиндр, на который подается полотно, на котором осуществляется печать, и по меньшей мере один печатный цилиндр, на котором распределяется краска и с которого краска переносится на полосу материала. Для распределения краски по печатному цилиндру имеется устройство, которое называют “красочный аппарат”, который содержит резервуар с краской, распределяющий или “анилоксовый” цилиндр, принимающий краску из резервуара и переносящий ее через контакт на печатный цилиндр, и два ракеля, расположенных и работающих между резервуаром с краской и анилоксовым цилиндром. Такие печатные машины могут оснащаться дополнительными красочными аппаратами. Печатный цилиндр образован гладким цилиндрическим телом, на который надета съемная форма, имеющая форму гильзы, которая имеет рельеф, определяющий наносимый рисунок. Таким образом, для изменения печатаемого рисунка достаточно снять форму с печатного цилиндра и заменить ее на другую. Далее такая форма будет именоваться “печатной формой”.
Описанная выше операция обычно требуется для всех красочных аппаратов печатной машины. Машину во время замены печатных форм необходимо останавливать, что приводит к снижению производительности тем большей, чем больше времени требуется на проведение этой операции. Для того чтобы заменить печатную форму, необходимо ее немного расширить, чтобы она легче сходила с цилиндрического тела. Для этого печатный цилиндр снабжен отверстием для подачи воздуха, к которому вручную подсоединяют трубку, ведущую к воздушному компрессору. Таким образом, сжатый воздух, входящий в цилиндр, выходит через множество радиальных отверстий, выполненных в цилиндре, заставляет печатную форму расшириться и тем самым облегчает ее извлечение, т.е. снятие. По завершении операции замены печатной формы подачу сжатого воздуха прекращают и, прежде чем запустить машину, необходимо отсоединить трубку подачи сжатого воздуха от цилиндра. Эти операции выполняются на остановленном цилиндре и в его “консольном” положении, т.е. когда цилиндр заперт на стороне двигателя и свободен на стороне трансмиссии, чтобы обеспечить возможность снятия и последующей установки печатной формы, перемещая ее вдоль оси цилиндра, начиная со стороны оператора. Оператору сначала нужно подключить трубку со сжатым воздухом, а затем не забыть отсоединить ее перед повторным пуском машины, поскольку невыполнение этих операций может привести к травмам оператора и повреждению машины. Если трубка после замены печатной формы не будет отсоединена до повторного пуска машины, цилиндр и другие детали машины могут разрушиться и осколки могут нанести травмы оператору.
Главной целью настоящего изобретения является устранение вышеописанных недостатков.
Этот результат достигается по настоящему изобретению за счет использования идеи, согласно которой предлагается устройство и способ, отличительные признаки которых приведены в независимых пунктах формулы. Другие отличительные признаки приведены в зависимых пунктах формулы.
Благодаря настоящему изобретению появляется возможность значительно повысить безопасность работы и существенно снизить риск повреждения машины. Кроме того, настоящее изобретение позволяет сократить время, необходимое на замену печатных форм и, следовательно, уменьшить производственные потери, что становится тем более очевидным, если учитывать большое количество обычно используемых красочных аппаратов. Кроме того, устройство по настоящему изобретению относительно легко в изготовлении, безопасно, легко в эксплуатации и надежно даже после длительного срока службы.
Ниже следует подробное описание вариантов настоящего изобретения со ссылками на прилагаемые чертежи, где:
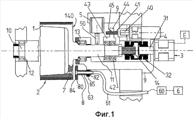
Фиг.1 – схематическое продольное сечение печатного цилиндра, снабженного устройством по возможному варианту настоящего изобретения в рабочем состоянии.
Фиг.2 – устройство по фиг.1 в нерабочем состоянии, т.е. установленное так, чтобы обеспечить возможность замены печатной формы.
Фиг.3 и 4 показывают, как и фиг.1 и 2, устройство по другому варианту настоящего изобретения.
Фиг.5 – увеличенная деталь по фиг.1.
Фиг.6 – упрощенная блок-схема системы управления.
Хотя настоящее изобретение будет описано со ссылками на варианты, показанные на чертежах, следует понимать, что изобретение может быть реализовано во многих альтернативных формах и вариантах.
В общем виде устройство по настоящему изобретению может использоваться для снятия печатной формы с печатного цилиндра печатной машины или для подобной задачи. В машине такого типа такой цилиндр приводится в движение двигателем, который вращает его вокруг его продольной оси, при этом цилиндр снабжен входным отверстием, соединяемым с одной стороны с источником сжатого воздуха, а с другой стороны – с множеством радиальных отверстий, пересекающих цилиндр и используемых для деформирования печатной формы, надетой на цилиндр. Устройство по настоящему изобретению содержит: средство для автоматического соединения указанного входного отверстия с подающим средством, соединенным с источником сжатого воздуха, и средство для определения положения указанного входного отверстия относительно подающего средства, выполненное с возможностью обеспечить их точное и автоматическое позиционирование в положение соединения путем возвратно-поступательного перемещения.
На прилагаемых чертежах печатный цилиндр обозначен позицией 1, печатная форма обозначена позицией 2 и рама (фиксированная структура) машины обозначена позицией 9. Кроме того, в нижеследующем описании термин “сторона оператора” означает ту сторону машины, с которой оператор может снимать печатную форму с соответствующего цилиндра и заменять ее на другую форму. Термин “сторона трансмиссии” означает ту сторону машины, которая противоположна стороне оператора, то есть сторону, на которой расположены двигатели, приводящие во вращение печатный цилиндр и другие цилиндры, не показанные на чертежах. Печатный цилиндр, как указано выше, является цилиндрическим телом с гладкой или по существу гладкой поверхностью, на который надета трубчатая рельефная печатная форма. Такая трубчатая печатная форма называется “печатная форма” (независимо от того, является ли наносимое вещество краской или иным веществом). Печатный цилиндр снабжен отверстием для входа воздуха, которое соединено известным способом с множеством радиальных отверстий, выполненных в цилиндре: сжатый воздух, входящий в цилиндр через входное отверстие, течет через эти радиальные отверстия изнутри цилиндра наружу.
Как показано на фиг.1 и 2, печатный цилиндр 1 соединен с соответствующим электродвигателем 3, который приводит цилиндр во вращение вокруг соответствующей продольной оси. Печатный цилиндр 1 относится к типу, образованному цилиндрическим телом, имеющим гладкую или по существу гладкую поверхность, на которую надета печатная форма. Печатный цилиндр 1 снабжен валом, концы 10 и 11 которого образуют соответственно сторону оператора и сторону трансмиссии машины. Концы 10 и 11 цилиндра соответственно установлены на стороне оператора в опоре 12, а на стороне трансмиссии – в опоре 13. Опоры 12 и 13 снабжены соответствующими роликовыми подшипниками известного типа, т.е. типа, в котором внешнее кольцо может перемещаться в осевом направлении относительно внутреннего кольца. Конечный участок 14 указанного конца 11 имеет форму шлицевого вала так, что он образует участок цилиндра 1, кинематически соединенный с двигателем 3 через соответствующий вал 31 и соответствующую муфту 32. На практике согласно известной механической схеме этот участок 14 получает движение от вала 31 двигателя 3 и имеет возможность продольного перемещения в муфте 32.
На среднем участке указанного конца 11, в положении между конечным участком 14 и участком, образующим внутреннюю опору 13, имеется гильза 42, соединенная с валом цилиндра 1. Внутри гильзы 42 установлен подшипник 43, через который проходит соответствующая часть вала цилиндра 1. Кроме того, верхняя часть 44 гильзы 42 снабжена резьбой 45.
Рама 9 машины также поддерживает второй электродвигатель 4, выходной вал 40 которого соединен с элементом, снабженным резьбовым пальцем 41, взаимодействующим с резьбой 45 гильзы 42. На практике этот элемент с соответствующим резьбовым пальцем 41 образует осевой выступ вала 40. Двигатель 4 вращает выходной вал 40 и, следовательно, ввинчивает или вывинчивает (в зависимости от направления вращения) резьбовой палец 41 в резьбе 45 гильзы 42. Это ввинчивание или вывинчивание приводит к осевому перемещению гильзы 42 и вала, на котором она установлена, т.е. к перемещению цилиндра 1 относительно рамы 9 станка с одновременным скольжением вышеуказанного шлицевого вала в муфте 32.
Рама 9 станка также снабжена устройством, выполненным с возможностью “консольного” запирания, которое используется для запирания вала цилиндра 1 во время снятия и замены печатной формы 2, как более подробно описано ниже.
Для обеспечения указанного консольного запирания цилиндра 1 можно использовать, например, исполнительный механизм 5, установленный на раме 9 на стороне трансмиссии машины, шток которого ориентирован радиально относительно запираемого вала так, чтобы при включении исполнительного механизма 5 вал запирался. Когда шток 50 исполнительного механизма 5 выдвинут, вал цилиндра 1 запирается на стороне трансмиссии так, что печатную форму 2 можно снять с противоположной стороны, т.е. со стороны оператора, после снятия или разборки опоры 12. Во время работы, т.е. во время печати, указанный шток 50 отведен и вал цилиндра 1 лежит на обеих соответствующих опорах 12 и 13 с возможностью свободного вращения вокруг своей продольной оси, приводимый во вращение двигателем 3.
На чертежах блок 6 означает источник сжатого воздуха, который соединен с подающей трубкой 61, которая снабжена электрически управляемым включающим и выключающим клапаном 60. Когда клапан 60 включен, по трубке 61 течет сжатый воздух.
Трубка 61 соединена с подающим средством 8, которое в варианте, показанном на чертежах, является трубчатым телом, дистальный конец 80 которого имеет форму диска, расположенного ортогонально к продольной оси подающего средства 8. Внутренняя сторона этого дисковидного конца 80, т.е. сторона, обращенная к цилиндру 1, снабжена одним или более кольцевым уплотнением 84, например резиновыми кольцами. Трубчатое тело 8 установлено на раме 9 машины и закреплено на опоре 65, соединенной с рамой 9. Между дисковидным концом 80 и опорой 65 установлена пружина 63, предназначенная для удержания дисковидного конца 80 на расстоянии от опоры 65. На трубчатом теле подающего средства 8 установлен кольцевой упор 82, расположенный на противоположном конце пружины 63 относительно втулки 62.
Эта втулка 62, подающее средство 8 и пружина 63 установлены соосно друг с другом, и их общая ось параллельна оси вращения цилиндра 1.
Цилиндр 1 на основании 140 на стороне трансмиссии снабжен впускным отверстием 7. Продольная ось этого отверстия 7 и указанного выше тела 8 равноудалены от оси вращения цилиндра 1.
Когда необходимо заменить печатную форму 2, цилиндр 1 автоматически устанавливается в положение, где отверстие 7 и подающее средство 8 располагаются на одной оси, затем цилиндр 1 смещается к стороне трансмиссии и затем приводится в действие устройство 5, 50 для запирания цилиндра 1 в консольном положении. Вышеописанные операции выполняются автоматически согласно процедуре, шаги которой будут более подробно описаны ниже, по команде оператора.
Как указано выше, имеется средство для определения положения указанного впускного отверстия 7 относительно подающего средства 8. Например, такое средство может содержать датчик положения или подобное устройство, соединенное с валом цилиндра 1 или с любым элементом, кинематически связанным с этим валом. На практике, как показано на приложенных чертежах, поскольку угловое положение подающего средства 8 относительно продольной оси/оси вращения цилиндра 1 известно и опора этого подающего средства жестко закреплена на раме машины, достаточно определить угловое положение только впускного отверстия 7. Для достижения соосного положения этого впускного отверстия 7 и подающего средства цилиндр 1 поворачивают двигателем 3 пока угловые положения отверстия 7 и подающего средства 8 не совпадут (впускное отверстие 7 и подающее средство 8 разместятся на одной оси). Для этого двигатель 3 соединен с программируемым электронным устройством Е, показанным на чертежах в форме прямоугольника, которое, в свою очередь, соединено с указанным датчиком, от которого оно получает сигналы, соответствующие угловому положению цилиндра 1 и, следовательно, отверстия 7. Устройство Е приводит двигатель 3, пока впускное отверстие на цилиндре и средство, подающее сжатый воздух, не примут соосное положение. Когда будет достигнуто это оперативное положение, устройство Е останавливает двигатель 3. Затем устройство Е активирует двигатель 4, тем самым осуществляя заранее заданное линейное перемещение цилиндра 1 к стороне трансмиссии станка. Это осуществляется, как указано выше, ввинчиванием резьбового пальца 41, приводимого во вращение двигателем 4, в резьбу 45 гильзы 42, которая жестко соединена с валом цилиндра 1. Движение цилиндра 1 (на чертежах – вправо) определяет контакт между выходом подающего средства 8 и впускным отверстием 7. Этот контакт между впускным отверстием 7 и подающим средством 8 усиливается благодаря пружине 63 и кольцам 84, установленным на дисковидном конце 80. Поскольку общая геометрия и размеры каждого элемента системы известны, длина этого поступательного перемещения цилиндра 1 также известна и задана заранее.
Имеется дополнительное средство датчика, определяющее длину указанного поступательного перемещения цилиндра 1, содержащее оптический или механический выключатель или подобное устройство, установленное в заранее заданном положении на осевом пути, по которому движется цилиндр, выполненное с возможностью посылать электрический сигнал и заранее заданной задержкой на указанный клапан 60. Этот клапан является нормально закрытым, т.е. закрыт, когда печатная машина работает. Указанное средство датчика, соединенное с устройством Е, может определять положение гильзы 42, или положение подающего средства 8, или положение любого другого элемента, который осуществляет указанное осевое перемещение.
Когда впускное отверстие 7 цилиндра 1 находится в контакте с подающим средством 8, привод 5 активируется для запирания цилиндра 1 в консольном положении и клапан 60 включается. Таким образом, сжатый воздух течет по пути, определенном трубкой 61, подающим средством 8 и впускным отверстием 7, достигая радиальных отверстий, выполненных в цилиндре, и расширяя печатную форму 2, которую теперь можно снять, предварительно сняв или разобрав опору 12 со стороны оператора.
После этого на цилиндр устанавливают другую печатную форму, при этом клапан 60 все еще остается в открытом положении. Наконец, клапан 60 выключают, опору 12 устанавливают на место и деактивируют привод 5. Затем двигатель 4 вращается в противоположную сторону относительно той, в которую он вращался ранее, тем самым осуществляя поступательное осевое перемещение цилиндра 1 к стороне оператора, пока цилиндр 1 не достигнет нормального рабочего положения. Как показано на фиг.3 и 4 (на которых детали, аналогичные деталям на фиг.1 и 2, показаны теми же позициями), подающее средство 8 соединено через соответствующий кронштейн 100 с линейным приводом 101, который жестко закреплен на раме 9. Этот линейный привод выполняет поступательное перемещение подающего средства от цилиндра 1 и к цилиндру 1 так, что подход подающего средства к впускному отверстию 7 цилиндра 1 (как показано на фиг.4) осуществляется простым перемещением подающего средства вперед (влево на чертеже). Когда необходимо заменить печатную форму, выполняется описанная выше процедура за исключением того, что контакт между впускным отверстием 7 цилиндра 1 и подающим средством 8 достигается путем подачи подающего средства вперед (направление перемещения параллельно оси вращения цилиндра 1), а не отводом цилиндра 1 назад. Включается подача сжатого воздуха через клапан 60 с заранее заданной задержкой после включения привода 101 или путем установки концевого выключателя (на чертежах для упрощения не показан) в заранее определенной точке на пути перемещения подающего средства 8, где концевой выключатель определяет достижение подающим средством 8 положения, в котором установлен контакт между впускным отверстием 7 и подающим средством 8.
Способ по настоящему изобретению содержит следующие шаги: определяют положение впускного отверстия 7 относительно подающего средства, соединенного с источником 6 сжатого воздуха; позиционируют указанное впускное отверстие 7 в соответствии с подающим средством 8, т.е. приводят в положение, в котором впускное отверстие 7 и подающее средство соединены, путем управляемого вращения цилиндра 1 вокруг его продольной оси и поступательного подвода друг к другу впускного отверстия 7 и подающего средства 8; подают сжатый воздух через подающее средство 8, когда оно соединено с впускным отверстием 7; снимают печатную форму 2 с цилиндра 1, когда печатная форма расширена сжатым воздухом, текущим через подающее средство 8 и через множество радиальных отверстий, выполненных в цилиндре 1 и соединенных с впускным отверстием 7.
Из вышеизложенного очевидно, что любой риск для оператора и для машины существенно уменьшается. В то же время, поскольку вышеописанное позиционирование осуществляется автоматически, время, необходимое для замены печатной формы, существенно сокращается.
Элементы, осуществляющие движение, управление и контроль компонентов, описанных выше, известны специалистам в области промышленной автоматики и, следовательно, не описываются более подробно.
Таким образом, специалистам понятно, что настоящее изобретение может использоваться в разных устройствах и разных вариантах применения. Возможны различные многочисленные варианты и модификации настоящего изобретения помимо описанных выше, и, кроме того, из вышеприведенного описания можно понять различные варианты, модификации или эквивалентные конструкции, которые входят в объем настоящего изобретения. Соответственно, хотя настоящее изобретение было подробно описано выше со ссылками на предпочтительные варианты, следует понимать, что это описание является лишь иллюстративным и предназначено просто для полного раскрытия настоящего изобретения. Вышеприведенное описание не должно толковаться в ограничивающем смысле или исключать любые другие варианты, модификации, изменения и эквивалентные конструкции. Настоящее изобретение ограничивается только прилагаемой формулой или ее эквивалентами.
Формула изобретения
1. Устройство для замены печатной формы на печатном цилиндре печатной машины или подобном устройстве, где цилиндр (1) соединен с двигателем (3), приводящим его во вращение вокруг его продольной оси, и снабжен радиальными отверстиями, соединенными с отверстием (7) для впуска воздуха, которое выполнено с возможностью соединения с источником (6) сжатого воздуха посредством подающего средства (8), отличающееся тем, что содержит автоматическое средство, определяющее положение отверстия (7) для впуска воздуха относительно подающего средства (8) и автоматическое средство для позиционирования отверстия (7) для впуска воздуха и подающего средства возвратно-поступательным перемещением в положение соединения, при этом автоматическое определяющее и позиционирующее средство соединено с программируемым электронным средством (Е), которое, когда указанное отверстие (7) для впуска воздуха и подающее средство (8) находятся на одной оси, осуществляет соединение и включает включающий/выключающий клапан (60), который, с одной стороны, соединен с источником (6) сжатого воздуха и, с другой стороны, соединен с подающим средством (8).
2. Устройство по п.1, отличающееся тем, что подающее средство (8) находится в фиксированном и заранее заданном положении.
3. Устройство по п.1, отличающееся тем, что автоматическое средство для позиционирования отверстия (7) для впуска воздуха цилиндра (1) в положение соединения с подающим средством (8) содержит средство для подачи цилиндра (1) в осевом направлении.
4. Устройство по п.3, отличающееся тем, что средство для перемещения цилиндра (1) содержит двигатель (4), воздействующий на гильзу (42), связанную с цилиндром (1).
5. Устройство по п.1, отличающееся тем, что подающее средство (8) состоит из трубчатого тела, имеющего дисковидный дистальный конец (80), проходящий ортогонально к продольной оси трубчатого тела.
6. Устройство по п.5, отличающееся тем, что на внешней стороне, то есть на стороне, обращенной к цилиндру (1), дисковидный конец (80) снабжен одним или более уплотнительными кольцами (80).
7. Устройство по п.5, отличающееся тем, что содержит упругое средство (63), прилагающее к трубчатому телу силу, направленную к цилиндру (1).
8. Устройство по п.1, отличающееся тем, что включающий/выключающий клапан (60) установлен на трубке (61) и воздействует на нее, при этом трубка (61) соединена с источником (6) сжатого воздуха.
9. Устройство по п.1, отличающееся тем, что подающее средство (8) соединено с соответствующим перемещающим средством (101).
10. Способ замены печатной формы на печатном цилиндре в печатной машине или в подобном устройстве, где цилиндр (1) имеет моторизованный привод так, что он приводится во вращение вокруг его продольной оси и снабжен отверстием (7) для впуска сжатого воздуха, выполненным с возможностью соединения с источником (6) сжатого воздуха и которое соединено со множеством радиальных отверстий, проходящих сквозь цилиндр и используемых для деформирования печатной формы, надетой на цилиндр, отличающийся тем, что содержит следующие автоматические шаги, при которых определяют положение отверстия (7) для впуска воздуха относительно подающего средства (8), соединенного с источником (6) сжатого воздуха; позиционируют отверстие (7) в соответствии с подающим средством (8), т.е., приводят в положение, где отверстие (7) и подающее средство (8) могут соединяться путем возвратно-поступательного перемещения; соединяют отверстие (7) и подающее средство (8); подают сжатый воздух через подающее средство (8).
11. Способ по п.10, где подающее средство (8) расположено в фиксированном и заранее заданном положении, отличающийся тем, что позиционирование отверстия (7) для впуска воздуха относительно подающего средства (8) осуществляют вращением цилиндра (1) вокруг его продольной оси и подводом цилиндра (1) к подающему средству (8) путем осевого линейного перемещения цилиндра (1).
12. Способ по п.11, отличающийся тем, что содержит шаг, при котором определяют положение цилиндра (1) перед подачей сжатого воздуха.
13. Способ по п.10, отличающийся тем, что позиционирование отверстия (7) для впуска воздуха относительно подающего средства (8) осуществляют вращением цилиндра (1) вокруг его продольной оси и подводом подающего средства (8) к цилиндру (1) осевым линейным перемещением подающего средства (8).
РИСУНКИ
|
|