|
|
(21), (22) Заявка: 2007140483/12, 31.10.2007
(24) Дата начала отсчета срока действия патента:
31.10.2007
(46) Опубликовано: 27.06.2009
(56) Список документов, цитированных в отчете о поиске:
RU 62557 U1, 27.04.2007. RU 59476 U1, 27.12.2006. RU 2034710 C1, 11.11.1991. JP 10156790 A, 16.06.1998.
Адрес для переписки:
150023, г.Ярославль, Московский пр-кт, 88, ЯГТУ
|
(72) Автор(ы):
Проворов Александр Витальевич (RU), Вещев Александр Александрович (RU)
(73) Патентообладатель(и):
Государственное образовательное учреждение высшего профессионального образования “Ярославский государственный технический университет” (RU)
|
(54) УСТРОЙСТВО ДЛЯ РАЗРЕЗАНИЯ ЛЕНТООБРАЗНЫХ ФРАГМЕНТОВ ПОКРЫШКИ НА ГРАНУЛЫ
(57) Реферат:
Устройство для разрезания лентообразных фрагментов покрышки на гранулы содержит коническо-цилиндрический ролик с кольцевой проточкой и дисковые ножи, лезвия которых расположены напротив кольцевой проточки ролика, причем ножи равномерно расположены по окружности вокруг коническо-цилиндрического ролика. Коническо-цилиндрический ролик размещен внутри конусообразного кожуха с зазором между ними, на 5 мм большим ширины разрезаемой ленты, а на конической части коническо-цилиндрического ролика установлены пальцы, рабочая длина которых меньше величины зазора между коническим кожухом и конической частью ролика. Изобретение обеспечивает упрощение процесса разрезания лентообразного композиционного материала, в том числе армированного металлокордом, повышение производительности устройства за счет увеличения числа зон резания по окружности цилиндра, снижение энергозатрат за счет равномерного распределения зон резания по окружности, возможность получения гранул различной длины. 2 з.п. ф-лы, 3 ил.
Заявляемое изобретение относится к машиностроению, а именно к оборудованию, применяемому для разрезания на гранулы лентообразных фрагментов покрышек, полученных при предварительном разрезании покрышек на узкие ленты.
Аналогом заявляемого изобретения является устройство для разрезания прутка на гранулы, содержащее подающие пруток валки, привод вращения валков и режущий механизм в виде дискового ножа (см. авторское свидетельство СССР 357998, М.Кл. B01j 2/00, 1972). Существенные признаки аналога “устройство для разрезания прутка на гранулы, содержащее режущий механизм в виде дискового ножа” совпадают с существенными признаками заявляемого изобретения.
Недостатками аналога являются наличие только одной зоны резания прутка, образованной дисковым ножом и обоймой, и фиксация разрезаемого материала в момент резания в отверстии обоймы. Наличие только одной зоны резания существенно снижает производительность процесса резания, поскольку за один полный оборот ножа отрезается одна гранула, а фиксация материала в отверстии обоймы в момент резания приводит к неизбежному скольжению режущей кромки относительно разрезаемого прутка, что является причиной быстрого затупления ножа, увеличения мощности привода режущего устройства, а при наличии в материале армирующего металлокорда возможно искрение, интенсивный разогрев ножа, появление неприятного запаха.
Прототипом заявляемого изобретения является устройство для одновременного разрезания по нескольким линиям реза армированного материала, включающее металлический цилиндр с выемками и соответствующие им дисковые ножи (см. патент РФ 62557 на полезную модель, МПК7 В29В 17/02, 2006). Существенные признаки прототипа “устройство для разрезания, содержащее металлический цилиндр с выемками и дисковые ножи” совпадают с существенными признаками заявляемого изобретения.
Недостатками прототипа также являются низкая производительность процесса резания и большая потребляемая мощность, поскольку рез происходит одновременно всеми дисковыми ножами, а также поскольку для одновременного разрезания прутка (узкой ленты) на гранулы по всем линиям реза максимальная длина прутка (ленты), которую можно подать в зону резания, ограничена длиной металлического цилиндра, а для подачи следующего участка ленты в зону резания потребовался бы слишком сложный механизм. Кроме того, размер гранул по длине металлического цилиндра строго ограничен расстоянием между лезвиями дисковых ножей и не может быть изменен без смены металлического цилиндра и перестановки ножей.
Задачами, на решение которых направлено заявляемое изобретение, являются: упрощение процесса разрезания лентообразного композиционного материала, в том числе армированного металлокордом, повышение его производительности за счет увеличения числа зон резания по окружности цилиндра, снижение энергозатрат за счет равномерного распределения зон резания по окружности, обеспечение возможности получения гранул различной длины.
Для достижения указанных технических результатов устройство для разрезания фрагментов покрышек на гранулы содержит металлический коническо-цилиндрический ролик с кольцевой проточкой в зоне цилиндрической части, один или несколько дисковых ножей, равномерно расположенных по окружности вокруг коническо-цилиндрического ролика, полый конусообразный кожух, расположенный вокруг конической части ролика, механизм подачи разрезаемого материала с регулируемой частотой вращения приводного валка, а также регулируемый привод вращения коническо-цилиндрического ролика.
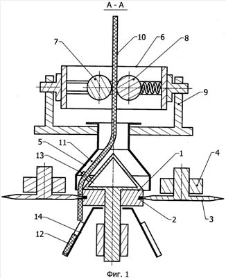
На фиг.1 представлено осевое сечение устройства, на фиг.2 – вид сверху на устройство, на фиг.3 – общий вид устройства в аксонометрии.
Устройство для разрезания покрышки на гранулы (далее – устройство) содержит приводной коническо-цилиндрический ролик 1 с кольцевой проточкой 2, один или несколько дисковых ножей 3, равномерно установленных по окружности относительно ролика 1 с возможностью свободного вращения в подшипниковых узлах 4. Подшипниковые узлы 4 могут иметь устройство для регулирования зазора между лезвиями ножей 3 и роликом 1. Соосно с роликом 1 установлен с возможностью осевого смещения конический кожух 5, а над ним – устройство 6 для подачи разрезаемого материала в зону резания, снабженное приводным валком 7 и подпружиненным валком 8. Устройство 6 может совершать вращательно-колебательные движения относительно рамы 9 под действием ленты разрезаемого материала 10. Зазор 11 между коническим кожухом 5 и роликом 1 может регулироваться таким образом, что его минимальное значение должно быть примерно на 5 мм больше максимальной ширины разрезаемой ленты.
Конкретным примером заявляемого устройства является устройство, предназначенное для разрезания на гранулы ленты 10, полученной ранее при разрезании по спирали каркасно-брекерно-протекторного браслета или боковины покрышки. Разрезание ленты 10 на гранулы 12 происходит за счет вращения без относительного проскальзывания приводного коническо-цилиндрического ролика 1 и дисковых ножей 3 при подаче ленты 10 в зоны резания с помощью приводного 7 и подпружиненного 8 валков подающего устройства 6.
Выполнение устройства для разрезания покрышек на гранулы в виде приводного коническо-цилиндрического ролика с кольцевой проточкой и расположенных напротив проточки свободно вращающихся дисковых ножей, равномерно расположенных по окружности вокруг ролика, и конусообразного кожуха, расположенного вокруг конической части коническо-цилиндрического ролика с регулируемым зазором, минимальная ширина которого примерно на 5 мм больше максимальной ширины разрезаемой ленты, позволяет за один полный оборот коническо-цилиндрического ролика отрезать гранулы в количестве, равном количеству дисковых ножей, расположенных вокруг ролика. Наличие у ролика конической части, а также конусообразного кожуха вокруг него, обеспечивает устойчивую подачу разрезаемой ленты в зоны резания, а для надежного кругового вращения ленты вместе с коническо-цилиндрическим роликом последний целесообразно снабдить одним или несколькими пальцами 13, рабочая длина которых меньше ширины зазора между конической частью ролика и конусообразным кожухом. Равномерное расположение дисковых кожей по окружности вокруг коническо-цилиндрического ролика обеспечивает высокую производительность устройства и малую потребную мощность привода ролика, поскольку в каждой зоне резания последовательно происходит рез только одним ножом.
Регулируемые приводы вращения коническо-цилиндрического ролика и подающего ленту механизма позволяют регулировать как производительность устройства, так и длину отрезаемых гранул.
Разрезание фрагментов покрышки в виде узких длинных лент на гранулы осуществляется следующим образом. Лента 10 с помощью приводного 7 и прижимного 8 валков принудительно подается на коническую часть ролика 1, скользит по его образующей в зону резания и проходит ее вместе с вращающимися роликом 1 и ножом 3, а под действием пальца 13 проталкивается к следующей зоне резания и так далее. Таким образом в каждой зоне резания от ленты материала отрезается одна гранула, а за полный оборот коническо-цилиндрического ролика столько гранул, сколько имеется зон резания (дисковых ножей). Отрезанные гранулы под действием сил тяжести выводятся из зон резания на отборочные лотки 14.
Формула изобретения
1. Устройство для разрезания лентообразных фрагментов покрышки на гранулы, содержащее подающие ленту валки, привод вращения валков, цилиндрический ролик с кольцевой проточкой и дисковые ножи, расположенные напротив проточки, отличающееся тем, что цилиндрический ролик с одного торца снабжен конической частью, а все дисковые ножи расположены своими лезвиями напротив одной кольцевой проточки и равномерно по окружности вокруг коническо-цилиндрического ролика.
2. Устройство по п.1, отличающееся тем, что коническо-цилиндрический ролик размещен внутри конусообразного кожуха, причем зазор между внутренней поверхностью конического кожуха и наружной поверхностью конической части ролика на 5 мм больше ширины разрезаемой ленты.
3. Устройство по п.1, отличающееся тем, что на конической части коническо-цилиндрического ролика установлены пальцы, рабочая длина которых меньше величины зазора между внутренней поверхностью конического кожуха и наружной поверхностью конической части ролика.
РИСУНКИ
|
|