|
|
(21), (22) Заявка: 2008114239/02, 11.04.2008
(24) Дата начала отсчета срока действия патента:
11.04.2008
(46) Опубликовано: 27.06.2009
(56) Список документов, цитированных в отчете о поиске:
RU 2238835 C1, 27.10.2004. SU 1646821 A1, 07.05.1991. US 4561218 A, 31.12.1985. DE 2846107 A1, 26.04.1979.
Адрес для переписки:
432027, г.Ульяновск, Северный Венец, 32, ГОУ ВПО “Ульяновский государственный технический университет”, проректору по научной работе
|
(72) Автор(ы):
Худобин Леонид Викторович (RU), Рудецкий Александр Васильевич (RU)
(73) Патентообладатель(и):
Государственное образовательное учреждение высшего профессионального образования “Ульяновский государственный технический университет” (RU)
|
(54) СПОСОБ ВНУТРЕННЕГО ШЛИФОВАНИЯ С ПРОДОЛЬНОЙ ПОДАЧЕЙ
(57) Реферат:
Изобретение относится к области машиностроения и может быть использовано при внутреннем шлифовании заготовок с применением твердых и пластичных смазочно-охлаждающих технологических средств. Заготовку закрепляют в патроне и вращают вокруг своей оси. Вращающийся шлифовальный круг перемещают вправо и влево вдоль оси шлифуемого отверстия с перебегами и в перпендикулярном к ней направлении на величину поперечной подачи на каждый ход или двойной ход шлифовального круга. В качестве смазочно-охлаждающего технологического средства используют нагретый распыленный твердый смазочный материал (ТСМ). ТСМ подают на рабочую поверхность шлифовального круга при каждом его перебеге за правый торец обрабатываемой заготовки через сопло установки для нагревания и распыления ТСМ. Сопло расположено под углом к рабочей поверхности шлифовального круга со стороны образованного рабочей поверхностью шлифовального круга и обрабатываемой поверхностью заготовки серпообразного пространства с обеспечением полного покрытия рабочей поверхности шлифовального круга расплавленным ТСМ. В результате повышается качество обрабатываемых поверхностей и уменьшается время рабочего цикла шлифования. 2 ил.
Изобретение относится к машиностроению, а именно к обработке металлов шлифованием с применением твердых и пластичных смазочно-охлаждающих технологических средств (СОТС), в частности к внутреннему шлифованию (ВШ) с продольной подачей.
Известен способ ВШ с продольной подачей (см. Шлифование легированных и жаропрочных сталей / В.Ф.Совкин, Е.В.Быков, A.M.Бударин, Г.И.Бударина. – Куйбышев: Куйбышевское книжное изд-во, 1967. – С.5-9, рис.1), включающий закрепление заготовки в патроне и ее вращение вокруг своей оси, вращение шлифовального круга (ШК) в противоположную (встречная схема ВШ) или совпадающую (попутная схема ВШ) вращению заготовки сторону, перемещение ШК вправо и влево вдоль оси шлифуемого отверстия с перебегами от торца отверстия, равными (1/3 1/2)Н, где Н – высота ШК, перемещение ШК в поперечном к оси шлифуемого отверстия направлении на величину поперечной (врезной) подачи на каждый двойной ход и подачу СОТС.
К причинам, препятствующим достижению указанного ниже технического результата при использовании известного способа, относятся:
1. Высокая теплосиловая напряженность процесса ВШ, вызванная большой площадью контакта ШК с заготовкой и негативно отражающаяся на качестве обработанных деталей.
2. Затрудненная подача СОТС (как правило, смазочно-охлаждающей жидкости (СОЖ)) в зону резания, обусловленная неблагоприятным соотношением диаметров шлифуемого отверстия и ШК. Согласно, например, справочнику: Кащук В.А., Верещагин А.Б. Справочник шлифовщика. – М.: Машиностроение, 1988. – С.219, при диаметре отверстия dо=30 40 мм диаметр круга составляет 0,95dо, то есть 28,5 38 мм. Следовательно, остается зазор между кругом и отверстием 1,5 2 мм, что делает практически невыполнимой задачу эффективной подачи СОТС из-за невозможности размещения устройств для подачи СОТС в рабочей зоне таких малых размеров. В результате этого качество шлифованных заготовок ухудшается.
3. Сложность ситуации с эффективной подачей СОЖ в зону резания усугубляется тем, что воздушные потоки, генерируемые ШК, препятствуют попаданию СОЖ на его рабочую поверхность (РП).
4. Так как ШК выходит из зоны обработки только на величину перебега, составляющую (1/3 1/2)Н, где Н – высота ШК, то даже при подаче СОТС на круг в этот момент цикла обработки его поверхность будет покрыта СОТС только частично, что также неблагоприятно отразится на теплосиловой напряженности процесса ВШ, а значит и на качестве обработанных деталей.
Наиболее близким способом того же назначения к заявленному изобретению по совокупности признаков является выбранный в качестве прототипа способ ВШ с продольной подачей (патент РФ 2238835 С1, МПК7 В24В 1/00, В24В 5/06, В24В 55/02, опубл. 10.27.04, БИ 32), включающий закрепление заготовки в патроне и ее вращение вокруг своей оси, вращение ШК в противоположную вращению заготовки сторону, перемещение ШК вправо и влево вдоль оси шлифуемого отверстия с перебегами, равными 0,3 Н, где Н – высота ШК, перемещение ШК в поперечном к оси шлифуемого отверстия направлении на величину поперечной (врезной) подачи на каждый двойной ход и подачу СОТС; в качестве СОТС применяют нагретый распыленный твердый смазочный материал (ТСМ), который подают на рабочую поверхность ШК, находящегося в исходном нерабочем положении, когда обработанную заготовку заменяют новой, что способствует уменьшению силы трения, а следовательно, и теплосиловой напряженности обработки, в результате чего улучшается качество поверхностей деталей машин.
К причинам, препятствующим достижению указанного ниже технического результата при использовании известного способа, принятого за прототип, относится то, что в известном способе (прототипе) для его реализации ТСМ подают на рабочую поверхность ШК в исходном нерабочем положении (однократно на одну технологическую операцию), т.е. для повторных подач ТСМ на рабочую поверхность ШК в течение всего цикла ВШ, что необходимо для повышения производительности обработки и улучшения качества шлифованных деталей, необходимо прерывать процесс ВШ и выводить ШК из обрабатываемого отверстия в исходное нерабочее положение для нанесения ТСМ, что приведет к значительному увеличению времени рабочего цикла ВШ.
Сущность изобретения заключается в следующем.
Резкое повышение в последнее время требований к конкурентоспособности продукции машиностроения сделало особенно актуальной проблему повышения качества поверхностей обрабатываемых заготовок деталей машин на операциях ВШ с продольной подачей. Одним из путей решения указанной проблемы является рационализация применения СОТС.
Технический результат – повышение качества поверхностей деталей машин и уменьшение времени рабочего цикла ВШ.
Указанный технический результат при осуществлении изобретения достигается тем, что заявляемый способ, как и известный способ (прототип), включает закрепление заготовки в патроне и ее вращение вокруг своей оси, вращение ШК и его перемещение вправо и влево вдоль оси шлифуемого отверстия с перебегами, перемещение ШК в поперечном к оси шлифуемого отверстия направлении на величину поперечной (врезной) подачи на каждый двойной ход и подачу СОТС. В качестве СОТС применяют нагретый распыленный ТСМ, который подают на рабочую поверхность ШК.
Особенность заключается в том, что ТСМ подается на рабочую поверхность ШК при каждом его выходе (перебеге) за правый торец обрабатываемой заготовки, через насадок, расположенный под углом к его рабочей поверхности, со стороны серпообразного пространства, образованного рабочей поверхностью ШК и обрабатываемой поверхностью заготовки, полностью покрывая рабочую поверхность ШК расплавленным ТСМ. Шлифовальный круг вращается в противоположную или в попутную вращению заготовки сторону. Нагретый ТСМ (например, состава: парафин 95%, серебристый графит 3,5%, дисульфид молибдена 1,5%) наносят в распыленном состоянии на рабочую поверхность ШК, формируя на этой поверхности после застывания равномерный по толщине слой ТСМ, который гарантированно удерживается на абразивном инструменте и надежно защищает абразивные зерна от непосредственного контакта с материалом обрабатываемой заготовки в процессе шлифования. Это способствует уменьшению силы трения, а следовательно, и теплосиловой напряженности обработки, в результате чего улучшается качество поверхностей деталей машин и создаются условия для повышения производительности обработки.
Сведения, подтверждающие возможность осуществления изобретения с получением вышеуказанного технического результата.
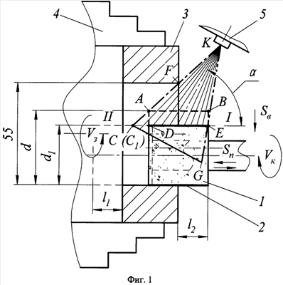
На чертежах представлены схемы реализации заявленного способа: на фиг.1 изображена схема нанесения расплавленного ТСМ на рабочую поверхность ШК, частично выведенного из контакта с заготовкой на длину перебега; на фиг.2 – схема определения геометрических параметров пятна ТСМ.
На шлифовальный круг 1 нанесен слой ТСМ 2, а заготовка 3 закреплена в патроне 4. Установка 5 для нагревания и распыления ТСМ, рукоятка управления гидропанели реверса и упоры условно не показаны.
Способ ВШ заключается в том, что расплавленный ТСМ подают через сопло установки 5 для нагревания и распыления ТСМ на рабочую поверхность вращающегося с окружной скоростью Vк шлифовального круга 1 (фиг.1), выведенного в положение I за правый торец обрабатываемой заготовки, на длину перебега l2, из контакта с вращающейся с окружной скоростью Vз заготовкой 3, закрепленной в патроне 4, со стороны серпообразного пространства, образованного рабочей поверхностью шлифовального круга 1 и обрабатываемой поверхностью заготовки 3, под углом к его рабочей поверхности, полностью покрывая рабочую поверхность шлифовального круга расплавленным ТСМ. После застывания образуется равномерный по толщине слой ТСМ 2, который прочно удерживается на рабочей поверхности шлифовального круга 1. Затем этот шлифовальный круг 1 с нанесенным слоем ТСМ 2 перемещают из положения I в положение II со скоростью продольной подачи Sп, после чего он возвращается в положение I и далее совершает возвратно-поступательные движения с перебегам l1 и l2, осуществляя процесс ВШ. В процессе ВШ шлифовальный круг 1 перемещается в перпендикулярном к его оси направлении на величину врезной (поперечной) подачи Sв (на величину припуска, снимаемого за каждый рабочий ход шлифовальным кругом 1). ТСМ наносят на рабочую поверхность шлифовального круга 1 кратковременными импульсами (небольшими дозами) каждый раз, когда шлифовальный круг 1 находится в положении I.
Слой ТСМ 2, нанесенный на рабочую поверхность шлифовального круга 1, надежно защищает абразивные зерна от непосредственного контакта с материалом обрабатываемой заготовки 3. Это способствует уменьшению трения, а значит и теплосиловой напряженности ВШ, в результате чего улучшается качество поверхностей деталей машин и создаются предпосылки для повышения производительности обработки за счет форсирования режимов ВШ.
ПРИМЕР. Выполняется операция шлифования отверстия диаметром D=55 мм (см. фиг.1). По справочнику (Кащук В.А., Верещагин А.Б. Справочник шлифовщика. – М.: Машиностроение, 1988. – С.282, табл.14 и с.32, табл.14) выбирают шлифовальный круг 1 типоразмера 5-40×32×13, l2=16 мм, d1=32 мм, где d1 – диаметр изношенного ШК. Образующую цилиндрической рабочей поверхности нового шлифовального круга 1 диаметром d обозначают точками А и В, образующую рабочей поверхности изношенного шлифовального круга диаметром d1 – точками D и Е, а пересечение образующей обрабатываемой поверхности отверстия с его торцом – точкой F. Через точки Е и D проводят прямую линию, а через точки А и F проводят прямую линию до пересечения с прямой, проведенной через точки E и Д, в точке С. Затем «накладывают» на отрезок CF сторону C1K треугольника C1KG (фиг.2), совмещая точки С и С1. Таким образом определяют угол наклона сопла установки 5 для нанесения ТСМ на рабочую поверхность шлифовального круга 1.
Полученное значение угла приемлемо только при условии, что воздушно-капельная смесь (струя) расплавленного ТСМ перекрывает всю рабочую поверхность как нового шлифовального круга 1, так и полностью изношенного (см. фиг.1), т.е. если сторона KG треугольника C1KG располагается в непосредственной близости от линии BE. В противном случае часть ТСМ не попадет на рабочую поверхность шлифовального круга 1 и будет использована нерационально. Задача решается путем изменения геометрических параметров потока (струи) ТСМ: следует или уменьшить (увеличить) основание H1 треугольника C1KG, или уменьшить (увеличить) L, при непременном условии образования на рабочей поверхности как нового, так и постепенно изнашивающегося шлифовального круга, слоя ТСМ заданной толщины. Указанные требования выполняют путем соответствующей наладки (подналадки) установки 5 (см. фиг.1) для нагрева и распыления ТСМ или изменения ее расположения на столе шлифовального станка.
Формула изобретения
Способ внутреннего шлифования с продольной подачей, включающий закрепление заготовки в патроне и ее вращение вокруг своей оси, вращение шлифовального круга, перемещение круга вправо и влево вдоль оси шлифуемого отверстия с перебегами, перемещение шлифовального круга в перпендикулярном к оси шлифуемого отверстия направлении на величину поперечной подачи на каждый ход или двойной ход шлифовального круга и подачу смазочно-охлаждающего технологического средства, в качестве которого используют нагретый распыленный твердый смазочный материал (ТСМ), отличающийся тем, что ТСМ подают на рабочую поверхность шлифовального круга при каждом его перебеге за правый торец обрабатываемой заготовки через сопло установки для нагревания и распыления ТСМ, расположенное под углом к рабочей поверхности шлифовального круга со стороны образованного рабочей поверхностью шлифовального круга и обрабатываемой поверхностью заготовки серпообразного пространства с обеспечением полного покрытия рабочей поверхности шлифовального круга расплавленным ТСМ.
РИСУНКИ
|
|