|
|
(21), (22) Заявка: 2007140087/02, 29.10.2007
(24) Дата начала отсчета срока действия патента:
29.10.2007
(46) Опубликовано: 27.06.2009
(56) Список документов, цитированных в отчете о поиске:
БЕЛЯЕВ А.Е. и др. Об одном из способов изготовления и контроля зубчатого венца планетарной передачи с промежуточными телами. Томский политехнический институт. Томск, 1984, деп. во ВНИИТЭМР, 31 мш-85Деп.1985. SU91715 A, 13.12.1953. SU 965645 А, 25.10.1982. WO 96/24456 А1, 15.08.1996.
Адрес для переписки:
634050, г.Томск, пр-кт Ленина, 30, Томский политехнический университет, отдел интеллектуальной и промышленной собственности
|
(72) Автор(ы):
Янгулов Владимир Семенович (RU), Эдличко Андрей Александрович (RU), Москалюк Игорь Анатольевич (RU)
(73) Патентообладатель(и):
Государственное образовательное учреждение высшего профессионального образования Томский политехнический университет (RU)
|
(54) СПОСОБ НАРЕЗАНИЯ ЗУБЧАТОГО ВЕНЦА ЖЕСТКОГО КОЛЕСА ВОЛНОВОЙ ПЕРЕДАЧИ С ПРОМЕЖУТОЧНЫМИ ТЕЛАМИ КАЧЕНИЯ
(57) Реферат:
Способ осуществляется методом обкатки и включает черновую и чистовую обработку. Для повышения точности и снижения трудоемкости используют инструмент в форме тела качения, который вводят в зацепление с профилями зубчатого венца с обеспечением перемещений и их величин, соответствующих конкретной передаче. При этом черновую обработку выполняют твердосплавной концевой фрезой с максимальным съемом материала заготовки, выполненной с максимальной твердостью, а чистовую обработку – шлифовальным кругом за одну установку заготовки на технологическом оборудовании, причем диаметр фрезы выполняют меньше диаметра шлифовального круга, который выбирают равным диаметру тел качения волновой передачи. 2 ил.
Изобретение относится к области изготовления зубчатых колес, а именно к способам изготовления зубьев с помощью режущих инструментов, и может найти применение при нарезании зубчатых венцов жесткого колеса волновой передачи с промежуточными телами качения.
Известен способ изготовления деталей передающего узла дифференциального преобразователя скорости «редуктор – подшипник» (Пат. РФ 2287417, МПК В23Р 13/00. БИ 32 – 2006). Способ включает подготовку деталей из заготовок инструментальной стали и последующее выполнение на них заданных криволинейных поверхностей с использованием программно-управляемых перемещений режущего инструмента. При этом выполнение на подготовленных деталях заданных криволинейных поверхностей осуществляют твердосплавным инструментом. Заданные криволинейные поверхности могут выполняться с использованием фрезерного обрабатывающего центра с числовым программным управлением. Для обработки заготовок из сталей с твердостью более 65 единиц шкалы Роквелла в качестве твердосплавного режущего инструмента могут использовать концевую сферическую фрезу.
Недостатком данного способа является высокая себестоимость изготовления деталей с криволинейными поверхностями, обусловленная высокой стоимостью технологического оборудования, инструмента и высокой квалификацией обслуживающего персонала.
Известен также способ нарезания внутреннего зубчатого венца волновой передачи с промежуточными телами на электроэрозионных станках с проволочной вырезкой. (Хохряков Б.Г. Вырезка сложных деталей (волновых редукторов с промежуточными звеньями) на электроэрозионных станках. Трудный опыт внедрения. Журнал «Двигатель» 4/2001). Обработка ведется за счет электроэрозии материала обрабатываемой детали и происходит за одну операцию. В качестве инструмента используют медную проволоку.
Недостатком способа применения электроэрозионных станков с проволочной вырезкой для нарезания внутреннего зубчатого венца жесткого колеса волновой передачи с промежуточными телами является высокие трудоемкость и себестоимость, обусловленная высокой стоимостью оборудования, инструмента и высокой квалификацией обслуживающего персонала, а также невысокие значения точности и шероховатости рабочих поверхностей профилей зубьев.
Наиболее близким, принятым за прототип, является способ нарезания зубчатого венца жесткого колеса на координатных станках. Черновая операция, с минимальной твердостью материала заготовки, выполняется концевой фрезой на координатно-расточном станке. Чистовая операция, с максимальной твердостью материала заготовки, выполняется концевым шлифовальным кругом малого диаметра на координатно-шлифовальном станке. Таким образом, черновая и чистовая операции выполняются на разном технологическом оборудовании. Полученный аналитическим путем профиль впадины между зубьями жесткого колеса волновой передачи с промежуточными телами заменяют ломанной кривой, составленной из отрезков дуг с постоянными радиусами R, центр которых располагают на оси симметрии впадины на расстоянии А от центра жесткого колеса. Для каждых двух, симметричных относительно оси профиля, точек профиля впадины (зуба) получают определенные значения R и А. Задаваясь допустимым отклонением от расчетного профиля, получают несколько (4-5) сочетаний R и А, которые определяют координаты дуг, заменяющих профиль впадины между соседними зубьями (Янгулов B.C. – Об одном из способов изготовления и контроля зубчатого венца планетарной передачи с промежуточными телами. Библиографический указатель ВИНИТИ. Депонированные научные работы, 1985, 6, стр.118).
Недостатками данного способа являются низкая точность профиля зубьев и высокие трудоемкость и себестоимость нарезания зубчатого венца жесткого колеса волновых передач с промежуточными телами качения.
Поставлена задача: повысить точность профилей зубьев, снизить трудоемкость и себестоимость нарезания зубчатых венцов жестких колес волновых передач с промежуточными телами качения.
Эта задача решена следующим образом. Способ нарезания зубчатого венца жесткого колеса волновой передачи с промежуточными телами качения содержит черновую операцию и чистовую операцию с максимальной твердостью материала заготовки. Черновую обработку ведут концевой фрезой, выполненной из твердых сплавов, а чистовую – шлифовальным кругом на одном технологическом оборудовании.
Сущность изобретения поясняется чертежами, на которых изображено:
– на фиг.1 – поперечное сечение волновой передачи с промежуточными телами качения;
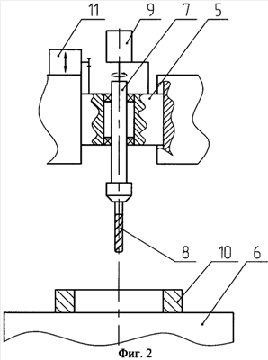
– на фиг.2 – процесс нарезания зубчатого венца жесткого колеса.
Входным звеном передачи (фиг.1) является эксцентриковый генератор – 1, установленный с эксцентриситетом a , относительно центра жесткого колеса – 2 и обоймы – 3. При вращении генератора его наружная поверхность возвратно-поступательно перемещает тела качения – 4 в радиальных пазах обоймы – 3. Тела качения – 4 контактируют с рабочими поверхностями зубчатого венца жесткого колеса – 2.
Выходным звеном передачи может быть обойма или жесткое колесо. Передаточное число передачи будет равно числу зубьев или тел качения выходного звена соответственно. Например, примем, что выходным звеном является жесткое колесо. В этом случае за один поворот генератора на угол 2 жесткое колесо повернется на угол , где Z – число зубьев. Величина возвратно-поступательных перемещений тел качения в пазах обоймы составит 2a .
В предлагаемом способе нарезание профилей зубчатого венца выполняют инструментом в форме тела качения, который вводят в зацепление с профилями зубчатого венца с обеспечением перемещений и их величин, соответствующих конкретной передаче. Очевидно, что инструмент вращается с угловой скоростью, которая обеспечивает необходимую скорость резания. Заготовка должна вращаться со скоростью, соответствующей редуцированной скорости выходного звена передачи, для которой нарезается жесткое колесо.
Это достигается при условии, что за поворот заготовки на угол, равный , относительное возвратно-поступательное перемещение инструмента и заготовки составит 2а . Скорость относительного перемещения – V=a sin , задают при помощи кривошипа, длина которого равна эксцентриситету передачи а . Угол поворота кривошипа жестко связан с углом поворота заготовки 1– =Z 1.
Черновую обработку выполняют твердосплавной (концевой фрезой) с максимальным съемом материала заготовки. Далее, не снимая заготовки со стола, только заменив фрезу на шлифовальный круг и изменив угловую скорость инструмента, проводят чистовую операцию. Это снижает погрешности изготовления профилей зубчатого венца жесткого колеса, связанные с установкой и базированием детали.
В состав технологического оборудования входят шпиндель – 5, стол – 6 и станина (не показана). Шпиндель состоит из вала – 7, на котором крепится инструмент – 8 (фреза или шлифовальный круг). Вал имеет привод – 9 для вращения инструмента. Шпиндель установлен на станине станка в направляющих, обеспечивающих его возвратно-поступательное перемещение относительно заготовки – 10. Возвратно-поступательное перемещение шпинделя осуществляется приводом -11. Заготовку устанавливают на стол, который обеспечивает ее поступательные перемещения по трем осям, для настройки, и вращательное, согласованное с возвратно-поступательными перемещениями шпинделя. Согласование перемещений заготовки и шпинделя возможно достичь несколькими путями, например с помощью кинематической цепи обкатки, так же как в зубодолбежных или зубофрезерных станках.
Конструкция технологического оборудования предполагает ее разработку на базе модульного построения. Все основные узлы можно использовать из серийных металлорежущих станков, что позволит снизить себестоимость изготовления зубчатого колеса. Простота настроек и эксплуатации технологического оборудования дают возможность работать специалистам средней квалификации. Трудоемкость обработки зубчатого венца жесткого колеса волновой передачи с промежуточными телами снизится в несколько раз за счет снижения числа проходов инструмента (по сравнению с прототипом) и за счет применения более производительных методов резания металлов (по сравнению с аналогами).
Обработку зубчатого венца жесткого колеса ведут следующим образом. Заготовку – 10 крепят на столе – 6, далее совмещают оси заготовки и инструмента. После этого стол перемещают в радиальном направлении (относительно оси заготовки) на величину, равную R =0,5(Dг+Dш), где Dг, Dш – диаметры генератора и тел качения передачи. При этом необходимо выполнить следующее условие, кривошип, обеспечивающий возвратно-поступательные перемещения шпинделю, должен быть установлен так, чтобы его угол для нарезаемой впадины был равен нулю, т.е. нарезание начинается с вершины зуба. Затем включают привод вращения инструмента и за ним привод, или приводы, для обеспечения обкатки жесткого колеса и инструмента. Обработка зубчатого венца на обеих операциях ведется на заготовке с рабочей твердостью (более 60 единиц по шкале Роквелла). После нарезания зубчатого венца концевой фрезой ее заменяют на шлифовальный круг. Не снимая заготовки со стола, изменяют скорость вращения инструмента и повторяют цикл обработки. Припуск под чистовую операцию задается тем, что диаметр фрезы (выполнен) меньше диаметра шлифовального круга, который выбирают равным диаметру тел качения (волновой) передачи.
Таким образом, способ нарезания зубчатого венца жесткого колеса позволяет: повысить точность изготовления зубчатого венца жесткого колеса, т.к. черновая и чистовая операции проводятся без переустановки заготовки, и шероховатость рабочих поверхностей зубьев за счет выполнения чистовой операции шлифованием; снизить себестоимость процесса нарезания зубчатого венца жестких колес волновых передач с промежуточными телами за счет возможности использования технологического оборудования, изготовленного из агрегатов и модулей серийных металлорежущих станков, недорогого инструмента, обслуживающего персонала средней квалификации, из-за простоты настроек и эксплуатации станка; уменьшить трудоемкость процесса нарезания зубчатого венца за счет применения более производительных методов резания металлов и сокращения числа проходов инструмента.
Технический результат изобретения: повышение точности изготовления профилей зубьев и шероховатости рабочих поверхностей зубьев, снижение себестоимости и трудоемкости изготовления зубчатого венца жесткого колеса волновой передачи с промежуточными телами качения.
Формула изобретения
Способ нарезания зубчатого венца жесткого колеса волновой передачи с промежуточными телами качения методом обкатки, включающий черновую и чистовую обработку, отличающийся тем, что используют инструмент в форме тела качения, который вводят в зацепление с профилями зубчатого венца с обеспечением перемещений и их величин, соответствующих конкретной передаче, при этом черновую обработку выполняют твердосплавной концевой фрезой с максимальным съемом материала заготовки, выполненной с максимальной твердостью, а чистовую обработку – шлифовальным кругом за одну установку заготовки на технологическом оборудовании, причем диаметр фрезы выполняют меньше диаметра шлифовального круга, который выбирают равным диаметру тел качения волновой передачи.
РИСУНКИ
|
|