|
|
(21), (22) Заявка: 2006102045/02, 12.07.2004
(24) Дата начала отсчета срока действия патента:
12.07.2004
(30) Конвенционный приоритет:
27.07.2003 IL 157111
(43) Дата публикации заявки: 10.08.2006
(46) Опубликовано: 27.06.2009
(56) Список документов, цитированных в отчете о поиске:
US 3922766 А, 02.12.1975. SU 632502 А, 15.11.1978. SU 772750 А, 28.10.1980. SU 1220858 А, 30.03.1986. SU 1445871 А, 23.12.1988. US 1368070 A, 08.02.1921. JP 2001079708 A, 27.03.2001. EP 0300172 A2, 25.01.1989. WO 97/13605 A1, 17.04.1997.
(85) Дата перевода заявки PCT на национальную фазу:
27.02.2006
(86) Заявка PCT:
IL 2004/000626 20040712
(87) Публикация PCT:
WO 2005/009660 20050203
Адрес для переписки:
103062, Москва, ул. Покровка, 33/22, стр.1, агентство “ИНТЭЛС”, пат.пов. О.М.Дьяконовой
|
(72) Автор(ы):
АСТРАХАН Эдуард (IL)
(73) Патентообладатель(и):
ИСКАР ЛТД. (IL)
|
(54) ФРЕЗА И ПЛАСТИНА ДЛЯ НЕЕ
(57) Реферат:
Фреза содержит корпус, имеющий по крайней мере одну рабочую часть с закрепленной на ней сменной режущей пластиной с волнистой режущей кромкой. Рабочая часть имеет волнистую наружную поверхность, сцентрированную и согласованную с волнистой периферийной поверхностью режущей пластины так, что выступы режущей пластины сцентрированы с выступами корпуса, а впадины режущей пластины сцентрированы с впадинами корпуса. При этом рабочая часть содержит гнездо под пластину, ограниченное в основном круглой опорной поверхностью с выборкой, проходящей вниз от нее к базовой поверхности, и расположенной между ними периферийной стенкой, имеющей четыре боковые поверхности, соединенные в углах. При этом режущая пластина имеет верхнюю переднюю поверхность, промежуточную опорную поверхность, волнистую периферийную поверхность, расположенную между ними, и выступ, проходящий вниз от промежуточной опорной поверхности, выступ имеет наружную поверхность с четырьмя плоскими боковыми поверхностями, соединенными в углах, проходящую между промежуточной опорной поверхностью и нижней поверхностью, причем две смежные боковые поверхности выступа контактируют с двумя смежными боковыми поверхностями выборки, а две смежные другие боковые поверхности выступа не контактируют с двумя другими смежными боковыми поверхностями выборки. Технический результат: повышение надежности крепления режущей пластины. 5 з.п. ф-лы, 9 ил.
Область техники
Настоящее изобретение относится к фрезам, имеющим индексируемые режущие пластины с волнистыми режущими кромками и предназначенным для операций обработки металлов резанием.
Уровень техники
Режущие пластины с волнистыми режущими кромками позволяют производить съем металла с большей скоростью по сравнению с режущими пластинами, имеющими неволнистые режущие кромки. Однако это достигается за счет ухудшения качества обработанной поверхности. Для того, чтобы улучшить качество поверхности, режущие пластины устанавливают на фрезе со смещением друг относительно друга.
Существует много примеров режущих пластин с волнистыми режущими кромками. Треугольные, квадратные, круглые и прямоугольные по форме режущие пластины раскрыты соответственно в US 3,574,911; US 3,636,602; US 3,922,766 и US 4,936,719.
Однако все известные фрезы, использующие режущие пластины с волнистыми режущими кромками, имеют один и тот же недостаток, а именно: рабочие режущие зубья (т.е. “гребни” волн) не опираются на корпус фрезы. Другими словами, рабочие режущие зубья выступают за прилегающую поверхность корпуса фрезы. Следовательно, рабочие зубья подвержены скалыванию во время операций фрезерования.
Более того, все известные режущие пластины с волнистыми режущими кромками имеют плоскую форму с противолежащими плоскими и параллельными передней и базовой поверхностями. Когда такие известные пластины установлены в гнезде, их плоская базовая поверхность контактирует с соответствующей плоской опорной поверхностью гнезда. Режущая пластина удерживается в гнезде посредством прихвата, который давит вниз на переднюю поверхность режущей пластины. Такая конструкция не обладает достаточной надежностью, и вращающие моменты, действующие на режущую пластину во время операций фрезерования, будут стремиться свернуть ее с первоначального положения.
Задачей настоящего изобретения является создание фрезы и режущей пластины для нее с волнистыми режущими кромками, в которых были бы значительно преодолены вышеупомянутые недостатки.
Сущность изобретения
В соответствии с настоящим изобретением предложена фреза, содержащая корпус, имеющий по крайней мере одну режущую часть с закрепленной на ней сменной режущей пластиной с волнистой режущей кромкой, имеющую волнистую наружную поверхность, согласованную с волнистой периферийной поверхностью режущей пластины.
В соответствии с предпочтительным вариантом настоящего изобретения по крайней мере одна режущая часть содержит гнездо под пластину, ограниченное в основном круглой опорной поверхностью с выборкой, проходящей вниз от нее к базовой поверхности, и периферийной стенкой, расположенной между ними.
Режущая пластина имеет верхнюю переднюю поверхность, промежуточную опорную поверхность и волнистую периферийную поверхность, расположенную между ними и пересекающую переднюю поверхность по волнистой режущей кромке, выступ, проходящий вниз от промежуточной опорной поверхности и имеющий наружную поверхность, расположенную между промежуточной опорной поверхностью и нижней поверхностью.
Предпочтительно наружная поверхность выступа включает четыре соединенные в углах плоские боковые поверхности, и периферийная стенка выборки включает четыре соединенные в углах плоские боковые поверхности.
В соответствии с предпочтительным вариантом настоящего изобретения резьбовое отверстие проходит вниз от базовой поверхности выборки, сквозное отверстие выполнено между верхней передней поверхностью и нижней поверхностью режущей пластины, крепежный винт проходит через сквозное отверстие в режущей пластине и взаимодействует с резьбовым отверстием для фиксирования выступа в выборке и закрепления режущей пластины в гнезде.
В соответствии с настоящим изобретением промежуточная опорная поверхность режущей пластины контактирует с опорной поверхностью гнезда.
Предпочтительно две смежные плоские боковые поверхности выступа контактируют с двумя смежными боковыми поверхностями выборки.
Предпочтительно также зазор выполнен между нижней поверхностью выступа и базовой поверхностью выборки.
Предпочтительно также зазор выполнен между каждым углом выборки и каждым смежным углом выступа.
Краткое описание фигур
Для лучшего понимания настоящего изобретения и чтобы показать, как оно может быть выполнено на практике, отсылки будут сделаны к приложенным фигурам, на которых:
на фиг.1 показан вид в перспективе на фрезу с режущими пластинами, имеющими волнистые режущие кромки в соответствии с настоящим изобретением;
на фиг.2 показан корпус фрезы на фиг.1, с рабочих частей которого удалены режущие пластины;
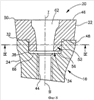
на фиг.3 показан вид в перспективе на рабочую часть корпуса на фиг.2, представляющий гнездо под пластину;
на фиг.4 показан вид сбоку на корпус на фиг.2, представляющий вид сверху на гнездо под пластину;
на фиг.5а показан вид сверху в перспективе на режущую пластину в соответствии с настоящим изобретением;
на фиг.5b показан виз снизу в перспективе на режущую пластину, представленную на фиг.5а;
на фиг.6 показан вид сбоку на режущую пластину, представленную на фиг 5а;
на фиг.7 показан вид снизу на режущую пластину, представленную на фиг 5а;
на фиг.8 частично показано сечение рабочей части с установленной на ней режущей пластиной и удаленным крепежным винтом, плоскость которого проходит через ось симметрии режущей пластины по линии VIII-VIII на фиг.1;
на фиг.9 показано сечение по линии IX-IX на фиг.8.
Детальное описание предпочтительного варианта
Рассмотрим вначале фиг.1-4. Фреза 10 имеет ось вращения А и включает корпус 12, имеющий сзади хвостовик 14 и пять рабочих частей 16, примыкающих к фронтальной поверхности 18 корпуса 12. Каждая рабочая часть 16 имеет закрепленную на ней сменную и индексируемую режущую пластину 20. Каждая режущая пластина 20 имеет волнистую периферийную поверхность 22, включающую выступы 22 и впадины 22 , а каждая режущая часть 16 корпуса 12 имеет волнистую наружную поверхность 24, включающую выступы 24 и впадины 24 . Волнистая периферийная поверхность 22 каждой режущей пластины 20 сцентрирована и согласована с волнистой наружной поверхностью 24 рабочей части 16, на которой она закреплена. Другими словами, для данной режущей пластины 20, закрепленной на данной рабочей части 16, выступы 22 и впадины 22 волнистой периферийной поверхности 22 режущей пластины 20 сцентрированы с выступами 24 и впадинами 24 волнистой наружной поверхности 24 рабочей части 16.
Каждая рабочая часть 16 имеет гнездо 26 и канавку для схода стружки 28. Канавка 28 данной рабочей части 16 определяется задней стенкой 30, примыкающей к рабочей части 16. Волнистая наружная поверхность 24 рабочей части 16 проходит между гнездом под пластиной 26 и задней стенкой 30 и сопрягается с хвостовиком 14 корпуса 12.
Гнездо под пластину 26 ограничено в основном кольцевой поверхностью 32 и выборкой 34, проходящей вниз от опорной поверхности 32. Выборка 34 имеет периферийную стенку 36, проходящую между опорной поверхностью 32 и базовой поверхностью 38 выборки 34. Периферийная стенка 36 выборки 34 содержит 4 внутренние плоские боковые поверхности 40, соединенные в углах 42. Базовая поверхность 38 выборки 34 имеет резьбовое отверстие 44 с осью В. Резьбовое отверстие 44 расположено в основном перпендикулярно и проходит вниз от базовой поверхности 38 и эксцентрично расположено по отношению к геометрическому центру С выборки 34.
Рассмотрим теперь фиг.5а, 5b, 6 и 7. Режущая пластина 20 на виде сверху выполнена в форме круга с волнистой кромкой с осью симметрии I. Режущая пластина 20 имеет верхнюю переднюю поверхность 46, промежуточную опорную поверхность 48 и волнистую периферийную поверхность 22, расположенную между ними. Волнистая периферийная поверхность 22 пересекает верхнюю переднюю поверхность 46 по волнистой режущей кромке 50. Выступ 52, проходящий вниз от промежуточной опорной поверхности 48, включает наружную поверхность 54, расположенную между промежуточной опорной поверхностью 48 и нижней поверхностью 56. Наружная поверхность 54 выступа 52 имеет четыре плоские боковые поверхности 58, соединенные в углах 60 выступа. Режущая пластина 20 имеет центрально расположенное сквозное отверстие 62, проходящее вниз от верхней передней поверхности 46 к нижней поверхности 56. При размещении выступа 52 в выборке 34 режущая пластина 20 закрепляется на рабочей части 16 корпуса 12 посредством крепежного винта 64, проходящего через сквозное отверстие 62 режущей пластины 20 и взаимодействующего с резьбовым отверстием 44 в выборке 34 гнезда 26.
Как лучше всего видно на фиг.8, когда режущая пластина 20 закреплена в выборке 34, промежуточная опорная поверхность 48 режущей пластины 20 контактирует с опорной поверхностью 32 гнезда 26 рабочей части 16. Поскольку волнистая периферийная поверхность 22 каждой режущей пластины 20 согласована и сцентрирована с волнистой наружной поверхностью 24 рабочей части 16, на которой она установлена, каждый выступ 22 режущей пластины 20 полностью опирается на соответствующий выступ 24 опорной поверхности 32 рабочей части 16. Это усиливает прочность, стойкость и стабильность режущей пластины 20.
Для того, чтобы гарантировать контакт промежуточной опорной поверхности 48 режущей пластины 20 и опорной поверхности 32 гнезда 26, выполнен зазор 66 между нижней поверхностью 56 выступа 52 и базовой поверхностью 38 выборки 34, когда режущая пластина 20 жестко закреплена в гнезде 26.
Как видно на фиг.9, выборка 34 имеет четыре угла, задний внутренний угол 42 r, задний наружный угол 42 r, передний внутренний угол 42 f и передний наружный угол 42 f. По отношению к ориентации гнезда 26 и режущей пластины 20, как показано на фиг.9, четыре боковые поверхности 40 выборки определены как задняя боковая поверхность 40r, передняя боковая поверхность 40f, внутренняя боковая поверхность 40i и наружная боковая поверхность 40о. Аналогично, четыре боковые поверхности 58 выступа определены как задняя боковая поверхность 58r, передняя боковая поверхность 58f, внутренняя боковая поверхность 58i и наружная боковая поверхность 58о. Вследствие того, что резьбовое отверстие 44 расположено эксцентрично по отношению к геометрическому центру С выборки 34, режущая пластина, когда она закреплена в гнезде 26, поджимается от переднего наружного угла 42 f в направлении к заднему внутреннему углу 42 r. Следовательно, пара смежных поверхностей в виде задней и внутренней поверхностей выборки 40r, 40i находится в контакте соответственно с парой смежных поверхностей в виде задней и внутренней боковых поверхностей выступа 58r, 58i. При таком устройстве режущая пластина 20 имеет надежные опоры для восприятия сил резания и может быть точно зафиксирована на рабочей части 16 фрезы 10. Как можно видеть на фиг.9, зазор выполнен между передней боковой поверхностью выборки 40f и передней боковой поверхностью выступа 58f и между наружной боковой поверхностью выборки 40о и наружной боковой поверхностью выступа 58о. На углах 60 выступа сняты фаски или они имеют больший радиус скругления, чем углы 42 выборки, с тем, чтобы в любом случае получить зазор между каждым углом 42 выборки и каждым смежным углом 60 выступа.
Следующие друг за другом рабочие части 16 слегка повернуты вокруг оси В резьбового отверстия 44, чтобы выступы волнистой наружной поверхности 24 следующих друг за другом рабочих частей 16 вместе с выступами периферийных поверхностей 22 следующих друг за другом режущих пластин 20 были сдвинуты друг относительно друга или не совпадали бы по фазе для получения лучшей шероховатости обработанной поверхности в сравнении с положением без такого сдвига.
Хотя настоящее изобретение было описано с определенной степенью детализации, следует понимать, что различные изменения модификации могут быть выполнены, такие как стружколоматели различных конструкций на передней поверхности режущей пластины, без отхода от объема притязаний, изложенного в приведенной ниже формуле изобретения.
Формула изобретения
1. Фреза (10), содержащая корпус (12), имеющий по крайней мере одну рабочую часть (16) с закрепленной на ней сменной режущей пластиной (20) с волнистой режущей кромкой (50), имеющую волнистую наружную поверхность (24), сцентрированную и согласованную с волнистой периферийной поверхностью (22) режущей пластины, так что выступы (22 ) режущей пластины сцентрированы с выступами (24 ) корпуса, а впадины (22 ) режущей пластины сцентрированы с впадинами (24 ) корпуса, при этом по крайней мере одна рабочая часть (16) содержит гнездо под пластину (26), ограниченное в основном круглой опорной поверхностью (32) с выборкой (34), проходящей вниз от нее к базовой поверхности (38), и расположенной между ними периферийной стенкой (36), имеющей четыре боковые поверхности (40), соединенные в углах (42), при этом режущая пластина (20) имеет верхнюю переднюю поверхность (46), промежуточную опорную поверхность (48), волнистую периферийную поверхность (22), расположенную между ними, и выступ (52), проходящий вниз от промежуточной опорной поверхности (48), выступ (52) имеет наружную поверхность (54) с четырьмя плоскими боковыми поверхностями, соединенными в углах (60), проходящую между промежуточной опорной поверхностью (48) и нижней поверхностью (56), причем две смежные боковые поверхности (58r, 58i) выступа (52) контактируют с двумя смежными боковыми поверхностями (40r, 40i) выборки (34), а две смежные боковые поверхности (58f, 58o) выступа (52) не контактируют с двумя смежными боковыми поверхностями (40f, 40o) выборки (34).
2. Фреза (10) по п.1, в которой волнистая периферийная поверхность (22) пересекает верхнюю переднюю поверхность (46) по волнистой режущей кромке (50).
3. Фреза (10) по п.1, в которой резьбовое отверстие (44) проходит вниз от базовой поверхности (38) выборки (34), сквозное отверстие (62) выполнено между верхней передней поверхностью (46) и нижней поверхностью (56) режущей пластины (20), крепежный винт (64) проходит через сквозное отверстие (62) в режущей пластине и взаимодействует с резьбовым отверстием (44).
4. Фреза (10) по п.1, в которой промежуточная опорная поверхность (48) режущей пластины контактирует с опорной поверхностью (32) гнезда (26).
5. Фреза (10) по п.1, в которой зазор (66) выполнен между нижней поверхностью (56) выступа (52) и базовой поверхностью (38) выборки (34).
6. Фреза (10) по п.1, в которой зазор (68) выполнен между каждым углом (42) выборки и каждым смежным углом (60) выступа.
РИСУНКИ
|
|