|
|
(21), (22) Заявка: 2007148753/02, 17.05.2006
(24) Дата начала отсчета срока действия патента:
17.05.2006
(30) Конвенционный приоритет:
25.05.2005 IT UD2005A000085
(46) Опубликовано: 27.06.2009
(56) Список документов, цитированных в отчете о поиске:
WO 2005039793 A, 06.05.2005. SU 1733155 A1, 15.05.1992. SU 1761332 A1, 15.09.1992.
(85) Дата перевода заявки PCT на национальную фазу:
25.12.2007
(86) Заявка PCT:
EP 2006/004673 20060517
(87) Публикация PCT:
WO 2006/125557 20061130
Адрес для переписки:
103735, Москва, ул. Ильинка, 5/2, ООО “Союзпатент”, пат.пов. Л.С.Кишкиной
|
(72) Автор(ы):
КАСТЕЛЛАНИ Фредерико (IT)
(73) Патентообладатель(и):
С.И.М.А.К. С.П.А. (IT)
|
(54) МОТАЛКА ДЛЯ ПРОВОЛОКИ И МЕТАЛЛИЧЕСКИХ ПРУТКОВ
(57) Реферат:
Изобретение относится к моталке барабанного типа с вертикальной осью для проволоки или катанки. Моталка содержит щеку (4) основания, сектора (6) барабана, соответствующие сектора (7) верхней щеки и коаксиальное устройство (2). Щека (4) основания служит опорой для основания бухты. Сектора (6) барабана шарнирно (41) соединены с основанием, а их верхние части могут перемещаться, меняя форму барабана с цилиндрической для наматывания до сжатой конической для извлечения бухты. Сектора (7) верхней щеки с помощью шарниров (10) соединены с секторами (6) барабана в верхней части и выполнены с возможностью совместного перемещения с секторами барабана соответственно из горизонтального радиального положения в повернутое вверх положение для обеспечения извлечения бухты и обратно. Коаксиальное устройство (2) выполнено с возможностью перемещения в продольном направлении вдоль оси барабана и содержит устройство (61) с рычажным приводом и реечное устройство (22) перемещения секторов (6) барабана и секторов (7) щеки. При опущенном коаксиальном устройстве (2) рычаги (61) направлены вверх и отводят сектора (6) барабана, в то время как рейка (22) поворачивает сектора (7) вверх. При поднятом коаксиальном устройстве (2) рычаги (61) имеют возможность перемещения в основном в радиальное положение и выталкивания сектора (6) барабана наружу, в то время как рейка (22) осуществляет поворот от сектора (7) щеки вниз в основном в горизонтальное положение. 2 н. и 9 з.п. ф-лы, 3 ил.
Данное изобретение относится к моталкам для проволоки и металлических прутков в соответствии с преамбулой основной формулы.
Предпочтительной, но не ограничительной областью изобретения является автоматическое сматывание проволоки или металлических прутков со стана горячей прокатки в компактные бухты.
Естественно данная моталка может также использоваться и для других работ как в волочильных станах, так и в станах холодной прокатки, или даже для наматывания проволоки для дальнейшей обработки, например для линейной термообработки, поверхностной обработки и т.д.
Уровень техники
На текущем уровне техники известны моталки вышеупомянутого типа, в которых используются различные механизмы перемещения как для сжатия намоточного барабана, так и для открытия и закрытия открываемой щеки с целью извлечения бухты.
В патентах WO 2004/108317 A1 и WO 2005/039793 A описывается моталка для изделий, получаемых прокаткой, имеющая вертикально расположенный барабан, в котором щека основания используется как опора для основания бухты, сектора барабана, шарнирно соединенные с основанием, могут перемещаться, меняя форму барабана с цилиндрической формы для наматывания до сжатой конической формы, а соответствующие сектора верхней щеки, шарнирно соединенные с их основанием в верхней части барабана, могут перемещаться совместно с указанными секторами барабана соответственно из горизонтального радиального положения в положение, при котором они повернуты вверх для обеспечения возможности снятия бухты, и обратно при помощи коаксиального устройства, которое может перемещаться вдоль оси барабана для перемещения секторов барабана и секторов щеки из положения намотки в положение снятия бухты и обратно, и имеющая рычажное устройство (4112 в патенте WO 2004/108317 A1 и 16 в патенте WO 2005/039793 A) для перемещения указанных секторов барабана и последующего удерживания их при действии центробежных сил при намотке.
Эти механизмы обычно являются сложными и не надежными.
Задачей настоящего изобретения является устранение вышеупомянутых недостатков, а более конкретно усовершенствование системы перемещения (сжатия и расширения) барабана и (открытия и закрытия) внешней щеки моталки для обеспечения безопасного и надежного функционирования.
Раскрытие изобретения
Данная задача решается при помощи характеристик главного пункта формулы изобретения.
В подпунктах формулы изобретения приводятся предпочтительные решения.
Таким образом, получена простая конструкция моталки, которая является в высшей степени функциональной и надежной.
Данное изобретение станет более понятно из нижеследующего описания предпочтительного осуществления, снабженного прилагаемыми чертежами.
Краткое описание чертежей
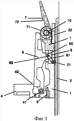
Фиг.1 – радиальный вид половины осевого сечения моталки, сектора барабана утоплены, сектора верхней щеки утоплены и повернуты вверх.
Фиг.2 – вид, аналогичный фиг.1, на котором как сектора барабана, так и сектора верхней щеки передвинуты в положение разматывания, т.е. барабан имеет цилиндрическую форму, а сектора щеки расположены горизонтально.
Фиг.3 – поперечный вид барабана на высоте промежуточного рычага, который перемещает указанные сектора барабана.
Подробное описание изобретения
В соответствии с вышеописанными фигурами изобретение в основном относится к моталкам для проволоки и металлических прутков барабанного типа с вертикальной осью, включающим в себя щеку (4) основания, на которую опирается основание бухты, сектора (6) барабана, шарнирно (41) соединенные с основанием, верхняя часть которых может перемещаться таким образом, что сектора, образующие цилиндр, при сжимании образуют конус, а также соответствующие сектора (7) верхней щеки, шарнирно соединенные с верхней частью (10), выполненной с возможностью перемещения совместно с секторами барабана соответственно из горизонтального радиального положения в повернутое вверх положение извлечения бухты и обратно, в которых для одновременного перемещения секторов (6) барабана и секторов (7) щеки используется коаксиальное устройство (2), выполненное с возможностью перемещения вдоль оси барабана, и которые включают в себя:
– установленное на шарнирах (21) рычажное устройство (61), которое при помощи шарниров (62) соединено с внутренним скользящим упорным башмаком (60) секторов (6) барабана, а также
– верхнее реечное устройство (22), которое находится в зацеплении с соответствующим зубчатым сектором (71), соосным с верхним шарниром (10), и скреплено с секторами (7) щеки.
Таким образом:
– когда коаксиальное устройство (2) опущено: рычаги (61) направлены вверх и отводят сектора (6) барабана, в то время как рейка (22) поворачивает сектора (7) щеки вверх;
– когда коаксиальное устройство (2) поднято: рычаги (61) перемещаются в основном в радиальное положение и выталкивают сектора (6) барабана наружу, в то время как рейка (22) поворачивает сектора (7) щеки вниз, т.е. в основном в горизонтальное положение.
Предпочтительно секторов четыре, но при малых диаметрах их может быть больше четырех, а при больших диаметрах даже три.
Еще более предпочтительно сектора (7) щеки имеют зуб (72), который при опускании входит в верхнюю часть секторов (6) барабана для предотвращения их дополнительного отведения под действием центробежной силы при вращении барабана. Таким образом, опасность несчастных случаев, связанных с большими центробежными массами, которые вращаются с большой скоростью, устраняется с большей функциональной надежностью.
На щеке (4) основания имеются сменные зубья (42) для зацепления передней части проволоки или прутка с целью образования первого витка путем зажатия между зубьями (42) и сектором (6) барабана.
Таким образом, система конструкции щеки основания упрощается и становится возможной намотка различных видов проволоки или прутка при помощи сменных зубьев.
Следует отметить, что сектора (6) барабана и сектора (7) щеки при помощи шарниров (10, 41) соединены с центральным вращающимся корпусом (1, 4) моталки. Таким образом, конструкция является особенно надежной и функциональной. Вращающийся корпус моталки состоит из кольцевой ступицы (1) и опорной щеки (4) основания, прикрепленной к нему на винтах. Таким образом, элементы, из которых состоит моталка, выполнены с возможностью полного снятия и замены.
На фигурах опорная и вращательная системы моталки не показаны, поскольку они не представляют сложности в изготовлении для специалиста в данной области техники и их конструкция хорошо известна. Также не показаны приспособления для осевого перемещения управляющих подвижных секторов (1), поскольку они тоже находятся в сфере компетенции специалиста в данной области техники, как и, например, гидроцилиндры, расположенные под несущим корпусом (1, 4).
Связь между рычагом (61) и соответствующим сектором барабана (6) осуществляется через шарнир, расположенный в прорези (60). Таким образом, имеется преимущество, состоящее в исключении жестких связей, при которых требуется большая степени подвижности шарнира, по этой причине прорезь выполнена с наклоном вверх, обеспечивающим приемлемый зазор.
Формула изобретения
1. Моталка для проволоки и металлических прутков барабанного типа с вертикальной осью, содержащая щеку (4) основания, на которую опирается основание бухты, сектора (6) барабана, шарнирно (41) соединенные с основанием и выполненные с возможностью перемещения от намоточной цилиндрической формы к сжатой конической форме, а также соответствующие сектора (7) верхней щеки, установленные на шарнирах (10) с возможностью перемещения совместно с секторами барабана соответственно из горизонтального радиального положения в повернутое вверх положение для извлечения бухты и наоборот, и коаксиальное устройство (2) для одновременного перемещения секторов (6) барабана и секторов (7) щеки, выполненное с возможностью перемещения в продольном направлении вдоль оси барабана и включающее установленное на шарнирах (21) рычажное устройство (61), соединенное при помощи шарнира (62) с внутренним скользящим упорным башмаком (60) секторов (6), и верхнее реечное устройство (22), находящееся в зацеплении с соответствующим зубчатым сектором (71), соосным с верхним шарниром (10) и скрепленным с секторами (7) щеки, при этом при опущенном коаксиальном устройстве (2) рычаги (61) направлены вверх и отводят сектора (6) барабана, в то время как рейка (22) поворачивает сектора (7) щеки вверх, а при поднятом коаксиальном устройстве (2) рычаги (61) имеют возможность перемещения в основном в радиальное положение и выталкивания сектора (6) барабана наружу, в то время как рейка (22) осуществляет поворот от сектора (7) щеки вниз, в основном в горизонтальное положение, отличающаяся тем, что сектора (7) щеки снабжены зубом (72), который при опускании входит в верхнюю часть секторов (6) барабана для предотвращения дополнительного расширения за счет действия центробежных сил при вращении барабана, а рычажное устройство (61) соединено при помощи шарнира (62) с внутренним скользящим упорным башмаком (60) секторов (6) барабана.
2. Моталка по п.1, отличающаяся тем, что в ней имеется четыре сектора (7) щеки и четыре сектора (6) барабана.
3. Моталка по п.1, отличающаяся тем, что в ней имеется три сектора (7) щеки и три сектора (6) барабана.
4. Моталка по п.1, отличающаяся тем, что в ней имеется больше четырех секторов (7) щеки и больше четырех секторов (6) барабана.
5. Моталка по п.1, отличающаяся тем, что в ней имеется больше четырех секторов (7) щеки и число секторов (6) барабана равно числу секторов щеки.
6. Моталка по п.1, отличающаяся тем, что в ней имеется больше четырех секторов (7) щеки и число секторов (6) барабана не равно числу секторов щеки.
7. Моталка по п.1, отличающаяся тем, что на щеке (4) основания имеются сменные зубья (42) для зацепления передней части прутка или проволоки для формирования первого витка путем его зажатия между зубьями (42) и сектором (6) барабана.
8. Моталка по п.1, отличающаяся тем, что сектора (6) барабана и сектора (7) щеки при помощи шарниров (10, 41) соединены с вращающимся центральным корпусом моталки.
9. Моталка по п.1, отличающаяся тем, что вращающийся центральный корпус моталки состоит из кольцевой ступицы (1) и опорной щеки (4) основания, соединенной с ним при помощи винтов.
10. Моталка по п.1, отличающаяся тем, что связь между рычагом (61) и соответствующим сектором (6) барабана осуществляется при помощи шарнирного соединения (62) с прорезью (60).
11. Прокатный агрегат для изготовления проволоки или металлических прутков, использующий, по меньшей мере, одну моталку по любому из пп.1-10.
РИСУНКИ
|
|