|
|
(21), (22) Заявка: 2008103886/15, 01.02.2008
(24) Дата начала отсчета срока действия патента:
01.02.2008
(46) Опубликовано: 27.06.2009
(56) Список документов, цитированных в отчете о поиске:
RU 2259890 С2, 10.09.2005. SU 1171095 А, 07.08.1985. ЕР 0356635 А2, 07.03.1990. GB 2199267 А, 06.07.1988.
Адрес для переписки:
614038, г.Пермь, ул. Ак. Веденеева, 28, ОАО НПО “Искра”
|
(72) Автор(ы):
Астраханцев Александр Игоревич (RU), Голдобин Сергей Михайлович (RU), Зинкин Игорь Александрович (RU), Мягких Юрий Петрович (RU)
(73) Патентообладатель(и):
Открытое акционерное общество Научно-производственное объединение “Искра” (RU)
|
(54) ВОЗДУХООЧИСТИТЕЛЬНОЕ УСТРОЙСТВО
(57) Реферат:
Изобретение относится к газоочистительным устройствам и может быть использовано для очистки атмосферного воздуха, подаваемого на вход газотурбинных установок. Устройство содержит установленные ярусами блоки циклонов с пылесборными камерами, снабженными пылеудаляющими механизмами и разгрузочными люками с крышками. Каждая пылесборная камера в зоне расположения разгрузочного люка снабжена дополнительной герметичной емкостью с разгрузочным люком, а сквозь стенку пылесборной камеры и/или дополнительной емкости проходят звенья привода, соединенные с крышкой разгрузочного люка пылесборной камеры и пылеудаляющими механизмами. Технический результат: очистка пылесборной камеры без нарушения герметичности полости, образованной пылесборной камерой и дополнительной емкостью, т.е. без нарушения работоспособности блока циклонов по очистке воздуха, поступающего в газотурбинные установки, повышение качества очистки воздуха. 1 ил.
Изобретение относится к газоочистительным устройствам и может быть использовано для очистки атмосферного воздуха, подаваемого на вход газотурбинных установок (ГТУ).
Известно воздухоочистительное устройство (ВОУ) по патенту 2092247, содержащее блоки циклонов, установленные ярусами. Каждый блок снабжен пылесборными камерами и разгрузочными люками с крышками.
Эксплуатация подобных устройств показала, что периодическая очистка пылесборных камер является трудоемкой и неудобной операцией из-за низкого свода пылесборных камер, а увеличение объема пылесборных камер приводит к увеличению габаритов и металлоемкости ВОУ.
Известно также ВОУ по патенту 2259890, в котором для ускорения процесса очистки на дне каждой пылесборной камеры размещены пылеудаляющие механизмы в виде поддонов из эластичного материала, передняя кромка которых закреплена в нижней части разгрузочного люка, а задняя кромка соединена тягами с верхней кромкой разгрузочного люка. Для удаления мусора из пылесборной камеры снимается крышка разгрузочного люка и производится вытягивание задней кромки поддона в разгрузочный люк, при этом пыль ссыпается с поддона в специальную тару.
Недостатком данного ВОУ является то, что:
– при вскрытии крышки разгрузочного люка происходит разгерметизация пылесборной камеры и блок циклонный, связанный с данной пылесборной камерой, прекращает производить очистку воздуха. Воздух, поступая в ГТУ по пути наименьшего сопротивления, засасывается непосредственно из пылесборной камеры вместе с частью находящейся в ней пыли. В связи с этим пылесборные камеры имеют сравнительно небольшую площадь для уменьшения количества циклонов, связанных с очищаемой камерой;
– все работы по очистке пылесборных камер выполняются со стороны входа атмосферного воздуха в блоки циклонные, расположенные рядом с очищаемой пылесборной камерой. Поэтому в процессе очистки одной пылесборной камеры происходит ускоренное заполнение пылью рядом расположенных пылесборных камер;
– при форс-мажорных обстоятельствах, например при снежной метели, происходит одновременное переполнение всех пылесборных камер. Для поочередной очистки всех пылесборных камер требуется много времени, в течение которого ГТУ потребляет неочищенный воздух через байпасные клапана (в обход блоков циклонов). Чем чаще выполняется очистка пылесборных камер, тем больше неочищенного воздуха поступает в ГТУ.
Технической задачей настоящего изобретения является устранение указанных недостатков.
Технический результат достигается тем, что в известном ВОУ, содержащем установленные ярусами блоки циклонов с пылесборными камерами, оснащенными пылеудаляющими механизмами и разгрузочными люками с крышками, пылесборные камеры снабжены дополнительной герметичной емкостью с разгрузочным люком, охватывающей разгрузочный люк пылесборной камеры, а сквозь стенку пылесборной камеры и (или) дополнительной емкости проходят звенья привода, соединенные с крышкой разгрузочного люка пылесборной камеры и пылеудаляющими механизмами.
Введение дополнительной герметичной емкости с разгрузочным люком, охватывающей разгрузочный люк пылесборной камеры, и звеньев привода, проходящих сквозь стенку пылесборной камеры и (или) дополнительной емкости и соединенных с крышкой разгрузочного люка пылесборной камеры и пылеудаляющими механизмами, позволяет открывать крышку разгрузочного люка пылесборной камеры и производить ее очистку (с помощью пылеудаляющего механизма) в дополнительную емкость без нарушения герметичности полости, образованной пылесборной камерой и дополнительной емкостью, т.е. без нарушения работоспособности блока циклонов по очистке воздуха, поступающего в ГТУ.
В свою очередь, это позволяет:
– увеличить поперечные размеры (площадь) пылесборной камеры и уменьшить количество разгрузочных люков в ВОУ;
– производить постоянную очистку пылесборных камер при возникновении форс-мажорных обстоятельств (в виде снежных метелей) без введения крупногабаритных защитных козырьков;
– выполнять в дополнительной емкости разгрузочный люк, удобный для проведения ее очистки, например, с помощью сменных пакетов, т.к. форма и расположение разгрузочного люка дополнительной емкости не зависит от формы и размеров пылесборной камеры и пылеудаляющих механизмов. Это уменьшает возможность затягивания выгружаемой пыли обратно в блоки циклонов.
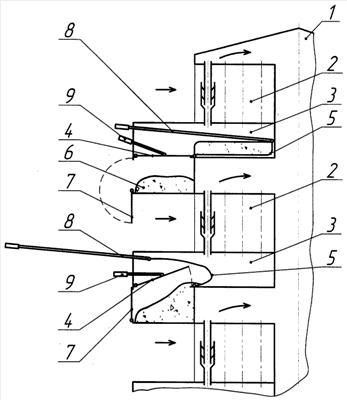
На чертеже изображено предлагаемое ВОУ в разрезе с пылеудаляющими механизмами.
ВОУ состоит из корпуса 1, блоков циклонных 2, пылесборных камер 3 с разгрузочными люками 4, пылеудаляющих механизмов в виде эластичного поддона 5, дополнительных емкостей 6 с разгрузочными люками и крышками 7, звеньев 8 для привода пылеудаляющего механизма 5 и звеньев 9 для привода крышек 4, проходящих через стенку пылесборной камеры 3.
Предлагаемая ВОУ работает следующим образом.
На примере верхнего яруса блока циклонов видно, что атмосферный воздух проходит через блоки циклонов 2 и уже очищенный поступает во внутреннюю полость корпуса 1. Пыль из циклонных блоков скапливается на эластичном поддоне 5, расположенном внутри пылесборной камеры 3. В процессе очистки воздуха разгрузочный люк пылесборной камеры закрыт крышкой 4. При этом крышка 7 разгрузочного люка дополнительной емкости 6 может быть открыта для удаления имеющейся в емкости пыли.
На примере нижнего яруса блока циклонов видно, что для очистки пылесборной камеры необходимо закрыть крышку 7 разгрузочного люка дополнительной емкости и звеном 9 открыть крышку 4 разгрузочного люка пылесборной камеры 3. При этом полость, образованная дополнительной емкостью 6 и пылесборной камерой 3, остается герметичной и работа блока циклонов по очистке воздуха от пыли не прекращается. Вытягивая звеном 8 заднюю кромку поддона 5, производится перемещение пыли из пылесборной камеры в дополнительную емкость 6. Обратным движением звена 8 поддон 5 устанавливается на прежнее место. Крышка 4 должна быть обязательно закрыта только при очистке дополнительной емкости от пыли, что позволяет производить регулярную очистку пылесборной камеры, не закрывая крышку 4.
При использовании других типов разгрузочных механизмов, позволяющих использовать электрический привод, работа по очистке пылесборных камер может выполняться без участия человека.
Таким образом, использование предлагаемой конструкции ВОУ позволяет повысить качество очитки воздуха, поступающего в ГТУ, так как процесс очистки ВОУ от пыли не отражается на работе блоков циклонов и, при необходимости, очистка ВОУ от пыли может выполняться непрерывно.
Формула изобретения
Воздухоочистительное устройство, содержащее установленные ярусами блоки циклонов с пылесборными камерами, оснащенными пылеудаляющими механизмами и разгрузочными люками с крышками, отличающееся тем, что в нем пылесборные камеры снабжены дополнительной герметичной емкостью с разгрузочным люком, охватывающей разгрузочный люк пылесборной камеры, а сквозь стенку пылесборной камеры и/или дополнительной емкости проходят звенья привода, соединенные с крышкой разгрузочного люка пылесборной камеры и пылеудаляющими механизмами.
РИСУНКИ
|
|