|
|
(21), (22) Заявка: 2007147683/15, 20.12.2007
(24) Дата начала отсчета срока действия патента:
20.12.2007
(46) Опубликовано: 27.06.2009
(56) Список документов, цитированных в отчете о поиске:
SU 436671 А, 24.12.1974. SU 1011222 А, 15/04/1983. RU 2031698 С1, 27.03.1995. SU 1651941 А1, 30.05.1991. CZ 4076 U1, 17.01.1996. US 4697929 А, 06.11.1987.
Адрес для переписки:
460028, Оренбургская обл., г. Оренбург, ул. Ворошилова, 6, кв.64, А.В.Тугову
|
(72) Автор(ы):
Тугов Александр Васильевич (RU)
(73) Патентообладатель(и):
Тугов Александр Васильевич (RU)
|
(54) ПЕРЕМЕШИВАЮЩЕЕ УСТРОЙСТВО
(57) Реферат:
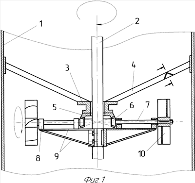
Изобретение может быть использовано для производства эмульсий, масел, смазок и антикоррозийных покрытий. Перемешивающее устройство содержит турбины 10 на радиально направленных валах-сателлитах 7, закрепленных на консолях 9 корпусами подшипников 8. Вращаясь вместе с центральным валом 2, турбины приобретают вращение через конические шестерни 6 от конического колеса 5, установленного концентрично центральному валу 2 на фланце 3, закрепленном распорками 4 к корпусу 1. Турбины создают центробежные потоки перемешиваемой массы, часть которых за счет наклона лопастей турбин направляются вдоль оси валов-сателлитов от периферии к центру, обеспечивая активное перемешивание во всех направлениях, препятствуя закручиванию массы и образованию воронки. В зависимости от высоты мешалки перемешивающее устройство может устанавливаться на нескольких уровнях. Изобретение позволяет повысить интенсивность перемешивания и эффективнее использовать прикладываемую мощность. 2 ил.
Изобретение относится к устройствам планетарного типа, используемым для производства эмульсий, масел, смазок и антикоррозионных покрытий. Известны планетарные мешалки SU 1011222 A, SU 1459701 А2 и SU 436671, последняя из них является наиболее близким аналогом. Она состоит из корпуса, центрального вала с лопастями, на которых закреплены полые валы-сателлиты, отогнутые в противоположные стороны, внутри которых размещены соединенные с планетарным редуктором гибкие валы, снабженные дисками. Недостатками такой конструкции являются: значительные габариты планетарного редуктора и значительная суммарная площадь лопастей и полых валов с дисками, что способствует раскручиванию перемешиваемой массы, созданию условий, при которых активность перемешивания снижается от периферии мешалки к ее центру, и образованию воронки, мешающей полной загрузке мешалки.
Цель изобретения: повышение интенсивности перемешивания, упрощение конструкции и уменьшение габаритов редуктора.
Это достигается тем, что турбины, вращаясь на радиально направленных валах-сателлитах со скоростью вращения в 4-6 раз больше принимаемой от центрального вала, вращаясь с ним, создают центробежные потоки перемешиваемой массы, часть которых за счет наклона лопастей турбин направляются вдоль оси вращения валов-сателлитов от периферии перемешивающего устройства к его центру, обеспечивая активное перемешивание во всех направлениях, препятствуя закручиванию массы и образованию воронки, что позволяет более эффективно использовать прикладываемую мощность.
На фиг.1 показано перемешивающее устройство, общий вид; на фиг.2 показан вариант его использования. Устройство состоит из корпуса 1, центрального вала 2, фланца 3, распорок 4, конического колеса 5, конических шестерен 6, валов-сателлитов 7, корпусов подшипников 8, консолей 9, турбин 10.
Перемешивающее устройство работает следующим образом.
При вращении центрального вала 2 вместе с ним вращаются закрепленные на нем консоли 9, выполненные из пластин, плоскости которых лежат в плоскости вращения центрального вала для снижения гидродинамического сопротивления, на них корпусами подшипников 8 закреплены радиально направленные валы-сателлиты 7. Конические шестерни 6, закрепленные на валах-сателлитах, обкатываясь по коническому колесу 5, установленному на торце фланца 3 и закрепленному опорами 4, за стенки корпуса, приобретают вращение и передают на турбины 10, которые, вращаясь с центральным валом, создают центробежные потоки перемешиваемой массы, часть которых за счет наклона лопастей турбин направляются вдоль оси вращения валов сателлитов от периферии к центру.
На фиг.2 показано, как в зависимости от высоты перемешивающего устройства валы-сателлиты могут устанавливаться на нескольких уровнях, обеспечивая активное и всестороннее перемешивание по всему объему.
Формула изобретения
Перемешивающее устройство, содержащее корпус, центральный вал, валы-сателлиты, отличающееся тем, что валы-сателлиты установлены радиально относительно центрального вала, на валах-сателлитах установлены турбины, которые приобретают вращение через конические шестерни от конического колеса, установленного концентрично центральному валу и закрепленного распорками к корпусу мешалки, при этом турбины вращаются вместе с центральным валом по окружности.
РИСУНКИ
|
|