|
|
(21), (22) Заявка: 2008104738/15, 07.02.2008
(24) Дата начала отсчета срока действия патента:
07.02.2008
(46) Опубликовано: 27.06.2009
(56) Список документов, цитированных в отчете о поиске:
RU 2309792 С1, 10.11.2007. RU 2222517 С1, 27.01.2004. RU 2176229 С1, 27.11.2001. US 5028141 А, 02.07.1991. US 3262680 А, 26.07.1966. US 4410378 А, 18.10.1983.
Адрес для переписки:
614113, г.Пермь, ул. Чистопольская, 16, ФГУП “Научно-исследовательский институт полимерных материалов”
|
(72) Автор(ы):
Гатаулин Исак Гасинович (RU), Замахаев Юрий Васильевич (RU), Ковтун Виктор Евгеньевич (RU), Носков Виталий Егорович (RU), Исупов Владимир Леонидович (RU), Овчинников Анатолий Иванович (RU)
(73) Патентообладатель(и):
Федеральное государственное унитарное предприятие “Научно-исследовательский институт полимерных материалов” (RU)
|
(54) ВЕРТИКАЛЬНЫЙ СМЕСИТЕЛЬ
(57) Реферат:
Изобретение относится к области смешения взрывчатых составов, в том числе порохов и твердых ракетных топлив. Устройство включает вертикальный смеситель, содержащий планетарный редуктор, приводы мешалок и водила, две пары винтовых самоочищающихся мешалок, оси которых расположены в одной вертикальной плоскости. Смеситель содержит сменные чаши с тележками, гидроцилиндр подъема сменной чаши, устройство для установки и снятия мешалок, включающее водило с винтовыми домкратами для вертикального перемещения каждой мешалки. Приводы домкратов выполнены ручными в виде редукторов с конической передачей с соотношением числа зубьев шестерни и колеса в редукторе 1:3 1:5, со штурвалами на концах приводных валов. Приводные валы домкратов выведены перпендикулярно плоскости, проходящей через валы мешалок по два с каждой стороны в шахматном порядке. Изобретение обеспечивает удобство обслуживания и надежность смесителя. 6 ил.
Изобретение относится к области смешения взрывчатых составов, в том числе порохов и твердых ракетных топлив.
Смеситель предназначен для смешения порошкообразных и жидковязких компонентов взрывчатого состава.
Известен вертикальный смеситель патент РФ 2309792, принятый за прототип, содержащий планетарный редуктор, приводы мешалок и водила, лопастные винтовые самоочищающиеся мешалки, сменные чаши с тележками, гидроцилиндр подъема сменной чаши. При этом смеситель снабжен устройством для установки и снятия мешалок, содержащим основание, установленное на тележке вместо чаши соосно со смесителем и гидроцилиндром подъема сменной чаши, на верхней части основания размещена вертикальная ось, на которой установлено водило устройства с возможностью поворота вокруг этой оси, в нижней части основания выполнено посадочное место для головки штока гидроцилиндра подъема чаши. На водиле установлено ограждение для вертикального расположения мешалок и винтовые домкраты для каждой мешалки.
Основными преимуществами указанной конструкции является:
– возможность дистанционного съема мешалок с валов планетарного редуктора;
– упрощение процесса центровки мешалок перед насадкой их на валы редуктора;
– исключение чрезмерного силового воздействия на валы планетарного редуктора при посадке на них мешалок за счет исключения использования для этой цели гидроцилиндра подъема чаши.
Указанные преимущества позволяют успешно эксплуатировать эти устройства в вертикальных смесителях с одной парой мешалок и при относительно небольших габаритах мешалок.
Однако в случае применения смесителей с двумя парами мешалок, как, например, в устройстве по патенту РФ 2222517, использование приведенного выше устройства затруднено по следующим причинам:
– расположение 4-х домкратов в линию на крайне ограниченном расстоянии между осями мешалок создает неудобства при работе с домкратами;
– в случае применения мешалок с большими диаметрами и соответственно большей длиной посадочных мест посадка мешалок на вал требует значительных усилий, недостижимых при использовании привода перемещения винта домкрата по патенту РФ 2309792.
Техническим результатом предлагаемого изобретения является:
– обеспечение удобства обслуживания домкратов за счет конструкции и расположения их приводных устройств;
– повышение усилия посадки мешалок на валы за счет применения редукторов с конической передачей;
– обеспечение контроля качества посадки мешалок по валам за счет применения ручного привода;
– равномерное распределение нагрузок за счет симметричного относительно оси смесителя расположения механизмов.
Указанный технический результат достигается тем, что в вертикальном смесителе, в устройстве для установки и снятия мешалок, приводы домкратов выполнены ручными в виде редукторов с конической передачей с соотношением числа зубьев шестерни и колеса в редукторе 1:3 1:5, со штурвалами на концах приводных валов, а приводные валы домкратов выведены перпендикулярно плоскости, проходящей через валы мешалок по два с каждой стороны в шахматном порядке.
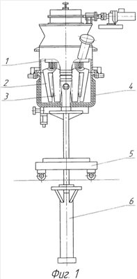
Предлагаемый вертикальный смеситель без установки устройства для установки и снятия мешалок изображен на фиг.1. Вертикальный смеситель состоит из планетарной зубчатой передачи привода рабочих органов (планетарного редуктора) 1, двух пар лопастных винтовых самоочищающихся мешалок 2, 3, сменной чаши 4, тележки 5, гидроцилиндра 6 подъема чаши. Вертикальные оси всех мешалок лежат в одной плоскости.
На фиг.2 изображено устройство для установки и снятия мешалок в положении, предшествующем установке мешалок. Устройство состоит из основания 7, которое центрируется в посадочном гнезде кольца 8 тележки, предназначенном для установки сменной чаши. Для вертикального перемещения мешалок на водиле 9 устройства установлены четыре винтовых домкрата 10, размещенных вертикально в соответствии с координатами осей мешалок в планетарном редукторе. Мешалки при этом размещены в специальном ограждении 11.
На фиг.3 изображена посадка водила на ось 12 основания для возможности свободного поворота водила с использованием упорного подшипника 13.
На фиг.4 изображен винтовой домкрат, состоящий из опорной пяты 14, упорного подшипника 15, кольца которого расположены дорожками качения наружу; при этом упорная плита имеет возможность свободного перемещения в пределах размера «а». Для вращения винтовой втулки 16 по винту 17 имеется привод в виде редуктора с конической передачей, состоящий из штурвала 18 с рукояткой, конической шестерни 19, конического колеса 20. Для увеличения грузоподъемности домкрата соотношение числа зубьев шестерни и зубчатого колеса составляет 1:3 1:5. Большее соотношение может привести к невозможности размещения зубчатых колес в межосевом пространстве из-за увеличения их диаметра.
На фиг.5 изображен вид на устройство сверху при неустановленных мешалках. Ограждения 11 имеют внутренние диаметры «D» на 1 3 мм больше диаметров мешалок, что позволяет свободно устанавливать мешалки на опорные пяты винтового домкрата и удерживать их в вертикальном положении.
На фиг.6 показано устройство в процессе сборки мешалок, когда мешалка 3 собрана, а мешалка 2 находится от выходного вала планетарного редуктора на расстоянии «d», до которого мешалки поднимаются штоком гидроцилиндра 6 при сборке, или опускаются домкратом при разборке.
Работа предлагаемого устройства осуществляется следующим образом. После окончания процесса смешения чаша 4 (фиг.1) с помощью гидроцилиндра 6 опускается на тележку 5 и увозится на фазу формования изделий. Мешалки 2, 3 очищаются от остатков продукта. Чаша снимается с тележки и в посадочное кольцо 8 тележки устанавливается основание 7 устройства установки и снятия мешалок. Винтовые домкраты 10, установленные на водиле 19 устройства, находятся в состоянии, когда опорная пята 14 (фиг.4) каждого домкрата опущена в крайнее нижнее положение. Далее устройство на тележке транспортируется под смеситель и центрируется так, что вертикальная ось 12 (фиг.3) основания устройства устанавливается соосно центральной оси планетарного редуктора и оси гидроцилиндра подъема чаши. Затем гидроцилиндром подъема чаши устройство поднимается на такую высоту, чтобы расстояние от опорной плиты домкрата до нижнего торца мешалки составляло величину «с» (фиг.5). Перед подъемом устройство должно быть отцентрировано таким образом, чтобы они входили в ограждение 11 (фиг.2) с зазором путем поворота водила 9 (фиг.2), или поворотом планетарного редуктора. Совмещение достигается легко за счет того, что межосевое расстояние «в» (фиг.5) между осями ограждений равно межосевому расстоянию между мешалками в планетарном редукторе, также как и расстояние «с» осей ограждений от центральной оси равно расстоянию от осей мешалок 3 (фиг.1) до центральной оси смесителя.
Далее опорные пяты винтовых домкратов поднимаются до упора в торцы мешалок, мешалки открепляются от валов планетарного редуктора и домкратом опускаются на величину «d» (фиг.5) под собственным весом. Работа производится вручную, что позволяет контролировать процесс съема и избежать «закусывания» мешалок на валах с последующими падением. Расположение приводных штурвалов по разные стороны устройства в шахматном порядке помогает ускорить процесс за счет одновременной работы двух и более домкратов. Далее мешалки совместно с устройством опускаются гидроцилиндром в нижнее положение и на тележке отвозятся в помещение для последующих операций (окончательной чистки, мойки, ремонта и т.п.).
Процесс сборки мешалок ведется аналогично описанному в обратном порядке. Мешалки 2, 3 (фиг.6) поднимаются гидроцилиндром, не доходя на величину «а» до торцов валов планетарного редуктора (величина «d» устанавливается опытным путем). После грубой ориентировки осей валов мешалок и планетарного редуктора производится подъем мешалок домкратами вплотную к валам планетарного редуктора и точная настройка осей валов мешалок и планетарного редуктора, а также шпонок и шпоночного паза за счет того, что опорная пята 14 (фиг.4), на которой стоит мешалка, находится на упорном подшипнике 15, позволяющем легко двигаться во всех направлениях в горизонтальной плоскости на величину, ограниченную размером «а».
Формула изобретения
Вертикальный смеситель, содержащий планетарный редуктор, приводы мешалок и водила, две пары винтовых самоочищающихся мешалок, оси которых расположены в одной вертикальной плоскости, сменные чаши с тележками, гидроцилиндр подъема сменной чаши, устройство для установки и снятия мешалок, включающее водило с винтовыми домкратами для вертикального перемещения каждой мешалки, отличающийся тем, что приводы домкратов выполнены ручными в виде редукторов с конической передачей с соотношением числа зубьев шестерни и колеса в редукторе 1:3 – 1:5, со штурвалами на концах приводных валов, а приводные валы домкратов выведены перпендикулярно плоскости, проходящей через валы мешалок по два с каждой стороны в шахматном порядке.
РИСУНКИ
|
|