|
|
(21), (22) Заявка: 2007126823/15, 13.12.2005
(24) Дата начала отсчета срока действия патента:
13.12.2005
(30) Конвенционный приоритет:
14.12.2004 JP 2004-361354
(43) Дата публикации заявки: 27.01.2009
(46) Опубликовано: 27.06.2009
(56) Список документов, цитированных в отчете о поиске:
JP 2003-513784 А, 15.04.2003. JP 2001-205054 А, 31.07.2001. JP 2002-346345 А, 12.03.2002. SU 1498531 А1, 07.08.1989.
(85) Дата перевода заявки PCT на национальную фазу:
16.07.2007
(86) Заявка PCT:
JP 2005/022884 20051213
(87) Публикация PCT:
WO 2006/064808 20060622
Адрес для переписки:
129090, Москва, ул. Б.Спасская, 25, стр.3, ООО “Юридическая фирма Городисский и Партнеры”, пат.пов. А.В.Мицу
|
(72) Автор(ы):
ХАСИМОТО Томотака (JP), ОКАМУРА Дайсуке (JP)
(73) Патентообладатель(и):
АСАХИ КАСЕИ КЕМИКАЛЗ КОРПОРЕЙШН (JP)
|
(54) МЕМБРАННЫЙ КАРТРИДЖ ИЗ ПОЛЫХ ВОЛОКОН
(57) Реферат:
Мембранный картридж из полых волокон включает пучок, состоящий из множества мембран из полых волокон и расположенный в вертикальном направлении в иммерсионной ванне, и адгезионные фиксирующие слои для адгезии и фиксирования мембранного пучка из полых волокон с обоих концов, при этом форма адгезионных фиксирующих слоев выбирается из группы, состоящей из треугольников, прямоугольников, шестиугольников, и полые участки мембран из полых волокон являются открытыми по меньшей мере на одном конце верхнего адгезионного фиксирующего слоя, при этом мембранный пучок из полых волокон находится в виде множества пучков на границе фильтрационного участка верхнего адгезионного фиксирующего слоя и разделяется на множество маленьких пучков между нижним адгезионным фиксирующим слоем и верхним адгезионным фиксирующим слоем. Изобретение позволяет предотвращать скопление сгустков ила и загрязнителей на картридже мембраны из полых волокон при минимально необходимом количестве аэрации. 3 з.п. ф-лы, 5 ил.
Область техники, к которой относится изобретение
Настоящее изобретение относится к погружному типу мембранного картриджа, с применением из полых волокон мембраны, размещенной в фильтровальном устройстве всасывающего типа, или погружному фильтровальному устройству. Более точно, настоящее изобретение относится к мембранному картриджу из полых волокон, применяемому для фильтрующего устройства, которое удаляет мутность и бактерии из неочищенной воды, например речной воды, озерной воды, подземной воды, морской воды, бытовой сточной воды, промышленной сточной воды или предварительно очищенной сточной воды, для устройства мембранного разделения активированного ила для выполнения разделения активированного ила на твердую и жидкую фазы активированного ила, посредством мембраны или отделения ценных предметов от не представляющих ценности объектов.
Предыдущий уровень техники
В качестве способа обработки сточной воды существует способ мембранного разделения активированного ила, включающий мембранный картридж, погруженный в емкость с активированным илом и выполняющий разделение на твердую и жидкую фазы активированного ила и предварительно обработанной воды. Данный способ предусматривает концентрирование активированного ила (MLSS: Mixed Liquor Suspended Solid) для получения высоких значений от 5000 до 20000 мг/л в процессе фильтрования. Это обеспечивает преимущество в том, что позволяет уменьшить емкость сосуда для активированного ила и обеспечивает возможность сократить время реакции в сосуде с активированным илом. Дополнительно, фильтрование с мембраной предотвращает суспендирование твердых частиц (SS) из смеси в обработанной воде, таким образом, исключая необходимость в заключительной стадии седиментации в емкости. Это обеспечивает возможность уменьшить площадь конструкции оборудования для очистки и провести фильтрование, не обращая внимания на то, отстоялся или нет должным образом активированный ил. Таким образом, этот способ имеет преимущества в том, что, например, снижается нагрузка на управление обработкой активированного ила. Вследствие этого, в последние годы способ мембранного разделения активированного ила стал быстро распространяться.
Если для мембранного картриджа применяются мембраны из полых волокон, высокая прочность мембраны не дает поверхности мембраны повреждаться от контакта с загрязнителями, содержащимися в сточной воде. Таким образом, мембранный картридж может применяться в течение длительного периода. Более того, эта конструкция имеет преимущество в том, что способна к обратной промывке при обратном фильтровании, т.е. введение среды, такой как очищенная вода, в направлении, противоположном направлению, в котором ведется фильтрование для того, чтобы удалить засорения с поверхности мембраны. В этом случае, однако, эффективная площадь мембраны может уменьшаться, во время проведения фильтрования, поскольку включенные сгустки активированного ила, а также загрязнители из сточной воды собираются в пространстве между полыми волокнами мембранами. В результате эффективность фильтрования снижается, и, таким образом, создается препятствие для поддерживания стабильного фильтрования в течение длительного времени.
Традиционно, для предотвращения скапливания ила или подобного на поверхности мембран из полых волокон или между мембранами из полых волокон применяется следующий способ. А именно, аэрация воздухом или чем-либо подобным выполняется из нижнего участка мембранного картриджа, и сгустки активированного ила, а также загрязнители, привнесенные из сточной воды на поверхность мембраны из полых волокон или между мембранами из полых волокон, удаляются под действием колебаний мембраны и за счет эффекта перемешивания при движении пузырьков вверх, и, тем самым, предотвращается скапливание ила. Например, нижнее кольцо (или его часто называют юбкой) расположено в нижнем участке мембранного картриджа из полых волокон, и множество сквозных отверстий образуется на обращенной к низу стороне кольцевого адгезионного фиксирующего слоя для того образования воздушного слоя в торце нижнего кольца, выступающего из нижнего кольца, посредством аэрации из нижнего участка картриджа. Таким образом, пузырьки постоянно вырабатываются из множества сквозных отверстий, и мембраны из полых волокон испытывают колебания, так что суспендированный материал, осаждающийся на внешнюю поверхность мембран, легко удаляется. (Например, ссылка на патентный документ 1).
Согласно этому способу, когда фильтруются высокие концентрации MLSS, например в случае способа мембранного отделения активированного ила, существует эффект удаления ила в пространстве между пучками мембран из полых волокон в результате перемешивания с помощью аэрации и колебаний мембраны. Однако сила, повышающая скопление активированного ила или загрязнителей, действует благодаря подъему пузырьков, и удаленный ил проходит к участку, расположенному рядом с адгезионным фиксирующим слоем, и его не так легко удалить с внешней стороны мембранного пучка. Более того, мембрана из полых волокон, расположенная рядом с адгезионным фиксирующим слоем, имеет маленькую амплитуду колебаний, и, следовательно, невозможно эффективно удалить наслоения загрязнений с поверхности мембраны, и существует проблема в том, что поверхность полого волокна засоряется, поскольку ил скапливается между мембранами (патентный документ 1 JP-A-2000-157846).
Раскрытие изобретения
Проблемы, которые решаются с помощью изобретения
Задачей настоящего изобретения является создание картриджа мембраны из полых волокон для предотвращения скопления сгустков ила и загрязнителей на картридже мембраны из полых волокон при минимально необходимом количестве аэрации, имеющего стабильную фильтрующую функцию в течение длительного периода.
Средства для решения проблемы
В качестве результата, в процессе исследования было установлено, что применение следующей конструкции для мембранного картриджа из полых волокон формирует канал сброса загрязненного ила и сгустки ила, и загрязнители удаляются с внешней стороны мембранного картриджа без скапливания между мембранами из полых волокон мембранного картриджа, и применение такой конструкции было осуществлено в настоящем изобретении.
То есть настоящее изобретение описывается ниже.
(1) Мембранный картридж из полых волокон включает мембранный пучок из полых волокон, состоящий из множества мембран из полых волокон и расположенный в вертикальном направлении в иммерсионной ванне; и адгезионные фиксирующие слои для адгезии и фиксирования мембранного пучка из полых волокон с обоих концов, при этом форма адгезионных фиксирующих слоев выбирается из группы, состоящей из треугольников, прямоугольников, шестиугольников, и полые участки мембран из полых волокон являются открытыми по меньшей мере на одном торце верхнего адгезионного фиксирующего слоя, и мембранный пучок из полых волокон находится в виде множества маленьких пучков на границе фильтрационного бокового участка верхнего адгезионного фиксирующего слоя.
(2) Мембранный картридж из полых волокон, описанный выше в (1), в котором форма адгезионных фиксирующих слоев для адгезии и фиксирования мембранного пучка из полых волокон с обоих торцов является прямоугольной, и мембранный пучок из полых волокон разделяется на множество маленьких пучков между нижним адгезионным фиксирующим слоем и верхним адгезионным фиксирующим слоем.
(3) Мембранный картридж из полых волокон, описанный выше в (1), в котором в множестве маленьких пучков мембран из полых волокон на границе фильтрационного бокового участка верхнего адгезионного фиксирующего слоя расстояние между ближайшими мембранами из полых волокон составляет менее 2 мм в каждом маленьком пучке, и число мембран из полых волокон, составляющих каждый маленький пучок, составляет 10-1000, и расстояние между ближайшими маленькими пучками составляет 2-100 мм или менее.
(4) Мембранный картридж из полых волокон, описанный выше в (1), в котором верхний и нижний адгезионный фиксирующий слой включает смолу, соответственно, и твердость (измеренная в соответствии с JIS K6253 – Японский промышленный стандарт) смолы на границе(-ах) фильтрационного участка одного или обоих адгезионных фиксирующих слоев составляет 20 условных единиц по шкале твердости А или более и 90 условных единиц по шкале твердости А или менее.
Преимущества изобретения
Настоящее изобретение обеспечивает возможность предотвратить скопление ила на поверхности мембраны из полых волокон и осуществлять стабильное фильтрование в течение длительного периода.
Краткое описание чертежей
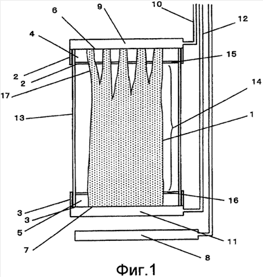
Фиг.1 представляет собой изображение в разрезе, показывающее предпочтительный вариант осуществления изобретения мембранного картриджа из полых волокон настоящего изобретения;
Фиг.2(а)-2(с) представляют собой упрощенные схемы структур пучков мембранного картриджа из полых волокон настоящего изобретения, и Фиг.2(d) представляет собой структуру пучков мембранного картриджа из полых волокон, не включенную в настоящее изобретение;
Фиг.3(a) и 3(b) представляют собой изображения в разрезе, показывающие предпочтительный вариант осуществления мембранного картриджа из полых волокон настоящего изобретения; соответственно, Фиг.3(a) показывает пример, в котором секция подачи пузырьков связана с мембранным картриджем, и Фиг.3(b) показывает пример, в котором секция подачи пузырьков отделена от мембранного картриджа;
Фиг.4(a), 4(b) и 4(c) представляют собой упрощенные схемы, показывающие предпочтительный вариант осуществления расположения мембраны из полых волокон на границе боковой секции фильтрационной поверхности верхнего адгезионного фиксирующего слоя мембранного картриджа из полых волокон настоящего изобретения, соответственно; и
Фиг.5(а) представляет собой упрощенную схему, показывающую кассету с наматываемой мембраной из полых волокон из примера 1;
Фиг.5(b) представляет собой упрощенную схему, показывающую картридж, на котором формируется структура из малых пучков посредством изменения шага намотки с обоих концов во время намотки;
Фиг.5(с) представляет собой упрощенную схему, показывающую относительное пространственное расположение кассеты и рамы и верхний срез адгезионного фиксирующего слоя;
Фиг.5(d) представляет собой упрощенную схему, показывающую предпочтительный вариант осуществления изобретения по расположению мембранного пучка из полых волокон на границе верхнего адгезионного фиксирующего слоя, который является открытым благодаря разрезанию;
Фиг.5(e) представляет собой упрощенную схему, показывающую предпочтительный вариант осуществления изобретения по расположению мембранного пучка из полых волокон на границе нижнего адгезионного фиксирующего слоя, который является открытым благодаря разрезанию.
Описание ссылочных позиций
1: Мембранный пучок из полых волокон
2: Верхний адгезионный фиксирующий участок
3: Нижний адгезионный фиксирующий участок
4: Верхний адгезионный фиксирующий слой
5: Нижний адгезионный фиксирующий слой
6: Торцевая поверхность верхнего адгезионного фиксирующего слоя
7: Торцевая поверхность нижнего адгезионного фиксирующего слоя
8: Входное отверстие для пузырьков
9, 11: Водосборный бассейн
10, 12: Стоковая труба
13: Боковая стенка
14: Фильтрационный участок
15: Граница фильтрационного участка верхнего адгезионного фиксирующего слоя
16: Граница фильтрационного участка нижнего адгезионного фиксирующего слоя
17: Маленький пучок
18: Сквозное отверстие
19: Юбка
20: Нагнетающее газ отверстие
21: Трубка для наматывания
22: Мембрана из полых волокон
23: Кожух
24: Уретановая смола
25: Уретановая смола
26: Поверхность разреза
Лучший способ выполнения изобретения
На Фиг.1 показан пример, демонстрирующий конструкцию мембранного картриджа из полых волокон настоящего изобретения. Мембранный картридж из полых волокон имеет мембранный пучок 1 из полых волокон, состоящий из множества мембран из полых волокон и верхнего адгезионного фиксирующего участка 2 и нижнего адгезионного фиксирующего участка 3 на обоих концах мембранного пучка 1 из полых волокон, при этом мембраны из полых волокон фиксируются с помощью верхнего адгезионного фиксирующего слоя 4 и нижнего адгезионного фиксирующего слоя 5. Мембраны из полых волокон открываются на торцевой поверхности 6 верхнего адгезионного фиксирующего слоя, и они могут открываться или могут не открываться на торцевой поверхности 7 нижнего адгезионного фиксирующего слоя. Более предпочтительной является конструкция, в которой мембраны из полых волокон открываются только на торцевой поверхности 6 верхнего адгезионного фиксирующего слоя и не открываются на торцевой поверхности 7 нижнего адгезионного фиксирующего слоя, поскольку такая конструкция обеспечивает возможность исключить расположенный внизу водосборный бассейн, а также вспомогательное устройство.
Канал 8 подачи пузырьков, предназначенный для аэрирования мембран из полых волокон, может интегрироваться, а может и не интегрироваться с мембранным картриджем. Когда мембраны не интегрируются с картриджем, предпочтительно разместить канал 8 в положении, когда выполняется аэрация мембранного пучка под мембранным картриджем. Более того, когда канал 8 интегрируется с картриджем, существует возможность выпуска пара из загерметизированной трубки или выпуска пара из воздушной ванны после подачи пара в пространство в виде юбки и образования воздушной ванны. Когда канал 8 интегрируется с картриджем, сквозные отверстия для пузырьков, подаваемых из нижнего участка, чтобы подняться к верхнему участку, выполнены в нижней адгезионном фиксирующем слое 5.
На Фиг.1 показан пример, в котором торцевые поверхности адгезионного фиксирующего слоя открываются как на верхнюю сторону, так и на нижнюю сторону мембран из полых волокон, при этом входящее отверстие для подачи пузырьков, предназначенное для выполнения аэрирования, не интегрируется с мембранным картриджем. Водосборные бассейны 9 и 11 и стоковые трубы 10 и 12 присоединены к верхнему и нижнему адгезионным фиксирующим участкам.
Верхний и нижний адгезионные фиксирующие слои соединены с боковой стенкой 13. В мембранах из полых волокон участок, не включенный в адгезионные фиксирующие слои с обоих концов, определяется как фильтрующий участок 14, участок, обращенный к фильтрационному участку в верхнем адгезионном фиксирующем слое 4, определяется как граница фильтрационного участка 15 верхнего адгезионного фиксирующего слоя, и участок, обращенный к фильтрационному участку в нижнем адгезионном фиксирующем слое 5, определяется как граница фильтрационного участка 16 нижнего адгезионного фиксирующего слоя.
Мембранный пучок 1 из полых волокон разделяется на множество маленьких пучков 17 в верхнем адгезионном фиксирующем слое 4.
Пузырьки, благодаря аэрированию из нижнего участка, почти вертикально поднимаются в пространство между мембранами из полых волокон во время колебаний, применяемых к мембранам из полых волокон. Амплитуда колебаний мембран из полых волокон около верхнего адгезионного фиксирующего слоя мала, и пространство становится незначительным, и пузырьки выходят из мембранного картриджа наружу.
Когда фактор заполнения повышается, и пространство между мембранами из полых волокон является незначительным, твердый материал, содержащийся в иле, волокнистый предмет и осадок ила не могут пройти через этот промежуток. В результате, они остаются между мембранами из полых волокон, что уменьшает фильтрующую площадь и делает фильтрование затруднительным.
Для того чтобы облегчить удаление илового осадка при увеличении фактора заполнения мембран из полых волокон, необходимо образовать разреженный участок в плотных мембранах из полых волокон вблизи верхнего адгезионного фиксирующего слоя и применить этот разреженный участок в качестве канала для удаления илового осадка. То есть эффективным является устройство, в котором пучок мембран из полых волокон разделен на множество малых пучков так, чтобы промежуток между пучками мембран из полых волокон использовался в качестве канала аэрирования пузырьками и осаждения ила.
Однако промежуток между пучками мембран из полых волокон около адгезионного участка имеет малую амплитуду колебаний, и ил легко осаждается в промежутке. Следовательно, при формировании малых пучков расстояние между мембранами из полых волокон в маленьких пучках уменьшается, пространство, в котором накапливается ил, ликвидируется, и можно предотвратить накопление.
Более того, разделять пучки мембран из полых волокон на множество малых пучков мембран из полых волокон предпочтительно в области между нижним адгезионным фиксирующим слоем и верхним адгезионным фиксирующим слоем, потому что аэрация, осуществляемая из нижней части, вызывает колебания всей мембраны из полых волокон, повышая, следовательно, очищающее действие. В частности, формирование множества взаимных смещений между нижним адгезионным фиксирующим слоем и верхним адгезионным фиксирующим слоем в мембранах из полых волокон предпочтительно, поскольку действие колебаний, вызванных аэрацией, усиливается. Хотя по структуре нижний пучок может представлять собой один пучок, может применяться и множественная структура из малых пучков. Предпочтительно, чтобы пучки мембран из полых волокон были разделены на множество малых пучков мембран из полых волокон, предпочтительно в области между нижним адгезионным фиксирующим слоем и верхним адгезионным фиксирующим слоем, и чтобы имело место смещение между мембранами из полых волокон. Фиг.2(a)-2(d) показывают схематичное изображение структуры пучков. Структура пучков настоящего изобретения показана на Фиг.2(a)-2(c), за исключением Фиг.2(d).
Как представлено в настоящем изобретении, тот факт, что существует смещение, означает, что относительное пространственное положение мембран из полых волокон, зафиксированных с помощью нижнего адгезионного фиксирующего слоя, не всегда совпадает с относительным пространственным положением мембран из полых волокон, зафиксированных с помощью верхнего адгезионного фиксирующего слоя. Или представление о том, что состояние, в котором стержнеобразный предмет не может двигаться из-за пересечения между мембранами, в том случае, когда осуществляют вставку стержнеобразного предмета между мембранами из полых волокон с внешней стороны картриджа на границе фильтрационного участка нижнего адгезионного фиксирующего слоя и затем движение стержнеобразного предмета к верхнему адгезионному фиксирующему слою.
Смещение может быть осуществлено при разделении по обе стороны единственного пучка мембран из полых волокон на маленькие структуры пучков, принимающие формы маленьких структур пучков и связывание обоих концов мембран из полых волокон. Например, возможно образование пучка наматыванием мембран из полых волокон на обе стороны прямоугольной рамы. Как показано на Фиг.5(a) и 5(b), возможно образование смещенного состояния при изменении интервала между наматываемыми на обе стороны мембранами из полых волокон.
Предпочтительно, чтобы форма адгезионного фиксирующего слоя, для удержания и фиксирования обоих концов мембраны из полых волокон (форма, при взгляде на мембранный картридж из полых волокон из верхнего участка и нижнего участка после установки картриджа, с тем чтобы расположить из полых волокон мембраны вертикально), представляла собой любую, выбранную среди треугольника, прямоугольника и шестиугольника, потому что монтажная упаковка осуществляется при установке множества мембранных картриджей из полых волокон погружением в ванну. Прямоугольная форма является особенно предпочтительной, потому что канал, необходимый для предотвращения осаждения ила на внешней стороне картриджа, становится коротким, и поэтому осажденный ил легко удаляется, соответственно, тем же числом применяемых мембран из полых волокон. Более того, при заполнении многочисленных картриджей возможно независимое установление или удаление любого картриджа в горизонтальном направлении при расположении картриджей параллельно, и операция установки выполняется эффективно.
В случае маленьких пучков мембран из полых волокон на границе фильтрационного участка нижнего адгезионного фиксирующего слоя, предпочтительно, чтобы расстояние между ближайшими мембранами из полых волокон в каждом маленьком пучке составляло менее 2 мм, и более предпочтительно, чтобы расстояние между ближайшими мембранами из полых волокон в каждом маленьком пучке составляло менее 1 мм, из-за возможности увеличения эффективной площади мембраны мембран из полых волокон и повышения количества фильтрованной воды в мембранном картридже. Как показано в настоящем изобретении, расстояние между мембранами из полых волокон представляет собой расстояние между наиболее удаленными от центра поверхностями мембран из полых волокон. Более того, число мембран из полых волокон, каждая из которых образована из маленьких пучков, предпочтительно составляет 10 или более и 1000 или менее, и более предпочтительно 20 или более или 500 или менее. Скапливание сгустков ила и загрязнителей между мембранами из полых волокон в этих интервалах является небольшим. Расстояние между ближайшими маленькими пучками составляет 2 мм или более и 100 мм или менее, более предпочтительно 3 мм или более и меньше 30 мм. В этом диапазоне возможно увеличение фактора накопления мембраны из полых волокон и количества отфильтрованной воды с небольшим накоплением сгустков ила и загрязнителей. Как показано в настоящем изобретении, расстояние между маленькими пучками представляет собой наиболее близкое расстояние среди расстояний между наиболее удаленными от центра поверхностями мембран из полых волокон, включенных в каждый маленький пучок.
Степень агрегированности мембран из полых волокон в нижнем адгезионном фиксирующем слое может быть представлена в виде единственного пучка или в виде разделения на многочисленные маленькие пучки.
В дальнейшем, предпочтительный вариант осуществления мембранного картриджа из полых волокон настоящего изобретения описывается со ссылками на сопровождающие чертежи.
На Фиг.1 мембранный картридж из полых волокон составлен из мембранного пучка 1 из полых волокон, который состоит из множества мембран из полых волокон, а также верхнего адгезионного фиксирующего участка 2 и нижнего адгезионного фиксирующего участка 3. На обоих торцах связанного мембранного пучка 1 из полых волокон мембраны из полых волокон полностью связаны адгезивом и полностью связаны с верхним адгезионным фиксирующим слоем 4 и нижним адгезионным фиксирующим слоем 5 и открываются на торцевой поверхности 6 верхнего адгезионного фиксирующего слоя 7 и нижнего адгезионного фиксирующего слоя. Водосборные бассейны 9 и 11 и стоковые трубы 10 и 12 присоединены к верхнему и нижнему адгезионным фиксирующим участкам. Участок 8 подачи пузырьков установлен в нижнем участке мембранного картриджа, и пузырьки благодаря аэрированию поднимаются наверх во время колебаний мембран из полых волокон.
Для того чтобы интегрировать участок 8 подачи пузырьков с картриджем, участок 8 подачи пузырьков присоединен к нижнему участку 11 водосборного бассейна, как показано на Фиг.3(a). Более того, возможна подача газа к мембранам из полых волокон с помощью образования сквозных отверстий 18, продолжающихся от участка 8 подачи пузырьков до границы интерфильтрационного участка 16 нижнего адгезионного фиксирующего слоя, посредством прохождения через нижний адгезионный фиксирующий слой 5. Более того, возможно образование нижнего участка нижнего адгезионного фиксирующего слоя 5 в открытой юбке 19 и установление входного отверстия для газа 20 без закрытия участка подачи пузырьков, как показано на Фиг.3(b).
Предпочтительно, чтобы размеры сквозных отверстий находились в интервале от 2 до 30 мм равного диаметра. Форма сквозного отверстия в качестве варианта выбирается из многогранников, таких как трехгранник, четырехгранник или шестигранник, круг, эллипс, сектор, С-образный или в виде звезды. Предпочтительно, чтобы число сквозных отверстий составляло от 2 до 300, хотя это зависит от площади поперечного сечения мембранного картриджа или числа волокон. Сквозные отверстия можно располагать на свободно выбранных местах нижнего адгезионного фиксирующего слоя 5. Однако предпочтительно равномерное распределение сквозных отверстий для создания равномерных колебаний всех мембран из полых волокон.
Предпочтительно, чтобы юбка 19 выступала вперед в нижнем участке по отношению к водосборному бассейну 11 и фиксировалась на внешней периферии пучка мембраны из полых волокон. Предпочтительно, чтобы длина выступа нижнего участка водосборного бассейна находилась в интервале от 5 до 300 мм для предотвращения утечки газа из нижнего участка, хотя это зависит от размера мембранного картриджа, количества подаваемого газа и числа и диаметра сквозных отверстий. Длина 300 мм или менее является предпочтительной, поскольку неиспользованное пространство является маленьким по сравнению со всей длиной картриджа. Длина 5 мм или более является предпочтительной, потому что газ, подаваемый в картридж, фактически поступает к сквозным отверстиям, а не рассеивается в перпендикулярном направлении.
Для равномерного прохождения газового потока из нагнетающего газ отверстия 20 через многочисленные сквозные отверстия 18 необходимо, чтобы газовый поток из нагнетающего газ отверстия 20 образовывал резервный газовый слой в юбке 19 и газ подавался из резервного газового слоя к каждому сквозному отверстию. Толщина резервного газового слоя составляет предпочтительно 30 мм или более, более предпочтительно 50 мм и более. Предпочтительно определить расположение отверстия 20, нагнетающего газ для аэрирования, принимая во внимание толщину образованного резервного газового слоя.
Хотя размер мембранного картриджа из полых волокон адгезионного фиксирующего участка (размер при взгляде на мембранный картридж из полых волокон из верхнего участка или нижнего участка после установки картриджа, так чтобы расположение мембран из полых волокон было вертикальным) может выбираться свободно, в случае прямоугольной конструкции предпочтительно, чтобы соотношение (длина:ширина) прямоугольной конструкции составляла 3:1 или более и 50:1 или менее. Когда соотношение становится меньше чем 3:1, путь прохождения ила между маленькими пучками становится относительно длинным, но когда соотношение становится больше чем 50:1, процент утечки пузырьков на внешнюю сторону картриджа увеличивается, до того как пузырьки пройдут между мембранными пучками, достигнув верхнего адгезионного фиксирующего слоя.
Предпочтительно, чтобы длина по вертикали мембранного картриджа из полых волокон находилась в интервале от 300 до 3000 мм.
В настоящем изобретении, для предотвращения повышения или скручивания нижнего адгезионного фиксирующего слоя 3 во время аэрирования, верхний адгезионный фиксирующий слой 4 и нижний адгезионный фиксирующий слой 5 связаны и зафиксированы с помощью любого из выбранных объектов: стержня, трубки, пластины, цепи, корды и сетки. Особенно предпочтительными являются стержень или трубка. В качестве используемого материала предпочтительно применять металл или смолу. Хотя форма стержня или трубки является произвольной, предпочтительно, чтобы стержень или трубка являлись цилиндрическими. Форма, имеющая острый угол, является не очень подходящей, поскольку она приводит к созданию дефекта, при повторном контакте мембраны из полых волокон. Предпочтительно определять толщину стержня или трубки, принимая во внимание сопротивление деформации используемого материала. При условии покрытия поверхности трубки или стержня смолой с низкой твердостью применение для соединения трубки или стержня, имеющих высокую твердость, является предпочтительным, поскольку это может предотвратить образование дефекта при многократных контактах мембраны из полых волокон с трубкой или стержнем.
Для диаметра отверстия мембраны из полых волокон, применяемого в настоящем изобретении, возможно применение мембраны с обратным осмосом, ультрафильтром или фильтром тонкой очистки. Более того, не существует особенных ограничений на материал, из которого сделана мембрана из полых волокон, но приводятся следующие материалы: полисульфон, полиэфирсульфон, полиакрилонитрил, полиимид, полиэфиримид, полиамид, полиэфиркетон, полиэфирэфиркетон, полиэтилен, полипропилен, поли-4-метилпентен, целлюлоза, ацетат целлюлозы, поливинилиденфторид, сополимер полиэтилентетрафторэтилена и политетрафторэтилен. Более того, можно применять эти материалы в сочетании. Дополнительно, в качестве образца мембраны из полых волокон предпочтительно применяется мембрана, имеющая внутренний диаметр, находящийся в интервале от 50 до 3000 мкм, и соотношение внутренний/внешний диаметр, находящееся в интервале от 0,1 до 0,8.
В качестве адгезива, применяемого в настоящем изобретении, используется любой из следующих полимерных материалов: эпоксидная смола, уретановая смола, эпоксиакрилатная смола и силиконовая смола.
Предпочтительно, чтобы твердость смолы границы фильтрационного участка 15 верхнего адгезионного фиксирующего слоя и границы фильтрационного участка 16 нижнего адгезионного фиксирующего слоя составляла 20 условных единиц по шкале твердости А или более и 90 условных единиц по шкале твердости А или менее, более предпочтительно, чтобы твердость смолы составляла 20 условных единиц по шкале твердости А или более и 70 условных единиц по шкале твердости А или менее. Если твердость составляет 20 условных единиц по шкале твердости А или более, возможно сохранение формы в течение длительного времени. Если твердость составляет 90 условных единиц по шкале твердости А или менее, возможно значительное смягчение напряжения от деформации во время колебаний мембраны из полых волокон. Для соответствия предпочтительному диапазону значений возможно регулирование твердости смолы границы с помощью использования смолы, имеющей низкую твердость в качестве адгезива, и вместе с тем нанесение такой смолы, имеющей низкую твердость на фиксированный слой, нанесенный на первой стадии. Например, возможно регулирование твердости смолы границы созданием адгезионного фиксирующего слоя с помощью эпоксидной смолы и затем нанесение силиконовой смолы на эпоксидную смолу или создание адгезионного фиксирующего слоя с помощью уретановой смолы и затем нанесение другой уретановой смолы, имеющей низкую твердость, на первый слой уретановой смолы. В качестве способов нанесения связующего материала известны традиционные способы, такие как способ нанесения связующего с помощью центрифуги и стационарный способ нанесения связующего. Для улучшения усадки при отверждении или прочности адгезива также позволяется в вышеупомянутый адгезив включить волокноподобные материалы, такие как стекловолокно или углеволокно или тонкоизмельченный порошок, например уголь, оксид алюминия или оксид кремния.
В выборе материала кожуха верхнего адгезионного фиксирующего участка 2 и нижнего адгезионного фиксирующего участка 3 и водосборных бассейнов 9 и 11 нет особенных ограничений, и они могут быть одинаковыми или различными. Однако предпочтительно применение термопластичной смолы или нержавеющей стали.
В настоящем изобретении, как показано на примерах Фиг.4(a)-4(c), допускается неравномерное расположение маленьких пучков мембран из полых волокон на границе фильтрационного участка верхнего адгезионного фиксирующего слоя, как показано на Фиг.4(а), но предпочтительным является линейное расположение маленьких пучков, находящихся на одинаковом расстоянии друг от друга, как показано на Фиг.4(b). Более того, как показано на Фиг.4(с), маленькие пучки могут быть разделены на множество рядов. Форма маленького пучка может быть не круглой или размеры маленьких пучков могут быть неодинаковыми.
Примеры
Примеры настоящего изобретения описаны ниже. Однако настоящее изобретение не ограничивается этими примерами.
Пример 1
Две цилиндрические трубки 21, имеющие диаметр 1 см и длину 80 см, показанные на Фиг.5(а), располагали параллельно, сохраняя расстояние 2 см друг от друга, чтобы сделать намотанную кассету и намотать мембраны 22 из полых волокон. На трубки 21 производили наматывание, вращая их 1650 раз, приспосабливаясь так, чтобы мембраны из полых волокон образовывали маленькие пучки на одной трубке и один пучок на другой трубке. Как показано на Фиг.5(b), при наматывании мембраны 22 из полых волокон проводили пересечение волокон, с тем чтобы пучок разделялся на той стороне, которая становится нижним участком картриджа, и между мембранами из полых волокон происходит смещение.
Каждая цилиндрическая трубка, на которые наматывались мембраны из полых волокон, обоими концами наглухо монтировалась в кожух 23, сделанный из смолы АБС с применением уретановой смолы 24 (производство SANYUREKKUSU Inc. “SA-6330 type”; твердость после отверждения составляет 98 А), служащей в качестве адгезионного фиксирующего слоя в кожухе 23, сделанном из АБС смолы. После этого уретановую смолу 25 (производство SANYUREKKUSU Inc. “SA-6330 type”; твердость после отверждения составляет 56А) фиксировали на границе между приклеенным участком и не приклеенным участком мембран из полых волокон постоянным соединением.
Способ измерения твердости смолы соответствовал JIS K6253. Вдоль направления разрезания 26, показанного на Фиг.5(с), разрезали кожух, уретановую смолу и цилиндрическую трубку. Вид одной из разрезанных цилиндрических трубок в торцевой поверхности показан на Фиг.5(d), и вид другой из разрезанных цилиндрических трубок показан на Фиг.5(e). Водосборный бассейн и стоковую трубу присоединяли к каждой из разрезанных поверхностей, в то же время удерживая мембраны из полых волокон открытыми. Возможно применение любого способа соединения, если только это плотное жидкостное соединение.
Мембрана из полых волокон представляла собой фильтровальную мембрану для тонкой очистки, сделанную из поливинилиденфторида, имеющую маленькое отверстие диаметром 0,1 мкм, внешний диаметр около 1,25 мм и внутренний диаметр 0,7 мм, и площадь мембраны мембранного картриджа составляет 25 м2. Маленький пучок формируется из 110 мембран из полых волокон на пучок на границе фильтрационного участка верхнего адгезионного фиксирующего слоя, и были представлены 30 маленьких пучков. Расстояние между ближайшими маленькими пучками составляло 5 мм.
При соединении двух трубок наматываемой кассеты верхний адгезионный фиксирующий участок и нижний адгезионный фиксирующий участок соединяли и фиксировали, используя две трубки, каждую из которых получали покрытием трубки, изготовленной из нержавеющей стали SUS304 и имеющей внешний диаметр 13 мм, винилиденхлоридной пленкой.
Секция, поставляющая пузырьки для аэрации, была установлена в положении на 5 см ниже, чем нижний адгезионный фиксирующий слой.
Мембранный картридж из полых волокон, произведенный таким образом, погружали в емкость для активированного ила, имеющий объем 8 м3, соединяли водосборный бассейн верхнего адгезионного фиксирующего слоя и фильтровальную трубку и прикрепляли их к емкости с активированным илом.
Проводили фильтрование с отсасыванием, применяя всасывающий насос, так что скорость потока фильтрования через мембрану составляла 0,6 м3/площадь мембраны м2/день, в то время как скорость потока аэрирующего воздуха из секции подачи пузырьков аэрирования к мембранному картриджу из полых волокон составляла 10 нм3/ч. Разность давлений между мембранами в этом случае варьировалась между -15 и -20 кПа и была постоянной в течение трех месяцев. Концентрация MLSS в емкости с активированным илом в оцениваемый промежуток времени составляла 10000 мг/л в среднем, и средняя температура составляла 25°С. Городские сточные воды, имеющие среднее значение BOD (Biochemical Oxygen Demand «Биохимическая потребность в кислороде»), составляющее 150 мг/л и SS 160 мг/л, применялись в качестве неочищенной воды для активированного ила.
Вес загрязненного ила или загрязнителей, прилипших к картриджу после проведения операции, составлял 0,84 кг, и было установлено, что это прилипшее количество является маленьким. Вес картриджа до и после операции измеряли для влажных мембран из полых волокон и разницу в весе определяли как вес загрязненного ила или загрязнителей.
Пример 2
Две цилиндрические трубки 21, имеющие диаметр 1 см и длину 80 см, показанные на Фиг.5(а), располагали параллельно, на расстоянии 2 см друг от друга, чтобы образовать намотанную кассету и намотанные мембраны 22 из полых волокон. Способ наматывания, способ связывания и фиксирования с помощью уретановой смолы и способ разрезания проводили так же, как в примере 1.
Открытыми были торцевые поверхности мембран из полых волокон с той стороны, которая состояла из маленьких пучков мембран из полых волокон, в то время как закрытыми были противоположные торцевые поверхности мембран из полых волокон с той стороны, где торцевые поверхности погружали внутрь уретановой смолы. Водосборный бассейн и стоковая труба были присоединены только к торцевым поверхностям мембран из полых волокон с той стороны, которая состояла из маленьких пучков мембран из полых волокон. Мембраны из полых волокон были такими же, как те, которые применяются в примере 1. Площадь мембраны составляет 17,5 м2. Маленький пучок состоит из 110 мембран из полых волокон на пучок на границе фильтрационного бокового верхнего адгезионного фиксирующего слоя, и 30 маленьких пучков были представлены. Расстояние между ближайшими маленькими пучками составляло 5 мм.
При соединении двух трубок намотанной кассеты верхний адгезионный фиксирующий участок и нижний адгезионный фиксирующий участок соединяли и прикрепляли, используя две трубки, каждую из которых получали покрытием трубки, изготовленной из нержавеющей стали SUS304 и имеющей внешний диаметр 13 мм, винилиденхлоридной пленкой.
Секция, из которой подавались пузырьки для аэрации, была установлена в положении на 5 см ниже, чем нижний адгезионный фиксирующий слой.
Мембранный картридж из полых волокон, произведенный таким образом, погружали в емкость для активированного ила, имеющий объем 8 м3, и водосборный бассейн верхнего адгезионного фиксирующего слоя соединяли с фильтровальной трубкой и присоединяли к емкости с активированным илом.
Проводили фильтрование с отсасыванием, применяя всасывающий насос, так, чтобы скорость потока фильтрования через мембрану составляла 0,6 м3/площадь мембраны м2/день, в то время как скорость подачи аэрирующего воздуха из секции подачи пузырьков аэрирования к мембранному картриджу из полых волокон составляла 10 нм3/ч. Разность давлений между мембранами в этом случае варьировалась между -15 и -20 кПа и была постоянной в течение трех месяцев. Концентрация MLSS в емкости с активированным илом в оцениваемый промежуток времени составляла 10000 мг/л в среднем, и средняя температура составляла 25°С. Городские сточные воды, имеющие среднее значение BOD 150 мг/л и SS 160 мг/л, применялись в качестве неочищенной воды для активированного ила.
Вес загрязненного ила или загрязнителей, прилипших к картриджу после проведения операции, составлял 0,65 кг, и было установлено, что это прилипшее количество является маленьким. Вес картриджа до и после операции измеряли для влажных мембран из полых волокон и разницу в весе определяли как вес загрязненного ила или загрязнителей.
Пример 3
Применяли мембраны из полых волокон, их количество и кожух, такие же, как в примере 1, и все мембраны из полых волокон были собраны в один пучок, и они были сплетены в состоянии, в котором существует смещение между мембранами из полых волокон. Затем мембраны из полых волокон у одного конца разделяются в пучки, показанные на Фиг.4(b), и другой конец был разделен, как показано на Фиг.4(с). При этом состоянии вместе наглухо соединили водосборный бассейн, стоковую трубу и кожух, применяя ту же смолу, которая применялась в примере 1. Соединение проводили, сохраняя оба торца мембран из полых волокон открытыми. Процедуры, выполненные после этого, сходны с примером 1.
Как показал результат, выполненный по той же оценке, что и в примере 1, разница в давлении между мембранами варьировалась от -15 до -21 кПа и была постоянной в течение трех месяцев.
Вес загрязненного ила или загрязнителей, прилипших к картриджу после проведения операции, составлял 0,78 кг, и было установлено, что это прилипшее количество является маленьким.
Сравнительный пример 1
Оценку делали с помощью емкости с активированным илом при тех же условиях фильтрации, как в примере 1, за исключением расположения мембран из полых волокон на границе фильтрационного участка верхнего адгезионного фиксирующего слоя, которые не были разделены на маленькие пучки, а были сформированы в структуру, состоящую из одного единственного пучка.
В этом случае разница в давлениях между мембранами вдруг повышается в течение 14 дней, достигает -80 кПа, и становится невозможным применение всасывающего наноса.
Так же, как в случае примера 1, концентрация MLSS в емкости с активированным илом в оцениваемый период составляла 10000 мг/л в среднем и средняя температура – 25°С. В качестве неочищенной воды для активированного ила применялись городские сточные воды, имеющие среднее значение BOD 150 мг/л и SS 160 мг/л.
Вес загрязненного ила или загрязнителей, прилипших к картриджу после проведения операции, составлял 64 кг, и было установлено, что это прилипшее количество является чрезвычайно большим.
Сравнительный пример 2
Оценку делали с помощью емкости с активированным илом в тех же условиях фильтрации, как в примере 2, за исключением расположения мембран из полых волокон на границе фильтрационного участка верхнего адгезионного фиксирующего слоя, которые не были разделены на маленькие пучки, а были сформированы в структуру, состоящую из одного единственного пучка.
В этом случае разница в давлениях между мембранами вдруг повышается в течение 12 дней, достигает -80 кПа, и становится невозможным применение всасывающего наноса.
Так же, как в случае примера 2, концентрация MLSS в емкости с активированным илом в оцениваемый период составляла 10000 мг/л в среднем и средняя температура – 25°С. В качестве неочищенной воды для активированного ила применялись городские сточные воды, имеющие среднее значение BOD 150 мг/л и SS 160 мг/л.
Вес загрязненного ила или загрязнителей, прилипших к картриджу после проведения операции, составлял 5,7 кг, и было установлено, что это прилипшее количество является чрезвычайно большим.
Промышленное применение
Мембранный картридж из полых волокон настоящего изобретения может предпочтительно применяться в области мембранной фильтрации, в особенности для фильтрационного устройства в виде емкости всасывающего типа или фильтрационного устройства погружного типа.
Формула изобретения
1. Мембранный картридж из полых волокон, включающий мембранный пучок из полых волокон, состоящий из множества мембран из полых волокон и расположенный в вертикальном направлении в иммерсионной ванне, и адгезионные фиксирующие слои для адгезии и фиксирования мембранного пучка из полых волокон с обоих концов, при этом форма адгезионных фиксирующих слоев выбирается из группы, состоящей из треугольников, прямоугольников, шестиугольников, и полые участки мембран из полых волокон являются открытыми по меньшей мере на одном конце верхнего адгезионного фиксирующего слоя, при этом мембранный пучок из полых волокон находится в виде множества маленьких пучков на границе фильтрационного участка верхнего адгезионного фиксирующего слоя и разделяется на множество маленьких пучков между нижним адгезионным фиксирующим слоем и верхним адгезионным фиксирующим слоем.
2. Мембранный картридж из полых волокон по п.1, в котором имеет место смещение между мембранами из полых волокон.
3. Мембранный картридж из полых волокон по п.1, в котором в множестве маленьких пучков мембран из полых волокон на границе фильтрационного участка верхнего адгезионного фиксирующего слоя расстояние между ближайшими мембранами из полых волокон составляет менее 2 мм в каждом маленьком пучке и число мембран из полых волокон, составляющих каждый маленький пучок, составляет 10-1000 и расстояние между ближайшими маленькими пучками составляет 2-100 мм.
4. Мембранный картридж из полых волокон по п.1, в котором верхний и нижний адгезионные фиксирующие слои соответственно включают смолу и твердость (измеренную в соответствии с JISK6253) смолы на границе(ах) фильтрационного участка одного или обоих адгезионных фиксирующих слоев составляет 20-90 условных единиц по шкале твердости А.
РИСУНКИ
|
|