|
|
(21), (22) Заявка: 2006115310/12, 03.05.2006
(24) Дата начала отсчета срока действия патента:
03.05.2006
(43) Дата публикации заявки: 27.11.2007
(46) Опубликовано: 27.06.2009
(56) Список документов, цитированных в отчете о поиске:
FR 2823981 А, 31.10.2001. US 1533659 А, 14.04.1925. RU 2260464 C2, 10.07.2004. US 5645460 A, 08.07.1997. SU 1349051 A1, 07.01.1993. SU 124727 A1, 01.01.1959.
Адрес для переписки:
76018, Украина, г. Ивано-Франковск, ул. Национальной Гвардии, 18, кв.13, А.П. Голубу
|
(72) Автор(ы):
Голуб Алексей Петрович (UA)
(73) Патентообладатель(и):
Голуб Алексей Петрович (UA)
|
(54) ЛОПАСТЬ ДЛЯ ЛАСТ И ВЕСЕЛ
(57) Реферат:
Изобретение относится к области спорта. Лопасть для ластов и весел представляет собой раму и содержит парные, изогнутые по длине пластины для создания сопротивления воде во время рабочего хода, создаваемого движениями пловца ногами, руками, веслами. Парные пластины навешены с возможностью свободного хода на стержнях, закрепленных на раме. Ограничители движения пластин укреплены на раме около стержней и между ними на равном расстоянии. Пластины могут быть выполнены с изгибом в 2° на 1/3 ширины по их длине. Лопасть может быть выполнена с возможностью образования ребристой поверхности при раскрытии всех пластин во время рабочего хода пловца или весла и обтекаемости пластин. Ограничители, расположенные около стержней, выполнены в виде пластин с наклоном к середине рамы. Все пары пластин при их мгновенном раскрытии образуют ребристую поверхность, зажимаемую с обеих сторон водой и которая исчезает при движении лопасти вперед. 4 з.п. ф-лы, 3 ил.
Изобретение относится к области спорта, а именно к лопасти для ластов и весел, которая предназначена для использования энергии ног и рук тела человека при нахождении в воде или на поверхности воды, как на плавсредствах, так и без них, для продвижения и транспортирования.
Различают лопасти для ласт и весел по способу их производства, как монолитно слитные со специальной обувью, с веретенами весел, специальными перчатками и различными механизмами, так и съемные, взаимозаменяемые из-за одинаковых размеров вставок.
Наиболее близким аналогом заявленного изобретения является лопасть для ласт и весел, содержащая парные, изогнутые по длине пластины для создания сопротивления воде во время рабочего хода, создаваемого движениями пловца ногами, руками, веслами, и ограничители движения пластин (см. патент FR 2823981, кл. А63В 31/14, 2002).
Техническим результатом изобретения является повышение удобства в пользовании.
Указанный технический результат достигается тем, что известная лопасть для ласт и весел, содержащая парные, изогнутые по длине пластины для создания сопротивления воде во время рабочего хода, создаваемого движениями пловца ногами, руками, веслами, и ограничители движения пластин, согласно изобретению представляет собой раму, при этом парные пластины навешены с возможностью свободного хода на стержнях, закрепленных на раме, а ограничители укреплены на раме около стержней и между ними на равном расстоянии.
Пластины могут быть выполнены с изгибом в 2° на 1/3 ширины по их длине.
Лопасть выполнена с возможностью образования ребристой поверхности при раскрытии всех пластин во время рабочего хода пловца или весла и обтекаемости пластин.
Ограничители, расположенные около стержней, выполнены в виде пластин с наклоном к середине рамы.
Все пары пластин при их мгновенном раскрытии образуют ребристую поверхность, зажимаемую с обеих сторон водой и которая исчезает при движении лопасти вперед.
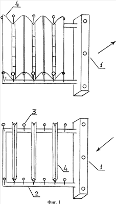
Изобретение поясняется чертежами, где
на фиг.1 показана лопасть для ластов и весел,
на фиг.2 – узел соединения пластин,
на фиг.3 – узел соединения лопасти с подошвой обуви.
Корпус лопасти для ластов и весел состоит из следующих элементов:
1. Вставка.
2. Рама лопасти.
3. Ограничитель. Согласно чертежу всего 14 шт. на одной раме.
4. Парное количество пластин. Всего 3 пары согласно чертежу.
Все детали лопасти для ласт и весел изготавливаются из твердых материалов пластмасс и т.п. Вставка предназначена для соединения лопасти со шпорами специальной обуви и веслами. Рама лопасти крепится к вставке лопасти, а к ней крепятся ограничители, стержни, на которые навешиваются по паре пластин. Ограничители крепятся к одной стороне рамы и условно разделяются на два вида:
– расположенные около стержней,
– расположенные между стержнями посредине.
Ограничители предназначены для ограничения движения пары пластин, навешанных на стержни, и удержания их в нужном направлении во время работы. Ограничители, расположенные около стержней, изготовливаются в виде пластин с легким наклоном к средине рамы. На чертежах они отмечены со сферическими окончаниями, чтобы легче усвоить их роль. Пары пластин предназначены принимать на себя энергию силы человека /механизма/ в раскрытом виде, где вода создает огромное сопротивление общей площади всех пар пластин рамы мгновенно образовавшимися поверхностными натяжениями воды с обеих сторон общей площади лопасти и гидровакуума. Создавшаяся ребристая поверхность пластин способствует инерционной стабилизации лопасти, т.е. лопасть стоит на месте без движения. Образовавшееся сопротивление воды дает возможность человеку /механизму/ оттолкнуться от площади сопротивления пластин. При отталкивании тело человека /механизма/ резко идет вперед и автоматически силой человека /механизма/ лопасть через вставку, вставленную в шпору идет за человеком /механизмом/ свободно. При этом пластины мгновенно складываются, отчего создается свободный ход пластин, обтекаемость их, а поверхностное двойное натяжение исчезает вместе с исчезновением общей площади пластин. Пластины – 2 шт. навешиваются на стержень, укрепленный на раме своими концами. Характерно то, что края пластин по длине на 1/3 слегка изогнуты. Угол изгиба составляет 2° от плоскости пластины. Это нужно как при свободном ходе пластин “А” (на фиг.2 – среднее положение), так и при рабочем ходе “Б” (на фиг.2 – нижнее положение). Моментальному раскрытию пластин способствует созданный складыванием пластин угол 4° /2+2/.
Взаимодействие пластин с ограничителями при свободном и рабочем ходе.
А. Свободный ход пластин: Пластины расположены вплотную одна к другой, а между ними по краям длины расположены 2 ограничителя. См. фиг.2 положение “А”. На чертеже левого ограничителя не видно между пластинами. Вода от движения обтекает пластины равномерно по всей внешней ширине со стержневой стороны. На чертеже обозначено стрелкой.
В. Рабочий ход пластин: Положение пластин максимально раскрыто в обе стороны. Угол между ними 90°. Полностью раскрыться не дают ограничители межстержневые, чтобы избежать хаотических движений пластин. На каждую первую половину этих ограничителей укладываются своими краями пластины изогнутой частью по длине. На каждую вторую половину ограничителей ложатся соседние пластины в таком же порядке, в целом создавая настильную ребристую поверхность из всех пар пластин. Изогнутость пластин и ребристость создают прочность сопротивления воде, которые обозначены на фиг.2 стрелкой.
Лопасть для ластов и весел можно изготовлять в разных размерах по отношению к людям и к механическим приспособлениям и механизмам. Рекомендуемые размеры рамы для лопасти ластов и весел составляют:
– диаметр рамы 1,5 см,
– длина рамы 35 см,
– ширина рамы 18 см и более,
– пластины шириной 3 см – 16 шт.
– длина пластин 17 см,
– ограничители, подогнанные по высоте, – 34 шт.
Формула изобретения
1. Лопасть для ласт и весел, содержащая парные, изогнутые по длине пластины для создания сопротивления воде во время рабочего хода, создаваемого движениями пловца ногами, руками, веслами, и ограничители движения пластин, отличающаяся тем, что она представляет собой раму, при этом парные пластины навешены с возможностью свободного хода на стержнях, закрепленных на раме, а ограничители укреплены на раме около стержней и между ними на равном расстоянии.
2. Лопасть по п.1, отличающаяся тем, что пластины выполнены с изгибом в 2° на 1/3 ширины по их длине.
3. Лопасть по п.1, отличающаяся тем, что она выполнена с возможностью образования ребристой поверхности при раскрытии всех пластин во время рабочего хода пловца или весла и обтекаемости пластин.
4. Лопасть по п.1, отличающаяся тем, что ограничители, расположенные около стержней, выполнены в виде пластин с наклоном к середине рамы.
5. Лопасть по п.1, отличающаяся тем, что все пары пластин при их мгновенном раскрытии образуют ребристую поверхность, зажимаемую с обеих сторон водой и которая исчезает при движении лопасти вперед.
РИСУНКИ
|
|