|
(21), (22) Заявка: 2005121914/28, 15.12.2003
(24) Дата начала отсчета срока действия патента:
15.12.2003
(30) Конвенционный приоритет:
31.12.2002 US 10/335,380
(43) Дата публикации заявки: 27.07.2006
(46) Опубликовано: 20.06.2009
(56) Список документов, цитированных в отчете о поиске:
JP 05-273324 А, 22.10.1993. RU 2029345 C1, 20.02.1995. US 5956663 А, 21.09.1999. US 5831164 А, 03.11.1998. US 6367042 В1, 02.04.2002.
(85) Дата перевода заявки PCT на национальную фазу:
01.08.2005
(86) Заявка PCT:
US 03/039848 20031215
(87) Публикация PCT:
WO 2004/062170 20040722
Адрес для переписки:
117393, Москва, а/я 279, “Константин Шилан и Ко.”, пат.пов. К.А.Шилану, рег. 367
|
(72) Автор(ы):
ШУЛЬТЕ Джон П. (US), ВАНГ Ронгтаи (US)
(73) Патентообладатель(и):
РОУЗМАУНТ, ИНК. (US)
|
(54) ПОЛЕВОЙ ПЕРЕДАТЧИК С ДИАГНОСТИЧЕСКИМ РЕЖИМОМ САМОТЕСТИРОВАНИЯ
(57) Реферат:
Предложенное изобретение относится к автоматизированным системам управления технологическими процессами, а именно к полевым передатчикам, работающим в штатном режиме либо в режиме самодиагностики. Данное изобретение позволяет в процессе его работы проводить самодиагностику полевого передатчика. Полевой передатчик для передачи сигналов содержит: физический датчик для измерения технологического параметра и выработки аналогового физического сигнала датчика, который представляет технологический параметр; суррогатный датчик для выработки аналогового сигнала суррогатного датчика, который независим от технологического параметра; схему обработки сигналов, которая преобразует аналоговый входной сигнал в цифровой результат измерения; средства подачи аналогового физического параметра датчика в качестве аналогового входного сигнала на схему обработки сигналов во время стандартного режима и подачи аналогового параметра суррогатного датчика в качестве аналогового входного сигнала на схему обработки сигналов во время диагностического режима; средства хранения ожидаемого цифрового значения цифрового измерения во время диагностического режима; средства передачи выходного сигнала по каналу связи как функции цифрового результата измерения, полученной во время стандартного режима и средства выполнения диагностической оценки схемы обработки сигналов на основе сравнения цифрового результата измерения, произведенного во время диагностического режима, и хранимого ожидаемого цифрового значения. Реализовано несколько модификаций подобного передатчика. 6 н. и 4 з.п. ф-лы, 5 ил.
ПРЕДПОСЫЛКИ СОЗДАНИЯ ИЗОБРЕТЕНИЯ
Настоящее изобретение относится к автоматизированным системам управления технологическим процессом. В частности, настоящее изобретение относится к полевому передатчику, работающему в штатном режиме или режиме результата измерения и в диагностическом режиме самотестирования.
Полевой передатчик – это измерительный преобразователь, который реагирует на технологический параметр, измеренный чувствительным элементом, и преобразует этот параметр в стандартный передающий сигнал (например, электрический или оптический сигнал), который является функцией измеренной переменной. Термин “технологический параметр” относится к физическому или химическому состоянию вещества или к превращению энергии. Примерами технологических параметров могут служить давление, температура, расход, удельная проводимость, уровень рН и т.п.
Полевые передатчики обычно используются для контроля технологических параметров и измерений и отправке их на щит управления установок по обработке жидких сред на химическом, нефтеперерабатывающем, газоподготовительном, фармацевтическом и других производствах. Часто эти полевые передатчики подвержены влиянию жестких и изменяющихся условий окружающей среды.
Все электрические компоненты, включая физические датчики и схемы обработки сигналов полевых передатчиков, могут выходить из строя или отказывать. Такое нарушение работоспособности может приводить к ошибочным результатам измерений, посылаемым полевыми передатчиками на щит управления. Кроме того, надежность передатчика может также снижаться в результате ухода параметров схемы, специалист может обнаружить проблемы с передатчиком с помощью стандартных испытаний, но для этого нужно, чтобы технический персонал проник в передатчик на физическом уровне. На установках, снабженных большим количеством распределенных полевых передатчиков, существует практический предел того, как часто технический персонал может инспектировать и испытывать каждый передатчик.
КРАТКОЕ ИЗЛОЖЕНИЕ СУЩНОСТИ ИЗОБРЕТЕНИЯ
В настоящем изобретении предлагается полевой передатчик для передачи сигналов, представляющих технологические параметры. Полевой передатчик снабжен физическим датчиком для измерения технологического параметра и формирования сигнала физического датчика, представляющего технологический параметр. Полевой передатчик также снабжен суррогатным датчиком, формирующим сигнал суррогатного датчика, который не зависит от технологического параметра. В состав датчика входит также схема обработки сигналов, которая преобразует либо сигнал физического датчика, либо сигнал суррогатного датчика в измеренную величину. Полевой передатчик работает в стандартном режиме и в диагностическом режиме самотестирования. Во время стандартного режима работы к схеме обработки сигналов подключается датчик физических параметров, а во время диагностического режима к схеме обработки сигналов подключается суррогатный датчик. Если значение, измеренное во время диагностического режима, не является ожидаемым значением, сформированным суррогатным датчиком, то передатчик регистрирует нарушение работоспособности и может передать об этом сообщение.
КРАТКОЕ ОПИСАНИЕ ЧЕРТЕЖЕЙ
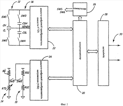
На фигуре 1 изображена блок-схема полевого передатчика, включающая первый вариант осуществления диагностического самотестирования по настоящему изобретению.
На фигуре 2 изображена блок-схема полевого передатчика, включающая второй вариант осуществления диагностического самотестирования по настоящему изобретению.
На фигуре 3 изображена блок-схема аналого- цифрового емкостного модулятора (C/D) передатчика по фигуре 2.
На фигуре 4 изображена блок-схема аналого-цифрового модулятора напряжения (V/D) передатчика по фигуре 2.
На фигуре 5 изображена блок-схема цифровой части передатчика по фигуре 2.
ДЕТАЛЬНОЕ ОПИСАНИЕ
Полевой передатчик 10 (фигура 1)
На фигуре 1 показан полевой передатчик 10, работающий в диагностическом режиме самотестирования по настоящему изобретению. Передатчик 10, который в данном варианте осуществления выполнен в виде дифференциального передатчика давления, включает дифференциальный датчик давления 12, температурный датчик 14, суррогатные датчики 16 и 18, микропроцессор 20, аналого-цифровой преобразователь емкости (C/D) 22, аналого-цифровой преобразователь напряжения (V/D) 24, коммутатор 26 и интерфейс 28. Микропроцессор 20 подключен к аналого-цифровому преобразователю емкости (C/D) 22, аналого-цифровому преобразователю напряжения (V/D) 24 и коммутатору 26 и управляет их работой. По команде микропроцессора 20 коммутатор 26 управляет переключателями SW1, SW2, SW3, SW4, SW5 и SW6 для переключения либо на стандартный режим работы, либо на диагностический режим самотестирования. Переключатели SW1 и SW2 подключают датчик давления 12 к C/D преобразователю 22 во время стандартного режима работы, в то время как переключатели SW3 и SW4 подключают суррогатный датчик 16 к C/D преобразователю 22 во время диагностического режима самотестирования. Переключатель SW5 подключает датчик температуры 14 к V/D преобразователю 24 во время стандартного режима, в то время как переключатель SW6 подключает суррогатный датчик 18 к V/D преобразователю 24 во время диагностического режима. Обычно в состав как C/D преобразователя 22, так и V/D преобразователя 24 входит схема аналого-цифрового сигма-дельта преобразователя.
Микропроцессор 20 принимает значения измеренной величины в цифровой форме от C/D преобразователя 22 и V/D преобразователя 24. Во время стандартного режима работы микропроцессор 20 использует результаты измерения в цифровой форме, чтобы сформировать сигнал перепада давления с температурной поправкой, который передается интерфейсом 28 по каналам связи 30. Сигнал перепада давления может передаваться в виде уровня аналогового сигнала тока, уровня аналогового сигнала напряжения или в виде цифрового сигнала. Микропроцессор 20 может также в цифровой форме передавать через интерфейс 28 значение вторичного параметра (температуры), а также диагностические коды.
В стандартном режиме работы измерение давления осуществляется путем переключения переключателей SW1 и SW2 с помощью коммутатора 26. Он подключает основные конденсаторы СН и CL датчика давления 12 к C/D преобразователю 22. В состав датчика давления 12 входит колеблющаяся измерительная диафрагма и два электрода датчика, которые образуют конденсаторы СН и CL. Диафрагма представляет из себя электропроводную натянутую мембрану, которая отклоняется в ответ на давление, прикладываемое с противоположной стороны диафрагмы. Между электродами конденсатора и диафрагмой применяется жидкий диэлектрик. Для изоляции этого жидкого диэлектрика от технологической жидкости используется изолирующая диафрагма, присутствие которой препятствует взаимодействию технологической жидкости с измерительными элементами и, возможно, разрушению компонентов со временем в результате того, что она становится агрессивной, коррозионной, грязной или включает примеси. Емкость каждого конденсатора СН и CL меняется обратно пропорционально расстоянию между обкладкой конденсатора и диафрагмой. Таким образом, емкость каждого конденсатора СН и CL меняется по мере того, как диафрагма отклоняется в ответ на прикладываемое давление. Датчик давления 12 принимает сигнал возбуждения датчика SENEX на диафрагму и подает аналоговые сигналы на входы CHIN и CLIN C/D преобразователя 22, которые являются функцией СН и CL соответственно. C/D преобразователь 22 преобразует аналоговые сигналы в цифровой сигнал, который является функцией разности аналоговых сигналов CHIN и CLIN, принятых на входах C/D преобразователя 22. Номинальная передаточная функция:

Измерение температуры в стандартном режиме работы осуществляется включением переключателя SW5 с помощью коммутатора 26. Это обеспечивает подключение выхода температурного датчика 14 к V/D преобразователю 24. В состав датчика температуры 14 входит резистор цепи смещения RB и термочувствительный резистор RTD. Сопротивление термочувствительного резистора RTD является функцией температуры. Эти изменения регистрируются на входе VIN V/D преобразователя 24. V/D преобразователь 24 преобразует входное напряжение VIN в цифровое значение, которое является функцией измеренной температуры.
Диагностический режим включается переключателями SW3, SW4 и SW6 с помощью коммутатора 26. Диагностический режим включается микропроцессором 20 на основе хранимого в памяти режима работы или по команде, полученной по каналам связи 30.
При замыкании переключателей SW3 и SW4 включается суррогатный датчик 16, и происходит замена основных конденсаторов датчика СН и CL на суррогатные конденсаторы CSH и CSL. Цифровой выходной сигнал C/D преобразователя 22 формируется как функция CSH и CSL, а не как функция СН и CL. Выходной сигнал C/D преобразователя 22 с подключенным суррогатным датчиком 16 служит основой для определения, функционирует ли C/D преобразователь 22 должным образом. Микропроцессор 20 в диагностическом режиме сравнивает выходной сигнал C/D преобразователя 22 с хранимой в памяти ожидаемой величиной выходного сигнала (которая обычно определяется во время тестирования передатчика 10 во время его изготовления). Если имеется несоответствие, то микропроцессор 20 выдает диагностический код, который передается интерфейсом 28 по каналам связи 30 на щит управления.
Суррогатный датчик 16 также может использоваться для выполнения измерений на одной половине датчика давления 12. Например, если микропроцессор 20 через коммутатор 26 включает переключатели SW1 и SW4, то можно определить величину емкости СН, так как емкость конденсатора CSL известна. Точно также, если включены переключатели SW2 и SW3, то можно определить величину емкости CL, так как емкость конденсатора CSH известна. Эта информация может использоваться, чтобы делать выводы о статическом давлении в линии и окружающей температуре модуля. Иногда это может понадобиться для обнаружения потерь нефтепродуктов в одной из половин ячейки. В частности, если одна из половин ячейки (например, СН) закорочена в результате того, что проводящая технологическая жидкость попала между одним электродом конденсатора и диафрагмой, а другая половина ячейки (в данном примере CL) выдает нормальные показания, то можно определить потери нефтепродукта.
В диагностическом режиме коммутатор SW6 подключает выход суррогатного датчика 18 к V/D преобразователю 24. В состав суррогатного датчика 18 входят два резистора RS1 и RS2. Цифровой выходной сигнал V/D преобразователя 24 с подключенным суррогатным датчиком 18 служит основой для определения, функционирует ли V/D преобразователь 24 должным образом. Микропроцессор 20 сравнивает цифровой выходной сигнал V/D преобразователя 24 с хранимой в памяти ожидаемой величиной и, если отклонение слишком большое, то выдает диагностический код.
Для имитации нулевых и полномасштабных входных состояний к системе можно добавить еще переключатели и резисторы (не показано), что позволит обеспечить работу V/D преобразователя 24 и микропроцессора 20 в режиме самотестирования при разных входных состояниях.
Полевой передатчик 100 (фигуры 2-5)
На фигуре 2 показан дифференциальный передатчик давления 100, который обеспечивает еще один вариант осуществления диагностического самотестирования по настоящему изобретению. Передатчик 100 – это емкостной дифференциальный передатчик давления, в состав которого входят основные конденсаторы датчика СН и CL, кольцевые конденсаторы CHR и CLR, датчик температуры RTD, емкостной аналого-цифровой (C/D) модулятор 110, аналого-цифровой (V/D) модулятор напряжения 112, цифровая секция 114, микропроцессор 116 и интерфейс 118. Связь между передатчиком 100 и щитом управления обеспечивается через интерфейс 118 по каналам связи 120. На фигуре 2 каналы связи 120 показаны в виде двухпроводного контура, по которому осуществляется аналоговая, цифровая, или смешанная аналого-цифровая связь.
C/D модулятор 110, V/D модулятор 112 и цифровая секция 114 встроены в специализированную интегральную схему (ASIC) 130 смешанного сигнала.
Конденсаторы СН, CL, CHR и CLR датчика давления представляют дифференциальный датчик давления, снабженный проводящей центральной диафрагмой, двумя обкладками основных конденсаторов и двумя обкладками кольцевых конденсаторов. Датчики давления этого типа рассмотрены в работе Фрика (Frick) и др. (патент США 6295875).
Конденсаторы датчика СН, CL, CHR, и CLR обеспечивают аналоговый вход C/D модулятора 110. C/D модулятором 110 вырабатывается и подается на общую обкладку конденсаторов датчика СН, CL, CHR и CLR сигнал возбуждения датчика (SENEX) (то есть на центральную диафрагму). C/D модулятор 110 преобразует соотношение емкостей конденсаторов датчика на входе в поток однобитовых данных PDATA.
В состав C/D модулятора 110 также входит детектор разомкнутых цепей, который выявляет разомкнутые цепи кольцевых конденсаторов CHR и CLR. Выходной сигнал CHOR C/D модулятора 110 показывает, разомкнута ли цепь кольцевого конденсатора CHR со стороны высокого давления. Выходной сигнал CLOR показывает, разомкнута ли цепь кольцевого конденсатора CLR со стороны низкого давления.
C/D модулятор 110 принимает тактовый сигнал PCLK и несколько управляющих сигналов от цифровой секции 114. По управляющим сигналам LH и LL выбираются значения программируемых конденсаторов линеаризации для датчиков со стороны высокого и низкого давления. Программируемые коэффициенты усиления управляющих сигналов КН и KL выбираются для входов кольцевых конденсаторов со стороны высокого и низкого давления соответственно. По управляющим сигналам SMOD и DMOD выбирается стандартный режим работы или диагностический режим самотестирования C/D модулятора 110.
Датчик температуры RTD – резистивный датчик температуры, который подает на V/D модулятор 112 положительное входное напряжение VINP и отрицательное входное напряжение VINN. Кроме того, на вход V/D модулятора 112 подаются опорные напряжения VREFP и VREFN.
V/D модулятор 112 принимает тактовый сигнал модулятора TCLK и аналоговый сигнал сброса ARST от цифровой секции 114. Кроме того, V/D модулятор 112 принимает управляющий сигнал VDBIT, по которому задается стандартный режим работы или диагностический режим самотестирования V/D модулятора 112.
На выходе V/D модулятора 112 появляется поток однобитных данных TDATA, являющийся модулированным сигналом импульсного кода, который представляет соотношение входных напряжений – разность между максимальным и минимальным входным напряжением VIN=VINP-VTNN (падение напряжения по датчику температуры RTD), и дифференциального опорного напряжения VREF=VREFP-VREFN.
Цифровая секция 114 обеспечивает интерфейс между аналоговыми схемами C/D модулятора 110 и V/D модулятора 112 и микропроцессором 116. В предпочтительном варианте осуществления модуляторы 110 и 112 и цифровая секция 114 встроены в специализированную интегральную схему (ASIC) 130.
Цифровая секция 114 выдает синхроимпульсы и управляющие сигналы на модуляторы 110 и 112 и принимает сигналы потока однобитных данных PDATA и TDATA от модуляторов 110 и 112 соответственно. Цифровая секция 114 фильтрует потоки однобитных данных с получением данных более высокой разрешающей способности и сохраняет эти данные в регистрах с доступом к ним микропроцессора 116.
В состав цифровой секции 114 также входят регистры конфигурации, параметры которых устанавливаются микропроцессором 116 и которые определяют рабочие параметры для C/D модулятора 110 и V/D модулятора 112. В эти конфигурационные данные входят значения, по которым выбирается режим работы так, чтобы микропроцессор 116 мог выбирать либо стандартный режим работы, либо диагностический режим самотестирования.
Микропроцессор 116 взаимодействует с цифровой секцией 114. Он устанавливает основные рабочие параметры и отображает данные, полученные из цифровой секции 114, в показаниях давления и температуры.
Микропроцессор 116 подключается к щиту управления через интерфейс 118 и каналы связи 120. Например, на основе показаний по давлению и температуре микропроцессор 116 выдает выходной сигнал, представляющий перепад давлений с поправкой на температуру. Микропроцессор 116 вынуждает интерфейс 118 изменять ток, текущий через двухпроводный контур (каналы связи 120) так, чтобы ток представлял выходной сигнал по перепаду давлений. Микропроцессор 116 может также подключаться к щиту управления по протоколу цифровой связи через интерфейс 118. С помощью этого протокола микропроцессор 116 может отправлять информацию о вторичном параметре (температуре), а также диагностические коды и другую информацию. Хотя каналы связи 120 показаны в виде двухпроводного контура, показания датчика, диагностические коды и другие данные могут также передаваться по беспроводной связи или по другим типам линий связи.
В предпочтительном варианте осуществления модуляторы 110 и 112 являются синхронно работающими аналоговыми сигма-дельта модуляторами второго порядка, предназначенными для низкочастотных измерений. Каждый модулятор 110 и 112 принимает низкоуровневые входные сигналы с преобразователя и выдает преобразованные в последовательную форму цифровые выходные сигналы. В случае C/D модулятора 110 преобразователь выполнен в виде емкостного дифференциального датчика давления с металлической ячейкой, образованного конденсаторами СН, CL, CHR и CLR. В случае V/D модулятора 112 преобразователь выполнен в виде резистивного датчика температуры RTD или нерезистивного устройства измерения температуры с выходом в виде напряжения типа р-n перехода. Выходные сигналы модулятора PDATA и TDATA обрабатываются внутрикристальными цифровыми фильтрами, расположенными в пределах цифровой секции 114. Эти фильтры программируются для обеспечения регулировки частоты настройки цифрового фильтра, частоты размыкания и скорости связи выходных данных.
C/D модулятор 110 работает в диапазоне частот приблизительно от 23 кГц до 66 кГц. К C/D модулятору 110 подключены входы четырех конденсаторов CL, CHR, CLR от дифференциального датчика давления с металлической ячейкой. Каждый входной сигнал имеет промежуток от 10 пФ до 100 пФ. C/D модулятор 110 производит измерение соотношений на основе этих четырех конденсаторов: СН, CL, CHR и CLR. C/D модулятор 110 выдает сигнал возбуждения датчика SENEX на общую обкладку четырех конденсаторов. Сигнал SENEX обеспечивает выбор между двумя уровнями напряжения VP и VN.
V/D модулятор 112 является полностью дифференциальным и подключен к датчику RTD с преобразованием типа температура-напряжение. Возбуждение датчика RTD производится внешне от микросхемы ASIC 130. V/D модулятор 112 работает в частотном диапазоне от 10 кГц до 20 кГц. V/D модулятор 112 выдает последовательные данные РСМ на вход цифровой секции 114 в виде сигнала TDATA.
Цифровая секция 114 принимает PDATA и TDATA сигналы последовательных данных РСМ от модуляторов 110 и 112 соответственно и фильтрует их с помощью метода фильтрования Sine. Фильтры Sine программируются с целью обеспечения регулирования при выборе оптимального соотношения разрешающей способности преобразователя и скорости обновления данных. Цифровая секция 114 также задает тактовые и конфигурационные установки модуляторов 110 и 112. Преобразованные C/D и V/D слова данных могут считываться микропроцессором 116 через последовательный интерфейс SPI.
Через последовательный порт связи, который поддерживает интерфейс SPI, микропроцессор 116 может обращаться к регистрам данных и конфигурации цифровой секции 114. В пределах цифровой секции 114 микропроцессор 116 имеет доступ по считыванию/записи к регистрам состояния/прерывания, данных CD и видеоданных.
После восстановления подачи электропитания микропроцессор 116 задает параметры регистров конфигурации цифровой секции 114. Это вынуждает цифровую секцию 114 задавать тактовые и конфигурационные установки модуляторов 110 и 112 и начинать обработку сигналов данных PDATA и TDATA, полученных от модуляторов 110 и 112 через цифровые фильтры. После доступа к обновленным данным цифровая секция 114 посылает прерывание на микропроцессор 116, и микропроцессор 116 считывает данные преобразования и очищает прерывание. Затем микропроцессор 116 ожидает следующего прерывания, чтобы считывать новые данные преобразования, когда это станет возможным. Цифровая секция 114 возвращает только достоверные данные; поэтому первое прерывание длится дольше, чем последующие прерывания.
Передатчик 100 выполняет несколько видов диагностики. C/D модулятор 110 и V/D модулятор 112 выполняют самодиагностику для проверки правильности работы. Кроме того, в состав C/D модулятора 110 входят схемы, которые определяют, разомкнута или нет цепь любого из кольцевых конденсаторов, и по этой причине подключен он или нет к C/D модулятору 110. Конфигурационные регистры цифровой секции 114 защищены схемой резервирования, которая отправляет на микропроцессор 116 предупреждение, если испорчен какой-либо из двоичных разрядов регистра. Для заблаговременного выполнения диагностики на выходе цифрового порта тестирования цифровой секции 114 могут появляться тактовые потоки модулятора и потоки цифровых двоичных разрядов.
В отдельные моменты микропроцессор 116 задает конфигурационные двоичные разряды в регистрах цифровой секции 114 так, чтобы обеспечить самотестирование C/D модулятора 110 и V/D модулятора 112.
В случае C/D модулятора 110 диагностический режим самотестирования выбирается посредством управляющего сигнала DMOD, поступающего с выхода цифровой секции 114. После выбора диагностического режима самотестирования основные конденсаторы датчика СН и CL отключаются, а кольцевые конденсаторы датчика CHR и CLR заменяются внутрикристальным конденсатором известной емкости (CR=35 пФ), который является внутренним для C/D модулятора 110. CR работает как суррогатный датчик на входе C/D модулятора 110. C/D модулятор 110 продолжает работать, но при подаче на суррогатный конденсатор CR питания с помощью тактовых сигналов модулятора. В результате сигнал PDATA на выходе C/D модулятора 110 является функцией коэффициентов усиления со стороны высокого и низкого давления КH и KL емкостей линейной компенсации CLlin и СHlin и конденсатора CR суррогатного датчика. Значения коэффициентов усиления и емкостей линейной компенсации выбираются на основе конфигурационной информации, содержащейся в регистрах цифровой секции 114. Это позволяет диагностическому режиму самотестирования тестировать C/D модулятор 110 с несколькими различными наборами коэффициентов усиления и значений емкостей линейной компенсации. Таким образом, цифровой выход C/D модулятора 110 независим от состояния датчика давления и независим от прикладываемого давления. Множество значений коэффициента усиления и емкостей конденсаторов линеаризации, которые могут быть выбраны, обеспечивают способность тестировать C/D модулятор 110 и цифровую секцию 114 при множестве различных известных входных состояний, представляющих диапазон входных давлений.
Во время изготовления микросхемы ASIC 130 и изготовления передатчика 100 диагностический режим самотестирования используется таким же образом, как и при работе в полевых условиях. Для тестирования микросхем ASIC 130 в условиях литейного производства применяется диагностический режим самотестирования. Поскольку испытания могут проводиться только по сигналам суррогатного датчика, сформированным микросхемой, тестирование проходит быстрее, точнее и надежнее. Результаты режима самотестирования во время изготовления передатчика 100 хранятся в микропроцессоре 116 так, чтобы их можно было использовать для сравнения, если диагностический режим самотестирования выполняется в полевых условиях. Если результаты по данным самотестирования, хранящиеся в регистрах цифровой секции 114 во время режима самотестирования, выходят за допустимые пределы сохраненных в памяти значений, сформированных во время производственных испытаний, то микропроцессор 116 показывает ошибку. О таких ошибочных состояниях может быть сообщено с помощью диагностического кода ошибки через интерфейс 118 и каналы связи 120 обратно на щит управления.
Во время диагностического режима самотестирования цифровая секция 114 также контролирует V/D модулятор 112 с помощью управляющего сигнала VDBIT. В диагностическом режиме самотестирования датчик температуры RTD отключается от схемы V/D модулятора с помощью коммутатора в V/D модуляторе 112. Разность между максимальным и минимальным входным напряжением AVIN на выходе датчика устанавливается на известное значение, например, О В, что представляет сигнал суррогатного датчика для использования при самотестировании. Даже при том, что модулятор 112 выдает нулевой выходной сигнал для нулевых входных состояний, тестирование осуществляется по сигналу ( VIN=0) суррогатного датчика из-за его архитектуры, выравнивающей заряд сигма-дельта. Для этого, чтобы сформировать нулевой выходной сигнал, необходимо объединить и сбалансировать электрический заряд, количественная характеристика которого равна количественной характеристике заряда, объединенного и сбалансированного для ненулевого состояния на входе. Неисправность любого из функциональных блоков V/D модулятора 112 будет мешать измерению нулевых состояний на входе.
Для получения многократных уровней тестирования таким же образом, как и при работе C/D модулятора 110 во время самотестирования, могут быть получены и другие известные значения входного напряжения в виде сигналов суррогатного датчика на входе V/D модулятора 112 во время диагностического режима самотестирования. Если значения, возвращенные цифровой секцией 114 на микропроцессор 116, указывают на нарушение работоспособности V/D модулятора 112 во время режима самотестирования, то микропроцессор 116 через интерфейс 118 и каналы связи 120 передает с помощью диагностического кода сообщение о неудавшемся тестировании.
Диагностический режим самотестирования может выполняться периодически согласно регламенту, выдерживаемому микропроцессором 116. Кроме того, самотестирование может быть инициировано с щита управления путем отправки соответствующего сигнала по каналам связи 120 с получением его интерфейсом 118 и микропроцессором 116. В любом случае передатчик 100 выполняет тестирование своих критических элементов и для этого не нужно, чтобы технический персонал проникал в передатчик 100 на физическом уровне. Это позволяет выполнять периодическое тестирование чаще, чем это было бы возможно в другом случае.
На фигуре 3 показана блок-схема C/D модулятора 110. Как показано на фигуре 3, в состав C/D модулятора 110 входит таймер 150, интегратор первого этапа 152, интегратор второго этапа 154, квантователь 156, генератор сигнала возбуждения 158, схема обратного возбуждения 160, устройство управления на входе основного конденсатора 162, устройство управления на входе кольцевых конденсаторов 164, устройство управления на входе конденсатора линейной компенсации 166, устройство регулировки усиления 168, детектор разомкнутых цепей 170 и цепь смещения 172.
Таймер 150 – это генератор тактового сигнала, который получает тактовый сигнал PCLK и сигнал возврата в исходное состояние ARST от цифровой секции 114 и выдает восемь тактовых сигналов: i, id, z, zd, smp1, smp2, smp3 и Reset.
Сигналы i и id – это сигнал фазы интеграции и сигнал задержки фазы интеграции соответственно. Сигналы z и zd – это сигнал фазы подготовки и сигнал задержки фазы подготовки соответственно. Сигнал smpi – сигнал запуска решения компаратора; smp2 – сигнал фиксатора компаратора; smp3 – сигнал синхронизации выхода компаратора. Reset – сигнал возврата в исходное состояние C/D преобразователя.
Интегратор первого этапа 152 обеспечивает выходное напряжение VOUT1, которое является функцией суммирования входных емкостей, подключенных к интегратору 152, устройством управления на входе основного конденсатора 162, устройством управления на входе конденсатора линейной компенсации 166 и устройством регулировки усиления кольцевого конденсатора 168. Входные емкости, представленные устройством управления на входе основного конденсатора 162, это основные конденсаторы СН и CL, которые управляются по сигналу возбуждения датчика SENEX. Емкости линейной компенсации, представленные устройством управления на входе конденсатора линейной компенсации 166, включаются по сигналам LH и LL, и управляются сигналом возбуждения конденсатора линеаризации LINEX. Емкости, представленные устройством регулировки усиления 168, включаются по сигналам КН и KL, и управляются по сигналам обратного возбуждения REVEX, которые являются функцией кольцевых емкостей CHR и CLR.
Главная функция интегратора второго этапа 154 состоит в выполнении операции таким образом, чтобы текущее значение выходного напряжения интегратора первого уровня 152 VOUT1 (n) могло интегрироваться с весовым коэффициентом минус 1/2, в то время как предыдущее значение выходного сигнала интегратора первого уровня VOUT1 (n-1) могло бы интегрироваться с весовым коэффициентом плюс 1/4. Выходным сигналом интегратора второго этапа 154 является напряжение VOUT2, которое подается на вход квантователя 156.
Функция квантователя 156 состоит в преобразовании аналогового выхода интегратора второго этапа 154 VOUT2 в цифровой одноразрядный сигнал. Главными элементами квантователя 156 являются компаратор и мультивибратор. VOUT2 сравнивается компаратором с напряжением средней точки VMID. Если напряжение VOUT2 ниже, чем VMID, то на выходе компаратора появляется “1”, в противном случае – “0”. Мультивибратор D синхронизирует выходной сигнал компаратора.
У квантователя 156 два выхода, которые выводятся из выхода D мультивибратора. Выход квантователя у используется генератором сигнала возбуждения 158 для определения полярности сигнала возбуждения. Кроме того, устройство управления на входе основного конденсатора 162, устройство управления на входе кольцевых конденсаторов 164 и устройство регулировки усиления 168 также используют логический выход у.
Выходной сигнал PDATA – это обратный сигнал у. PDATA – одноразрядный цифровой сигнал, который подается на вход цифровой секции 114 с выхода C/D модулятора 110.
Генератор сигнала возбуждения 158 выдает три сигнала возбуждения: сигнал возбуждения датчика SENEX, сигнал возбуждения конденсатора линейной компенсации LINEX и сигнал возбуждения диагностического самотестирования DGNEX. Каждый из этих сигналов возбуждения выдает напряжение между двумя уровнями: VP и VN. VP – напряжение выше, чем VMBD, и VN – напряжение ниже, чем VMID.
Каждый из трех сигналов возбуждения, сформированных генератором сигнала возбуждения 158, может быть как положительным, так и отрицательным. Сигнал положительного возбуждения появляется за тактовым сигналом id. Сигнал отрицательного возбуждения появляется за тактовым сигналом zd.
Сигнал SENEX формируется во время стандартного режима работы. Он не активен во время диагностического режима самотестирования. Если логический выход квантователя у=1, то следующее возбуждение сигнала SENEX должно быть положительным. Если логический выход квантователя у=0, то следующее возбуждение сигнала SENEX должно быть отрицательным.
Сигнал LINEX активен как в стандартном режиме работы, так и в диагностическом режиме самотестирования. Определение того, будет ли следующее возбуждение сигнала LINEX положительным или отрицательным, является функцией логического выхода квантователя у, и знакового бита кодов конденсатора линеаризации LH и LL. Если логический выход квантователя у=1 и знаковый бит кода LH равняется 0, то следующее возбуждение сигнала LINEX должно быть отрицательным. Если логический выход квантователя у=0 и знак LH равняется 1, то следующее возбуждение должно быть положительным. Если логический выход квантователя у=0 и знаковый бит этих LL кодов равняется 0, то следующее возбуждение должно быть положительным. Если логический выход квантователя у=0, а знаковый бит знака LL=1, то следующее возбуждение должно быть отрицательным.
Диагностический сигнал возбуждения DGNEX активен только в диагностическом режиме самотестирования (если DMOD=1). Если логический выход квантователя у=1, то следующее возбуждение DGNEX должно быть отрицательным. Если логический выход квантователя у=0, то следующее возбуждение DGNEX должно быть положительным.
Генератор обратного сигнала возбуждения 160 формирует обратный сигнал возбуждения REVEX. Полярность возбуждения REVEX противоположна полярности сигнал возбуждения датчика SENEX. Величина REVEX пропорциональна входной емкости генератора обратного сигнала возбуждения датчика 160, представленной устройством управления на входе кольцевых конденсаторов 164. Сигнал REVEX подается как входной как на устройство регулировки усиления 168, так и на детектор разомкнутых цепей 170.
Устройство управления на входе основного конденсатора 162 является главным устройством контроля входной цепи конденсатора датчика. Устройство управления на входе основного конденсатора 162 может выборочно подключать основные конденсаторы датчика СН и CL на вход интегратора первого этапа 152 на основе выбранного режима и состояния текущего логического выхода квантователя у.
Во время стандартного режима, если у=1, то во время следующего периода дискретизации конденсатор датчика СН подключается устройством управления на входе основного конденсатора 162 на вход интегратора первого этапа 152. Конденсатор датчика CL отключается от входа интегратора первого этапа 152.
Во время стандартного режима, если у=0, то во время следующего периода дискретизации конденсатор датчика CL подключается устройством управления на входе основного конденсатора 162 на вход интегратора первого этапа 152. Конденсатор датчика СН отключается от входа интегратора первого этапа 152.
Если передатчик 100 находится в диагностическом режиме самотестирования (DMOD=1), то устройство управления на входе основного конденсатора 162 отключает как СН, так и CL от интегратора первого этапа 152. Другими словами, основные конденсаторы датчика СН и CL не используется во время диагностического режима самотестирования.
Устройство управления на входе кольцевых конденсаторов 164 является устройством контроля входной цепи кольцевого конденсатора. Входами устройства управления на входе кольцевых конденсаторов 164 являются кольцевые конденсаторы CHR и CLR, на выходе появляется сигнал RMUX, который подается на вход генератора обратного сигнала возбуждения датчика 160.
Устройство управления на входе кольцевых конденсаторов 164 работает как в стандартном режиме, так и в диагностическом режиме самотестирования. В стандартном режиме работы сигнал возбуждения датчика SENEX активен, а диагностический сигнал возбуждения DGNEX неактивен. Если текущий выход квантователя у=1, то во время следующего периода дискретизации кольцевой конденсатор CHR подключается к генератору обратного сигнала возбуждения датчика 160, в то время как кольцевой конденсатор CLR отключается от генератора обратного сигнала возбуждения датчика 160. Если текущий выход квантователя у=0, то во время следующего периода дискретизации кольцевой конденсатор CLR подключается к генератору обратного сигнала возбуждения датчика 160, в то время как конденсатор CHR отключается от генератора обратного сигнала возбуждения датчика 160.
В диагностическом режиме самотестирования диагностический сигнал возбуждения DGNEX активен, а сигнал возбуждения датчика SENEX неактивен. Устройство управления на входе кольцевых конденсаторов 164 отключает кольцевые конденсаторы CHR и CLR. Вместо них устройство управления на входе кольцевых конденсаторов 164 подключает конденсатор суррогатного датчика CR, управляемый DGNEX.
Устройство управления на входе конденсатора линейной компенсации 166 включает матрицу из четырех конденсаторов линейной компенсации со значениями 0,5 пФ, 1,0 пф, 2,0 пФ и 4,0 пФ. Матрица конденсаторов имеет общую обкладку, которая подключена к сигналу возбуждения линеаризации LINEX. Отдельный конденсатор или конденсаторы, подключенные к интегратору первого этапа 152, выбираются логической схемой коммутатора на основе текущего выходного сигнала квантователя у и кодов линейного конденсатора LH и LL со стороны высокого и низкого давления.
Конденсаторы линейной компенсации могут также независимо друг от друга программироваться цифровым пятиразрядным кодом, который хранится в регистре аналоговой конфигурации. Самый верхний разряд пятиразрядного кода используется для контроля по знаку и применяется генератором сигнала возбуждения 158. Самые низшие четыре разряда устанавливают величину емкости конденсатора линеаризации и используются устройством управления на входе конденсатора линейной компенсации 166. Если знаковый бит – 1, то величина емкости линеаризации отрицательна. Если знаковый бит – 0, то величина емкости линеаризации положительна. В предпочтительном варианте осуществления четыре разряда, используемые для выбора величин емкости, выдают шестнадцать различных величин емкости в пределах от 0,0 пФ до 7,5 пФ.
Матрица линейных конденсаторов активна как в стандартном режиме работы, так и в диагностическом режиме. Если текущий выход квантователя у=1, то код линейного конденсатора со стороны высокого давления LH используется как управляющие сигналы коммутатора с целью определения, какой из конденсаторов линейной компенсации будет подключен на вход интегратора первого этапа 152. Если текущий выход квантователя у=0, то код линейного конденсатора со стороны низкого давления LL используется как управляющие сигналы коммутатора с целью определения, какой из конденсаторов линейной компенсации будет подключен к интегратору первого этапа 152.
Устройство регулировки усиления 168 является программируемым блоком управления на входе в виде программируемой матрицы конденсаторов. В предпочтительном варианте осуществления пять конденсаторов с величинами емкостей 44,75 пф, 1,25 пФ, 2,50 пФ 5,0 пФ и 10,0 пФ образуют программируемую матрицу конденсаторов этапа усиления. Каждый из этих пяти конденсаторов имеет одну обкладку, подключенную на получение обратного сигнала возбуждения REVEX. Матрица коммутатора выборочно подключает противоположную обкладку каждого конденсатора на вход интегратора первого этапа 152 в соответствии с кодом коэффициента усиления со стороны высокого давления КН, или кодом коэффициента усиления со стороны низкого давления KL. Если текущий выход квантователя у=1, то в качестве управляющих сигналов коммутатора выбирается код коэффициента усиления со стороны высокого давления КН. Если текущий выход квантователя у=0, то в качестве управляющих сигналов коммутатора выбирается код коэффициента усиления со стороны низкого давления KL. Матрица конденсаторов этапа усиления в устройстве регулировки усиления 168 активна как в стандартном режиме работы, так и в диагностическом режиме.
Коэффициенты усиления кольцевых конденсаторов КН и KL независимо друг от друга программируются цифровым четырехразрядным кодом, хранящимся в регистре аналоговой конфигурации цифровой секции 114. С помощью четырехразрядного кода можно выбрать шестнадцать различных коэффициентов усиления. В предпочтительном варианте осуществления коэффициенты усиления изменяются в диапазоне от 0,39 до 0,54.
Детектор разомкнутых цепей 170 принимает сигнал REVEX от генератора обратного сигнала возбуждения датчика 160. Функция детектора разомкнутых цепей 170 состоит в обнаружении разомкнутых цепей кольцевых конденсаторов CHR и CLR. Если одна из цепей кольцевого конденсатора разомкнута, то емкость кольца уменьшается до некоторого порогового уровня. Во время дискретизации со стороны высокого давления, когда генератор обратного сигнала возбуждения датчика 160 выбирает CHR, если напряжение сигнала REVEX VREVEX больше порогового напряжения VТН в конце фазы интеграции, то цепь кольцевых конденсаторов со стороны высокого давления CHR разомкнута. Это приводит к тому, что сигнал CHOR устанавливается на “1”.
Во время периода дискретизации CLR подключается устройством управления на входе кольцевых конденсаторов 164 к генератору обратного сигнала возбуждения датчика 162. Если VREVEX меньше порогового значения со стороны низкого давления VTL в конце фазы интеграции, то цепь кольцевых конденсаторов со стороны низкого давления CLR разомкнута. Сигналы CLOR установлены на “1”.
C/D модулятор 110 работает в двух режимах – в стандартном режиме и в диагностическом режиме самотестирования. Режим работы выбирается по сигналам логической схемы SMOD и DMOD, которые хранятся в регистре аналоговой конфигурации цифровой секции 114. Если SMOD=1, a DMOD=0, то C/D модулятор 110 используется в стандартном режиме работы. Если SMOD=0, a DMOD=1, то C/D модулятор 110 используются в диагностическом режиме. Передаточные функции для этих двух режимов работы задаются следующим образом.
В стандартном режиме соотношение емкостей при измерении равно:

где kН – коэффициент усиления кольцевого конденсатора со стороны высокого давления, kL – коэффициент усиления кольцевого конденсатора со стороны низкого давления и СLlin и СHlin – емкости линейной компенсации со стороны высокого и низкого давления. Передаточная функция

для C/D модулятора, работающего в стандартном режиме, определяется следующим образом:
где N1 – цифровой выход SINC-фильтра C/D, N=224. Диапазон этого соотношения – [-1,1], диапазон N1 – [0,N].
В диагностическом режиме цепи основных конденсаторов датчика разомкнуты, и кольцевые конденсаторы датчика заменены внутрикристальным конденсатором (CR=35 пФ). Соотношение емкостей при измерении равно:

Выбирая различные коэффициенты усиления kН, kL или емкости линейной компенсации СLlin, и СHlin, можно получить различные соотношения емкостей.
Передаточная функция для C/D модулятора, работающего в диагностическом режиме

самотестирования определяется следующим образом:
где N1 – цифровой выход SINC-фильтра C/D, N=224. Диапазон этого соотношения – [-1,1]; диапазон N1 – [0,N].
На фигуре 4 показана блок-схема V/D модулятора 112, в состав которого входят четыре функциональных модуля: интегратор 190, квантователь 192, таймер 194; цепь смещения 196 и тестовый мультиплексор 198.
V/D модулятор 112 является сигма-дельта модулятором второго порядка. Интегратор 190 выполняет интегрирование второго этапа на основе входных значений VINP и VINN и опорных значений VREFP и VREFN. Выход интегратора 190 соединен со входом квантователя 192. Функция квантователя 192 состоит в том, чтобы работать в качестве одноразрядного аналого-цифрового преобразователя. На выходе появляется модулированный сигнал импульсного кода TDATA, который является функцией отношения VIN к VREF.
В диагностическом режиме схема интегратора 190 закорачивает входы так, что VIN=0, и с цифрового выхода отправляются данные так, как будто на входе ноль. Если цифровой выход во время диагностического режима самотестирования является значением отличным от нуля, то это указывает на нарушение работоспособности V/D модулятора 112.
В состав V/D модулятора 112 входит также тестовый мультиплексор 198, который позволяет отправлять с выходов первого и второго этапов интегратора 190 аналоговые сигналы на тестовые штырьковые выводы. Это позволяет техническому персоналу выполнять диагностику на месте.
На фигуре 5 показана блок-схема цифровой секции 114. В состав цифровой секции 114 входит тактовый генератор 200, C/D Sinc^x фильтр 202, V/D Sinc^x фильтр 204, регистры 206А-206К, SPI интерфейс 208, мультиплексор с диагностическими и тестовыми штырьковыми выводами 210 и микросхемы разного назначения 212.
Тактовый генератор 200 отводит тактовые сигналы, используемые цифровой секцией 114, с входного штырькового вывода задающего генератора I_CLK. Тактовые сигналы используются цифровой секцией 114. Тактовый генератор 200 подает на модуляторы 110 и 112 тактовые сигналы PCLK и TCLK и сигнал возврата в исходное состояние ARST.
C/D Sinc^x фильтр 202 используется вместе с C/D модулятором 110 для измерения соотношения емкостей, при этом конечной целью является получение показаний по давлению высокой разрешающей способности. Фильтр Sinc^x является программируемым. Sinc фильтры используются с сигма-дельта модуляторами для повышения разрешающей способности преобразователя данных при снижении скорости связи выходных данных. Фильтр 202 получает поток последовательных данных PDATA с выхода C/D модулятора 110, фильтрует эти данные и сохраняет 24-разрядный результат в регистре CD-данных 206А.
V/D Sinc^2 фильтр 204 используется вместе с V/D модулятором 112 для обеспечения измерений напряжения пониженной разрешающей способности. V/D Sinc^2 фильтр 202 программируется на прореживание с десятичным коэффициентом и масштабированием. На выходе V/D Sinc^ фильтра 204 получают 24-разрядный результат, сохраняемый в регистре VD-данных 206В.
Микропроцессор 116 через SPI-интерфейс 208 может обращаться к одиннадцати регистрам 206А-206К. В состав регистров входят два регистра данных – регистр CD-данных 206А и регистр VD-данных 206 В; четыре конфигурационных регистра – регистр CD-конфигурации 206С, регистр VD-конфигурации 206D, регистр смешанной конфигурации 206Е и регистр аналоговой конфигурации 206F; четыре резервных регистра – CD резервный регистр 206G, VD резервный регистр 206Н, резервный регистр смешанной конфигурации 206I и аналоговый резервный регистр 206 J; и регистр состояния/прерывания 206 К.
Микропроцессор 116 может производить считывание и запись данных в конфигурационные регистры 206C-206F и резервные регистры 206G-206J. Он может считывать данные только с регистра CD-данных 206А, регистра VD-данных 206В и регистра состояния/прерывания 206К.
Регистр CD-данных 206А содержит 24-разрядный результат из C/D канала давления. Его значение обновляется автоматически Sinc^x фильтром 202 при появлении нового значения. Если микропроцессор 116 не может считать новые данные до того, как станут доступны следующие данные, в регистре 206К устанавливается разряд состояния CD Overrun (переполнение CD). Если обновление происходит во время считывания микропроцессором 116 с регистра CD-данных 206А, то новые данные будут отброшены так, что считываемые данные не будут испорчены. Регистр CD-данных 206А выполнен таким образом, что он никогда не возвращает все нули или единицы. Если микропроцессор 116 считывает любое из этих двух значений (все нули или все единицы) из регистра CD-данных 206А, то это указывает на то, что у микропроцессора 116 появилась проблема с последовательной связью.
Регистр VD-данных 206В содержит 24-разрядный результат из температурного канала V/D. Его значение обновляется автоматически V/D Sinc^2 фильтром 204 при появлении нового значения. Если микропроцессор 116 не может считать новые данные до того, как станут доступны следующие данные, в регистре 206К задается разряд состояния VD Overrun (переполнение VD). Если обновление происходит во время считывания микропроцессором 116 с регистра CD-данных 206В, то новые данные будут отброшены так, что считываемые данные не будут испорчены. Так же, как и CD регистр данных 206А, регистр VD-данных 206В выполнен таким образом, что он никогда не возвращает все нули или единицы. Микропроцессор 116 обнаруживает проблему с последовательной связью, если из регистра VD-данных 206В он считывает любое из этих двух значений.
Регистр CD-конфигурации 206С управляет работой C/D фильтра 202. Содержание регистра 206С включает поле прореживания для фильтра 202, поле, в котором содержится коэффициент масштабирования для фильтра 202, двоичный разряд, который устанавливает очередность для фильтра 202 либо по отношению к Sinc^3 фильтру, либо к Sinc^2 фильтру, и двоичный разряд, который определяет, будет ли фильтр 202 автоматически усреднять два значения C/D-данных перед обновлением регистра CD-данных 206А, или не будет усреднять. Усреднение удваивает период между обновлениями для канала C/D.
Регистр VD-конфигурации 206D управляет работой V/D фильтра 204. Он содержит поле, которое определяет частоту прореживания для Sinc^2 фильтра V/D 204, и поле, в котором задан коэффициент масштабирования для фильтра 204.
Регистр смешанной конфигурации 206Е содержит поле, которое используется тактовым генератором 200 для определения частоты тактовых PCLK CD-модулятора, поле, которое используется тактовым генератором 200, для определения рабочего цикла тактовых PCLK и поле, которое устанавливает тактовую частоту для тактовых TCLK VD-модулятора. Кроме того, регистр смешанной конфигурации 206Е включает двоичные разряды, которые определяют моменты прерываний микропроцессора 116, и двоичный разряд, который подключает цифровые тестовые штырьковые выводы мультиплексора 210.
Регистр аналоговой конфигурации 206F содержит двоичные разряды конфигурации для управления работой C/D модулятора 110 и V/D модулятора 112. Регистр 206F включает поля, которые задают коэффициенты усиления кольцевых конденсаторов со стороны высокого и низкого давления КН и KL, и значения конденсаторов линеаризации со стороны высокого и низкого давления LH и LL. Он также содержит двоичные разряды, которые определяют знак конденсаторов линеаризации со стороны высокого и низкого давления; двоичные разряды, которые определяют состояние сигналов выбора режима SMOD, и DMOD и VDBIT, подаваемых на модулятор 110 и 112 для выбора либо стандартного режима, либо диагностического режима самотестирования; и двоичные разряды, которые определяют аналоговые режимы тестирования, которые обеспечивают доступ штырьковых тестовых выводов к внутренним аналоговым сигналам. Наконец, регистр аналоговой конфигурации 206F включает поле возврата в исходное состояние фильтра, которое возвращает в исходное состояние C/D и V/D модуляторы 110 и 112 и их соответствующие фильтры 202 и 204.
Каждому конфигурационному регистру 206C-206F соответствует резервный регистр 206G-206J, который должен содержать инвертированную копию соответствующего конфигурационного регистра. Микропроцессор 116 отвечает за правильную запись данных в конфигурационный регистр и его резервный регистр. Содержание резервного регистра непрерывно сравнивается с содержанием соответствующего конфигурационного регистра. Если обнаруживается отличие, то в регистр состояния/прерывания 206К отправляется сообщение об ошибке резервирования.
Регистр состояния/прерывания 206К содержат поле идентификации микросхемы, которое идентифицирует текущий вариант микросхемы ASIC 130. Он также содержит ряд двоичных разрядов состояний или прерываний. Эти двоичные разряды указывают момент доступа к новым V/D и C/D данным, момент переполнения V/D или C/D данными, вызванного тем, что регистр не читался перед наслоением новых данных; разряд ошибки резервирования, который задается, если при контроле избыточным кодом обнаруживается ошибка резервирования; и двоичные разряды состояний, которые показывают, обнаружил ли детектор разомкнутых цепей 170 разомкнутую цепь датчиков со стороны низкого или высокого давления.
Через SPI интерфейс 208 микропроцессор 116 подключается по линии связи к регистрам 206А-206К. Когда микропроцессор 116 инициирует диагностическое самотестирование, он делает это путем установки соответствующих двоичных разрядов в регистре аналоговой конфигурации 206F. Затем диагностический режим самотестирования выполняется как в C/D модуляторе 110, так и в V/D модуляторе 112, и микропроцессор 116 считывает результаты из регистра CD-данных 206А и регистра VD-данных 206В. Затем микропроцессор 116 сравнивает результаты с ожидаемыми значениями, занесенными в память во время заводского тестирования. Если результаты диагностического самотестирования выходят за рамки установленных пределов, то микропроцессор 116 показывает состояние ошибки и через интерфейс 118 подключается по линии связи к щиту управления.
Во время выполнения диагностического режима самотестирования микропроцессор 116 продолжает передавать выходные сигналы по каналам связи 120 на основе измерений при стандартном режиме, произведенных как раз перед диагностическим самотестированием. Таким образом, диагностический режим самотестирования прозрачен для щита управления; он выполняется без представления на щит управления показаний суррогатного датчика.
График, по которому осуществляется диагностическое самотестирование, предпочтительно сохранять в микропроцессоре 116. Это позволяет осуществлять диагностическое самотестирование периодически без необходимости вмешиваться в работу щита управления или получать оттуда инструкции. Микропроцессор 116 сообщает результаты диагностического самотестирования без необходимости вовлекать в процедуру самотестирования схемы щита управления.
В другом случае диагностический режим самотестирования может быть начат с щита управления инструкцией проверки, отправленной на микропроцессор 116 по каналам связи 120. Кроме того, микропроцессор 116 может отправить на щит управления показания суррогатного датчика в дополнение к оценке этих показаний, выполненных микропроцессором 116.
В заключение, диагностический режим самотестирования по настоящему изобретению обеспечивает способность регулярно контролировать точность и характеристики полевого передатчика без необходимости выполнения тестирования на месте силами технического персонала. Диагностический режим самотестирования может идентифицировать схемы обработки сигналов (например, микросхема ASIC 130)
как источник ошибки, что облегчает ремонт и обработку. Кроме того, режим самотестирования является ценным тестированием в литейном производстве во время изготовления микросхемы ASIC 130, а также во время производства полевого передатчика.
Хотя изобретение было описано в контексте емкостного дифференциального передатчика давления, настоящее изобретение применимо к любому полевому передатчику. Например, в другом варианте осуществления полевой передатчик использует резистивный датчик давления типа тензодатчика с выработкой потенциала, который является функцией измеренного давления. Этот потенциал может быть преобразован к цифровому виду аналого-цифровым сигма-дельта преобразователем напряжения или другими типами аналого-цифрового преобразователя. Сигналы суррогатного датчика вырабатываются так же, как и в случае, описанном со ссылкой на передатчики 10 и 100.
Хотя настоящее изобретение описано со ссылкой на предпочтительные варианты осуществления настоящего изобретения, специалисты понимают, что по форме и в деталях могут иметь место изменения, которые, однако, не являются отступлением от объема и сущности изобретения.
Формула изобретения
1. Полевой передатчик для передачи сигналов, представляющих технологические параметры, в состав которого входит: физический датчик для измерения технологического параметра и выработки аналогового физического сигнала датчика, который представляет технологический параметр; суррогатный датчик для выработки аналогового сигнала суррогатного датчика, который независим от технологического параметра; схема обработки сигналов, которая преобразует аналоговый входной сигнал в цифровой результат измерения; средства подачи аналогового физического параметра датчика в качестве аналогового входного сигнала на схему обработки сигналов во время стандартного режима, и подачи аналогового параметра суррогатного датчика в качестве аналогового входного сигнала на схему обработки сигналов во время диагностического режима; средства хранения ожидаемого цифрового значения цифрового измерения во время диагностического режима; средства передачи выходного сигнала по каналу связи как функции цифрового результата измерения, полученной во время стандартного режима; и средства выполнения диагностической оценки схемы обработки сигналов на основе сравнения цифрового результата измерения, произведенного во время диагностического режима, и хранимого ожидаемого цифрового значения.
2. Полевой передатчик по п.1, в состав которого также входят средства подачи сигнала возбуждения на физический датчик во время стандартного режима и на суррогатный датчик во время диагностического режима.
3. Полевой передатчик по п.1, отличающийся тем, что в состав физического датчика входит емкостный датчик давления, а суррогатного датчика входит эталонный конденсатор.
4. Полевой передатчик по п.1, отличающийся тем, что средства выполнения диагностической оценки выдают диагностический код, относящийся к схеме обработки сигналов, основанный на сравнении цифрового результата измерения во время диагностического режима с ожидаемым цифровым значением.
5. Полевой передатчик, включающий: датчик; процессор сигналов для выдачи цифрового выходного сигнала измерения как функции аналогового входного сигнала с датчика; интерфейс связи для выдачи выходного сигнала передатчика как функции цифрового выходного сигнала измерения; и диагностическую схему самотестирования для подачи во время диагностического режима аналогового диагностического входного сигнала на процессор сигналов вместо аналогового входного сигнала с датчика; и средства выработки диагностического выходного сигнала, относящегося к процессору сигналов, на основе сравнения цифрового выходного сигнала измерения с процессора обработки сигналов в ответ на аналоговый диагностический входной сигнал с ожидаемым цифровым значением цифрового выходного сигнала измерения.
6. Полевой передатчик по п.5, отличающийся тем, что датчик выдает на вход процессора сигналов переменный входной сигнал по емкости как функцию измеренного параметра, и тем, что диагностическая схема самотестирования выдает входной емкостной опорный сигнал на процессор сигналов во время диагностического режима.
7. Полевой передатчик, работающий в стандартном режиме, у которого датчик выдает аналоговый сигнал датчика, который является функцией измеренного параметра, процессор обработки сигналов преобразует аналоговый сигнал датчика в цифровую измеренную величину, и интерфейс связи передает с выхода передатчика сигнал как функцию значения цифровой измеренной величины, характеризующийся: диагностической схемой самотестирования, которая заменяет аналоговый сигнал датчика на аналоговый суррогатный сигнал во время диагностического режима; и средствами выдачи диагностического выходного сигнала, относящегося к процессору сигналов, на основе сравнения цифрового измеренного значения, выданного процессором обработки сигналов во время диагностического режима с ожидаемым цифровым значением.
8. Полевой передатчик, работающий в стандартном режиме и диагностическом режиме самотестирования, в состав которого входит: датчик для измерения параметра и выдачи сигнала датчика; сигма-дельта модулятор для выработки сигнала данных как функции сигнала датчика во время стандартного режима, и как функции суррогатного сигнала во время диагностического режима самотестирования; и процессор данных для включения стандартного и диагностического режима самотестирования, управления передачей выходного сигнала передатчика как функции сигнала данных, полученного во время стандартного режима, и выполнения передачи диагностического кода, если сигнал данных, произведенный во время диагностического режима самотестирования, показывает нарушение работоспособности сигма-дельта модулятора.
9. Способ работы полевого передатчика для обеспечения диагностического самотестирования, включающий: инициирование диагностического режима самотестирования, в котором аналоговый суррогатный сигнал замещает аналоговый сигнал датчика на входе схемы обработки сигналов полевого передатчика; сравнение цифрового выходного сигнала схемы обработки сигналов на основе аналогового входного суррогатного сигнала с ожидаемым цифровым выходным сигналом; и выдачу диагностического выходного сигнала, относящегося к схеме обработки сигналов на основе результатов сравнения.
10. Интегральная схема для использования в полевом передатчике, который выдает выходной сигнал как функцию параметра, измеренного датчиком, в состав которой входит: процессор сигналов для выработки цифрового выходного сигнала измерения как функции аналогового входного сигнала с датчика; и диагностическая схема самотестирования для выдачи во время диагностического режима аналогового диагностического сигнала на вход процессора обработки сигналов вместо аналогового входного сигнала с датчика так, чтобы цифровой сигнал измерения на выходе процессора сигналов во время диагностического режима был функцией аналогового диагностического входного сигнала, а также для выдачи диагностического выходного сигнала, если цифровой выходной сигнал измерения процессора сигналов показывает нарушение работоспособности процессора сигналов.
РИСУНКИ
|