|
|
(21), (22) Заявка: 2007124615/28, 22.06.2007
(24) Дата начала отсчета срока действия патента:
22.06.2007
(43) Дата публикации заявки: 27.12.2008
(46) Опубликовано: 20.06.2009
(56) Список документов, цитированных в отчете о поиске:
SU 1536251 A1, 15.01.1990. SU 1735761 A1, 23.05.1992. SU 1619159 A1, 07.01.1991. SU 1539579 A1, 30.01.1990. US 4733567 A, 29.03.1988. US 5115681 A, 26.05.1992. JP 63091557 A, 22.04.1988.
Адрес для переписки:
198332, Санкт-Петербург, ул. Десантников, 14, кв.234, Т.С.Никольской
|
(72) Автор(ы):
Никольская Татьяна Сергеевна (RU), Никольский Сергей Григорьевич (RU)
(73) Патентообладатель(и):
Производственное, научно-исследовательское и проектно-конструкторское учреждение “Венчур” (ПНИПКУ “Венчур”) (RU)
|
(54) СПОСОБ ОПРЕДЕЛЕНИЯ ДОПУСКАЕМОЙ ДОПОЛНИТЕЛЬНОЙ НАГРУЗКИ НА СТЕНУ
(57) Реферат:
Использование: для определения допускаемой дополнительной нагрузки на стену. Сущность: заключается в том, что на обследуемый объект устанавливают акустические датчики, регистрируя акустическую эмиссию или ее отсутствие, нагружают объект до появления акустической эмиссии, частично разгружают, при отсутствии АЭ в процессе разгрузки снова увеличивают нагрузку и повторяют эти операции до тех пор, пока при частичной разгрузке не будет зафиксирована акустическая эмиссия, при этом акустические датчики устанавливают на часть стены, расположенную между соседними проемами одной горизонтали, дополнительную нагрузку на эту часть стены прикладывают в соседних по вертикали проемах, а о допускаемой дополнительной нагрузке на обследуемую часть стены судят по нагрузке в момент исчезновения акустической эмиссии в процессе разгрузки. Технический результат: обеспечение возможности определения неразрушающим методом допускаемой дополнительной нагрузки на стену здания или сооружения в условиях сжатия путем ее локального нагружения. 1 ил.
Способ относится к неразрушающим методам контроля прочности и предназначен для определения допускаемой дополнительной нагрузки L на стену здания или сооружения в условиях сжатия, например, при увеличении этажности. Неразрушающие методы контроля прочности поверхностных слоев [1, стр.3 58] стены не гарантирует того, что полученные результаты соответствуют «слабому звену» стены. В этом плане более надежны акустические способы контроля прочности, активные [2] и пассивные [3, 4], использующие акустическую эмиссию (АЭ).
Так как при анализе уровня техники не удалось обнаружить источник информации, ставший общедоступным до подачи настоящей заявки, то формула изобретения составлена без разделения на ограничительную и разделительную части, и соответственно подготовлено описание изобретения.
Цель предлагаемого способа – определить неразрушающим методом допускаемую дополнительную нагрузку на стену здания или сооружения в условиях сжатия путем ее локального нагружения.
Цель достигают тем, что на обследуемый объект устанавливают акустические датчики, регистрируя АЭ или ее отсутствие, нагружают объект до появления АЭ, частично разгружают, при отсутствии АЭ в процессе разгрузки снова увеличивают нагрузку и повторяют эти операции до тех пор, пока при частичной разгрузке не будет зафиксирована АЭ, при этом акустические датчики устанавливают на часть стены, расположенную между соседними проемами одной горизонтали, дополнительную нагрузку на эту часть стены прикладывают в соседних по вертикали проемах, а о допускаемой дополнительной нагрузке на обследуемую часть стены судят по нагрузке LАЭ в момент исчезновения АЭ в процессе разгрузки. Установка акустических датчиков на сжатую часть стены позволяет ограничением зоны контроля исключить АЭ из объемов над этой частью, работающих на изгиб и сдвиг. Использование в качестве LАЭ нагрузки, при которой исчезает АЭ, позволяет учесть повреждение стены, вызванное приложением дополнительной нагрузки в процессе обследования. Нагружение не всей стены, а лишь ее части, расположенной между соседними проемами одной горизонтали, резко снижает необходимые нагрузки и исключает разрушение всей стены даже при разрушении нагруженной ее части.
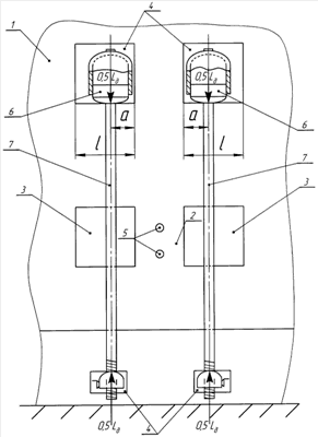
На чертеже показана схема расположения нагрузок и акустических датчиков в оконных проемах при определении L в условиях сжатия. Здесь приняты следующие обозначения: 1 – обследуемая стена здания; 2 – часть стены, работающая в условиях сжатия; 3 – оконные проемы, между которыми расположена обследуемая часть стены; 4 – проемы, соседние по вертикали с обследуемой частью стены; 5 – акустические датчики; 6 – прессы для создания дополнительных усилий ; 7 – штанги прессов; l – ширина оконного проема; а – расстояние от обследуемой части стены до усилия .
При реализации способа акустические датчики 5 устанавливают на наиболее нагруженную часть стены, то есть между проемами 3 первого этажа. Дополнительную сжимающую нагрузку L создают нагружающими устройствами, например прессами, установленными в соседних по вертикали проемах 4 и работающими синхронно. Увеличение L ведут до появления АЭ, после чего плавно снижают L . При отсутствии АЭ в процессе разгрузки снова увеличивают L до появления новых сигналов АЭ и повторяют эти операции до тех пор, пока АЭ не будет сохраняться в начале разгрузки. По нагрузке LАЭ, при которой АЭ пропадает в процессе разгрузки, рассчитывают допускаемую дополнительную нагрузку L i на обследованную часть стены, например, по формуле
L i=LАЭ(1-a/l)2(1+2/l).
Получив ряд значений L i, рассчитывают L для стены с учетом среднего значения для ряда L i и с учетом разброса L i. Для регистрации АЭ можно использовать существующие приборы, например АФ-15, а для нагружения целесообразно модифицировать существующие прессы на 30 60 т, увеличив длину их силовых штанг 7.
Предложенный способ позволяет определять допускаемую дополнительную нагрузку на стену без риска разрушить ее, учитывает повреждения, внесенные при обследовании, и делает доступными для контроля здания и сооружения АЭ-методом, разработанным для изделий малых размеров.
ИСТОЧНИКИ ИНФОРМАЦИИ
1. Неразрушающий контроль материалов и элементов конструкций/ Гузь А.Н. и др. – Киев: Наук. Думка, 1981, – 276 с.
2. Лужин О.В. и др. Неразрушающие методы испытания бетона. М: Стройиздат, 1985,235 с.
3. Авт. св. СССР  2.
4. Авт. св. СССР 1619159, кл. G01N 29/04. Способ контроля прочности изделий из хрупких материалов/ Никольский С.Г., Бормоткин В.О. и др. Опубл. 07.01.91 в Бюл. 1.
Формула изобретения
Способ определения допускаемой дополнительной нагрузки на стену здания или сооружения в условиях сжатия, характеризующийся тем, что на обследуемый объект устанавливают акустические датчики, регистрируя акустическую эмиссию или ее отсутствие, нагружают объект до появления акустической эмиссии, частично разгружают, при отсутствии АЭ в процессе разгрузки снова увеличивают нагрузку и повторяют эти операции до тех пор, пока при частичной разгрузке не будет зафиксирована акустическая эмиссия, при этом акустические датчики устанавливают на часть стены, расположенную между соседними проемами одной горизонтали, дополнительную нагрузку на эту часть стены прикладывают в соседних по вертикали проемах, а о допускаемой дополнительной нагрузке на обследуемую часть стены судят по нагрузке в момент исчезновения акустической эмиссии в процессе разгрузки.
РИСУНКИ
|
|