|
|
(21), (22) Заявка: 2007138161/28, 15.10.2007
(24) Дата начала отсчета срока действия патента:
15.10.2007
(46) Опубликовано: 20.06.2009
(56) Список документов, цитированных в отчете о поиске:
RU 2161789 С2, 10.01.2001. RU 33229 U1, 10.10.2003. SU 1601199 A1, 23.10.1990. JP 58167948 A, 04.10.1983.
Адрес для переписки:
355037, г.Ставрополь, 2-й Юго-западный пр-д, 9А, ООО “ЗГА “НС”, генеральному директору
|
(72) Автор(ы):
Кулаков Игорь Геннадьевич (RU), Логвинов Анатолий Иванович (RU), Енин Алексей Алексеевич (RU)
(73) Патентообладатель(и):
Общество с ограниченной ответственностью “Завод газовой аппаратуры “НС” (RU)
|
(54) УСТРОЙСТВО КОНТРОЛЯ КОРРОЗИОННОГО СОСТОЯНИЯ ПОДЗЕМНОГО МЕТАЛЛИЧЕСКОГО СООРУЖЕНИЯ
(57) Реферат:
Изобретение может быть использовано при определении опасности коррозии и эффективности защиты подземных металлических сооружений. Техническим результатом изобретения является возможность быстрого получения наиболее полного объема данных о коррозийном состоянии подземного сооружения, повышение точности оценки глубины и скорости коррозии, полной динамики развития коррозийного процесса в период эксплуатации сооружения. Устройство содержит блок индикаторов скорости коррозии (БИСК) с энергонезависимой микросхемой памяти (ЭМП), который устанавливают в грунт в непосредственной близости от сооружения или на его поверхности, и портативного анализатора. БИСК состоит из расположенных параллельно изолированных друг от друга пластин из того же металла, что и сооружение. На поверхности контрольные проводники, соединенные с пластинами, соединены со штыревой частью плоского разъемного соединения, в которой установлена печатная плата с ЭМП. Выводы ЭМП соединены со штырями разъемного соединения для обмена данными с портативным анализатором и подачи питания на ЭМП. Портативный анализатор состоит из гнездовой части разъемного соединения, предназначенного для подключения к пластинам электронного коммутатора. Работой портативного анализатора управляет центральный процессор. Информация отображается на жидкокристаллическом дисплее. 2 ил.
Область техники, к которой относится изобретение
Изобретение относится к контролю коррозии подземных металлических сооружений, контактирующих с электропроводными средами, например с грунтом, в частности к устройствам контроля коррозионного состояния подземного металлического сооружения, и может быть использовано при определении опасности коррозии и эффективности защиты подземных металлических сооружений.
Уровень техники
Известен измеритель скорости коррозии, содержащий электрохимическую ячейку, двухчастотный генератор синусоидальных сигналов, преобразователь проводимости в напряжение, два детектора активной составляющей сигнала и суммирующий усилитель, выходы генератора соединены с управляющими входами соответствующих детекторов активной составляющей сигнала и через преобразователь проводимости в напряжение – с электрохимической ячейкой, а выход преобразователя – через первый детектор активной составляющей сигнала с входом суммирующего усилителя, второй вход которого соединен с выходом второго детектора активной составляющей сигнала, при этом он снабжен вторым суммирующим усилителем, регулируемым усилителем, третьим детектором активной составляющей сигнала и тремя детекторами реактивной составляющей сигнала, первый выход генератора соединен с управляющими входами первого и третьего детекторов реактивной составляющей сигнала и третьего детектора активной составляющей сигнала, второй выход генератора – с управляющим входом второго детектора реактивной составляющей сигнала, выход преобразователя – с входом третьего детектора реактивной составляющей сигнала и через регулируемый усилитель – с входами первого и второго детекторов реактивной составляющей сигнала и второго – третьего детектора активной составляющей сигнала, выход последнего детектора соединен с третьим входом суммирующего усилителя, а выходы трех детекторов реактивной составляющей сигнала через второй суммирующий усилитель – с управляющим входом регулируемого усилителя (см. а.с. SU 1491142, кл. G01N 17/00, опубл. 15.04.1992 г.).
Недостатком данного измерителя коррозии является невысокая точность определения скорости коррозии.
Известно устройство для контроля степени локальной коррозии металлических сооружений, обеспечивающее дистанционное обнаружение опасного проникновения локальной коррозии, состоящее из электрически замкнутого на сооружение корпуса, изготовленного из того же материала, что и сооружение. Контактирующая со средой часть корпуса имеет меньшую толщину, чем стенка сооружения. Герметичная полость корпуса заполнена сухим непроводящим капиллярно-пористым материалом, в который введен металлический электрод с выводимым наружу изолированным проводником. При коррозионной перфорации тонкой стенки корпуса среда под действием капиллярных сил проникает по заполнителю полости к электроду, замыкая электрическую цепь «корпус (сооружение) – электрод», что регистрируется внешним измерительным прибором по сопротивлению или напряжению данной цепи (см. пат. RU 2143107, кл. G01N 17/00, G01N 17/02, опубл. 20.12.1999 г.).
Недостатком данного устройства является низкая информативность и ограниченный срок действия.
Наиболее близким по технической сущности и достигаемому положительному эффекту и принятый авторами за прототип является блок индикаторов скорости коррозии подземных металлических сооружений, содержащий не менее трех индикаторов скорости коррозии различной толщины и шириной не более 2 мм, изготовленных из того же материала, что и подземные металлические сооружения, и присоединенных одним концом к контрольной пластине, которая изготовлена из того же материала, что и подземные металлические сооружения, на расстоянии не менее 3 мм друг от друга, к контрольной пластине и противоположным концам индикаторов присоединены контрольные проводники с указателями толщины индикаторов скорости коррозии, внутренняя поверхность индикаторов скорости коррозии изолирована антикоррозионным покрытием, а сам блок индикаторов скорости коррозии и контрольная пластина вмонтированы в диэлектрический корпус (см. пат. RU 2161789, кл. G01N 17/00, G01N 27/30, опубл. 10.01.2001 г.).
Недостатком данного блока индикаторов скорости коррозии является то, что применение блока индикаторов скорости коррозии подземных металлических сооружений не позволяет оценить степень опасности локальной коррозии, а также низкая информативность и ограниченный срок действия.
Раскрытие изобретения
Задачей предлагаемого изобретения является разработка устройства контроля, с помощью которого можно производить получение наиболее полного объема данных о коррозионном состоянии подземного сооружения, возможность оценки глубины и скорости коррозии, динамики развития коррозионного процесса в период эксплуатации сооружения, с момента установки блока индикаторов устройства контроля коррозионного состояния подземного металлического сооружения. Если блок индикаторов устанавливается одновременно с подземным сооружением, то с его помощью можно выявить критический момент эксплуатации, после которого требуется замена, или капитальный ремонт сооружения.
Технический результат, который может быть получен с помощью предлагаемого изобретения, сводится к возможности получения наиболее полного объема данных о коррозийном состоянии подземного сооружения, точной оценки глубины и скорости коррозии, полной динамики развития коррозийного процесса в период эксплуатации сооружения.
Технический результат достигается с помощью устройства контроля коррозионного состояния подземного металлического сооружения, содержащего блок индикаторов скорости коррозии, состоящий из расположенных параллельно и изолированных по периметру прямоугольных пластин, изготовленных из того же материала, что и подземное металлическое сооружение, и включающий плоское разъемное соединение со штыревой частью, предназначенной для соединения с подземным сооружением посредством гнездовой части разъемного соединения с перемычками, и соединенное контрольными проводниками с прямоугольными пластинами, заключенными в герметизирующий корпус, при этом оно снабжено портативным анализатором, выполненным с возможностью подсоединения с помощью штыревой части разъемного соединения блока индикаторов скорости коррозии, а блок индикаторов скорости коррозии снабжен энергонезависимой микросхемой памяти, установленной на печатной плате в штыревой части разъемного соединения, причем выводы микросхемы соединены печатными проводниками со штырями разъемного соединения, входящего в состав блока индикаторов скорости коррозии для соединения с портативным анализатором, который состоит из гнездовой части разъемного соединения, предназначенного для подключения к прямоугольным пластинам блока индикаторов скорости коррозии, и энергонезависимой микросхемой памяти блока индикаторов скорости коррозии, электронного коммутатора, центрального процессора, компаратора, источника опорного напряжения, клавиатуры, литиевого элемента для питания устройства реального времени, энергонезависимой памяти анализатора, кодирующего устройства с разъемом, жидкокристаллического дисплея, автономного источника питания, разъемного соединения для подсоединения медно-сульфатного электрода к портативному анализатору, при этом один вход компаратора через резистор R соединен с общим проводом портативного анализатора и с неполяризующимся медно-сульфатным электродом сравнения, не входящим в состав устройства, второй вход компаратора соединен с источником опорного напряжения, а выход компаратора соединен с центральным процессором, который соединен с клавиатурой, устройство реального времени двусторонней связью соединено с центральным процессором и литиевым элементом, кодирующее устройство соединено с центральным процессором для преобразования в стандартный код RS232 и передачи данных с портативного анализатора на компьютер через разъем, при этом центральный процессор также соединен с жидкокристаллическим дисплеем, электронным коммутатором, энергонезависимой памятью анализатора и гнездовой частью разъемного соединения, а автономный источник питания обеспечивает питанием все активные элементы портативного анализатора и энергонезависимую микросхему памяти.
Таким образом, технический результат достигается с помощью устройства контроля коррозионного состояния подземного металлического сооружения, состоящего из двух частей: блока индикаторов с энергонезависимой микросхемой памяти, который устанавливают в грунт в непосредственной близости от сооружения или на его поверхности, и портативного анализатора. Блок индикаторов состоит из расположенных параллельно прямоугольных пластин из того же металла, что и сооружение. Пластины заключены в герметизирующий корпус из токонепроводящего материала, при этом пластины по периметру изолированы друг тот друга. Поверхность внешней пластины через окно в корпусе контактирует с грунтом, а поверхность крайней внутренней пластины, обращенная от остальных пластин, покрыта материалом корпуса. Пластины расположены на расстоянии 0,5-1 мм друг от друга и имеют одинаковую толщину, от которой зависит дискретность устройства, например при толщине пластин 0,1 мм – дискретность устройства 0,1. Количество пластин зависит от толщины стенки сооружения и дискретности устройства. Пластины электрически соединены с контрольными проводниками, выходящими на поверхность земли. На поверхности контрольные проводники соединены со штыревой частью плоского разъемного соединения, причем проводники позиционируются в том же порядке, в котором пластины расположены в корпусе блока. Ответная, гнездовая часть разъемного соединения имеет вывод проводника, предназначенного для подсоединения к подземному сооружению и соединенного перемычками со всеми гнездами разъемного соединения, контактирующими с контрольными проводниками от пластин блока. В штыревой части разъемного соединения установлена печатная плата с расположенной на ней энергонезависимой микросхемой памяти. Выводы микросхемы соединены печатными проводниками со штырями разъемного соединения для обмена данными с анализатором и подачи питания на микросхему.
Анализатор состоит из гнездовой части разъемного соединения, предназначенного для подключения к пластинам блока электронного коммутатора. Также через разъемное соединение происходит подача напряжения питания на энергонезависимую микросхему памяти, входящую в состав блока пластин-индикаторов, и обмен данными между этой микросхемой и центральным процессором, управляющим работой анализатора по специальной программе. Под управлением центрального процессора электронный коммутатор последовательно, начиная со следующей за внешней пластины, подключает их к общему проводу анализатора. Один вход компаратора через резистор R соединен с общим проводом анализатора и с неполяризующимся медно-сульфатным электродом сравнения, не входящим в состав устройства. На второй вход компаратора подают напряжение с источника опорного напряжения. Выход компаратора соединен с центральным процессором. Оперативное управление центральным процессором производится соединенной с ним клавиатурой. Литиевый элемент предназначен для питания устройства реального времени, имеющего связь для обмена данными с центральным процессором. Энергонезависимая память соединена с центральным процессором для обмена данными. Кодирующее устройство предназначено для преобразования в стандартный код RS232 и передачи данных с анализатора на компьютер. Информация отображается на жидкокристаллическом дисплее. Автономный источник питания обеспечивает питанием все активные элементы анализатора и микросхему памяти, входящую в состав блока индикаторов.
Краткое описание чертежей
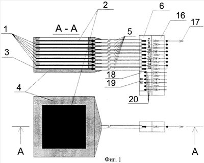
На фиг.1 дано устройство контроля коррозионного состояния подземного металлического сооружения, общий вид блока пластин-индикаторов с энергонезависимой микросхемой памяти.
На фиг.2 – то же, структурная схема портативного анализатора.
Осуществление изобретения
Устройство контроля коррозионного состояния подземного металлического сооружения содержит блок индикаторов скорости коррозии с энергонезависимой микросхемой памяти, который устанавливают в грунт в непосредственной близости от сооружения или на его поверхности, и входящего в состав устройства, портативного анализатора. Блок индикаторов скорости коррозии, изображенный на фиг.1, состоит из расположенных параллельно прямоугольных пластин 1-3, изготовленных из того же металла, что и подземное металлическое сооружение. Прямоугольные пластины 1-3 заключены в герметизирующий корпус 4 из токонепроводящего материала, при этом прямоугольные пластины 1-3 по периметру изолированы друг от друга. Поверхность внешней прямоугольной пластины 2 через окно (на фиг. не показано) в корпусе 4 контактирует с грунтом (на фиг. не показано), а поверхность крайней внутренней прямоугольной пластины 3, обращенная от прямоугольных пластин 1, 2, покрыта токонепроводящим материалом корпуса 4.
Прямоугольные пластины 1-3 электрически соединены с контрольными проводниками 5, выходящими на поверхность земли. На поверхности контрольные проводники 5 соединены со штыревой частью плоского разъемного соединения 6, причем проводники 5 позиционируются в том же порядке, в котором прямоугольные пластины 1-3 расположены в корпусе 4 блока индикаторов скорости коррозии – внешняя прямоугольная пластина 2 соединяется со штырем 7, следующая пластина со штырем 9 и т.д., до штыря 15, в том же порядке. Ответная, гнездовая часть разъемного соединения 16 имеет вывод проводника 17, соединенного перемычками со всеми гнездами разъемного соединения 16, контактирующими с контрольными проводниками 5 от прямоугольных пластин 1-3 блока индикаторов скорости коррозии. В штыревой части разъемного соединения 6 установлена печатная плата 18 с расположенной на ней энергонезависимой микросхемой памяти 19. Выводы микросхемы 19 соединены печатными проводниками (на фиг. не показаны), расположенными на плате 18 со штырями 20 разъемного соединения 16, для обмена данными с портативным анализатором и подачи питания на микросхему 19. Портативный анализатор состоит из гнездовой части разъемного соединения 21, предназначенного для подключения к пластинам электронного коммутатора 22. Также через разъемное соединение 21 происходит подача напряжения питания на энергонезависимую микросхему памяти 19, входящую в состав блока индикаторов скорости коррозии и обмена данными между этой микросхемой памяти 19 и центральным процессором 23, управляющим работой портативного анализатора по специальной программе. Под управлением центрального процессора 23 электронный коммутатор 22, последовательно, начиная со следующей за внешней пластины 2, подключает их к общему проводу портативного анализатора. Один вход компаратора 24 через резистор R соединен с общим проводом портативного анализатора и с неполяризующимся медно-сульфатным электродом сравнения 25, не входящим в состав устройства. На второй вход компаратора 24 подают напряжение с источника опорного напряжения 26. Выход компаратора 24 соединен с центральным процессором 23. Оперативное управление центральным процессором 22 производится соединенной с ним клавиатурой 27. Литиевый элемент 28 предназначен для питания устройства реального времени 29, имеющего связь для обмена данными с центральным процессором 23. Энергонезависимая память 30 портативного анализатора соединена с центральным процессором 23 для обмена данными. Кодирующее устройство 31 предназначено для преобразования в стандартный код RS232 и передачи данных с портативного анализатора на компьютер через разъем 32. Информация отображается на жидкокристаллическом дисплее 33 по командам центрального процессора 23. Автономный источник питания 34 обеспечивает питанием все активные элементы портативного анализатора и микросхему памяти 19, входящую в состав блока индикаторов скорости коррозии. Разъемное соединение 35 служит для подключения медно-сульфатного электрода сравнения 25 к портативному анализатору.
Устройство контроля коррозионного состояния подземного металлического сооружения работает следующим образом.
Блок индикаторов скорости коррозии устройства контроля коррозионного состояния подземного металлического сооружения (фиг.1), состоящий из расположенных параллельно и изолированных по периметру прямоугольных пластин 1-3, изготовленных из того же материала, что и подземное металлическое сооружение, заключенных в герметизирующий корпус 4, устанавливают в грунт в непосредственной близости от подземного металлического сооружения или на его поверхности, при этом внешняя прямоугольная пластина 2 должна быть обращена от подземного металлического сооружения. Контрольные проводники 5 выводятся на поверхность земли. Там же располагается разъемное соединение 6, 16 с установленной на нем печатной платой 18 с микросхемой энергонезависимой памяти 19. Гнездовая часть разъемного соединения 16 перемычками замыкает все прямоугольные пластины между собой и имеет вывод 17, который подключают к контролируемому сооружению для выравнивания потенциалов сооружения и пластин блока индикаторов скорости коррозии. Таким образом, пластины блока индикаторов скорости коррозии имитируют состояние участка подземного металлического сооружения, имеющего повреждение изоляции, и подвержены коррозионным процессам в той же степени, что и подземное металлическое сооружение в наиболее критичном участке с повреждением изоляции. При коррозионной перфорации внешней прямоугольной пластины 2, контактирующей с грунтом, через продукты коррозии образуется контакт с грунтом изначально изолированной от него следующей прямоугольной пластиной, которая также становится подвержена коррозионным процессам. Далее коррозионный процесс распространяется в глубину устройства до внутренней прямоугольной пластины 3. Зная толщину и количество прямоугольных пластин, подвергшихся коррозионному разрушению, можно определить глубину коррозии, а если известен период времени, за который прямоугольные пластины были подвергнуты коррозионному разрушению, можно вычислить скорость коррозионного процесса. Если регулярно контролировать состояние прямоугольных пластин блока индикаторов скорости коррозии, можно оценить динамику коррозионного процесса – его замедление или ускорение и принять меры, связанные с оптимизацией защиты сооружения. Если блок установлен одновременно с монтажом сооружения и общая толщина прямоугольных пластин составляет 15% от исходной толщины стенки подземного металлического сооружения, то момент контакта с грунтом последней прямоугольной пластины 3 является сигналом к принятию экстренных мер, связанных с капитальным ремонтом или заменой контролируемого участка сооружения, так как дальнейшая эксплуатация подземного металлического сооружения становится опасной.
После установки блока индикаторов скорости коррозии в грунт к штыревой части разъемного соединения подключают гнездовую часть разъемного соединения 21 портативного анализатора, который является портативным устройством с автономным питанием (фиг.2). При этом через контакты разъемного соединения подают питание на микросхему энергонезависимой памяти, расположенную в штыревой части разъемного соединения. С помощью клавиатуры 27 вводят данные о толщине и количестве прямоугольных пластин 1-3 блока индикаторов скорости коррозии и его идентификационный номер, который выбирают произвольно и фиксируют документально службами эксплуатации подземного металлического сооружения. Центральный процессор 23 по команде оператора загружает данные в ячейки микросхемы памяти блока индикаторов скорости коррозии, автоматически в эту же микросхему загружают информацию о дате установки блока индикаторов скорости коррозии, которая генерируется устройством реального времени 29. Параллельно происходит загрузка этого же объема данных в энергонезависимую память анализатора 30. С этого момента блок индикаторов скорости коррозии подготовлен к работе. Портативный анализатор отсоединяют от гнездового разъемного соединения 6 и к указанному соединению подключают гнездовую часть разъемного соединения 16, подключающей прямоугольные пластины 1-3 блока индикаторов скорости коррозии проводником 17 (см. фиг 1) к подземному металлическому сооружению, для выравнивания потенциалов. Прямоугольные пластины блока индикаторов скорости коррозии должны быть соединены с подземным металлическим сооружением в течение всего периода эксплуатации, то есть прямоугольные пластины должны находиться под потенциалом контролируемого подземного металлического сооружения. Отключение прямоугольных пластин от подземного металлического сооружения производится только на время работы блока индикаторов скорости коррозии с портативным анализатором. Аналогично производят подготовку к работе других идентичных блоков индикаторов скорости коррозии, с помощью одного портативного анализатора возможно обслуживание до 200 блоков индикаторов скорости коррозии.
В период эксплуатации через определенные отрезки времени, длительность которых зависит от степени коррозионной опасности и устанавливается эксплуатирующей подземное сооружение организацией, но не реже чем через 3 месяца, производят контроль состояния прямоугольных пластин блока индикаторов скорости коррозии. Для этого к портативному анализатору, используя разъемное соединение 35, подключают медно-сульфатный электрод сравнения 25. Если блок индикаторов скорости коррозии установлен в зоне, оборудованной контрольно-измерительным пунктом, укомплектованным стационарным электродом сравнения, то используют этот электрод, если же в зоне установки блока индикаторов скорости коррозии нет стационарного электрода, на поверхности земли над блоком устанавливают переносной медно-сульфатный электрод сравнения. От блока индикаторов скорости коррозии отключают гнездовую часть разъемного соединения, соединяющую прямоугольные пластины 1-3 с подземным металлическим сооружением и к штыревой части 6 (фиг.2) подключают гнездовую часть разъемного соединения 21 портативного анализатора, который считывает данные из микросхемы энергонезависимой памяти 19, установленной на плате 18, и идентифицирует блок индикаторов скорости коррозии. Идентификация заключается в сопоставлении блока данных, введенных в микросхему памяти блока индикаторов скорости коррозии с данными, хранящимися в энергонезависимой памяти 30 портативного анализатора. После этого производят сканирование прямоугольных пластин блока. По команде центрального процессора 23, разделенной на такты, электронный коммутатор 22 последовательно подключает прямоугольные пластины к общему проводу портативного анализатора. За время действия первого такта к общему проводу подключают следующую за внешней прямоугольную пластину блока индикаторов скорости коррозии. Если внешняя прямоугольная пластина подвергнута сквозной коррозионной перфорации, через продукты коррозии и среду, анализируемая прямоугольная пластина имеет контакт с грунтом. В цепи общий провод – верхний по фиг.2 вывод электронного коммутатора 22 – соединение 8 разъемного соединения 6, 21 – продукты коррозии и среда – грунт – медно-сульфатный электрод сравнения 25 возникает потенциал, равный потенциалу металла, из которого изготовлены прямоугольные пластины блока индикаторов скорости коррозии. Через разъемное соединение 35 данный потенциал поступает на вход компаратора 24. На втором входе компаратора 24 источник опорного напряжения 26 формирует опорное напряжение величиной 50 мВ относительно общего провода портативного анализатора. Так как потенциал металла более 50 мВ, на входе компаратора 24, соединенного с медно-сульфатным электродом сравнения 25, потенциал превышает опорное напряжение, на выходе компаратора 24 формируется логический сигнал высокого уровня, который передается на центральный процессор 23, что служит сигналом к началу следующего такта. В период действия второго такта электронным коммутатором 22 к общему проводу подключается следующая прямоугольная пластина со штырем 9. Если предыдущая прямоугольная пластина, соединенная со штырем 8, подвергнута сквозной коррозионной перфорации, через продукты коррозии и среду анализируемая прямоугольная пластина, соединенная со штырем 9, имеет контакт с грунтом, на входе компаратора 24, соединенного с медно-сульфатным электродом сравнения 25, присутствует потенциал, превышающий опорное напряжение. На выходе компаратора 24 формируется логический сигнал высокого уровня и передается на центральный процессор 23, который посылает команду электронному коммутатору 22 на подключение к общему проводу портативного анализатора следующей прямоугольной пластины, соединенной со штырем 10 блока, при этом в центральном процессоре 23 сохраняется информация о количестве тактов. Если же предыдущая прямоугольная пластина, соединенная со штырем 9, не имеет сквозной коррозионной перфорации, она изолирует анализируемую прямоугольную пластину, соединенную со штырем 10 от грунта, на входе компаратора 24, соединенного с медно-сульфатным электродом сравнения 25 отсутствует потенциал, так как цепь между прямоугольной пластиной и грунтом разорвана, через резистор R данный вход соединен с общим проводом портативного анализатора. Величина опорного напряжения превышает потенциал, присутствующий на входе компаратора 24, соединенного с медно-сульфатным электродом сравнения 25, и на выходе компаратора 24 формируется логический сигнал низкого уровня, который поступает на центральный процессор 23. Резистор R имеет большое сопротивление, около 1 МОм, для исключения шунтирующего воздействия на медно-сульфатный электрод сравнения 25. Поступление сигнала низкого уровня с выхода компаратора 24 на центральный процессор 23 останавливает процедуру сканирования прямоугольных пластин блока индикаторов скорости коррозии и запускает процедуру сравнения. Центральный процессор 23 сравнивает данные, полученные при идентификации блока индикаторов скорости коррозии. Данные содержат следующую исходную информацию, загруженную в микросхему памяти 19 блока индикаторов скорости коррозии при установке:
1. Идентификационный номер блока индикаторов скорости коррозии;
2. Толщина пластин;
3. Количество пластин;
4. Дату установки блока индикаторов скорости коррозии.
Если процедура сканирования состояла из одного такта, то есть внешняя прямоугольная пластина, соединенная со штырем 7 блока не имеет сквозной перфорации и контакт с грунтом второй прямоугольной пластины, соединенной со штырем 8 отсутствует, состояние прямоугольных пластин не изменилось и данные, содержащиеся в энергонезависимой памяти 29 портативного анализатора и в микросхеме 19 блока индикаторов скорости коррозии, расположенной на печатной плате 18, не изменяются.
Ситуация, при которой процедура сканирования состоит из двух и более тактов, свидетельствует о том, что одна или более прямоугольных пластин, в соответствии с количеством тактов, были подвергнуты коррозионной перфорации, и об изменении состояния прямоугольных пластин блока. При этом центральным процессором 23 в микросхему памяти блока индикаторов скорости коррозии загружается информация о дате обнаружения коррозионной перфорации прямоугольной пластины, причем в случае, если разрушены две прямоугольные пластины, – дата загружается дважды, три прямоугольные пластины – трижды и т.д., в соответствии с количеством разрушенных прямоугольных пластин блока. Параллельно эти же данные загружают в энергонезависимую микросхему памяти 19 портативного анализатора. Информация о дате генерируется устройством реального времени 29. На практике ситуация разрушения более одной прямоугольной пластины в промежуток времени в три и менее месяцев мало вероятна и показана для наглядности в описании устройства. Таким образом, в энергонезависимую микросхему памяти 19 блока индикаторов скорости коррозии, в дополнение к перечисленной в списке выше информации, загружают и сохраняют данные о дате разрушения прямоугольных пластин, до данного момента (здесь и далее под выражением «данный момент» подразумевается момент, о котором идет описание) не подвергнутых коррозионной перфорации, коррозионная перфорация которых выявлена в данный момент. В результате за период эксплуатации коррозионная перфорация прямоугольных пластин распространяется в глубину блока до последней прямоугольной пластины 3 (фиг.1), в энергонезависимой микросхеме памяти 19 блока накапливаются, помимо исходных, данные о дате коррозионной перфорации каждой из прямоугольных пластин. Описанные процедуры идентификации и сравнения протекают очень быстро и незаметно для оператора. После подключения портативного анализатора к блоку индикаторов скорости коррозии на дисплее 33 сразу же отображаются идентификационный номер блока, глубина в миллиметрах и усредненное значение скорости коррозии в миллиметрах за период времени от установки блока до данного момента. Обработка информации, заключающаяся в вычислении глубины и скорости коррозии, производится центральным процессором 23 по специальной, загруженной в него программе, включающей формулы для расчета на основе данных о толщине прямоугольных пластин и промежутков времени между их перфорацией. После получения информации о состоянии блока индикаторов скорости коррозии, которое соответствует состоянию подземного металлического сооружения с момента установки блока, портативный анализатор отключают от медно-сульфатного электрода сравнения 25 и штыревой части разъемного соединения 6, к которому подключают ответную, гнездовую часть разъемного соединения 16 (фиг.1).
Все данные о состоянии блоков индикаторов скорости коррозии сохраняются в энергонезависимой памяти 30 портативного анализатора и могут быть переданы, посредством кодировки кодирующим устройством 31 в стандартный код RS232, через разъем 32 на компьютер. Данные на компьютер передают в виде таблиц, на основе которых можно строить диаграммы, отражающие динамику коррозионных процессов за период эксплуатации каждого из блоков индикаторов скорости коррозии, при этом автономный источник питания обеспечивает питанием все активные элементы портативного анализатора и энергонезависимую микросхему памяти блока индикаторов скорости коррозии при соединении посредством разъемного соединения с портативным анализатором.
Предлагаемое изобретение по сравнению с прототипом и другими известными техническими решениями имеет следующие преимущества:
– возможность получения наиболее полного объема данных о коррозийном состоянии подземного металлического сооружения;
– точность оценки глубины и скорости коррозии;
– оценку динамики развития коррозийного процесса в период эксплуатации сооружения;
– возможность выявления критического момента эксплуатации.
Формула изобретения
Устройство контроля коррозионного состояния подземного металлического сооружения, содержащее блок индикаторов скорости коррозии, состоящий из расположенных параллельно и изолированных по периметру прямоугольных пластин, изготовленных из того же материала, что и подземное металлическое сооружение, и включающий плоское разъемное соединение со штыревой частью, предназначенной для соединения с подземным сооружением посредством гнездовой части разъемного соединения с перемычками и соединенное контрольными проводниками с прямоугольными пластинами, заключенными в герметизирующий корпус, отличающееся тем, что оно снабжено портативным анализатором, выполненным с возможностью подсоединения с помощью штыревой части разъемного соединения блока индикаторов скорости коррозии, а блок индикаторов скорости коррозии снабжен энергонезависимой микросхемой памяти, установленной на печатной плате в штыревой части разъемного соединения, причем выводы микросхемы соединены печатными проводниками со штырями разъемного соединения, входящего в состав блока индикаторов скорости коррозии для соединения с портативным анализатором, который состоит из гнездовой части разъемного соединения, предназначенного для подключения к прямоугольным пластинам блока индикаторов скорости коррозии и энергонезависимой микросхеме памяти блока индикаторов скорости коррозии, электронного коммутатора, центрального процессора, компаратора, источника опорного напряжения, клавиатуры, литиевого элемента для питания устройства реального времени, энергонезависимой памяти анализатора, кодирующего устройства с разъемом, жидкокристаллического дисплея, автономного источника питания, разъемного соединения для подсоединения медносульфатного электрода сравнения к портативному анализатору, при этом один вход компаратора через резистор R соединен с общим проводом портативного анализатора и с неполяризующимся медносульфатным электродом сравнения, не входящим в состав устройства, второй вход компаратора соединен с источником опорного напряжения, а выход компаратора соединен с центральным процессором, который соединен с клавиатурой, устройство реального времени двусторонней связью соединено с центральным процессором и литиевым элементом, кодирующее устройство соединено с центральным процессором для преобразования в стандартный код RS232 и передачи данных с портативного анализатора на компьютер через разъем, при этом центральный процессор также соединен с жидкокристаллическим дисплеем, электронным коммутатором, энергонезависимой памятью анализатора и гнездовой частью разъемного соединения, а автономный источник питания обеспечивает питанием все активные элементы портативного анализатора и энергонезависимую микросхему памяти.
РИСУНКИ
|
|