|
(21), (22) Заявка: 2007140930/28, 02.11.2007
(24) Дата начала отсчета срока действия патента:
02.11.2007
(46) Опубликовано: 20.06.2009
(56) Список документов, цитированных в отчете о поиске:
SU 974141 А1, 15.11.1982. RU 2040778 С1, 25.07.1995. RU 2037806 С1, 19.06.1995. SU 1390540 А1, 23.04.1988. SU 1124202 А1, 15.11.1984. JP 8254492, 01.10.1996.
Адрес для переписки:
410000, г.Саратов, г/почтамт, а/я 62, Н.В. Романовой
|
(72) Автор(ы):
Гаранин Эрнест Михайлович (RU)
(73) Патентообладатель(и):
Общество с ограниченной ответственностью “ЮНИТ-С” (RU)
|
(54) СПОСОБ КОНТРОЛЯ ЧИСТОТЫ ЖИДКОСТИ
(57) Реферат:
Изобретение относится к автоматическим средствам контроля жидких и газообразных сред на содержание механических примесей. Техническим результатом изобретения является уменьшение погрешности, а также упрощение конструкции. Способ заключается в пропускании светового потока через контролируемую жидкость, преобразовании его в электрические сигналы, по которым судят о степени загрязнения в зависимости от размера и количества частиц. При этом измеряют время прохождения частицей через контролируемый объем жидкости. Размер частиц загрязнения определяют по установленному уравнению, включающему значения высоты контролируемого объема потока жидкости, минимальный размер контролируемой частицы, время прохождения контролируемой частицей через контролируемый объем жидкости и минимальное время прохождения одной контролируемой частицы через контролируемый объем жидкости. Определяют скорость потока жидкости, расход жидкости и концентрацию частиц. Размеры контролируемого объема выбирают из условия возможности измерения времени прохождения отдельной частицей через контролируемый объем. 1 з.п. ф-лы, 2 ил.
Изобретение относится к автоматическим средствам контроля жидких и газообразных сред на содержание механических примесей.
Известен способ определения концентрации частиц в жидкости (пат. Великобритания 1446017, G01N 15/06), в котором выходной сигнал датчика анализатора преобразуют в импульсы ширины, соответствующей длительности импульсов от частиц, и постоянной амплитуды, которые интегрируют по некоторому периоду времени, а по величине интегрального сигнала судят о количестве частиц в единице объема жидкости.
В приведенном способе значение измеренной концентрации, хоть и в меньшей мере (с изменением расхода прямо пропорционально ему изменяется количество зарегистрированных импульсов от частиц и обратно пропорционально длительность этих импульсов), но также зависит от расхода контролируемой среды.
Например, в предельном случае регистрации за период измерения одной частицы и равной длительности импульса и паузы за ним интегральная величина напряжения составит половину напряжения амплитуды импульса, а при уменьшении расхода жидкости в два раза будет равна величине напряжения амплитуды импульса, т.е. возрастет в два раза. С увеличением количества импульсов, регистрируемых за период измерения, погрешность снижается, но зависимость от расхода жидкости существует и зависит от соотношения между длительностью импульсов и пауз, что приводит к дополнительной погрешности в определении концентрации частиц загрязнений.
Известен способ определения концентрации механических загрязнений в жидких средах, который заключается в преобразовании выходных сигналов датчика в прямоугольные импульсы постоянной амплитуды и определении длительности импульсов пауз между прохождением частиц, регистрации и последующем интегрировании этих импульсов (патент РФ 2139519, МПК G01N 15/06). При этом интегрируются заданные количества преобразованных импульсов от частиц, формируется и интегрируется такое же количество импульсов постоянной амплитуды, ширина которых соответствует длительности пауз, следующих за этими импульсами от частиц, а о концентрации загрязнений судят по отношению интегральных величин.
Недостатком является сложность обработки сигналов, ненадежность работы устройства и отсутствие регистрации размеров частиц загрязнений.
Наиболее близким к предлагаемому решению является способ определения концентрации частиц в текучей среде (а.с. СССР 974141, G01J /04, 1982 г.), в котором определение концентрации частиц происходит путем подсчета импульсов от частиц с помощью многоканального счетчика за определенный период времени, а о концентрации частиц судят по отношению количества импульсов к объему контролируемой среды, прошедшей через датчик за тот же период времени.
Недостатком способа является увеличение погрешности измерения при изменении скорости протекания контролируемой жидкости. Поскольку анализаторы не имеют встроенных расходомеров или датчиков объема, а расход контролируемой среды в ходе измерений может резко колебаться вследствие изменения температуры, давления в системе, засорения тракта анализатора и др. факторов, погрешность измерения концентрации велика.
Задачей предлагаемого решения является разработка способа для контроля чистоты жидкости, в частности определения размера и количества загрязняющих частиц с минимальной погрешностью от влияния изменения расхода, температуры и прозрачности жидкости.
Технический результат заключается в уменьшении погрешности за счет исключения влияния изменения расхода контролируемой жидкости, а также упрощения конструкции.
Поставленная задача решается в способе контроля чистоты жидкости, заключающемся в пропускании светового потока через контролируемую жидкость, преобразовании его в электрические сигналы, по которым судят о степени загрязнения в зависимости от размера и количества частиц, согласно решению измеряют время прохождения частицей через контролируемый объем жидкости, размер частиц загрязнения определяют по уравнению:

где: Di – размер контролируемой частицы; а – высота контролируемого объема потока жидкости; d – минимальный размер частицы загрязнения, Ti – время прохождения контролируемой частицы через контролируемый объем жидкости; Тм – минимальное время прохождения одной частицы загрязнения частицы через контролируемый объем жидкости, при этом размеры контролируемого объема выбирают в зависимости от концентрации частиц из условия возможности измерения времени прохождения отдельной частицей через контролируемый объем. По времени прохождения частиц через контролируемый объем определяют скорость потока жидкости и расход жидкости как произведение скорости на площадь контролируемого объема и далее определяют концентрацию частиц – количество частиц в заданном объеме жидкости.
Контролируемый объем жидкости формируют в виде прямоугольного параллелепипеда со следующими геометрическими характеристиками: ребра «а» и «с», образующие боковую поверхность в виде прямоугольника входа и выхода светового луча, равны: а=40d; с=100d, и ребро b, образующее с ребром с прямоугольник боковой поверхности контролируемого объема, равно b – 200d; где d – минимальный размер контролируемой частицы.
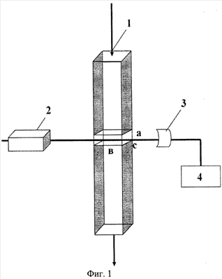
Изобретение поясняется чертежами, где на фиг.1 представлено устройство для реализации способа, а на фиг.2 показано продольное сечение светового контролируемого объема жидкости и движение частиц загрязнения через него, где 1 – поток контролируемой жидкости; 2 – лазерный источник света; 3 – фотоприемник, 4 – ЭВМ,
а – высота контролируемого объема жидкости, через который проходит световой поток,
b – длина контролируемого объема жидкости,
с – ширина контролируемого объема жидкости,
D – размер (условный диаметр) контролируемой частицы;
Предлагаемый способ контроля чистоты жидкости заключается в создании светового потока 1, например, лазерным источником света 2. Световой поток пропускают через контролируемый объем жидкости, преобразуют фотоприемником 3 изменение величины светового потока, прошедшего жидкость, в зависимости от размера и количества частиц загрязнения в электрические сигналы, поступающие на компьютерное устройство 4. Размер частиц загрязнения с помощью компьютерной обработки определяется в зависимости от времени прохождения частиц через контролируемый объем по уравнению (1).
При прохождении жидкости с частицами загрязнения через контролируемый объем  ;
где Тi – время затенения светового потока в контролируемом объеме частицы; V – скорость движения жидкости через контролируемый объем.
Условием объективного контроля будет также ограничение концентрации контролируемой жидкости – не более одной частицы на объем просвечиваемой жидкости. При этом предполагается также, что частицы загрязнения распределены равномерно по всему объему.
Затенение светового потока в контролируемом потоке от частицы преобразуется в фотоприемнике в электрический сигнал с запоминанием времени существования сигнала в компьютерном устройстве. Далее по разработанной программе обрабатывается выборка из определенного количества результатов замера времени сигналов. Выбирается минимальное время ТМ, которое соответствует частице минимального регистрируемого данным устройством размера и определяется соотношением для данной выборки результатов.
По приведенному выше уравнению определяются размеры контролируемых частиц Di, и результаты выдаются на дальнейшую обработку.
Анализ приведенной формулы определения размера частиц показывает, что предложенный метод контроля не зависит от расхода контролируемой среды, погрешность от влияния светопропускания не превышает 50%, что в четыре раза лучше аналогов.
Оптимальным является использование лазерного источника света, его преимущества по сравнению с обычным излучателем (лампа, светодиод и т.д.) заключаются в следующем. Принцип действия устройства для контроля чистоты жидкости заключается в том, что частица загрязнения затемняет световое поле, и по степени затемнения судят о размере частицы. В связи с этим необходимо иметь строго параллельные лучи света в контролируемом объеме для исключения погрешностей измерения размеров частиц из-за оптических искажений лучей, проходящих по границам частиц. В применяемых у прототипа излучателях применяют оптические методы фокусировки лучей света с целью приближения к параллельным лучам света. Это специальные линзы с тонкой настройкой, что приводит к сложной конструкции оптической системы как на входе в контролируемый объем, так и на входе в фотоприемник. Лазерный источник освещения исключает эти системы, что улучшает качество измерения и удешевляет и упрощает сам датчик. Возможность применения лазерного источника света в датчике позволяет подобрать лазер с постоянной длиной волны, оптимальной для фотоприемника, что позволяет увеличить точность и надежность измерения и повысить чувствительность датчика до регистрации частиц размерами с 3 микрон (вместо 5 микрон у прототипа).
Анализ концентрации частиц загрязнений может быть произведен только при условии определения количества жидкости, протекающей через устройство контроля чистоты. Поэтому все аналоги таких устройств имеют расходомеры различных систем. Предлагаемый метод определения размера частиц по времени прохождения позволяет в компьютерном устройстве определить скорость потока Vcp.

и расход жидкости Q, равный
Q=Vcp×S;
где S – площадь контролируемого потока.
Это значительно упрощает реализацию способа контроля чистоты жидкости, т.к. не требуется наличия расходомера.
Размеры и конфигурация потока контролируемой жидкости в зоне контроля.
Оптимизация размеров и конфигурации потока контролируемой жидкости в зоне контроля определяется следующими требованиями:
а) Концентрация частиц в контролируемом пространстве – для объективного контроля необходимо в момент измерения наличие одной частицы в зоне освещения, иначе две и более частицы, освещенные одновременно, будут регистрироваться как одна более крупного размера. Это условие связывает размеры контролируемого пространства, расход жидкости и контролируемую концентрацию частиц следующим образом:
;
где K – концентрация контролируемых частиц по ГОСТу 17216-71 свыше 5 микрон в единице контролируемого объема – в 100 см3
по классу 3 – 198 штук (частиц);
по классу 4 – 390 штук (частиц);
по классу 7 – 3119 штук (частиц);
по классу 12 – 98170 штук (частиц);
Q – контролируемый объем в мм3 в момент контроля.
Контролируемый объем для 12 класса чистоты жидкости составляет при расходе 100 см3/мин.
V – установленный расход контролируемой жидкости см3/мин.
в) Размер минимальной контролируемой частицы и оптимальная площадь светового потока определяют необходимые размеры контролируемого объема жидкости следующим образом:
– площадь просвета контролируемого пространства определяется соответствующими характеристиками излучателя и приемника света: у прототипа – светодиода и фотодиода, в заявке – лазерного излучателя и фотодиода;
– чувствительность метода определяет при исполнении п.2 а) и 2 в) – соотношения площадей контролируемой частицы минимального размера и световой щели. У прототипа это соотношение равно 0,025%. Благодаря применению лазерного источника света и оптимальному подбору фотодиода по спектру удалось снизить это соотношение до 0,015%.
В результате проведенных исследований установлены следующие оптимальные размеры контролируемого объема жидкости удовлетворяющие как условию а) так и условию б) в виде прямоугольного параллелепипеда со следующими геометрическими характеристиками ребра а и с, образующие боковую поверхность в виде прямоугольника входа и выхода светового луча, равны: а=40d; с=100d, где d – минимальный размер контролируемой частицы, и ребро b образующее с ребром с прямоугольник боковой поверхности контролируемого объема равно в – 200d.
Формула изобретения
1. Способ контроля чистоты жидкости, заключающийся в пропускании светового потока через контролируемую жидкость, преобразовании его в электрические сигналы, по которым судят о степени загрязнения в зависимости от размера и количества частиц, отличающийся тем, что измеряют время прохождения частицы через контролируемый объем жидкости, размер контролируемых частиц загрязнения определяют по уравнению:
 где Di – размер контролируемой частицы; а – высота контролируемого объема потока жидкости; d – минимальный размер контролируемой частицы, Ti – время прохождения контролируемой частицы через контролируемый объем жидкости; ТМ – минимальное время прохождения одной контролируемой частицы через контролируемый объем жидкости, по времени прохождения частиц через контролируемый объем определяют скорость потока жидкости и расход жидкости как произведение скорости потока на площадь контролируемого объема, и далее определяют концентрацию частиц, при этом размеры контролируемого объема выбирают из условия возможности измерения времени прохождения отдельной частицей через контролируемый объем.
2. Способ по п.1, отличающийся тем, что контролируемый объем жидкости формируют в виде прямоугольного параллелепипеда со следующими геометрическими характеристиками: ребра а и с, образующие боковую поверхность в виде прямоугольника входа и выхода светового луча, равны: a=40d; с=100d, и ребро b, образующее с ребром с прямоугольник боковой поверхности контролируемого объема, равно b=200d; где d – минимальный размер контролируемой частицы.
РИСУНКИ
QB4A – Регистрация лицензионного договора на использование изобретения
Лицензиар(ы): Общество с ограниченной ответственностью “ЮНИТ-С” (ООО “ЮНИТ-С”)
Вид лицензии*: НИЛ
Лицензиат(ы): Общество с ограниченной ответственностью “Средства мониторинга промышленной чистоты” (ООО “СМПЧ”)
Договор № РД0067442 зарегистрирован 20.07.2010
Извещение опубликовано: 27.08.2010 БИ: 24/2010
* ИЛ – исключительная лицензия НИЛ – неисключительная лицензия
|