|
|
(21), (22) Заявка: 2007129540/02, 02.08.2007
(24) Дата начала отсчета срока действия патента:
02.08.2007
(43) Дата публикации заявки: 10.02.2009
(46) Опубликовано: 20.06.2009
(56) Список документов, цитированных в отчете о поиске:
RU 39695 U1, 10.08.2004. EP 0854349 A1, 22.07.1998. RU 2035559 C1, 20.05.1997. SU 1046428 A, 07.10.1983.
Адрес для переписки:
115191, Москва, ул. Новая Заря, 6, ООО “СКБ СГО”
|
(72) Автор(ы):
Мирошниченко Анатолий Васильевич (RU), Королев Юрий Николаевич (RU), Можаев Николай Николаевич (RU)
(73) Патентообладатель(и):
Общество с ограниченной ответственностью “СПЕЦИАЛЬНОЕ КОНСТРУКТОРСКОЕ БЮРО СРЕДСТВ ГРАЖДАНСКОЙ ОБОРОНЫ (ООО “СКБ СГО”) (RU)
|
(54) СПОСОБ УСТАНОВКИ БОЙНИЦЫ В БРОНЕСТЕКЛЕ (ВАРИАНТЫ)
(57) Реферат:
Группа изобретений относится к специальным транспортным средствам, имеющим бойницы для стрелкового оружия. В бронестекле выполняют сквозное отверстие, а корпус бойницы выполняют из цельной детали, имеющей с одного из торцов утолщение в виде фланца, превышающего размер отверстия. Корпус бойницы помещают в отверстие бронестекла со стороны возможного нападения и закрепляют в нем посредством клеящего вещества. Фланец корпуса приклеивают либо к внешней поверхности бронестекла, либо в углублении, выполненном в бронестекле соосно отверстию. С внутренней стороны бронестекло по периметру может быть закрыто защитным кольцом, улавливающим сколы, которое может быть выполнено, например, из резины. Изобретения обеспечивают упрощение изготовления и монтажа бойницы в бронестекле, повышение надежности крепления, а также повышение стойкости бронестекла с бойницей к поражающему воздействию. 2 н. и 6 з.п. ф-лы, 3 ил.
Техническое решение относится к области бронирования и отражения нападений на защищаемое пространство, а именно к бойницам для стрелкового оружия, в частности, используемым на специальных транспортных средствах.
Известны бойницы, устанавливаемые в бронепанелях рядом с обзорными бронестеклами (см., например, патент РФ 38682 U1, опубл. 10.07.2004).
Однако подобная конструкция повышает сложность установки бойницы и, что особенно важно, снижает обзорность, мешая прицельной стрельбе.
Из патента РФ 39695 U1, опубл. 10.08.2004, известна бойница, устанавливаемая в бронестекле, включающая в себя корпус, состоящий из двух колец с фланцами. В процессе установки в бронестекле выполняют сквозное отверстие, в которое с обеих сторон вставляют по кольцу корпуса бойницы. Кольца свинчивают между собой посредством выполненной на них резьбы до совмещения их фланцев с внешней и внутренней поверхностью бронестекла.
Недостатком подобной конструкции является сложность в изготовлении и при монтаже корпуса бойницы, а также возможность проворота бойницы в отверстии бронестекла после ее установки. Кроме того, при попадании в бойницу, например, из стрелкового оружия внешнее кольцо корпуса передаст ударное воздействие на край отверстия бронестекла, что может привести к его сколу.
Наиболее близкое техническое решение описывает патентный документ Европейского патентного ведомства 0854349 А1, опубл. 22.07.1998, согласно которому бойницу, выполненную в виде единой детали, имеющей по периметру одного из торцов утолщение в виде фланца, размещают в многослойном бронестекле транспортного средства. В процессе установки в бронестекле выполняют отверстие, в которое вклеивают корпус бойницы. При этом корпус бойницы помещают в отверстие бронестекла изнутри транспортного средства, приклеивая его утолщение к внутренней поверхности бронестекла.
Недостатком подобного способа установки является то, что при ударном воздействии на установленную бойницу от выпадения из отверстия бронестекла ее удерживает только слой клеящего вещества, который при этом работает на разрыв. Т.е. в случае попадания в бойницу, например, из стрелкового оружия возможно ее выпадение. Кроме того, край отверстия в бронестекле, являющийся частью, наиболее подверженной сколам, не защищен со стороны возможного нападения. В результате при попадании из стрелкового оружия в край отверстия бронестекла возможно возникновение обширных сколов, которые в соответствии с описанной конструкцией могут привести, в том числе, и к выпадению бойницы.
Технический результат, на достижение которого направлено данное техническое решение, заключается в упрощении изготовления и монтажа бойницы в бронестекле, повышении надежности крепления корпуса бойницы в отверстии бронестекла, а также в повышении стойкости бронестекла с бойницей к поражающему воздействию в результате демпфирования и перераспределения по большей поверхности ударной нагрузки.
Согласно заявленному техническому решению корпус бойницы выполнен в виде единой цельной детали и имеет выполненное по периметру одного из торцов утолщение в виде фланца. В процессе установки бойницы в бронестекле выполняют сквозное отверстие, в которое помещают корпус бойницы, закрепляя его в отверстии при помощи клеящего вещества, в качестве которого может быть использован, например, герметик. Утолщение корпуса бойницы, превышающее размер отверстия в бронестекле, также приклеивают к бронестеклу при помощи клеящего вещества. При этом корпус бойницы помещают в отверстие бронестекла со стороны возможного нападения, таким образом утолщение корпуса закрывает собой край отверстия, защищая его от поражающего воздействия, чем снижается вероятность его сколов. Также вероятность сколов края отверстия бронестекла снижается благодаря расположенному между ним и утолщением корпуса бойницы слою клеящего вещества, который, работая на сжатие, обеспечивает демпфирование ударной нагрузки и распределение ее по большей поверхности бронестекла. При этом в зависимости от толщины бронестекла, его формы и расположения утолщение корпуса бойницы может быть приклеено либо к внешней поверхности бронестекла, либо в специально предусмотренном углублении бронестекла. Во втором случае с внешней стороны бронестекла соосно отверстию выполняют углубление, в котором размещают утолщение корпуса бойницы.
Для дополнительной защиты от сколов и предотвращения возможных ранений осколками бронестекла край отверстия с внутренней стороны бронестекла по периметру закрывают защитным кольцом, улавливающим сколы, которое может быть выполнено, например, из резины. Для установки защитного кольца корпус бойницы может быть выполнен и размещен в отверстие бронестекла таким образом, что он частично выступает с внутренней стороны бронестекла, при этом защитное кольцо устанавливают на этой выступающей части корпуса.
Предложенное техническое решение поясняется графическими материалами, на которых изображено:
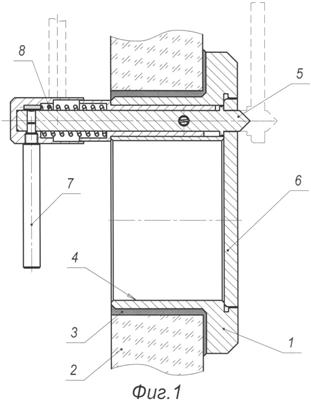
на фиг.1 – первый вариант размещения бойницы;
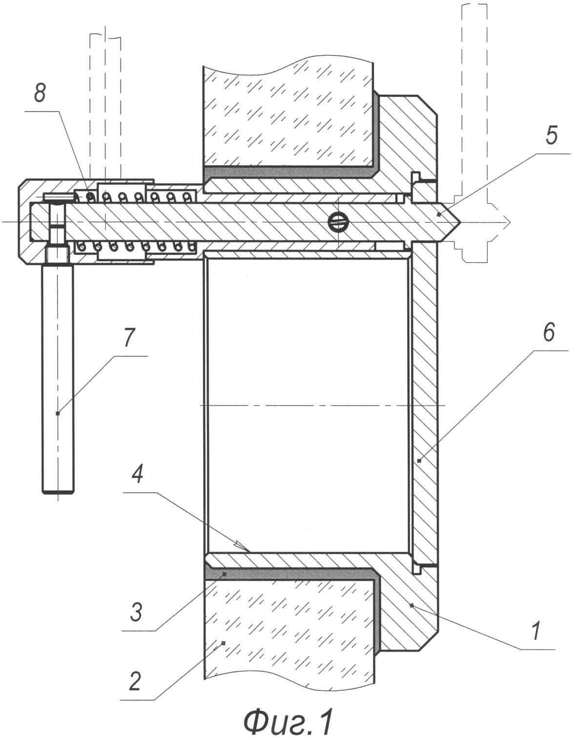
на фиг.2 – второй вариант размещения бойницы;
на фиг.3 – фронтальный вид на бойницу.
Корпус 1 бойницы располагается в отверстии бронестекла 2, например, специального бронированного транспортного средства. С внешней стороны корпуса 1 выполнено утолщение в виде фланца, предотвращающее выпадение бойницы при попадании в нее из стрелкового оружия. При этом в зависимости от толщины бронестекла 2 и его расположения (стекло может быть плоским либо криволинейным) утолщение корпуса 1 бойницы может быть расположено как над внешней поверхностью бронестекла 2 (см. фиг.1), так и утоплено в нем в специально предусмотренном углублении (см. фиг.2). Таким образом, корпус бойницы может находится, например, на одном уровне с наружной поверхностью стекла, что удобно, например, при размещении бойницы в лобовом стекле транспортного средства для нормальной работы стеклоочистителей.
Корпус 1 бойницы крепится к бронестеклу 2 посредством слоя 3 герметика, которым заполняют зазор между корпусом 1 и бронестеклом 2. Утолщение корпуса 1, выполненное в виде фланца, также приклеивается к бронестеклу 2. При этом слой 3, расположенный между утолщением и бронестеклом 2, при ударном воздействии на бойницу работает на сжатие, что благоприятно сказывается на его целостности и обеспечивает распределение ударной нагрузки по периметру утолщения корпуса 1, предотвращая сколы края отверстия в бронестекле 2.
В целях упрощения изготовления и монтажа корпус 1 бойницы предпочтительно изготовляют в виде единой детали с поперечным сечением, периметр которого имеет форму окружности. При этом в теле корпуса 1 бойницы эксцентрично его оси выполняют отверстие 4 для ведения стрельбы, а параллельно ему в наиболее широкой части корпуса бойницы выполняют отверстие, предназначенное для размещения оси 5 заслонки 6. Ось 5 заслонки 6 одним концом жестко связана с заслонкой 6, а противоположным концом с ручкой 7, расположенной с внутренней стороны бронестекла 2. На оси 5 между корпусом 1 и ручкой 7 размещена пружина 8, обеспечивающая удержание заслонки 6 в закрытом положении. При нахождении заслонки 6 в закрытом положении она размещается в проточке, выполненной во внешнем торце корпуса 1 бойницы.
Формула изобретения
1. Способ установки бойницы в бронестекле, согласно которому в бронестекле выполняют отверстие, в которое помещают корпус бойницы, закрепляя его в отверстии при помощи клеящего вещества, корпус бойницы, выполненный в виде единой детали, имеет выполненное по периметру одного из торцов утолщение в виде фланца, превышающее размер отверстия в бронестекле, которое также приклеивают к бронестеклу при помощи клеящего вещества, отличающийся тем, что отверстие в бронестекле выполняют сквозным, корпус бойницы помещают в отверстие бронестекла со стороны возможного нападения, а утолщение корпуса бойницы приклеивают к внешней поверхности бронестекла таким образом, что оно закрывает собой край отверстия в бронестекле со стороны возможного нападения.
2. Способ по п.1, отличающийся тем, что в качестве клеящего вещества использован герметик.
3. Способ по п.1, отличающийся тем, что с внутренней стороны бронестекла периметр края отверстия закрывают защитным кольцом, улавливающим сколы.
4. Способ по п.3, отличающийся тем, что корпус бойницы размещают в отверстие бронестекла таким образом, что он частично выступает с внутренней стороны бронестекла, а защитное кольцо устанавливают на этой выступающей части корпуса.
5. Способ установки бойницы в бронестекле, согласно которому в бронестекле одного из торцов утолщение в виде фланца, превышающее размер отверстия в бронестекле, которое также приклеивают к бронестеклу при помощи клеящего вещества, отличающийся тем, что отверстие в бронестекле выполняют сквозным, с внешней стороны бронестекла соосно отверстию выполняют углубление, корпус бойницы помещают в отверстие бронестекла со стороны возможного нападения, при этом размещая и приклеивая утолщение корпуса бойницы в углублении бронестекла.
6. Способ по п.5, отличающийся тем, что в качестве клеящего вещества использован герметик.
7. Способ по п.5, отличающийся тем, что с внутренней стороны бронестекла периметр края отверстия закрывают защитным кольцом, улавливающим сколы.
8. Способ по п.7, отличающийся тем, что корпус бойницы размещают в отверстие бронестекла таким образом, что он частично выступает с внутренней стороны бронестекла, а защитное кольцо устанавливают на этой выступающей части корпуса.
РИСУНКИ
|
|