|
|
(21), (22) Заявка: 2007132388/02, 27.08.2007
(24) Дата начала отсчета срока действия патента:
27.08.2007
(46) Опубликовано: 20.06.2009
(56) Список документов, цитированных в отчете о поиске:
JP 2001153595 А, 08.06.2001. RU 2294511 C1, 27.02.2007. JP 55166617 A, 25.12.1980. US 2005066950 A, 31.03.2005.
Адрес для переписки:
426011, Удмуртская республика, г.Ижевск, 10 лет Октября, 16, кв.17, А.М.Ищенко
|
(72) Автор(ы):
Тарануха Владимир Прокофьевич (RU), Ищенко Анатолий Михайлович (RU), Печенкин Александр Юрьевич (RU), Армянинов Андрей Анатольевич (RU), Русских Сергей Викторович (RU)
(73) Патентообладатель(и):
Тарануха Владимир Прокофьевич (RU), Ищенко Анатолий Михайлович (RU), Печенкин Александр Юрьевич (RU)
|
(54) ОПТИЧЕСКИЙ ПРИЦЕЛ ДЛЯ СТРЕЛКОВОГО ОРУЖИЯ
(57) Реферат:
Изобретение относится к оптическому приборостроению и может быть использовано в оптическом прицеле для стрелкового и охотничьего оружия. Оптический прицел содержит объектив, окуляр, узел формирования прицельной сетки и устройство для согласования визирной линии прицела с осью ствола оружия. Узел формирования прицельной сетки выполнен в виде жидкокристаллической матрицы, а устройство для согласования визирной линии прицела с осью ствола оружия выполнено в виде управляющей схемы. Управляющая схема выполнена с возможностью выбора конфигурации прицельной сетки и управления перемещением изображения прицельной сетки по полю жидкокристаллической матрицы и включает узел формирования прицельной сетки, микроконтроллер, устройство питания и выключатель. Жидкокристаллическая матрица установлена в фокальной плоскости объектива или окуляра. Технический результат заключается в повышении точности стрельбы, упрощении процесса выверки прицела и корректировки его на дальность и сокращении времени пристрелки. 2 з.п. ф-лы, 1 ил.
Изобретение относится к оптическому приборостроению и может быть использовано в оптических прицелах для стрелкового оружия.
Известен оптический прицел (Патент РФ 2054158, кл. F41G 1/42). Прицел содержит оптическую систему, устройство регулировки и корпус. В оптическую систему входят объектив, оборачивающая система, сетка, окуляр, размещенные во внутреннем тубусе, который, в свою очередь, расположен в корпусе. На последнем расположено устройство регулировки, включающее размещенные на одном конце корпуса два регулировочных винта, расположенные взаимно перпендикулярно друг другу, и пластинчатую пружину. Введение боковых углов поправок и поправок по дистанциям осуществляется регулировочными винтами. Второй конец тубуса установлен шарнирно. Преимущество прицела заключается в том, что поворачивается не визирная сетка, а весь прицел, благодаря чему не уменьшается поле зрения прицела.
Недостатком данного прицела является формирование только одной прицельной сетки, а устройство перемещения не обеспечивает необходимую для оптических прицелов точность выверки (до 1/8 угловой мин).
Наиболее близким среди прицелов к предлагаемому изобретению является оптический прицел (патент РФ 2229669С2, МКИ F41G 1/32), который представляет собой полый корпус с прицельным окном в виде выпукло-вогнутой телескопической линзы, оптическая ось которой параллельна оси канала ствола оружия, а вогнутая поверхность телескопической линзы или ее центральная часть сделаны полупрозрачными, с сеткой, представляющей собой плоскопараллельную пластину с нанесенными на ее плоскости, противоположной линзе, зеркальным визирным знаком и визирным знаком, выполненным путем травления. Плоскость сетки, на которой нанесены визирные знаки, расположена в фокальной плоскости вогнутой полупрозрачной поверхности линзы – фокальной плоскости объектива. В состав прицела также входит защитное стекло, механизм согласования визирной линии прицела с осью ствола оружия.
Прицел работает следующим образом. Лучи света, идущие от цели, проходят телескопическую линзу, сетку и попадают в зрачок наблюдателя, одновременно часть лучей, проходящих через линзу, отражается от зеркального визирного знака сетки. Отраженные лучи попадают на вогнутую полупрозрачную поверхность линзы и, отразившись от нее, выходят параллельным пучком из прибора, и попадают в зрачок глаза наблюдателя. Механизм согласования визирной линии прицела с осью канала ствола, необходимый в процессе выверки и пристрелки оружия, осуществляется вращением маховичков.
Недостатком известного прицела, взятого в качестве прототипа, является формирование только одного визирного знака, а сложность изготовления деталей механизма согласования визирной линии прицела с осью ствола оружия существенно влияет на себестоимость изделия, не позволяет осуществить быструю выверку и пристрелку оружия и не обеспечивает необходимую точность дискретных перемещений. Кроме того, располагаемые на ручке шкалы, используемые для корректировки на дальность и поправки по боковым отклонениям, являются индивидуальными для каждого прицела и имеют оцифровку в соответствии с типом основного оружия, на который ставится прицел, учитывающую его баллистику, что в конечном счете препятствует универсализации прицела, т.е адаптации его к любому типу оружия, планка которого приспособлена для крепления оптического прицела, по остальным типам оружия применяются специальные таблицы, которые не учитывают всей полноты действующих при стрельбе факторов.
Задачей заявленного изобретения является отказ от создания прицельной сетки с помощью прозрачного стекла с нанесенной конфигурацией прицельной сетки и механического устройства ее перемещения и замена их устройствами, в значительной степени повышающими потребительские качества изделия.
Поставленная задача за счет того, что в оптическом прицеле для стрелкового оружия, содержащем объектив, окуляр, узел для формирования прицельной сетки и механизм для согласования визирной линии прицела с осью ствола оружия, узел формирования прицельной сетки выполнен в виде жидкокристаллической матрицы, а механизм для согласования визирной линии прицела с осью ствола оружия выполнен в виде управляющей схемы, при этом жидкокристаллическая матрица может быть установлена в фокальной плоскости объектива или окуляра.
Использование заявленного изобретения позволит повысить точность стрельбы, упростит процесс выверки прицела и корректировки его на дальность, сократит время пристрелки, увеличит количество формируемых прицельных сеток и соответствующих знаков для определения дальности по известным объектам, а самое главное, позволит учитывать совокупность параметров, влияющих на баллистику стрельбы. Изобретение позволит пользователю сосредоточиться на самой стрельбе, а не на самом процессе управления прицелом. В настоящее время изготовлены экспериментальные образцы прицела и ведется выпуск рабочей документации опытных образцов. После их испытаний предполагается серийное производство прицелов.
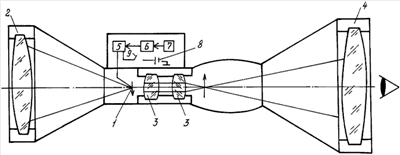
Изобретение поясняется чертежом, на котором изображена функциональная схема прицела.
Устройство содержит установленные в корпусе прицела дискретную жидкокристаллическую матрицу 1 с высоким разрешением, свет через которую направляется от объектива 2 через оборачивающую систему 3 к окуляру 4.
Управление перемещением изображения прицельной сетки по полю жидкокристаллической матрицы, выбор конфигурации прицельной сетки осуществляется управляющей схемой, состоящей из узла формирования прицельной сетки 5, микроконтроллера 6 и узла ввода корректирующих параметров (информация о типе прицельной сетки, боковых и вертикальных поправках и баллистических данных) микропереключателя 7. Включение устройства питания 8 производится с помощью выключателя 9.
Заявленное устройство работает следующим образом.
Для использования прицела в работе необходимо включить питание 8, выбрать тип прицельной сетки с помощью узла ввода корректирующих параметров 7. Далее, используя результаты контрольных стрельб, с помощью узла ввода корректирующих параметров 7 и микроконтроллера 6 выставить прицельную сетку на жидкокристаллической матрице 1 в необходимое положение. По завершению использования прицела его необходимо отключить от питания. При боевом использовании прицела с конкретным типом оружия и необходимости корректировки его на дальность совокупность характеристик (превышения по траектории, информация о калибре оружия, весе пули, энергии применяемых патронов и т.д.) вводится в устройство 6 и сохраняется в энергонезависимой памяти при отключении прицела.
В качестве жидкокристаллической матрицы может быть использована матрица CyberDisplay 320 Model 290 Monochrom Display американской компании «Копин». В качестве управляющего жидкокристаллической матрицей узла может быть использован микроконтроллер Pic-16-FG-84 со стандартным дешифратором (Справочник «Инструментальные микросхемы» США), а узел коррекции прицельной сетки выполнен из устройства, состоящего из не менее одного микропереключателя.
Формула изобретения
1. Оптический прицел для стрелкового оружия, содержащий объектив, окуляр, узел формирования прицельной сетки и устройство для согласования визирной линии прицела с осью ствола оружия, отличающийся тем, что узел формирования прицельной сетки выполнен в виде жидкокристаллической матрицы, а устройство для согласования визирной линии прицела с осью ствола оружия выполнено в виде управляющей схемы.
2. Оптический прицел по п.1, отличающийся тем, что управляющая схема выполнена с возможностью выбора конфигурации прицельной сетки и управления перемещением изображения прицельной сетки по полю жидкокристаллической матрицы и включает узел формирования прицельной сетки, микроконтроллер, устройство питания и выключатель.
3. Оптический прицел по п.1, отличающийся тем, что жидкокристаллическая матрица установлена в фокальной плоскости объектива или окуляра.
РИСУНКИ
|
|