|
|
(21), (22) Заявка: 2007117048/06, 07.05.2007
(24) Дата начала отсчета срока действия патента:
07.05.2007
(43) Дата публикации заявки: 20.11.2008
(46) Опубликовано: 20.06.2009
(56) Список документов, цитированных в отчете о поиске:
US 2353233 А, 11.07.1944. SU 954772 A1, 30.08.1982. SU 1054633 A, 15.11.1983. SU 1332133 A1, 23.08.1987. US 3052105 A, 04.09.1962. US 6808016 B2, 26.10.2004.
Адрес для переписки:
445013, Самарская обл., г. Тольятти, ул. Пархоменко, 43, П.А. Виноградову
|
(72) Автор(ы):
Виноградов Петр Александрович (RU), Киршен Андрей Александрович (RU), Боровой Андрей Андреевич (RU)
(73) Патентообладатель(и):
Виноградов Петр Александрович (RU)
|
(54) УСТРОЙСТВО ДЛЯ ОХЛАЖДЕНИЯ ГАЗА ИЛИ ЖИДКОСТИ
(57) Реферат:
Изобретение может быть применено для охлаждения газа или жидкости при транспортировке по трубопроводу. Устройство для охлаждения газа или жидкости содержит корпус с окнами для подвода и отвода воздуха, вентилятор, теплообменник, трубопровод для прохождения охлаждаемого газа или жидкости и коллектор для подачи испаряемой жидкости. Вентилятор расположен против входного окна корпуса. Трубопровод для прохождения охлаждаемого газа или жидкости расположен против выходного окна. Теплообменник выполнен в виде набора пластин с зазорами между ними. Набор пластин расположен вертикально. Пластины в наборе наклонены под углом к горизонтали. Четные пластины наклонены на угол, противоположный углу наклона нечетных пластин и сдвинуты относительно нечетных пластин в сторону вершины угла наклона нечетных пластин. Коллектор размещен над набором пластин и выполнен в виде трубы с отверстиями, расположенными по всей длине части трубы, находящейся над набором пластин. Пластины теплообменника выполнены полыми. По всей длине каждой пластины со стороны, обращенной к коллектору, выполнены прорези, в которых установлены фитили из волокнистого материала. Нижние торцы фитилей опущены в полости пластин. Верхние торцы фитилей установлены заподлицо или с превышением относительно поверхностей пластин. Полости пластин соединены с магистралью подачи охлаждающей жидкости. Техническим результатом является снижение затрат энергии на транспортировку газа или жидкости по трубопроводу и повышение производительности транспортировки. 1 з.п. ф-лы, 3 ил.
Изобретение относится преимущественно к транспортировке газа или жидкости по трубопроводам и может быть применено для охлаждения перекачиваемой среды в процессе транспортировки.
Известно устройство для охлаждения воды (Кокорин О.Я. Эффективная градирня: Заявка РФ на изобретение 93001753/06 от 12.01.1993, МКИ 6 F28C 1/00), в котором воду охлаждают, обдувая ее воздухом с помощью вентилятора, установленного во входном патрубке. Устройство имеет теплообменник из тепловых труб и многоступенчатый теплообменник с трубчатыми или пластинчатыми каналами, а также пакеты из гофрированных листов, под которыми расположен поддон, а над ними – водораспределители, связанные через трубопроводы с насосами, смонтированными в каждой части поддона. Трубки теплообменника имеют оребрение, расположенное под углом к воздушному потоку. Известное устройство позволяет охлаждать воду до температуры ниже температуры наружного воздуха и эффективно в системах кондиционирования. Однако известное устройство имеет сложную конструкцию и не эффективно при необходимости охлаждения жидкости или газа в больших количествах, например, при их перекачке в магистральных трубопроводах.
Известно также устройство для охлаждения газа или жидкости (Патент США 2353233 А, от 11.07.1944 г., МКИ F24F 3/12). которое принято за прототип. Устройство по прототипу содержит корпус с окнами для подвода и отвода воздуха, вентилятор, теплообменник, трубопровод для прохождения охлаждаемого газа или жидкости, коллектор для подачи испаряемой жидкости. Устройство по прототипу позволяет охлаждать газ или жидкость, однако оно не достаточно эффективно при охлаждении транспортируемой по трубопроводу жидкости или газа в больших количествах.
Транспортировку газа или жидкости по трубопроводам осуществляют путем перекачки транспортируемой среды с помощью перекачивающих агрегатов (компрессоров или газотурбинных установок). Мощность, требуемая для перекачки транспортируемой среды с заданной скоростью, зависит от давления в трубопроводе. В процессе перекачки транспортируемая среда в перекачивающем агрегате нагревается и расширяется, давление в трубопроводе увеличивается. При транспортировке газа давление после перекачивающего агрегата может достигать 50 70 кгс/см2. Это требует увеличения затрат энергии, расходуемой на перекачку. Снижение температуры транспортируемой среды позволит либо снизить эти затраты, либо повысить производительность транспортировки.
Технический результат изобретения – снижение затрат энергии на транспортировку газа или жидкости по трубопроводу и повышение производительности транспортировки.
Сущность изобретения заключается в том, что предлагаемое устройство содержит корпус с окнами для подвода и отвода воздуха, вентилятор, теплообменник, трубопровод для прохождения охлаждаемого газа или жидкости и коллектор для подачи испаряемой жидкости. В отличие от прототипа вентилятор расположен против входного окна корпуса, трубопровод для прохождения охлаждаемого газа или жидкости расположен против выходного окна. Теплообменник выполнен в виде набора пластин с зазорами между ними. Набор пластин расположен вертикально, пластины в наборе наклонены под углом к горизонтали. Нечетные пластины, начиная с верхней, наклонены на угол, противоположный углу наклона четных пластин. Коллектор размещен над набором пластин и выполнен в виде трубы с отверстиями расположенными со стороны набора пластин по всей длине части трубы, находящейся над набором пластин.
По другому варианту пластины теплообменника выполнены полыми. По всей длине каждой пластины со стороны, обращенной к коллектору, выполнены прорези, в которых установлены фитили из волокнистого материала. Нижние торцы фитилей опущены в полости пластин, а верхние торцы установлены заподлицо или с превышением относительно поверхностей пластин. Полости пластин соединены с магистралью подачи охлаждающей жидкости.
При обоих вариантах предлагаемого устройства четные пластины теплообменника могут быть сдвинуты относительно нечетных пластин по нормали к вертикальной оси выходного окна в сторону вершины угла наклона нечетных пластин.
Предлагаемое устройство повышает эффективность охлаждения газа или жидкости при перекачивании их по трубопроводу, поскольку обеспечивает дополнительное охлаждение воздуха, обдувающего трубопровод с охлаждаемым газом или жидкостью за счет испарения жидкости на пластинах теплообменника. В результате снижается давление в трубопроводе, что позволяет уменьшить затраты энергии на транспортировку и увеличить производительность транспортировки.
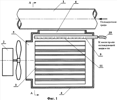
Изобретение иллюстрируется чертежами, где на фиг.1 показана общая компоновка предлагаемого устройства, на фиг.2 – разрез по А-А на фиг.1, на фиг.3 – конструкция полой пластины по варианту устройства.
Предлагаемое устройство для охлаждения газа или жидкости содержит корпус 4 с входным 5 и выходным 6 окнами, вентилятор 2, теплообменник 3, трубопровод 1 для прохождения охлаждаемого газа или жидкости и коллектор 3 для подачи испаряемой жидкости. Входное окно 5 предназначено для подачи воздуха с помощью вентилятора 2 внутрь корпуса 4 и в теплообменник 3, поэтому вентилятор 2 расположен против входного окна 5. Выходное окно 6 служит для подачи потока охлажденного воздуха на трубопровод 1 с охлаждаемой средой, поэтому трубопровод 1 расположен против выходного окна 6. Теплообменник 3 выполнен в виде набора пластин 7 и 8 (фиг.2) с зазорами между ними, причем набор пластин 7 и 8 расположен вертикально. Пластины 7 и 8 в наборе наклонены под углом к горизонтали. Нечетные пластины 7, начиная сверху, наклонены на угол, противоположный углу наклона четных пластин 8. Четные пластины 8 сдвинуты относительно нечетных пластин 7 по нормали к вертикальной оси выходного окна в сторону вершины угла наклона нечетных пластин 7. Над набором пластин 7 и 8, составляющих теплообменник 3, помещен коллектор 9, выполненный в виде трубы для подачи испаряемой жидкости, которая соединена, например, шлангом 10 с магистралью для подачи охлаждающей жидкости. Со стороны набора пластин 7 и 8, составляющих теплообменник 3, по всей длине части коллектора 9, находящейся над набором пластин 7 и 8, выполнены отверстия 11.
По другому варианту пластины 7 и 8 выполнены полыми (фиг.3). По всей длине каждой пластины 7 и 8 со стороны, обращенной к коллектору 9, выполнены прорези, в которых установлены фитили 12 из волокнистого материала. Нижние торцы фитилей 12 опущены в полости 13 пластин 7 и 8, а верхние торцы установлены заподлицо или с превышением относительно поверхностей этих пластин. Полости пластин 7 и 8 соединены с магистралью подачи охлаждающей жидкости, например, через штуцер 14 и шланг 15.
Предлагаемое устройство работает следующим образом.
Вентилятором 2 через входное окно 5 корпуса 4 вдоль пластин 7 и 8 теплообменника 3 нагнетают воздух. Через отверстия 11 коллектора 9 на верхнюю пластину 7 теплообменника 3 подают охлаждающую жидкость (например, воду), поступающую в коллектор 9 через шланг 10 из магистрали. Охлаждающая жидкость может подаваться периодически, отдельными каплями, или непрерывно, струйками, в зависимости от расхода охлаждающего воздуха, подаваемого вентилятором 2 и от площади поверхности пластин 7 и 8. На поверхностях пластин 7 и 8 охлаждающая жидкость, обдуваемая потоком воздуха, будет испаряться. На ее испарение будет затрачиваться тепло, в результате чего поток воздуха будет охлаждаться. Часть жидкости, которая не успеет испариться на поверхности верхней (нечетной) пластины 7 теплообменника, стечет на установленную ниже четную пластину 8, наклоненную относительно горизонтали на угол . Остаток жидкости с нее стечет на следующую, лежащую ниже нечетную пластину 7. Стекание остатков охлаждающей жидкости с вышележащих пластин 7 и 8 обусловлено тем, что четные пластины 8 наклонены на угол , противоположный углу наклона нечетных пластин 7, и сдвинуты относительно нечетных пластин 7 по нормали к вертикальной оси выходного окна 6 в сторону вершины угла между горизонталью и плоскостями нечетных пластин 7. Таким образом, испарение жидкости будет происходить на всей поверхности всех пластин 7 и 8 теплообменника 3, что увеличит интенсивность испарения охлаждающей жидкости и степень охлаждения воздуха. Скорость стекания жидкости с пластин 7 и 8 можно регулировать, изменяя угол наклона этих пластин. Суммарную площадь поверхностей можно подбирать, увеличивая или уменьшая размеры пластин 7 и 8. Эти параметры могут выбираться при расчете конкретного устройства в зависимости от заданного расхода охлаждающего воздуха и от заданной температуры, до которой он может быть охлажден. При необходимости в корпусе 4 устройства могут быть установлены несколько теплообменников 3.
Пройдя через теплообменник 3 и охладившись, воздух, выходя через выходное окно 6 корпуса 4, будет обдувать трубопровод 1, через который транспортируется газ или жидкость. В результате эффективность охлаждения транспортируемой среды по сравнению с прототипом увеличится. Это снизит температуру охлаждаемой среды и уменьшит давление в трубопроводе 1, что позволит снизить затраты энергии на перекачку газа или жидкости или увеличить производительность перекачки при тех же затратах энергии.
При необходимости охлаждения больших объемов газа или жидкости, когда требуется большое количество охлажденного воздуха, может быть применен вариант предлагаемого устройства с полыми пластинами 7 и 8 теплообменника (фиг.3). По этому варианту пластины 7 и 8 теплообменника 3 выполнены полыми, внутрь полости 13 поступает из магистрали через штуцер 14 и шланг 15 охлаждающая жидкость. По всей длине каждой из пластин 7 и 8 со стороны, обращенной к коллектору, выполнены прорези, в которых установлены фитили 12 из волокнистого материала. Нижние торцы фитилей 12 через прорези опущены в полости 13, а верхние торцы установлены заподлицо или с превышением относительно поверхностей пластин. По этому варианту кроме жидкости, подаваемой на поверхности пластин 7 через отверстия 11 коллектора 9, будет подаваться охлаждающая жидкость из полостей 13 пластин 7 и 8 через фитили 12 за счет капиллярного эффекта, что увеличит количество испаряющейся жидкости и отводимого ей из потока воздуха количества тепла. Это дополнительно увеличит эффективность охлаждения газа или жидкости, транспортируемых по трубопроводу 1.
Предлагаемое устройство легко осуществимо с помощью известных в технике средств и материалов. Воздушный поток можно создавать, применяя любой промышленный вентилятор 2 с электромеханическим приводом соответствующей мощности. Пластины 7 и 8 теплообменника 3 как плоские по первому, так и полые по второму вариантам, могут быть выполнены из листового металла, причем полые пластины могут быть изготовлены с помощью сварки или пайки. Фитили 12 можно изготовить из текстильных или минеральных волокон. Теплообменник 3 может быть собран из пластин 7 и 8 на металлических стойках, которые любым известным способом (например, сваркой или винтами) прикреплены к корпусу 4. Коллектор 9 может быть также прикреплен к корпусу 4 с помощью кронштейнов. Корпус 4 может быть выполнен сварным или штампосварным из листового металла.
Таким образом, предлагаемое устройство обеспечивает технический эффект, заключающийся в снижении затрат энергии, расходуемой на перекачку газа или жидкости, транспортируемых по трубопроводу, и в повышении производительности перекачки. Устройство может быть осуществлено с помощью известных в технике средств. Следовательно, предлагаемое устройство обладает промышленной применимостью.
Формула изобретения
1. Устройство для охлаждения газа или жидкости, содержащее корпус с окнами для подвода и отвода воздуха, вентилятор, теплообменник, трубопровод для прохождения охлаждаемого газа или жидкости, коллектор для подачи испаряемой жидкости, отличающееся тем, что вентилятор расположен против входного окна корпуса, трубопровод для прохождения охлаждаемого газа или жидкости расположен против выходного окна, теплообменник выполнен в виде набора пластин с зазорами между ними, набор пластин расположен вертикально, пластины в наборе наклонены под углом к горизонтали, причем четные пластины наклонены на угол, противоположный углу наклона нечетных пластин, и сдвинуты относительно нечетных пластин в сторону вершины угла наклона нечетных пластин, а коллектор размещен над набором пластин и выполнен в виде трубы с отверстиями, расположенными по всей длине части трубы, находящейся над набором пластин.
2. Устройство по п.1, отличающееся тем, что пластины теплообменника выполнены полыми, по всей длине каждой пластины со стороны, обращенной к коллектору, выполнены прорези, в которых установлены фитили из волокнистого материала, нижние торцы фитилей опущены в полости пластин, а верхние торцы установлены заподлицо или с превышением относительно поверхностей пластин, причем полости пластин соединены с магистралью подачи охлаждающей жидкости.
РИСУНКИ
|
|