|
|
(21), (22) Заявка: 2006145142/02, 18.12.2006
(24) Дата начала отсчета срока действия патента:
18.12.2006
(30) Конвенционный приоритет:
24.07.2006 KZ 2006/0853.1
(43) Дата публикации заявки: 27.06.2008
(46) Опубликовано: 20.06.2009
(56) Список документов, цитированных в отчете о поиске:
KZ 8705, 15.04.2005. СЛОБОДКИН Л.В. Новая технология на свинцовом заводе УКСЦК. Цветные металлы, 1987, 9, с.20-22. RU 97108450 A, 27.12.1998. SU 1741438 A1, 27.08.1999. FR 2628119 A, 08.09.1989.
Адрес для переписки:
070002, Республика Казахстан, г. Усть-Каменогорск, ул. Промышленная, 1, ВНИИцветмет, патентный отдел, В.В. Чаленко
|
(72) Автор(ы):
Шумский Виктор Александрович (KZ), Ушаков Николай Николаевич (KZ), Старцев Игорь Владимирович (KZ), Поляков Иван Петрович (KZ), Рагулин Борис Александрович (KZ), Чаленко Валентина Васильевна (KZ)
(73) Патентообладатель(и):
Дочернее Государственное предприятие “Восточный научно-исследовательский горно-металлургический институт цветных металлов” Республиканского Государственного предприятия “Национальный центр по комплексной переработке минерального сырья Республики Казахстан” (ДГП “ВНИИцветмет” РГП “НЦ КПМС РК”) (KZ)
|
(54) АГРЕГАТ ДЛЯ ПЕРЕРАБОТКИ ПЫЛЕВИДНОГО СВИНЕЦ- И ЦИНКСОДЕРЖАЩЕГО СЫРЬЯ
(57) Реферат:
Изобретение относится к цветной металлургии, преимущественно к устройствам для переработки пылевидного свинец- и цинксодержащего сырья, в котором могут присутствовать медь и благородные металлы. Агрегат для переработки пылевидного свинец- и цинксодержащего сырья содержит вертикальную плавильную камеру прямоугольного сечения с горелочным устройством, шахту газоохладителя, перегородку с водоохлаждаемыми медными элементами, отделяющую плавильную камеру от шахты газоохладителя, электропечь, отделенную от плавильной камеры перегородкой с водоохлаждаемыми медными элементами, кессонированный пояс, устройства для выпуска продуктов плавки, подину, при этом отношение разности уровней нижних кромок перегородок к расстоянию от свода плавильной камеры до нижней кромки перегородки, отделяющей электропечь от плавильной камеры, составляет 0,15-0,29, а отношение расстояния от нижней кромки этой перегородки до подины к разности уровней нижних кромок перегородок составляет 1,25-2,10. На стенках шахты газоохладителя агрегата установлено не более двух фурм на уровне нижней кромки перегородки, отделяющей шахту газоохладителя от плавильной камеры, с наклоном в сторону подины под углом к горизонтальной плоскости, определяемым по формуле =arctg(k· H/B), где – угол наклона фурм; k – коэффициент угла наклона фурм, равный 1,11-1,25; Н – разность уровней нижних кромок перегородок; В – внутренняя ширина шахты газоохладителя. При установке двух фурм они расположены по одной на каждой из противоположных боковых стенок шахты газоохладителя с зеркальным смещением относительно ее поперечного осевого сечения. При этом каждая из них расположена на расстоянии от поперечного осевого сечения шахты газоохладителя, отношение которого к внутренней длине шахты газоохладителя составляет 0,25-0,30. Обеспечивается одновременное повышение прямого извлечения свинца в черновой металл и удельной производительности агрегата. 2 з.п. ф-лы, 4 ил., 2 табл.
Изобретение относится к цветной металлургии, преимущественно к устройствам для переработки пылевидного свинец- и цинксодержащего сырья, в котором могут присутствовать медь и благородные металлы.
9, с.20-22).
Недостатком этого агрегата является низкое прямое извлечение свинца в черновой металл, обусловленное высоким пылевыносом шихты из плавильной камеры с реакционными газами при указанных соотношениях конструктивных элементов агрегата. Повышенное содержание в шихте оборотных сульфатных пылей (при непрерывном возврате этих пылей через горелочное устройство на обжиг-плавку) ведет к снижению температуры факельного расплава и связанному с этим уменьшению скорости и степени восстановления оксида свинца в слое углеродистого восстановителя.
Наиболее близким по технической сущности к изобретению является агрегат для переработки пылевидного свинец- и цинксодержащего сырья, включающий вертикальную плавильную камеру прямоугольного сечения с горелочным устройством, газоохладитель, перегородку, отделяющую плавильную камеру от газоохладителя, электропечь, отделенную от плавильной камеры перегородкой, кессонированный пояс, устройства для выпуска продуктов плавки, подину. При этом отношение разности уровней нижних кромок перегородок к расстоянию от свода плавильной камеры до нижней кромки перегородки, отделяющей электропечь от плавильной камеры, составляет 0,15-0,29, а отношение расстояния от нижней кромки этой перегородки до подины к разности уровней нижних кромок перегородок составляет 1,25-2,10 (патент Республики Казахстан 8705, МПК F27B 17/00, С22В 13/02, опубл. 15.04.2005, бюл. 4).
Недостатком этого агрегата является одновременное снижение удельной производительности агрегата и прямого извлечения свинца в черновой металл из-за наличия застойной зоны шлакового расплава у внешней торцевой стенки шахты газоохладителя, напротив перегородки, отделяющей его от плавильной камеры. Естественное охлаждение шлакового расплава в этой области агрегата вызывает формирование настыли и снижение интенсивности циркуляции шлакового расплава между электропечью, плавильной камерой и шахтой газоохладителя. Это уменьшает подвод тепла из электропечи в слой углеродистого восстановителя и вызывает замедление процесса углетермического восстановления факельного расплава.
Технической задачей настоящего изобретения является одновременное повышение прямого извлечения свинца в черновой металл и удельной производительности агрегата за счет торможения процесса формирования настыли на стенках нижней области шахты газоохладителя, ускорения циркуляции и увеличения теплосодержания потока шлакового расплава, обеспечивающих дополнительный подвод тепла в слой углеродистого восстановителя и соответствующее ускорение процесса восстановления факельного расплава, которая решается путем организации интенсивного подвода тепла в ванну шлакового расплава под шахтой газоохладителя.
Поставленная задача достигается тем, что в известном агрегате для переработки пылевидного свинец- и цинксодержащего сырья, включающем вертикальную плавильную камеру прямоугольного сечения с горелочным устройством, шахту газоохладителя, перегородку с водоохлаждаемыми медными элементами, отделяющую плавильную камеру от шахты газоохладителя, электропечь, отделенную от плавильной камеры перегородкой с водоохлаждаемыми медными элементами, кессонированный пояс, устройства для выпуска продуктов плавки, подину, при этом отношение разности уровней нижних кромок перегородок к расстоянию от свода плавильной камеры до нижней кромки перегородки, отделяющей электропечь от плавильной камеры, составляет 0,15-0,29, а отношение расстояния от нижней кромки этой перегородки до подины к разности уровней нижних кромок перегородок составляет 1,25-2,10, согласно изобретению на стенках шахты газоохладителя устанавливают не более двух фурм на уровне нижней кромки перегородки, отделяющей шахту газоохладителя от плавильной камеры, с наклоном в сторону подины под углом к горизонтальной плоскости, определяемым по формуле
=arctg(k· H/B),
где – угол наклона фурм;
k – коэффициент угла наклона фурм, равный 1,11-1,25;
Н – разность уровней нижних кромок перегородок;
В – внутренняя ширина шахты газоохладителя.
Целесообразно согласно изобретению при установке двух фурм располагать их по одной на каждой из противоположных боковых стенок шахты газоохладителя с зеркальным смещением относительно ее поперечного осевого сечения. При этом при установке двух фурм каждая из них расположена на расстоянии от поперечного осевого сечения шахты газоохладителя, отношение которого к внутренней длине шахты газоохладителя составляет 0,25-0,30.
Установка фурм и их расположение позволяют подавать кислородсодержащий газ на поверхность слоя углеродистого материала, плавающего на ванне шлакового расплава в нижней области шахты газоохладителя, в которую поступают реакционные газы из плавильной камеры. Это дает возможность дожигать монооксид углерода, содержащийся в реакционных газах плавильной камеры в результате реакций восстановления оксидного расплава в слое углеродистого материала, плавающего на ванне шлакового расплава под факелом горелочного устройства плавильной камеры, а также неполного сгорания в факеле твердого углеродистого топлива, вводимого в шихту при низкой теплотворной способности перерабатываемого сырья. При незначительном содержании монооксида углерода в реакционных газах плавильной камеры кислород, вводимый через фурмы с кислородсодержащим газом, расходуется на сгорание твердого углерода в слое углеродистого материала, плавающего на ванне шлакового расплава в нижней области шахты газоохладителя.
При сгорании монооксида углерода, содержащегося в реакционных газах плавильной камеры, либо твердого углерода в слое углеродистого материала, плавающего на ванне шлакового расплава в нижней области шахты газоохладителя, выделяется тепло, часть которого идет на увеличение температуры шлакового расплава в данной застойной области агрегата. Повышение температуры шлакового расплава препятствует формированию настыли на нижней части стенок шахты газоохладителя и ускоряет циркуляцию потока шлакового расплава между электропечью, плавильной камерой и шахтой газоохладителя, одновременно повышая его теплосодержание. Это ведет к увеличению подвода тепла в рабочую область слоя углеродистого восстановителя под горелочным устройством с циркулирующим потоком шлакового расплава и соответствующему ускорению восстановления факельного расплава. В результате повышается прямое извлечение свинца в черновой металл и обеспечивается возможность увеличения удельной производительности агрегата.
Увеличение прямого извлечения свинца в черновой металл и одновременно удельной производительности агрегата обеспечивается также за счет снижения пылевыноса и, соответственно, содержания оборотных сульфатных пылей в шихте, поступающей на горелочное устройство, благодаря наклону фурм к подине агрегата. Вдувание через фурмы кислородсодержащего газа с направленной вниз составляющей скорости потока в поток реакционных газов, поступающих из плавильной камеры, вызывает их торможение на входе в шахту газоохладителя и увеличивает скорость оседания частиц пыли, выносимых реакционными газами из плавильной камеры.
При установке фурм на стенках шахты газоохладителя на уровне, более низком, чем уровень нижней кромки перегородки, отделяющий шахту газоохладителя от плавильной камеры, эффект выделения тепла у поверхности шлакового расплава сохранится. Однако часть реакционных газов начнет проходить над вдуваемым через фурмы потоком кислородсодержащего газа. Это приведет к снижению эффекта торможения реакционных газов и уменьшению скорости оседания частиц пыли, выносимых из плавильной камеры. Кроме того, приближение струи кислородсодержащего газа из фурм к поверхности шлаковой ванны вызовет повышение уноса уже осевших частиц пыли. В результате выход пылей плавки и их доля в шихте увеличится, а температура факела, скорость восстановления оксидного расплава в слое углеродистого восстановителя, прямое извлечение свинца в черновой металл и удельная производительность агрегата снизятся.
При установке фурм на уровне, более высоком, чем уровень нижней кромки указанной перегородки, область выделения тепла отдаляется от поверхности шлакового расплава. Кроме того, при незначительном содержании монооксида углерода в реакционных газах плавильной камеры более высокий уровень установки фурм ведет к уменьшению контакта кислородсодержащего газа со слоем углеродистого материала. Это уменьшит поступление тепла в шлаковую ванну под шахтой газоохладителя. В результате снизятся теплосодержание и интенсивность циркуляции потока шлакового расплава между электропечью, плавильной камерой и шахтой газоохладителя, что приведет к замедлению подвода тепла в рабочую область слоя углеродистого восстановителя под горелочным устройством. Соответственно уменьшится скорость восстановления факельного расплава, прямое извлечение свинца в черновой металл и удельная производительность агрегата.
При установке наклона фурм к подине под углом к горизонтальной плоскости с коэффициентом k, меньшим 1,11, область выделения тепла от дожигания монооксида углерода в реакционных газах плавильной камеры отдалится от поверхности шлакового расплава. Кроме того, вдуваемый через фурмы кислородсодержащий газ часть времени работы агрегата после выпуска шлака не будет контактировать со слоем углеродистого материала в шахте газоохладителя. В результате общий приток тепла в шлаковую ванну под шахтой газоохладителя уменьшится. Это снизит эффект торможения процесса формирования настыли на нижней части стенок шахты газоохладителя, а также интенсивность циркуляции потока шлакового расплава между электропечью, плавильной камерой и шахтой газоохладителя и его теплосодержание. Тем самым, уменьшится подвод тепла в слой углеродистого восстановителя под факелом горелочного устройства и одновременно скорость восстановления факельного расплава. В результате снизятся прямое извлечение свинца в черновой металл и удельная производительность агрегата. Дополнительное снижение прямого извлечения свинца в черновой металл и удельной производительности агрегата в этом случае обусловлено также снижением скорости осаждения частиц пыли, выносимых реакционными газами из плавильной камеры. При этом выход пылей плавки и их доля в шихте увеличатся, а температура факела и скорость восстановления оксидного расплава в слое углеродистого восстановителя уменьшатся. В результате одновременно снизятся прямое извлечение свинца в черновой металл и удельная производительность агрегата.
При установке наклона фурм к подине под углом к горизонтальной плоскости с коэффициентом k, большим 1,25, как и в случае установки фурм на уровне, более низком, чем уровень нижней кромки перегородки, отделяющий шахту газоохладителя от плавильной камеры, часть реакционных газов начнет проходить над вдуваемым через фурмы потоком кислородсодержащего газа. Это ведет к снижению эффекта торможения реакционных газов и уменьшению скорости оседания частиц пыли, выносимых из плавильной камеры. Кроме того, увеличение угла наклона фурм к поверхности шлаковой ванны вызовет выдувание уже осевших частиц пыли и разбрызгивание мелких капель шлакового расплава в поток восходящих реакционных газов. В результате выход пылей плавки и их доля в шихте увеличатся, а температура факела и скорость восстановления оксидного расплава в слое углеродистого восстановителя снизятся. Поэтому снизятся также прямое извлечение свинца в черновой металл и удельная производительность агрегата.
При установке двух фурм, по одной на каждой из боковых стенок шахты газоохладителя с зеркальным смещением относительно ее поперечного осевого сечения, эффект достижения поставленной задачи усиливается. Это определяется двумя следующими факторами.
Во-первых, установка двух фурм, оси которых зеркально смещены относительно поперечного осевого сечения шахты газоохладителя, ведет к увеличению поверхности передачи тепла шлаковой ванне от сжигания монооксида углерода реакционных газов плавильной камеры либо твердого углерода в слое углеродистого материала. Соответственно, при том же самом тепловом эффекте от дожигания реакционных газов либо сжигания твердого углерода в слое углеродистого материала на поверхности шлакового расплава приток тепла в объем шлаковой ванны под шахтой газоохладителя увеличивается. Повышение теплосодержания шлакового расплава вызывает ускорение его циркуляции и увеличение подвода тепла в зону протекания восстановительных реакций. Результатом является дополнительное увеличение прямого извлечения свинца в черновой металл и повышение удельной производительности агрегата.
Во-вторых, установка двух фурм, по одной на каждой из боковых стенок шахты газоохладителя с зеркальным смещением относительно ее поперечного осевого сечения, приводит к дополнительному эффекту увеличения прямого извлечения свинца в черновой металл и удельной производительности агрегата за счет снижения пылевыноса и, соответственно, содержания оборотных сульфатных пылей в шихте, поступающей на горелочное устройство. Снижение пылевыноса в этом случае обусловлено тем, что вдувание кислородсодержащего газа через две фурмы, установленные на противоположных боковых стенках шахты газоохладителя и зеркально смещенные относительно ее поперечного осевого сечения, приводит к закручиванию поднимающегося вверх по шахте газоохладителя потока реакционных газов из плавильной камеры. В результате возникает центробежная составляющая скорости движения частиц пыли, способствующая более полному их осаждению на стенках шахты газоохладителя.
Эффект достижения поставленной задачи усиливается при увеличении расстояния от каждой из фурм до поперечного осевого сечения шахты газоохладителя. Это обусловлено тем, что увеличивается суммарная поверхность теплообмена между областью выделения тепла от дожигания реакционных газов или сгорания твердого углерода и шлаковой ванной. Соответственно, увеличивается приток тепла в объем шлаковой ванны, ее теплосодержание и скорость циркуляции шлакового расплава в этой области агрегата. Это ведет к увеличению подвода тепла в зону протекания восстановительных реакций и их ускорению. Результатом этого является увеличение прямого извлечения свинца и удельной производительности агрегата. Кроме того, увеличение расстояния между осями фурм усиливает эффект закручивания потока восходящих реакционных газов, что приводит к более полному осаждению частиц пыли на стенках шахты газоохладителя. Наибольшее усиление эффекта достигается при расстоянии осей фурм от поперечного осевого сечения шахты газоохладителя, отношение которого к ее внутренней длине составляет 0,25-0,30. При этом расстоянии достигается максимальная поверхность контакта области выделения тепла с ванной шлакового расплава, поскольку потоки горящих газов от противоположно расположенных фурм перестают перекрываться. Кроме того, на этом расстоянии уже достигаются заметный эффект закручивания потока восходящих реакционных газов и ускорение оседания частиц пыли на стенках шахты газоохладителя без перегрева кессонов потоками горящих газов от дожигания монооксида углерода (или сжигания твердого углерода на поверхности слоя углеродистого материала).
При расстоянии осей фурм от поперечного осевого сечения шахты газоохладителя, отношение которого к ее внутренней длине меньше 0,25, поверхность теплообмена горячих газов и шлаковой ванны и эффект закручивания восходящих реакционных газов снижаются. В результате одновременно снижаются поток тепла, передаваемый в объем ванны шлакового расплава, и степень осаждения частиц пыли на стенках шахты газоохладителя. Соответственно, снижается как эффект дополнительного увеличения теплосодержания шлакового расплава и соответствующего ускорения его циркуляции в шлаковой ванне, так и эффект уменьшения выноса из агрегата оборотных сульфатных пылей. Поэтому дутье через фурмы не приводит к максимально возможному усилению эффекта увеличения удельной производительности агрегата, а также прямого извлечения свинца в черновой металл за счет увеличения подвода тепла в зону протекания восстановительных реакций с факельным расплавом и с потоком расплава, циркулирующим в шлаковой ванне, что обеспечивало бы ускорение восстановления оксидного расплава в слое углеродистого восстановителя.
При расстоянии оси фурм от поперечного осевого сечения шахты газоохладителя, отношение которого к внутренней длине шахты газоохладителя больше 0,30, эффект передачи тепла от горящих газов в ванну шлакового расплава и эффект закручивания восходящих реакционных газов, определяющий степень осаждения пылей на стенках шахты газоохладителя не увеличиваются. Однако высокотемпературная область горения монооксида углерода в реакционных газах или твердого углерода в углеродистом слое приближается к стенкам агрегата, заметно увеличивая удельную тепловую нагрузку на кессонированный пояс в этой локальной зоне и повышая, тем самым, вероятность прогорания кессонов.
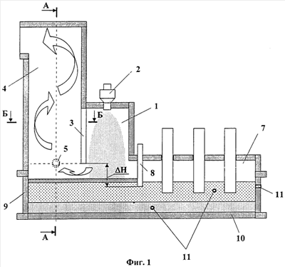
Изобретение иллюстрируется чертежами. На фиг.1 изображен агрегат для переработки пылевидного свинец- и цинксодержащего сырья, общий вид; на фиг.2 и 3 – сечения А-А и Б-Б шахты газоохладителя, показанной на фиг.1, при установке одной фурмы; на фиг.4 – сечение Б-Б шахты газоохладителя, показанной на фиг.1, при установке двух фурм.
Агрегат состоит из вертикальной плавильной камеры 1 прямоугольного сечения, в своде которой установлено горелочное устройство 2 для подачи шихты, кислорода, оборотных пылей и твердого восстановителя, перегородки 3 с водоохлаждаемыми медными элементами, установленной вертикально и отделяющей плавильную камеру 1 от шахты газоохладителя 4, на боковой стенке которой установлены фурмы 5, 6 для подачи кислородсодержащего газа, электропечи 7, примыкающей к плавильной камере и отделенной от нее вертикальной перегородкой 8 с водоохлаждаемыми медными элементами, общей для плавильной камеры, электропечи и шахты газоохладителя подины 9, кессонированного пояса 10 и устройств для выпуска продуктов плавки 11.
Агрегат работает следующим образом.
Пылевидная шихта, состоящая из свинцового или свинцово-цннкового сырья (свинцовых, свинцово-цинковых, свинцово-медных, свинцово-медно-цинковых, свинцово-серебряных концентратов, свинцовых пылей, свинецсодержащих кеков, оборотов рафинирования чернового свинца, аккумуляторной пасты и прочих вторичных свинцовых материалов), флюсов и, при необходимости, твердого углеродистого топлива (кокса, нефтекокса, каменного, бурого или древесного угля), после сушки до влажности менее 1% смешивается с дробленым углеродистым восстановителем (коксом, нефтекоксом, каменным или древесным углем) и транспортируется в горелочное устройство 2 (см. фиг.1), через которое потоком технического кислорода (94-99% О2) вдувается в плавильную камеру 1 агрегата. В плавильной камере 1 под влиянием излучения из факела и высоких температур восходящих печных газов (Т=1100-1200°С) шихта воспламеняется, окисляется и плавится во взвешенном состоянии с образованием диспергированного оксидного расплава. В нижней части плавильной камеры 1 температура факела достигает 1350-1450°С. Степень десульфуризации шихты регулируется путем изменения соотношения расходов шихты и кислорода в горелочное устройство 2.
Поступающий вместе с пылевидной шихтой дробленый углеродистый восстановитель (кокс, нефтекокс, каменный или древесный уголь) крупностью от 5 до 20 мм разогревается при своем движении в факеле и затем попадает на поверхность шлаковой ванны. Присутствие в конструкции агрегата перегородки 8, расположенной вниз от свода печи и частично погруженной в шлаковый расплав, позволяет разделять газовое пространство плавильной камеры 1 и электропечи 7 и формировать на поверхности шлаковой ванны под факелом горелочного устройства пористый слой углеродистого восстановителя нужной высоты. Это обеспечивает снижение потерь цветных металлов в шлаковом расплаве за счет создания восстановительной атмосферы в электропечи и ускорения осаждения малых частиц восстановленных металлов в донную металлическую фазу, обусловленного их коагуляцией и укрупнением в пористой структуре слоя углеродистого восстановителя.
Сформированный в процессе взвешенной плавки диспергированный оксидный расплав поступает на пористый слой дробленого углеродистого восстановителя и, просачиваясь через него, подвергается избирательному восстановлению. Оксиды свинца восстанавливаются до металлического свинца, а оксиды цинка остаются в шлаковом расплаве, который вместе с металлическим свинцом перетекает под перегородкой 8 из плавильной камеры 1 в электропечь 7, служащую для накопления и отстаивания продуктов плавки с разделением их по удельному весу, а при необходимости – для частичной отгонки цинка из шлакового расплава путем подачи мелкокускового углеродистого восстановителя на поверхность шлаковой ванны в электропечи. Оксиды меди, аналогично оксидам свинца, восстанавливаются в слое углеродистого восстановителя до металла и переходят в черновой свинец, а сульфиды цветных металлов, присутствующие в диспергированном факельном расплаве, либо распределяются между металлической и шлаковой фазами при степени десульфуризации шихты более 90-94%, либо, при меньшей десульфуризации шихты, формируют самостоятельную штейновую фазу, выделяющуюся в процессе отстаивания продуктов плавки в электропечи. Это позволяет осуществлять грубое обезмеживание чернового свинца с выделением избытка меди из перерабатываемого свинец- и цинксодержащего сырья в полиметаллический штейн непосредственно в агрегате.
Часть тепловой энергии, выделяющейся в электропечи, с циркулирующим по общей шлаковой ванне агрегата потоком шлакового расплава поступает в плавильную камеру и частично усваивается слоем углеродистого восстановителя. Наряду с потоком тепла, поступающим с факельным расплавом, приток тепла из электропечи позволяет компенсировать расход тепла по эндотермическим реакциям восстановления оксидов в пористом углеродистом слое.
Из электропечи 7 шлак и свинец выпускают через устройства 11 и далее направляют на переработку для получения товарной продукции.
Сернистые реакционные газы из плавильной камеры 1, образовавшиеся при взвешенной плавке шихты, проходят под перегородкой 3, расположенной вниз от свода печи и не доходящей до поверхности шлакового расплава, и поступают на охлаждение в шахту газоохладителя 4.
В нижней части шахты газоохладителя 4 реакционные газы, содержащие монооксид углерода, дожигаются за счет подачи кислородсодержащего газа через фурмы 5, 6. Часть выделяющейся при этом тепловой энергии усваивается циркулирующим по общей шлаковой ванне агрегата потоком шлакового расплава и поступает в плавильную камеру к слою углеродистого восстановителя, дополняя поток тепла, поступающий с факельным расплавом и с расплавом шлака из электропечи. Это повышает возможности компенсации расхода тепла по эндотермическим реакциям восстановления оксидов в пористом углеродистом слое. Обедненные по монооксиду углерода реакционные газы поднимаются вверх к выходу из шахты газоохладителя и охлаждаются за счет теплообмена с водоохлаждаемыми поверхностями стенок шахты.
После газоохладителя 4 газы очищаются в электрофильтре (на чертежах не показан) и далее направляются на утилизацию серы с получением товарной продукции (серной кислоты, элементарной серы, серного ангидрида или солей). Пыль, уловленная в электрофильтре, непрерывно возвращается в процесс плавки.
Изобретение иллюстрируется примерами работы агрегата.
Пример 1 (по прототипу). В пилотном агрегате КИВЦЭТ (площадь сечения плавильной камеры 1,4 м2, высота плавильной камеры 3,3 м, площадь сечения шахты газоохладителя 1,44 м2, площадь подины электропечи 5 м2, установочная мощность электропечного трансформатора 1200 кВт) с отношением разности уровней нижних кромок перегородок к расстоянию от свода плавильной камеры до нижней кромки перегородки, отделяющей электропечь от плавильной камеры, равным 0,28, и отношением расстояния от нижней кромки перегородки, отделяющей электропечь от плавильной камеры, до подины к разности уровней нижних кромок перегородок, равным 1,25, вели переработку шихты, приготовленной из сульфидных свинцовых концентратов, свинцовых пылей, свинецсодержащих кеков цинкового производства, аккумуляторной пасты, кварцевого и известкового флюсов, состава, %: 34,0 свинца, 9,6 цинка, 1,1 меди, 12,3 железа, 10,2 серы, 8,4 диоксида кремния, 4,1 оксида кальция. Для компенсации низкой теплотворной способности шихты в нее вводили пылевидный уголь состава, %: 42,5 твердого углерода, 28,0 летучих и 30,0 золы, содержащей, %: 9,0 железа, 55,8 диоксида кремния, 4,5 оксида кальция.
В качестве восстановителя использовали коксовую мелочь, содержащую, %: 85,5 углерода, 1,3 железа, 7,2 диоксида кремния, 1,3 оксида кальция. В опыте было переработано 50 т шихты. Полученные результаты работы агрегата отражены в таблице 1.
Пример 2. Испытания проводили в реконструированном в соответствии с заявляемым изобретением (п.1) пилотном агрегате КИВЦЭТ с параметрами и условиями, аналогичными Примеру 1. При этом фурма была установлена на боковой стенке шахты газоохладителя в плоскости ее поперечного осевого сечения на уровне нижней кромки перегородки, отделяющей шахту газоохладителя от плавильной камеры, с наклоном в сторону подины под углом к горизонтальной плоскости, определяемым коэффициентом k, равным 1,2. Всего было переработано 48 т шихты.
Пример 3. Испытания проводили в аналогичных Примеру 2 условиях, но фурма была смещена вниз от уровня нижней кромки перегородки, отделяющей шахту газоохладителя от плавильной камеры, на расстояние h, отношение которого к разности уровней нижних кромок перегородок Н составляло 0,2.
Пример 4. Испытания проводили в аналогичных Примеру 2 условиях, но фурма была смещена вверх от уровня нижней кромки перегородки, отделяющей шахту газоохладителя от плавильной камеры, на расстояние h, отношение которого к разности уровней нижних кромок перегородок Н составляло 0,2.
Пример 5. Испытания проводили в аналогичных Примеру 2 условиях, но фурма была наклонена в сторону подины под углом к горизонтальной плоскости, определяемым коэффициентом k, равным 1,11.
Пример 6. Испытания проводили в аналогичных Примеру 2 условиях, но фурма была наклонена в сторону подины под углом к горизонтальной плоскости, определяемым коэффициентом k, равным 1,25.
Пример 7. Испытания проводили в аналогичных Примеру 2 условиях, но фурма была наклонена в сторону подины под углом к горизонтальной плоскости, определяемым коэффициентом k, равным 1,00.
Пример 8. Испытания проводили в аналогичных Примеру 2 условиях, но фурма была наклонена в сторону подины под углом к горизонтальной плоскости, определяемым коэффициентом k, равным 1,30.
Пример 9. Испытания проводили в аналогичных Примеру 2 условиях, но фурма была установлена на торцевой стенке шахты газоохладителя в плоскости ее продольного осевого сечения с наклоном в сторону подины под углом к горизонтальной плоскости, определяемым коэффициентом k, равным 1,20.
Результаты испытаний по Примерам 1-9 приведены в таблице 1.
Пример 10. Испытания проводили в аналогичных Примеру 2 условиях, но с установкой двух фурм для подачи кислородсодержащего газа, по одной на каждой из противоположных боковых стенок шахты газоохладителя. Фурмы были установлены в одной плоскости поперечного осевого сечения шахты газоохладителя на уровне нижней кромки перегородки, отделяющей шахту газоохладителя от плавильной камеры, с наклоном в сторону подины под углом к горизонтальной плоскости, определяемым коэффициентом k, равным 1,20.
Пример 11. Испытания проводили в аналогичных Примеру 2 условиях, а установка двух фурм соответствовала Примеру 10 с той разницей, что одна из фурм была смещена от плоскости поперечного осевого сечения шахты газоохладителя на расстояние l, отношение которого к внутренней длине шахты L составляло 0,27.
Пример 12. Испытания проводили в аналогичных Примеру 2 условиях, а установка двух фурм соответствовала Примеру 10 с той разницей, что каждая из двух противоположных фурм была смещена от поперечного осевого сечения шахты газоохладителя на расстояние, отношение которого к ее внутренней длине – l/L составляло 0,20.
Пример 13. Испытания проводили в аналогичных Примеру 2 условиях, а установка двух фурм соответствовала Примеру 10 с той разницей, что каждая из двух противоположных фурм была смещена от поперечного осевого сечения шахты газоохладителя на расстояние, отношение которого к ее внутренней длине – l/L составляло 0,25.
Пример 14. Испытания проводили в аналогичных Примеру 2 условиях, а установка двух фурм соответствовала Примеру 10 с той разницей, что каждая из двух противоположных фурм была смещена от поперечного осевого сечения шахты газоохладителя на расстояние, отношение которого к ее внутренней длине – l/L составляло 0,27.
Пример 15. Испытания проводили в аналогичных Примеру 2 условиях, а установка двух фурм соответствовала Примеру 10 с той разницей, что каждая из двух противоположных фурм была смещена от поперечного осевого сечения шахты газоохладителя на расстояние, отношение которого к ее внутренней длине – l/L составляло 0,30.
Пример 16. Испытания проводили в аналогичных Примеру 2 условиях, а установка двух фурм соответствовала Примеру 10 с той разницей, что каждая из двух противоположных фурм была смещена от поперечного осевого сечения шахты газоохладителя на расстояние, отношение которого к ее внутренней длине – l/L составляло 0,35.
Показатели работы агрегата в Примерах 10-16 представлены в таблице 2 в сопоставлении с показателями Примера 2 таблицы 1.
Как видно из сравнения данных Примеров 1 и 2-9 в Таблице 1, предлагаемый агрегат, по сравнению с прототипом, позволяет увеличить прямое извлечение свинца в черновой металл на 3,03-3,06 отн.% и повысить удельную производительность агрегата на 0,4-0,6 отн.%. Показано, что использование предлагаемого уровня установки фурмы и диапазона угла наклона ее к подине обеспечивает достижение более высоких показателей прямого извлечения свинца в черновой металл и удельной производительности агрегата (ср.: Примеры 2,5 и 6 с Примерами 3, 4, 7 и 8).
Показано также, что выбор стенки шахты газоохладителя при установке одной фурмы для подачи кислородсодержащего газа практически не влияет на показатели работы агрегата (ср.: Примеры 2 и 9).
Установка двух фурм, по одной на каждой из противоположных боковых стенок шахты газоохладителя не дает улучшения показателей работы агрегата по сравнению с вариантом установки одной фурмы в случае, если каждая из этих фурм расположена в одной и той же поперечной плоскости сечения шахты газоохладителя (ср.: Примеры 2 и 10 таблицы 2).
Смещение осей фурм не зеркально по отношению к поперечному осевому сечению шахты газоохладителя дает улучшение показателей работы агрегата, но не обеспечивает достижения максимально возможного дополнительного эффекта в решении поставленной задачи (ср.: Примеры 2 и 11 с Примерами 13-15 в таблице 2). Зеркальное смещение фурм относительно поперечного осевого сечения шахты газоохладителя с использованием предлагаемого диапазона отношений расстояния от осей фурм до поперечного осевого сечения шахты газоохладителя к ее внутренней длине (0,25-0,30) дает дополнительное повышение прямого извлечения свинца на 0,13 отн.% и удельной производительности агрегата на 0,33 отн.% по отношению к варианту использования одной фурмы (ср.: Примеры 2 и 13-15). Снижение этого отношения менее предлагаемого предела 0,25 уменьшает прямое извлечение свинца и удельную производительность агрегата, приближая эти показатели к варианту работы агрегата с одной фурмой (ср.: Примеры 12 и 2). Увеличение данного отношения более предлагаемого предела 0,30 не приводит к дальнейшему улучшению показателей работы агрегата (ср.: Примеры 15 и 16), но заметно повышает вероятность термического повреждения кессонов за счет приближения к ним высокотемпературной области дожигания реакционных газов плавильной камеры.
Кроме того, как видно из Таблиц 1 и 2, настоящее изобретение позволяет дополнительно снизить удельные затраты электроэнергии на 6,2-6,8 отн.% и увеличить время полезного использования агрегата на 3-5% за счет прогрева области шлаковой ванны под шахтой газоохладителя, обеспечивающий торможение процесса формирования настылей в данной области агрегата.
| Таблица 1 |
| Сопоставление показателей работы прототипа и предлагаемого агрегата с одной фурмой |
Пример  |
Сравниваемые показатели |
Уровень фурмы h/ Н |
Коэфф. угла наклона фурмы k |
Средняя загрузка шихты, т/час |
Вынос пылей, % от шихты |
Температуры, °С |
Содержание свинца в обедненном шлаке, % |
Прямое извлечение свинца в металл, % |
Удельная производительность агрегата,  |
Удельный расход электроэнергии,  |
| расплава в факеле |
шлака под слоем восстановителя |
газон на выходе из газоохладителя |
| 1 прототип |
– |
– |
1,001 |
13,67 |
1360 |
1206 |
888 |
4,17 |
89,30 |
12,09 |
251,9 |
| 2 |
0,0 |
1,20 |
1,006 |
13,13 |
1410 |
1302 |
903 |
2,02 |
92,01 |
12,16 |
236,4 |
| 3 |
-0,2 |
1,20 |
1,003 |
13,46 |
1405 |
1298 |
909 |
2,10 |
91,98 |
12,12 |
237,4 |
| 4 |
+0,2 |
1,20 |
1,003 |
13,44 |
1406 |
1284 |
901 |
2,36 |
91,61 |
12,12 |
239,8 |
| 5 |
0,0 |
1,11 |
1,005 |
13,22 |
1408 |
1300 |
902 |
2,05 |
91,99 |
12,15 |
236,6 |
| 6 |
0,0 |
1,25 |
1,004 |
13,30 |
1407 |
1300 |
907 |
2,05 |
92,00 |
12,14 |
236,8 |
| 7 |
0,0 |
1,00 |
1,006 |
13,11 |
1412 |
1253 |
920 |
2,98 |
90,65 |
12,16 |
243,9 |
| 8 |
0,0 |
1,30 |
1,002 |
13,56 |
1403 |
1299 |
907 |
2,08 |
92,02 |
12,11 |
237,4 |
| 9 |
0,0 |
1,20 |
1,005 |
13,22 |
1408 |
1302 |
902 |
2,02 |
92,03 |
12,15 |
236,4 |
| Таблица 2 |
| Сопоставление показателей работы предлагаемого агрегата с одной и двумя фурмами |
Пример  |
Сравниваемые показатели |
| Кол-во фурм |
Смещение каждой из фурм I1/L; I2/L |
Средняя загрузка шихты, т/час |
Вынос пылей, % от шихты |
Температуры, °С |
Содержание свинца в обедненном шлаке, % |
Прямое извлечение свинца в металл, % |
Удельная производительность агрегата,  |
Удельный расход электроэнергии,  |
| расплава в факеле |
шлака под слоем восстановителя |
Газов на выходе из газоохладителя |
| 2 |
1 |
0 |
1,006 |
13,13 |
1410 |
1302 |
903 |
2,02 |
92,01 |
12,16 |
236,4 |
| 10 |
2 |
0; 0 |
1,007 |
13,04 |
1411 |
1301 |
908 |
2,04 |
91,96 |
12,17 |
236,4 |
| 11 |
2 |
0; 0,27 |
1,007 |
13,05 |
1411 |
1304 |
906 |
1,98 |
92,05 |
12,17 |
236,0 |
| 12 |
2 |
0,20; 0,20 |
1,007 |
13,02 |
1411 |
1305 |
904 |
1,97 |
92,07 |
12,17 |
235,8 |
| 13 |
2 |
0,25; 0,25 |
1,008 |
12,89 |
1413 |
1308 |
904 |
1,91 |
92,12 |
12,19 |
235,1 |
| 14 |
2 |
0,27; 0,27 |
1,009 |
12,81 |
1415 |
1309 |
905 |
1,89 |
92,13 |
12,20 |
234,9 |
| 15 |
2 |
0.30; 0,30 |
1,010 |
12,73 |
1416 |
1310 |
906 |
1,88 |
92,13 |
12,20 |
234,7 |
| 16 |
2 |
0.35; 0,35 |
1,010 |
12.68 |
1417 |
1310 |
907 |
1,88 |
92,12 |
12,21 |
234,6 |
Формула изобретения
1. Агрегат для переработки пылевидного свинец- и цинксодержащего сырья, включающий вертикальную плавильную камеру прямоугольного сечения с горелочным устройством, шахту газоохладителя, перегородку с водоохлаждаемыми медными элементами, отделяющую плавильную камеру от шахты газоохладителя, электропечь, отделенную от плавильной камеры перегородкой с водоохлаждаемыми медными элементами, кессонированный пояс, устройства для выпуска продуктов плавки, подину, при этом отношение разности уровней нижних кромок перегородок к расстоянию от свода плавильной камеры до нижней кромки перегородки, отделяющей электропечь от плавильной камеры, составляет 0,15-0,29, а отношение расстояния от нижней кромки этой перегородки до подины к разности уровней нижних кромок перегородок составляет 1,25-2,10, отличающийся тем, что на стенках шахты газоохладителя установлено не более двух фурм на уровне нижней кромки перегородки, отделяющей плавильную камеру от шахты газоохладителя, с наклоном в сторону подины под углом к горизонтальной плоскости, определяемым по формуле
=arctg(k· H/B), где – угол наклона фурм; k – коэффициент угла наклона фурм, равный 1,11-1,25;
Н – разность уровней нижних кромок перегородок; В – внутренняя ширина шахты газоохладителя.
2. Агрегат по п.1, отличающийся тем, что при установке двух фурм они расположены по одной на каждой из противоположных боковых стенок шахты газоохладителя с зеркальным смещением относительно ее поперечного осевого сечения.
3. Агрегат по п.1 или 2, отличающийся тем, что при установке двух фурм каждая из них расположена на расстоянии от поперечного осевого сечения шахты газоохладителя, отношение которого к внутренней длине шахты газоохладителя составляет 0,25-0,30.
РИСУНКИ
|
|