|
|
(21), (22) Заявка: 2007141726/06, 09.11.2007
(24) Дата начала отсчета срока действия патента:
09.11.2007
(46) Опубликовано: 20.06.2009
(56) Список документов, цитированных в отчете о поиске:
RU 2292000 С1, 20.01.2007. RU 2307290 С2, 27.09.2007. SU 1539478 А1, 30.01.1990. SU 1506234 А, 07.09.1989. ЕР 0151493 А, 14.08.1985.
Адрес для переписки:
302016, г.Орел, ул. Латышских Стрелков, 37, кв.410, С.А. Ермакову
|
(72) Автор(ы):
Ермаков Сергей Анатольевич (RU)
(73) Патентообладатель(и):
Ермаков Сергей Анатольевич (RU)
|
(54) ТЕПЛОВОЙ АККУМУЛЯТОР
(57) Реферат:
Изобретение относится к теплоэнергетике и может быть использовано в устройствах, охлаждающих жилые и иные помещения в теплый период года и нагревающих эти помещения в холодное время года. Сущность изобретения: тепловой аккумулятор содержит надземный теплообменник, сопряженный по тепловому потоку с реверсивным холодильным устройством, а также заглубленный в грунтовой массив подземный теплообменник, совместно с соединяющими теплообменники трубопроводами, образующими замкнутую систему, заполненную рабочим телом в виде жидкости и ее паров, в котором подземный теплообменник выполнен в виде опускной и подъемной труб; опускная труба свободно сообщается с надземным теплообменником, а подъемная труба сообщается с надземным теплообменником через устройство, содержащее накопительно-вытеснительный сосуд с устройствами, допускающими движение рабочего тела в направлении от подъемной трубы к накопительно-вытеснительному сосуду и в направлении от накопительно-вытеснительного сосуда к надземному теплообменнику и препятствующими движению рабочего тела в обратном направлении, а накопительно-вытеснительный сосуд либо снабжен устройством периодического нагрева и охлаждения сосуда, либо имеет ответвление, содержащее сообщающийся с накопительно-вытеснительным сосудом испарительный участок, контактирующий с источником тепловой энергии, расположенный за испарительным участком конденсационный участок, контактирующий с приемником тепловой энергии, расположенный за конденсационным участком накопительно-вытеснительный участок, который снабжен устройством периодического нагрева и охлаждения. Устройство позволит повысить производительность холодильной установки в летнее время за счет снижения температуры конденсатора при отводе тепловой энергии в грунтовой массив по сравнению с передачей ее атмосферному воздуху. 10 з.п. ф-лы, 1 ил.
Изобретение относится к теплоэнергетике и может быть использовано в области применения реверсивных кондиционеров-отопителей – устройств, охлаждающих жилые и иные помещения в теплый период года и нагревающих эти помещения в холодное время года.
Известен кондиционер-отопитель, состоящий из находящегося внутри помещения теплообменника, работающего в летний период года как испаритель, и внешнего теплообменника с вентилятором, работающего в летний период как конденсатор, рабочего тела, компрессора с электрическим приводом, четырехходового клапана и патрубков, связывающих названные агрегаты в единую установку с возможностью реверсирования ее работы, при котором внешний теплообменник в холодный период года служит испарителем, кондиционер-охладитель имеет в своем составе термосифоны, в виде вертикальных гравитационных тепловых труб, испарительные части которых погружены в грунт, а конденсаторные части выступают над поверхностью Земли и снабжены теплообменниками с воздухом, конденсаторные части тепловых труб с теплообменниками заключены вместе с внешним теплообменником и вентилятором в герметичный теплоизолированный кожух, снабженный люками с возможностью открытия последних для пропуска наружного воздуха во внутреннее пространство кожуха (RU 2307290 С2. Бутрин В.М. и др. «Кондиционер-отопитель» 29.07.2007 г.).
Устройство позволяет в холодный период года преобразовать низкопотенциальную тепловую энергию, содержащуюся в грунтовом массиве, в высокопотенциальную тепловую энергию, передаваемую отапливаемому помещению, а в теплый период года отвести избыточную тепловую энергию из охлаждаемого помещения и передать ее атмосферному воздуху.
Недостатком известного устройства является то обстоятельство, что заглубленные в грунт термосифоны, использованные в качестве грунтовых теплообменников, являются тепловыми диодами и способны переносить тепловую энергию только в одном направлении. Вследствие этого грунтовой массив выступает только в роли источника (генератора) низкопотенциальной тепловой энергии, в результате чего тепловой потенциал грунтового массива в теплый период года не успевает восстановиться и неуклонно снижается.
Настоящее изобретение направлено на устранение этого недостатка и решает техническую задачу обеспечения не только возможности отбора низкопотенциальной тепловой энергии от грунтового массива с целью ее использования для решения отопительных или иных задач, но и возможности передачи тепловой энергии, отводимой в теплый период года из охлаждаемого помещения либо другого источника теплоты, грунтовому массиву, который в этом случае выступает в роли теплоаккумулирующего материала высокой емкости.
Для решения этой технической задачи предложен тепловой аккумулятор, содержащий надземный теплообменник, сопряженный по тепловому потоку с реверсивным холодильным устройством/тепловым насосом или иным источником/приемником тепловой энергии, а также заглубленный в грунтовой массив подземный теплообменник, совместно с соединяющими теплообменники трубопроводами, образующие замкнутую систему, заполненную рабочим телом в виде жидкости и ее паров, в котором подземный теплообменник выполнен в виде опускной и подъемной труб, сообщающихся друг с другом в нижней зоне; опускная труба свободно сообщается с надземным теплообменником, а подъемная труба сообщается с надземным теплообменником через устройство, содержащее накопительно-вытеснительный сосуд с устройствами, допускающими движение рабочего тела в направлении от подъемной трубы к накопительно-вытеснительному сосуду и в направлении от накопительно-вытеснительного сосуда к надземному теплообменнику, и препятствующими движению рабочего тела в обратном направлении, а накопительно-вытеснительный сосуд либо снабжен устройством периодического нагрева и охлаждения сосуда, либо имеет ответвление, содержащее сообщающийся с накопительно-вытеснительным сосудом испарительный участок, контактирующий с источником теплоты (с нагревателем), расположенный за испарительным участком конденсационный участок, контактирующий с приемником теплоты (с охладителем), расположенный за конденсационным участком накопительно-вытеснительный участок, который снабжен устройством периодического нагрева и охлаждения накопительно-вытеснительного участка. Нижняя зона надземного теплообменника сообщается с опускной или подъемной трубой посредством трубопровода, снабженного запорным клапаном.
В качестве рабочего тела теплового аккумулятора предпочтительно применен хладагент с высоким рабочим давлением, например углекислый газ. В качестве устройств, допускающих движение рабочего тела в направлении от подъемной трубы к накопительно-вытеснительному сосуду и в направлении от накопительно-вытеснительного сосуда к надземному теплообменнику, и препятствующих движению рабочего тела в обратном направлении, предпочтительно применены обратные клапана.
В качестве приемника теплоты (охладителя конденсационного участка ответвления) предпочтительно применен испаритель холодильной установки.
В качестве источника теплоты (нагревателя испарительного участка ответвления) предпочтительно применен конденсатор холодильной установки.
В качестве устройства периодического нагрева и охлаждения накопительно-вытеснительного сосуда или накопительно-вытеснительного участка ответвления предпочтительно применен термоэлектрический модуль (элемент Пельтье).
Накопительно-вытеснительный участок ответвления предпочтительно содержит сосуд, сообщающийся нижней зоной с конденсационным участком ответвления, а верхней зоной с испарительным участком ответвления следующего уровня.
Форма и размеры сечения подъемного трубопровода и ответвлений предпочтительно обеспечивают возможность перемещения парожидкостной смеси по ним в режиме, при котором порции жидкости перемещаются по трубопроводу вместе с паровыми пробками без образования застойных зон жидкости.
Устройство, расположенное между подъемным трубопроводом и надземным теплообменником, предпочтительно содержит несколько накопительно-вытеснительных сосудов, размещенных по параллельной схеме, работа которых осуществлена со сдвигом фаз относительно друг друга.
Термин «сопряженный по тепловому потоку с реверсивным холодильным устройством/тепловым насосом» означает, что надземный теплообменник имеет тепловой контакт с конденсатором холодильной установки (источником тепловой энергии) и с испарителем теплового насоса (приемником тепловой энергии), которые предпочтительно соединены в одном устройстве с возможностью реверсивной работы. В качестве холодильной установки и теплового насоса могут быть применены устройства различных типов. В качестве источника/приемника тепловой энергии может быть применен теплообменник, сообщающийся с окружающей средой (например, с воздухом или с водой). Опускная и подъемная трубы подземного теплообменника могут иметь как вертикальные, так и наклонные или горизонтальные участки. Подъемная труба может проходить как внутри опускной трубы, так и вне ее.
Использование заявленного изобретения позволит получить следующий технический результат.
Устройство позволит в теплый период года накапливать низкопотенциальную тепловую энергию в грунтовом массиве, а в холодный период года извлекать ее для преобразования в высокопотенциальную тепловую энергию, используемую для отопления, горячего водоснабжения и других хозяйственных нужд.
Устройство позволит повысить производительность холодильной установки в летнее время за счет снижения температуры ее конденсатора при отводе тепловой энергии в грунтовой массив по сравнению с передачей тепловой энергии атмосферному воздуху, так как грунтовой массив в теплый период года имеет более низкую температуру по сравнению с атмосферным воздухом.
Применение ответвлений первого, второго и последующих уровней позволит снизить требования к мощности устройств принудительного нагрева и охлаждения накопительно-вытеснительного сосуда и позволит в значительной мере использовать для перемещения жидкого рабочего тела из подземного в надземный теплообменник энергию теплового поля, возникающего между источником и приемником тепловой энергии, в частном случае – между конденсатором и испарителем холодильной установки.
Применение нескольких накопительно-вытеснительных участков, перемещающих рабочее тело со сдвигом фаз относительно друг друга, позволит обеспечить равномерность подачи жидкого рабочего тела из подземного теплообменника в надземный теплообменник.
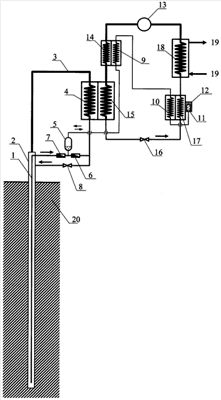
Сущность изобретения поясняется чертежом, где показан вариант конструкции теплового аккумулятора.
Конструкция устройства состоит из подъемной трубы 1, опускной трубы 2, парового трубопровода 3, теплообменника 4, накопительно-вытеснительного сосуда 5, обратных клапанов 6 и 7, запорного вентиля 8, испарителя 9, конденсатора 10, накопительно-вытеснительного сосуда 11, термоэлектрического модуля 12, компрессора 13, нагревателя 14, конденсатора/испарителя 15, дроссельного клапана 16, охладителя 17, испарителя/конденсатора 18. Испаритель/конденсатор 18 осуществляет охлаждение/нагрев теплоносителя 19. Подъемная и опускная трубы помещены в теплоаккумулирующий грунтовой массив 20. Компрессор 13, нагреватель 14, конденсатор/испаритель 15, дроссельный клапан 16, охладитель 17, испаритель/конденсатор 18 входят в состав реверсивного кондиционера-отопителя.
Работа теплового аккумулятора осуществлена следующим образом.
В теплый период года реверсивный кондиционер/отопитель работает в режиме холодильного устройства. Компрессор 13 откачивает пары рабочего тела из испарителя 18 и подает их под давлением через нагреватель 14 в конденсатор 15. В конденсаторе 15 пары рабочего тела конденсируются за счет передачи тепловой энергии теплообменнику 4. Сконденсированное рабочее тело из конденсатора 15 через дроссельный клапан 16 под действием перепада давлений возвращается через охладитель 17 в испаритель 18, в котором вновь испаряется, отбирая тепловую энергию от теплоносителя 19, протекающего через испаритель.
Находящееся в теплообменнике 4 жидкое рабочее тело под действием тепловой энергии, поступающей из конденсатора 15, испаряется. Образовавшиеся пары перемещаются по паровому трубопроводу 3 в опускную трубу 2, контактирующую с грунтовым массивом 20. За счет теплоотдачи грунтовому массиву пары рабочего тела конденсируются и стекают в нижнюю зону опускной трубы.
Возвращение жидкого рабочего тела из нижней зоны опускной трубы 2 в теплообменник 4 осуществляют при помощи накопительно-вытеснительного сосуда 5, функционирование которого осуществляют в два этапа.
На первом этапе термоэлектрический модуль 12 отбирает теплоту от накопительно-вытеснительного сосуда 11 и передает ее охладителю 17. В накопительно-вытеснительном сосуде 11 происходит конденсация паров рабочего тела с понижением внутреннего давления в сосуде. Под действием возникшего перепада давлений жидкое рабочее тело, заполняющее конденсатор 10, всасасывается в накопительно-вытеснительный сосуд 11. В освободившемся пространстве конденсатора 10 осуществляется конденсация паров рабочего тела, поступающих через испаритель 9 из накопительно-вытеснительного сосуда 5. Конденсация паров осуществляется за счет передачи тепловой энергии от конденсатора 10 к охладителю 17.
В результате удаления паров рабочего тела и частичного испарения жидкого рабочего тела, в накопительно-вытеснительном сосуде 5 снижается температура и давление. Под действием возникшего перепада давлений между подъемной трубой 1 и накопительно-вытеснительным сосудом 5 открывается обратный клапан 7, через который жидкое рабочее тело из нижней зоны опускной трубы 2 по подъемной трубе 1 засасывается в накопительно-вытеснительный сосуд 5, заполняя его. Заполнение накопительно-вытеснительного сосуда 5 жидким рабочим телом будет осуществляться до тех пор, пока внутренний объем накопительно-вытеснительного сосуда 11 и конденсатора 10 не заполнится жидким рабочим телом и в конденсаторе 10 не прекратится конденсация паров либо пока не будет осуществлен переход ко второму этапу.
На втором этапе осуществляют переполюсовку термоэлектрического модуля 12, в результате чего термоэлектрический модуль 12 начинает отбирать теплоту от охладителя 17 и передавать ее накопительно-вытеснительному сосуду 11. В накопительно-вытеснительном сосуде 11 происходит испарение рабочего тела с повышением внутреннего давления в сосуде. Жидкое рабочее тело, заполняющее накопительно-вытеснительный сосуд 11 и конденсатор 10, по трубопроводу поступает в испаритель 9, в котором под действием теплоты, поступающей от нагревателя 14, испаряется. Выделяющиеся горячие пары по трубопроводу перемещаются в накопительно-вытеснительный сосуд 5, повышая в нем давление и температуру.
При повышении давления внутри сосуда 5 выше, чем давление в верхней части подъемной трубы 1, автоматически перекрывается обратный клапан 7, а при повышении давления выше, чем давление в теплообменнике 4, автоматически открывается обратный клапан 6, через который жидкое рабочее тело из накопительно-вытеснительного сосуда 5 вытесняется в теплообменник 4. Вытеснение рабочего тела из накопительно-вытеснительного сосуда 5 в теплообменник 4 будет осуществляться до тех пор, пока жидкое рабочее тело из накопительно-вытеснительного сосуда 11 не будет полностью вытеснено в конденсатор 10 и в сосуде 11 прекратится испарение жидкости, либо пока не будет осуществлен переход к первому этапу. Таким образом, чередуя этапы, осуществляют перемещение жидкого рабочего тела из нижней зоны опускной трубы 2 в теплообменник 4.
В холодный период года реверсивный кондиционер/отопитель переводят в режим теплового насоса. Компрессор 13 откачивает пары рабочего тела из испарителя 15 через неработающий нагреватель 14 и подает их под давлением в конденсатор 18. В конденсаторе 18 пары рабочего тела конденсируются за счет передачи тепловой энергии теплоносителю 19. Сконденсированное рабочее тело из конденсатора 18 через неработающий охладитель 17 и дроссельный клапан 16 под действием перепада давлений возвращается в испаритель 15, в котором вновь испаряется, отбирая тепловую энергию от теплообменника 4.
В теплообменнике 4 осуществляется конденсация паров рабочего тела, поступающих по паровому трубопроводу 3 из опускной трубы 2. Сконденсированные пары рабочего тела из теплообменника 4 через запорный клапан 8 самотеком поступают в опускную трубу 2, по которой стекают вниз. Протекая по опускной трубе, жидкое рабочее тело под действием тепловой энергии, поступающей из грунтового массива 20, испаряется. Образовавшиеся пары перемещаются в верхнюю зону опускной трубы 2 и по паровому трубопроводу 3 возвращаются в теплообменник 4.
Формула изобретения
1. Тепловой аккумулятор, содержащий надземный теплообменник, сопряженный по тепловому потоку с реверсивным холодильным устройством/тепловым насосом или иным источником/приемником тепловой энергии, и заглубленный в грунт подземный теплообменник, совместно с соединяющими теплообменники трубопроводами образующие замкнутую систему, заполненную рабочим телом в виде жидкости и ее паров, отличающийся тем, что подземный теплообменник содержит опускную и подъемную трубы, сообщающиеся друг с другом в нижней зоне; опускная труба свободно сообщается с надземным теплообменником, а подъемная труба сообщается с надземным теплообменником через устройство, содержащее накопительно-вытеснительный сосуд, ограниченный устройствами, допускающими движение рабочего тела в направлении от подъемной трубы к накопительно-вытеснительному сосуду и в направлении от накопительно-вытеснительного сосуда к надземному теплообменнику и препятствующими движению рабочего тела в обратном направлении, а накопительно-вытеснительный сосуд либо снабжен устройством периодического нагрева и охлаждения сосуда, либо имеет ответвление, содержащее: сообщающийся с накопительно-вытеснительным сосудом испарительный участок, контактирующий с источником теплоты; расположенный за испарительным участком конденсационный участок, контактирующий с приемником теплоты; расположенный за конденсационным участком накопительно-вытеснительный участок, который снабжен устройством периодического нагрева и охлаждения накопительно-вытеснительного участка.
2. Тепловой аккумулятор по п.1, отличающийся тем, что в качестве рабочего тела применен хладагент с высоким рабочим давлением.
3. Тепловой аккумулятор по п.2, отличающийся тем, что в качестве рабочего тела применен углекислый газ.
4. Тепловой аккумулятор по п.1, отличающийся тем, что в качестве устройств, допускающих движение рабочего тела в направлении от подъемной трубы к накопительно-вытеснительному сосуду и в направлении от накопительно-вытеснительного сосуда к надземному теплообменнику и препятствующих движению рабочего тела в обратном направлении, применены обратные клапана.
5. Тепловой аккумулятор по п.1, отличающийся тем, что в качестве приемника теплоты применен испаритель холодильной установки.
6. Тепловой аккумулятор по п.1, отличающийся тем, что в качестве источника теплоты применен конденсатор холодильной установки.
7. Тепловой аккумулятор по п.1, отличающийся тем, что в качестве устройства периодического нагрева и охлаждения накопительно-вытеснительного сосуда или накопительно-вытеснительного участка ответвления применен термоэлектрический модуль (элемент Пельтье).
8. Тепловой аккумулятор по п.1, отличающийся тем, что накопительно-вытеснительный участок ответвления содержит сосуд, сообщающийся нижней зоной с конденсационным участком ответвления, а верхней зоной с испарительным участком ответвления следующего уровня.
9. Тепловой аккумулятор по п.1, отличающийся тем, что форма и размеры сечения подъемного трубопровода и ответвлений обеспечивают возможность перемещения парожидкостной смеси по ним в режиме, при котором порции жидкости перемещаются по трубопроводу вместе с паровыми пробками без образования застойных зон жидкости.
10. Тепловой аккумулятор по п.1, отличающийся тем, что опускная труба подземного теплообменника сообщается с нижней зоной надземного теплообменника посредством трубопровода, снабженного запорным клапаном.
11. Тепловой аккумулятор по п.1, отличающийся тем, что устройство, расположенное между подъемным трубопроводом и надземным теплообменником, содержит несколько накопительно-вытеснительных сосудов, размещенных по параллельной схеме, работа которых осуществлена со сдвигом фаз относительно друг друга.
РИСУНКИ
|
|