|
|
(21), (22) Заявка: 2007146725/06, 07.12.2007
(24) Дата начала отсчета срока действия патента:
07.12.2007
(46) Опубликовано: 20.06.2009
(56) Список документов, цитированных в отчете о поиске:
RU 2062904 C1, 27.06.1996. RU 2120566 C1, 20.10.1998. SU 1756609 A1, 23.08.1992. SU 1622619 A1, 23.01.1991. JP 57071108 A, 01.05.1982.
Адрес для переписки:
194044, Санкт-Петербург, Б. Сампсониевский пр., 64, ОАО “Компрессор”, М.Я. Подоксику
|
(72) Автор(ы):
Кузнецов Леонид Григорьевич (RU), Бердоносов Геннадий Федорович (RU), Котлов Николай Аркадьевич (RU)
(73) Патентообладатель(и):
Кузнецов Леонид Григорьевич (RU), Бердоносов Геннадий Федорович (RU), Котлов Николай Аркадьевич (RU)
|
(54) СПОСОБ СЖАТИЯ ГАЗА И УСТРОЙСТВО ДЛЯ ЕГО ОСУЩЕСТВЛЕНИЯ
(57) Реферат:
Изобретение относится к устройствам для сжатия и перемещения газообразных сред и может быть использовано в различных отраслях для производства и нагнетания газа. Для сжатия газа используется поршень в виде пленки из ферромагнитной жидкости (ФМЖ), который, перемещаясь по каналу, имеющему переменное (сужающееся к стороне нагнетания) сечение, под действием электромагнитных сил сжимает и разгоняет газ. Затем газ, попадая вместе с поршнем в разделитель, отделяется от ФМЖ и, пройдя конечный очиститель, поступает к потребителю, а ФМЖ направляется в начало цикла. Устройство для сжатия газа посредством жидкого рабочего тела, в качестве которого используют поршень в виде пленки из ферромагнитной жидкости, выполнено из набора последовательно расположенных пластин, имеющих соосно расположенные внутренние отверстия переменного сечения, уменьшающиеся от всасывания к нагнетанию. Устройство содержит распылитель магнитной жидкости, формирователь поршней, а также отделитель газа от ферромагнитной жидкости. На наружных поверхностях пластин размещены индукционные катушки, подключенные к источнику импульсного напряжения. Увеличивается КПД и виброакустические показатели. 2 н. и 2 з.п. ф-лы, 6 ил.
Способ сжатия газа и устройство для его осуществления
Изобретение относится к устройствам для сжатия и перемещения газообразных сред и может быть использовано в различных отраслях для производства и нагнетания газа.
Известны способы сжатия газа за счет возвратно-поступательного движения поршней, реализуемые различными конструкциями поршневых компрессоров.
Например, известен свободнопоршневой компрессор, содержащий в одном цилиндре с торцевыми крышками два соосных поршня и снабженный двумя рабочими камерами со встроенными впускными и выпускными клапанами, отличающийся тем, что в него введен двухсекционный линейный двигатель, роторами которого являются ферромагнитные поршни с короткозамкнутыми проводниками повышенной электропроводности (патент РФ 2016231, МПК F04B 35/04, публикация 1994 г.).
Известные компрессоры обладают общими недостатками, связанными с возвратно-поступательным движением поршней – пульсации газа на выходе из компрессора, возникновение колебательных сил, действующих на фундамент, повышенный шум и вибрация.
Известен способ сжатия газа посредством струйного компрессора, включающий сжатие газа за счет кинетической энергии струи жидкого рабочего тела, при этом газ увлекается потоком рабочей жидкости с последующим расширением газожидкостной смеси и одновременным превращением динамического напора (кинетической энергии потока) в политропный напор (давление газа).
Например, известно устройство для сжатия газа посредством струйного компрессора, включающего соосно расположенные входной патрубок с выходным соплом подвода рабочего тела, приемную камеру с боковым патрубком ввода газа и камеру смешения с диффузором, емкость с жидким рабочим телом и газом и сепаратор для отделения жидкого рабочего тела от газа, причем в качестве жидкого рабочего тела выбрана жидкость с удельным весом не ниже единицы (патент РФ 2184280, МПК F04F 5/54, публикация 2002 г.).
Однако малая производительность струйных компрессоров и низкий КПД, а также неудовлетворительная работа на переменных режимах не позволяют широкого использования данных компрессоров.
Известен электромагнитный насос, содержащий насосную камеру с установленным в ней поршнем из магнитного материала в оболочке из ферромагнитной жидкости, привод, выполненный в виде охватывающих насосную камеру на некотором расстоянии друг от друга попеременно питаемых электромагнитов (патент РФ 2062904, МПК F04B 17/04, публикация 1996 г.).
Задачей изобретения является разработка способа и устройства эффективного сжатия газа, увеличение КПД устройства и улучшение его виброакустических показателей.
Сущность предложенного изобретения состоит в том, что для сжатия газа используется поршень в виде пленки из ферромагнитной жидкости (ФМЖ), который, перемещаясь по каналу, имеющему переменное (сужающееся к стороне нагнетания) сечение, под действием электромагнитных сил сжимает и разгоняет газ, затем газ, попадая вместе с поршнем в разделитель, отделяется от ФМЖ и, пройдя конечный очиститель, поступает к потребителю, а ФМЖ направляется в начало цикла.
Устройство для сжатия газа посредством жидкого рабочего тела, в качестве которого используют поршень в виде пленки из ферромагнитной жидкости, выполнено из набора последовательно расположенных пластин, имеющих соосно расположенные внутренние отверстия переменного сечения, уменьшающиеся от всасывания к нагнетанию, при этом устройство содержит распылитель магнитной жидкости, формирователь поршней, а также отделитель газа от ферромагнитной жидкости, а на наружных поверхностях пластин размещены индукционные катушки, подключенные к источнику импульсного напряжения.
Для стабилизации пленки из ферромагнитной жидкости внутри набора пластин расположен дополнительный набор внутренних пластин, подключенных к источнику импульсного напряжения.
Устройство может быть выполнено в виде змеевика, навитого поверх отделителя жидкости.
В предлагаемой конструкции поршни из ферромагнитной жидкости (ФМЖ) движутся в одном направлении от всасывания к нагнетанию.
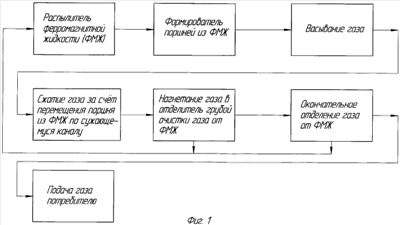
На фиг.1 представлена блок-схема работы заявляемого устройства с поршнями из ФМЖ, на фиг.2-6 показаны варианты исполнения заявляемого устройства с поршнями из ФМЖ.
На фиг.2 изображен общий вид устройства с поршнями из ФМЖ.
Устройство для сжатия газа содержит канал 1 переменного сечения (уменьшающегося по направлению к нагнетанию), распылитель ФМЖ 2, формирователь 3 поршней из ФМЖ, устройство 4, обеспечивающее движение поршней, отделитель газа 4 от ФМЖ.
Канал 1 образован набором последовательно расположенных пластин 5 (фиг.2), имеющих соосно расположенные внутренние отверстия переменного сечения, уменьшающиеся от всасывания к нагнетанию. На наружных поверхностях пластин размещены индукционные катушки 6, подключенные к источнику импульсного напряжения.
Пластины 5 могут быть выполнены, например, из фольгированного стеклопластика, и на них методом травления или другим методом образованы индукционные катушки 6, которые, при подаче на них импульсного тока, создают магнитное поле. В центральной части пластин выполнены отверстия, которые могут быть любой формы, но площадь которых должна плавно уменьшаться от всасывания устройства к нагнетанию. Между пластинами установлены уплотнительные прокладки (не показаны), препятствующие вытеканию ФМЖ и выходу газа.
Возможны другие варианты исполнения устройства с поршнями из ФМЖ, обеспечивающие описанный принцип работы (движение поршня от всасывания к нагнетанию под действием электромагнитных сил).
После подачи на формирователь поршней напряжения к распылителю, расположенному на торце устройства, под давлением подводится ФМЖ. При этом внутри канала образуется поршень 7 в виде пленки из ферромагнитной жидкости. После формирования поршня из ФМЖ напряжение на пластине формирователя поршней снимается, но сразу же подается на следующую пластину, расположенную справа от формирователя, заставляя поршень из ФМЖ переместиться вправо (фиг.2), потом импульс напряжения снимается с этой пластины и передается на следующую (принцип бегущей волны), заставляя поршень передвигаться от всасывания к нагнетанию. Между пластинами на участке всасывания газа после формирователя поршней из ФМЖ имеются каналы, через которые газ (в простейшем случае воздух) заполняет пространство вслед за поршнем из ФМЖ (т.е. происходит всасывание газа). В это же время происходит формирование следующего поршня из ФМЖ, когда первый поршень покидает зону всасывания, вслед за ним отправляется следующий поршень из ФМЖ и так далее. После выхода из устройства газ вместе с остатками поршней из ФМЖ направляется в отделитель ФМЖ. Пройдя очистку, газ попадает к потребителю, а ФМЖ насосом снова направляется к распылителю. Сжатие газа осуществляется за счет изменения объема газа, заключенного между двумя поршнями из ФМЖ при движении от всасывания до нагнетания, и за счет преобразования кинетической энергии газа в потенциальную (давление).
На фиг.4, 5 показан вариант конструкции устройства, в котором для стабилизации поршней из ФМЖ внутри канала, образованного внутренними отверстиями пластин, расположен дополнительный набор внутренних пластин 8, подключенных к источнику импульсного напряжения, которые расположены в одной плоскости с наружными пластинами, при этом импульс напряжения поступает и исчезает одновременно как на внутреннюю, так и на наружную пластину.
На фиг.6 показан вариант устройства с поршнями из ФМЖ, выполненный в виде змеевика, расположенного снаружи отделителя ФМЖ, что позволяет снизить габариты установки.
В предложенном устройстве отсутствует возвратно-поступательное движение поршней, перемещение сжатого газа происходит непрерывно, т.е. отсутствуют пульсации газа на выходе из устройства, происходящие в поршневом компрессоре, где они вызваны возвратно-поступательным движением поршня.
В предложенном устройстве отсутствует необходимость в преобразовании вращательного движения привода в возвратно-поступательное движение поршня, отсутствуют колебательные силы, действующие на фундамент, создающие излишний шум и вибрации.
Формула изобретения
1. Способ сжатия газа посредством жидкого рабочего тела, отличающийся тем, что в качестве рабочего тела используют поршень, который формируют в виде пленки из ферромагнитной жидкости, перемещаемой под действием электромагнитных сил по каналу с переменным сечением.
2. Устройство для сжатия газа посредством жидкого рабочего тела, отличающееся тем, что в качестве рабочего тела используют поршень в виде пленки из ферромагнитной жидкости, а устройство для сжатия выполнено из набора последовательно расположенных пластин, имеющих соосно расположенные внутренние отверстия переменного сечения, уменьшающиеся от всасывания к нагнетанию, при этом устройство содержит распылитель магнитной жидкости, формирователь поршней, отделитель газа от ферромагнитной жидкости, а на наружных поверхностях пластин размещены индукционные катушки, подключенные к источнику импульсного напряжения.
3. Устройство по п.2, отличающееся тем, что для стабилизации пленки из ферромагнитной жидкости внутри набора пластин расположен дополнительный набор внутренних пластин, подключенных к источнику импульсного напряжения.
4. Устройство по любому из пп.2 и 3, отличающееся тем, что оно выполнено в виде змеевика, навитого поверх отделителя жидкости.
РИСУНКИ
|
|