|
(21), (22) Заявка: 2007145899/06, 10.12.2007
(24) Дата начала отсчета срока действия патента:
10.12.2007
(46) Опубликовано: 20.06.2009
(56) Список документов, цитированных в отчете о поиске:
GB 1341241 А, 19.12.1973. US 4367413 A, 04.01.1983. RU 2014482 C1, 15.06.1994. FR 2100530 A, 24.03.1972. JP 61-255202 A, 12.11.1986. US 5376827 A, 27.12.1994.
Адрес для переписки:
443112, г.Самара, ул. Крайняя, 18-17, Н.Б. Болотину
|
(72) Автор(ы):
Болотин Николай Борисович (RU)
(73) Патентообладатель(и):
Болотин Николай Борисович (RU)
|
(54) ТУРБОВИНТОВОЙ ГАЗОТУРБИННЫЙ ДВИГАТЕЛЬ
(57) Реферат:
Турбовинтовой газотурбинный двигатель содержит турбокомпрессор с компрессором, камерой сгорания, выход из которой соединен газовым трактом с турбиной, и не менее двух электрических машин. В компрессор встроен электрогенератор. На входе в компрессор установлен биротативный электродвигатель, два вала которого соединены с передним и задним соосными воздушными винтами. Электрогенератор соединен с электродвигателем посредством силового кабеля. В линии силового кабеля установлен электронный регулятор. Изобретение направлено на повышение КПД и надежности силовой установки. 1 з.п. ф-лы, 3 ил.
Изобретение относится к двигателестроению, в том числе к авиационным и стационарным двигателям.
Известна силовая установка по патенту РФ 2189477, которая содержит газотурбинный двигатель – ГТД, газовый тракт, соединяющий этот газотурбинный двигатель со свободной турбиной, и нагрузку в виде электрогенератора, вал которого подсоединен к валу свободной турбины через муфту.
Недостатком этой силовой установки является то, что она имеет низкий КПД около 20%, что почти в 2 раза меньше, чем у современных дизельных установок.
Недостатками этого двигателя является низкий КПД силовой установки.
Известен газотурбинный двигатель по патенту РФ 2252316, который содержит турбокомпрессор, состоящий из компрессора, камеры сгорания и турбины, и не менее двух электрических машин (электрогенератор и электродвигатель), встроенных в турбокомпрессор. Система постоянных магнитов установлена на внутренней поверхности ротора турбокомпрессора, а статор электрической машины установлен на корпусе подшипниковой опоры, т.е. на малом диаметре.
Недостаток – низкая мощность электрогенератора и электродвигателя из-за их расположения на небольшом диаметре.
Известен газотурбинный двигатель по патенту Великобритании 1341241, который содержит турбокомпрессор, состоящий из компрессора, камеры сгорания и турбины, и не менее двух электрических машин (электрогенератор и электродвигатель), встроенных в турбокомпрессор. Система постоянных магнитов установлена на внутренней поверхности ротора турбокомпрессора, а статор электрической машины установлен на корпусе подшипниковой опоры, т.е. на малом диаметре.
Недостатки этого двигателя: очень маленькая мощность электрических машин, связанная с тем, что они размещены на малом диаметре и имеют по одной ступени. Кроме того, возникают проблемы с охлаждением обмоток статора, размещенных внутри двигателя в зоне высоких температур, которая достигает для современных ГТД 1500°С. Большой электрический ток дополнительно нагревает обмотки электрогенератора и электродвигателя и делает проблему их охлаждения практически неразрешимой при расположении обмоток в зоне высоких температур. Такая конструкция применима для использования электрической машины в качестве стартера или в качестве вспомогательного электрогенератора для питания агрегатов газотурбинного двигателя и самолета. Кроме того, газотурбинный двигатель имеет низкий КПД (экономичность), и для его запуска требуется большая мощность стартера из-за инерционности его роторов.
Задачи создания изобретения: повышение мощности электрических машин, экономичности и надежности турбовинтового газотурбинного двигателя.
Решение указанных задач достигнуто за счет того, что турбовинтовой газотурбинный двигатель, содержащий турбокомпрессор с компрессором, камерой сгорания, выход из которой соединен газовым трактом с турбиной, и не менее двух электрических машин, при этом в компрессор встроен электрогенератор, на входе в компрессор установлен биротативный электродвигатель, два вала которого соединены с передним и задним соосными воздушными винтами, электрогенератор соединен с биротативным электродвигателем посредством силового кабеля. В линии силового кабеля установлен электронный регулятор.
Предложенное техническое решение обладает новизной, изобретательским уровнем и промышленной применимостью, что подтверждается проведенными патентными исследованиями. Для реализации изобретения достаточно применения известных узлов и деталей, ранее разработанных и реализованных в конструкции газотурбинных двигателей и в машиностроении.
Сущность изобретения поясняется на фиг.1 3, где:
на фиг.1 приведена схема турбовинтового газотурбинного двигателя,
на фиг.2 приведена схема охлаждения обмоток электрогенератора и электродвигателя,
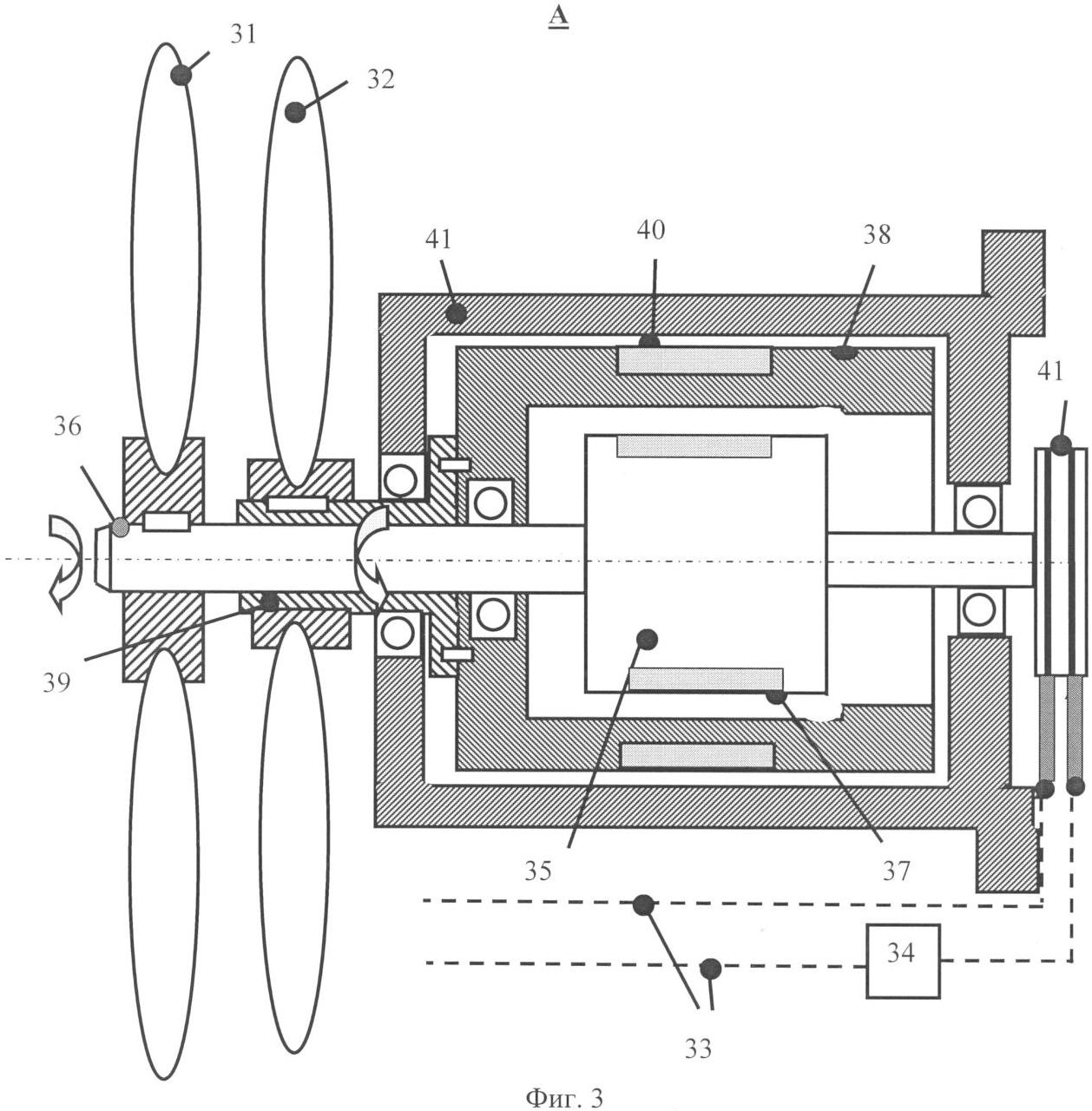
на фиг.3 приведена схема биротативного электродвигателя.
Предложенное техническое решение (фиг.1) содержит турбокомпрессор 1, содержащий компрессор 2, камеру сгорания 3, турбину 4 и выхлопное устройство 5. Газотурбинный двигатель содержит две электрические машины, одна из них встроена в газогенератор 1, а именно – в компрессор 2 встроен электрогенератор 6. Ротор компрессора 2 и турбины 4 соединены валом турбогенератора 7.
Турбовинтовой газотурбинный двигатель содержит систему топливоподачи с топливопроводом низкого давления 8, подключенным ко входу в топливный насос 9, имеющий привод 10, топливопровод высокого давления 11, вход которого соединен с топливным насосом 9, а выход соединен с кольцевым коллектором 12, кольцевой коллектор 12 соединен с форсунками 13 камеры сгорания 3.
Компрессор 2 содержит статор компрессора 14 и ротор компрессора 15. Кроме того, компрессор 2 содержит направляющие лопатки компрессора 17 и рабочие лопатки компрессора 18.
Турбина 4 содержит статор турбины 19 и ротор турбины 20, который кинематически связан с валом турбокомпрессора 7 и ротором компрессора 17. Кроме того, турбина 4 содержит сопловые аппараты 21 и рабочие лопатки 22 (количество ступеней турбины может быть от одной до нескольких).
Далее находятся опора 23 и выхлопное устройство 5.
Электрогенератор 6 содержит статорные обмотки 24, выполненные на статоре 14, и систему постоянных магнитов 25, установленную на рабочих лопатках компрессора 18.
Статорные обмотки 24 электрогенератора 6 заключены в кожух 26 компрессора 2 (фиг.2). К внутренним полостям «Б» кожуха 26 подключена система охлаждения 27, соединенная с внутренней полостью «В» турбокомпрессора 1. В системе охлаждения 27 установлен клапан 28. К полости «В» подсоединен трубопровод сброса охлаждающего воздуха 29 (фиг.2).
Перед турбокомпрессором установлен биротативный электродвигатель 30, к которому подсоединены два соосных воздушных винта: передний винт 31 и задний винт 32. Биротативный электродвигатель 30 кабелем 33 соединен с электрогенератором 6. В линии кабеля 33 может быть установлен электронный регулятор 34.
Биротативный электродвигатель 30 (фиг.3), содержащий внутренний ротор 35 с внутренним валом 36 и постоянными магнитами 37, внешний ротор 38 с внешним валом 39, с обмотками 40 и статор 41. Для подвода электроэнергии служит коллектор 41.
Электронный регулятор 34 предназначен для того, чтобы регулировать силу тока, отключать ток и изменять его полярность для реверсирования воздушных винтов 31 и 32.
При работе турбовинтового газотурбинного двигателя осуществляют его запуск путем подачи электроэнергии на биротативный электродвигатель 30 от внешнего источника энергии (не показано). Потом включают привод топливного насоса 10, и топливный насос 9 подает топливо в камеру сгорания 3, точнее в форсунки 13, где оно воспламеняется при помощи электрозапальника (электрозапальник не показан). Турбина 4 раскручивается, и электрогенератор 6 вырабатывает электрический ток, который по силовому кабелю 33 подается на биротативный электродвигатель 30. Биротативный электродвигатель 30 в дальнейшем приводит в действие воздушные винты 31 и 32, а внешний источник тока отключается.
При останове турбовинтового газотурбинного двигателя все операции осуществляются в обратной последовательности. Так как роторы биротативного электродвигателя 30 имеют рабочие обороты, в несколько раз меньшие, чем вал турбогенератора 7, то отпадает необходимость в применении тяжелого и дорогостоящего редуктора, который применяется, например, на двигателе НК 12 MB. Воздушные винты 31 и 32 вращаются в противоположные стороны с одинаковыми частотами вращения.
Применение изобретения позволило:
1. Повысить мощность электрогенератора за счет его размещения на максимально возможном диаметре.
2. Повысить КПД газотурбинного двигателя за счет более рациональной компоновки двигателя, наличия двух соосных воздушных винтов, дающих дополнительную тягу, отсутствия жесткой кинематической связи между компрессором и воздушными винтами. Это позволило спроектировать оптимальные компрессор, воздушные винты и турбину, например, на разные рабочие обороты и оптимально согласовать их совместную работу.
3. Улучшить надежность силовой установки за счет размещения катушек электрического генератора вне двигателя в зоне низких температур на компрессоре, предпочтительно ближе к его входу.
4. Обеспечить запуск газотурбинного двигателя и питание электроэнергией очень энергоемких потребителей. Облегчить запуск за счет раскрутки только ротора компрессора, без раскручивания воздушных винтов.
5. Облегчить условия работы воздушных винтов за счет отсутствия его механической связи с валом компрессора и возможности их взаимного проскальзывания и работы при в несколько раз различающихся частотах вращения.
6. Уменьшить вес и габариты двигателя за счет отсутствия редуктора между компрессором и воздушными винтами.
7. Управлять режимом работы воздушных винтов, в том числе отключать и реверсировать электронным регулятором.
Формула изобретения
1. Турбовинтовой газотурбинный двигатель, содержащий турбокомпрессор с компрессором, камерой сгорания, выход из которой соединен газовым трактом с турбиной, и не менее двух электрических машин, при этом в компрессор встроен электрогенератор, на входе в компрессор установлен биротативный электродвигатель, два вала которого соединены с передним и задним соосными воздушными винтами, электрогенератор соединен с электродвигателем посредством силового кабеля.
2. Турбовинтовой газотурбинный двигатель по п.1, отличающийся тем, что в линии силового кабеля установлен электронный регулятор.
РИСУНКИ
|