|
|
(21), (22) Заявка: 2007145385/06, 06.12.2007
(24) Дата начала отсчета срока действия патента:
06.12.2007
(46) Опубликовано: 20.06.2009
(56) Список документов, цитированных в отчете о поиске:
GB 1341241 А, 19.12.1973. ЕР 0305763 А1, 08.03.1989. RU 2014482 С1, 15.06.1994. FR 2100530 А, 24.03.1972. US 2743375 А, 24.01.1956. US 5376827 А, 27.12.1994. SU 1020592 А, 30.05.1983.
Адрес для переписки:
443112, г.Самара, ул. Крайняя, 18-17, Н.Б. Болотину
|
(72) Автор(ы):
Болотин Николай Борисович (RU)
(73) Патентообладатель(и):
Болотин Николай Борисович (RU)
|
(54) ТУРБОВИНТОВОЙ ГАЗОТУРБИННЫЙ ДВИГАТЕЛЬ
(57) Реферат:
Турбовинтовой газотурбинный двигатель содержит турбокомпрессор с компрессором, камерой сгорания, выход из которой соединен газовым трактом с турбиной, и не менее двух электрических машин, встроенных в турбокомпрессор. В компрессор встроен электродвигатель, а в турбину – электрогенератор. Турбина выполнена свободной. Электрогенератор соединен с электродвигателем посредством силового кабеля. Обмотки электродвигателя установлены на статоре компрессора. Система постоянных магнитов электродвигателя закреплена на рабочих лопатках компрессора. Обмотки электрогенератора установлены на статоре турбины. Система постоянных магнитов электрогенератора закреплена на рабочих лопатках турбины. Обмотки электродвигателя и электрогенератора заключены в кожуха, к которым подведена система воздушного охлаждения. На входе в турбокомпрессор установлен воздушный винт, соединенный валом с дополнительным электродвигателем, соединенным дополнительным силовым кабелем с электрогенератором. Изобретение направлено на повышение КПД и надежности силовой установки. 3 ил.
Изобретение относится к двигателестроению, в том числе к авиационным и стационарным двигателям.
Известна силовая установка по патенту РФ 2189477, которая содержит газотурбинный двигатель – ГТД, газовый тракт, соединяющий этот газотурбинный двигатель со свободной турбиной, и нагрузку в виде электрогенератора, вал которого подсоединен к валу свободной турбины через муфту.
Недостатком этой силовой установки является то, что она имеет низкий КПД около 20%, что почти в 2 раза меньше, чем у современных дизельных установок.
Недостатком этого двигателя является низкий КПД силовой установки.
Известен газотурбинный двигатель по патенту РФ 2252316, который содержит турбокомпрессор, состоящий из компрессора, камеры сгорания и турбины, и не менее двух электрических машин (электрогенератор и электродвигатель), встроенных в турбокомпрессор. Система постоянных магнитов установлена на внутренней поверхности ротора турбокомпрессора, а статор электрической машины установлен на корпусе подшипниковой опоры, т.е. на малом диаметре.
Недостаток – низкая мощность электрогенератора и электродвигателя из-за их расположения на небольшом диаметре.
Известен газотурбинный двигатель по патенту Великобритании 1341241, содержащий турбокомпрессор, состоящий из компрессора, камеры сгорания и турбины, и не менее двух электрических машин (электрогенератор и электродвигатель), встроенных в турбокомпрессор. Система постоянных магнитов установлена на внутренней поверхности ротора турбокомпрессора, а статор электрической машины установлен на корпусе подшипниковой опоры, т.е. на малом диаметре.
Недостатки этого двигателя: очень маленькая мощность электрических машин, связанная с тем, что они размещены на малом диаметре и имеют по одной ступени. Кроме того, возникают проблемы с охлаждением обмоток статора, размещенных внутри двигателя в зоне высоких температур, которые достигают для современных ГТД 1500°С. Большой электрический ток дополнительно нагревает обмотки электрогенератора и электродвигателя и делает проблему их охлаждения практически неразрешимой при расположении обмоток в зоне высоких температур. Такая конструкция применима для использования электрической машины в качестве стартера или в качестве вспомогательного электрогенератора для питания агрегатов газотурбинного двигателя и самолета. Кроме того, газотурбинный двигатель имеет низкий КПД (экономичность), и для его запуска требуется большая мощность стартера из-за инерционности его роторов.
Задачи создания изобретения: повышение мощности электрических машин, экономичности и надежности двигателя.
Решение указанных задач достигнуто за счет того, что турбовинтовой газотурбинный двигатель, содержащий турбокомпрессор с компрессором, камерой сгорания, выход из которой соединен газовым трактом с турбиной, и не менее двух электрических машин, встроенных в турбокомпрессор, при этом в компрессор встроен электродвигатель, а в турбину – электрогенератор, причем турбина выполнена свободной, а электрогенератор соединен с электродвигателем посредством силового кабеля, отличающий тем, что обмотки электрогенератора установлены на статоре турбины, система постоянных магнитов электродвигателя закреплена на рабочих лопатках компрессора, обмотки электрогенератора установлены на статоре турбины, система постоянных магнитов электрогенератора закреплена на рабочих лопатках турбины, при этом обмотки электродвигателя и электрогенератора заключены в кожуха, к которым подведена система воздушного охлаждения, на входе в турбокомпрессор установлен воздушный винт, соединенный валом с дополнительным электродвигателем, соединенным дополнительным силовым кабелем с электрогенератором.
Для реализации изобретения достаточно применения известных узлов и деталей, ранее разработанных и реализованных в конструкции газотурбинных двигателей и в машиностроении.
Сущность изобретения поясняется на фиг.1 3, где:
на фиг.1 приведена схема турбовинтового газотурбинного двигателя,
на фиг.2 приведена схема охлаждения обмоток электрогенератора и электродвигателя,
на фиг.3 приведена схема дополнительного электродвигателя.
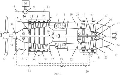
Предложенное техническое решение (фиг.1) содержит турбокомпрессор 1, содержащий компрессор 2, камеру сгорания 3 и турбину 4 и выхлопное устройство 5. Газотурбинный двигатель содержит две электрические машины, встроенные в газогенератор 1, при этом в компрессор 2 встроен электродвигатель 6, в турбину 4 встроен электрогенератор 7. Турбина 4 выполнена свободной, т.е. ее вал не связан с валом компрессора.
Турбовинтовой газотурбинный двигатель содержит систему топливоподачи с топливопроводом низкого давления 8, подключенным ко входу в топливный насос 9, имеющий привод 10, топливопровод высокого давления 11, вход которого соединен с топливным насосом 9, а выход соединен с кольцевым коллектором 12, кольцевой коллектор 12 соединен с форсунками 13 камеры сгорания 3.
Компрессор 2 содержит статор 14 и ротор 15 с валом 16. Кроме того, компрессор 2 содержит направляющие лопатки 17 и рабочие лопатки 18.
Турбина 3 содержит статор 9 и ротор 20 с валом 21, который кинематически не связан с валом 16 компрессора 2, т.е. турбина 4 выполнена свободной. Кроме того, турбина 4 содержит сопловые аппараты 22 и рабочие лопатки 23 (количество ступеней свободной турбины может быть от одной до нескольких). Далее находятся опора 24 и выхлопное устройство 5.
Основным отличием двигателя являются две электрические машины, а именно электродвигатель 6, совмещенный с компрессором 2, и электрогенератор 7, совмещенный с турбиной 4. Электродвигатель 6 содержит статорные обмотки 25, выполненные на статоре 14 компрессора 2, и систему постоянных магнитов 26, установленную на рабочих лопатках 18 компрессора 2.
Электрогенератор 7 содержит статорные обмотки 27 электрогенератора 7, установленные на статоре 19 турбины 4, и систему постоянных магнитов 28 электрогенератора 7, установленную на рабочих лопатках 23 турбины 4. Электродвигатель 6 соединен с электрогенератором 7 силовым кабелем 29.
Статорные обмотки 27 электродвигателя 6 заключены в кожух 30 компрессора 2, а статорные обмотки 27 электрогенератора 7 заключены в кожух 31 турбины 4 (фиг.2). К внутренним полостям 32 и 33 кожухов 30 и 31 подключена система охлаждения 34, соединенная с внутренней полостью 35 турбокомпрессора 1. К полости 33 подсоединен трубопровод сброса охлаждающего воздуха 36 (фиг.2).
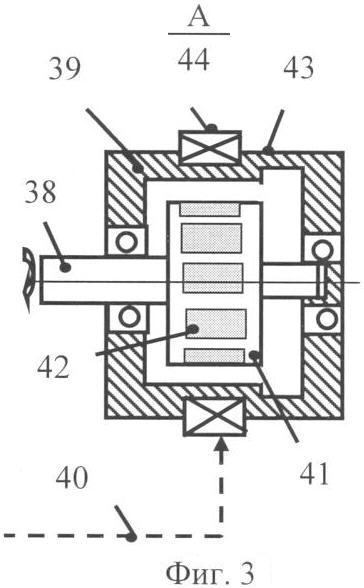
Перед турбокомпрессором установлен воздушный винт 37, соединенный валом 38 с дополнительным электродвигателем 39. Дополнительный электродвигатель 39 дополнительным силовым кабелем 40 соединен с электрогенератором 7.
Дополнительный электродвигатель 39 может быть выполнен любой конструкции: переменного или постоянного тока, асинхронный или с обмотками возбуждения на якоре и статоре. Для примера (фиг.3) приведен электродвигатель 39, содержащий ротор 41 с постоянными магнитами 42 и статор 43 с обмотками возбуждения 44.
В линии дополнительного силового кабеля 40 (фиг.2) может быть установлен электронный регулятор 45, позволяющий регулировать силу тока, отключать ток и изменять его полярность для реверсирования воздушного винта 37.
При работе турбовинтового газотурбинного двигателя осуществляют его запуск путем подачи электроэнергии на электродвигатель 6 от внешнего источника энергии (на фиг.1 3 не показано). Потом включают привод топливного насоса 10, и топливный насос 9 подает топливо в камеру сгорания 3, точнее в форсунки 13, где оно воспламеняется при помощи электрозапальника (на фиг.1 3 электрозапальник не показан). Турбина 4 раскручивается, и электрогенератор 7 вырабатывает электрический ток, который по силовому кабелю 31 подается на электродвигатель 6. Электродвигатель 6 в дальнейшем приводит в действие компрессор 2, а внешний источник тока отключается. Потом по дополнительному силовому кабелю 40 электрическая энергия подается на дополнительный электродвигатель 37, который раскручивает через вал 38 воздушный винт 37.
При остановке турбовинтового газотурбинного двигателя все операции осуществляются в обратной последовательности. Так как дополнительный электродвигатель 37 имеет рабочие обороты в несколько раз меньшие, чем вал 14 компрессора 2, то отпадает необходимость в применении тяжелого и дорогостоящего редуктора, который применяется, например, на двигателе НК 12 MB.
Применение изобретения позволило:
1. Повысить мощность электрических машин: электрогенератора и электродвигателя за счет их размещения на максимально возможном диаметре.
2. Повысить КПД газотурбинного двигателя за счет более рациональной компоновки двигателя, наличия винта, дающего дополнительную тягу, отсутствия жесткой кинематической связи между компрессором и турбиной и между компрессором и воздушным винтом. Это позволило спроектировать оптимальные компрессор, воздушный винт и турбину, например, на разные рабочие обороты и оптимально согласовать их совместную работу.
3. Улучшить надежность силовой установки за счет отказа от вала, соединяющего компрессор и турбину, размещения катушек электрических машин вне двигателя.
4. Обеспечить запуск газотурбинного двигателя и питание электроэнергией очень энергоемких потребителей. Облегчить запуск за счет раскрутки только ротора компрессора, без раскручивания ротора турбины и воздушного винта.
5. Облегчить условия работы винта за счет отсутствия его механической связи с валом компрессора и возможности их взаимного проскальзывания и работы при в несколько раз различающихся частотах вращения.
6. Уменьшить вес и габариты двигателя за счет отсутствия редуктора между валом компрессора и воздушным винтом.
7. Управлять режимом работы воздушного винта, в том числе отключать и реверсировать электронным регулятором.
Формула изобретения
Турбовинтовой газотурбинный двигатель, содержащий турбокомпрессор с компрессором, камерой сгорания, выход из которой соединен газовым трактом с турбиной, и не менее двух электрических машин, встроенных в турбокомпрессор, при этом в компрессор встроен электродвигатель, а в турбину – электрогенератор, причем турбина выполнена свободной, а электрогенератор соединен с электродвигателем посредством силового кабеля, отличающийся тем, что обмотки электродвигателя установлены на статоре компрессора, система постоянных магнитов электродвигателя закреплена на рабочих лопатках компрессора, обмотки электрогенератора установлены на статоре турбины, система постоянных магнитов электрогенератора закреплена на рабочих лопатках турбины, при этом обмотки электродвигателя и электрогенератора заключены в кожуха, к которым подведена система воздушного охлаждения, на входе в турбокомпрессор установлен воздушный винт, соединенный валом с дополнительным электродвигателем, соединенным дополнительным силовым кабелем с электрогенератором.
РИСУНКИ
|
|