|
|
(21), (22) Заявка: 2008103856/03, 31.01.2008
(24) Дата начала отсчета срока действия патента:
31.01.2008
(46) Опубликовано: 20.06.2009
(56) Список документов, цитированных в отчете о поиске:
RU 2263776 C1, 10.12.1996. SU 907247 A1, 23.02.1982. SU 1055874 A1, 23.11.1983. SU 1177479 A1, 07.09.1985. SU 1641994 A2, 15.04.1991. SU 1770563 A1, 23.10.1992. SU 1790674 A3, 23.01.1993. US 2002113484 A1, 22.08.2002.
Адрес для переписки:
630091, г.Новосибирск-91, Красный пр-кт, 54, ИГД СО РАН
|
(72) Автор(ы):
Леконцев Юрий Михайлович (RU), Сажин Павел Васильевич (RU), Клишин Владимир Иванович (RU)
(73) Патентообладатель(и):
Институт горного дела Сибирского отделения Российской академии наук (RU)
|
(54) ЩЕЛЕОБРАЗОВАТЕЛЬ
(57) Реферат:
Изобретение относится к горному делу, используется для образования поперечных зародышевых трещин в массиве горных пород с целью его направленного разупрочнения путем развития плоскости флюидоразрыва и обеспечения оптимальных условий проведения процессов подземной разработки полезных ископаемых. Щелеобразователь включает стакан, в котором выполнены продольные окна и перекрестно установлены режущие органы с возможностью перемещения по перекрестным оппозитным направляющим уклонам и выхода их режущих частей из продольных окон стакана по указанным уклонам, пружину возврата. Указанные уклоны выполнены на внутренней поверхности стакана. Режущие органы установлены на поршне, размещенном внутри стакана с возможностью осевого перемещения, в полости которого установлен регулируемый подпорный клапан. Между поршнем и стаканом размещена пружина возврата. Изобретение позволяет повысить надежность работы за счет регулирования нагрузок на режущие органы в процессе резания и повысить эффективность за счет возможности нарезания инициирующей щели на любом участке шпура. 2 ил.
Техническое решение относится к горному делу и может быть использовано для образования поперечных зародышевых трещин в массиве горных пород с целью его направленного разупрочнения путем развития плоскости флюидоразрыва и обеспечения оптимальных условий проведения процессов подземной разработки полезных ископаемых.
Известно устройство для образования поперечных полостей на стенках скважин (патент СССР 1790674, Е21С 37/00, опубл. в БИ 3 за 1993 г.), включающее толкатель с шарнирно закрепленными на нем режущими органами и упорную направляющую. Толкатель выполнен с наконечником в форме двузубой вилки, между зубьями которой перекрестно установлены режущие органы, а упорная направляющая выполнена в форме стакана с продольными окнами для выхода режущих органов и донными перекрестными оппозитными уклонами для разворота режущих органов. Толкатель установлен в стакане с возможностью упора зубьями вилки в его дно в конце рабочего хода и подпружинен относительно стакана.
Недостатком этого устройства является сложность его конструкции. Кроме того, прямолинейные уклоны обуславливают взаимодействие режущих органов со стенками скважины всей режущей поверхностью, что значительно повышает нагрузку на режущие органы и негативно сказывается на их долговечности, снижая тем самым эффективность и надежность данного устройства.
Наиболее близким по технической сущности и совокупности существенных признаков является щелеобразователь (патент РФ 2263776, Е21В 43/26, Е21С 37/00, опубл. в БИ 31 за 2005 г.), включающий стакан с продольными окнами, в котором перекрестно установлены режущие органы, толкатель, перекрестные оппозитные направляющие уклоны, и пружину возврата толкателя. Режущие органы установлены с возможностью выхода их режущих частей из продольных окон стакана по указанным уклонам при перемещении толкателя. Перекрестные оппозитные направляющие уклоны выполнены на толкателе и имеют фигурный профиль. Толкатель установлен с возможностью в движения в стакан, а пружина возврата толкателя размещена на стакане и зафиксирована в исходном положении, при этом режущие органы установлены на общей оси и зафиксированы в исходном положении на указанных уклонах с помощью фигурных пружин.
Недостатком этого щелеобразователя является то, что при работе осевое усилие подачи со стороны бурового станка передается непосредственно на режущие органы, что ведет к их быстрому износу. Кроме того, данная конструкция щелеобразователя позволяет нарезать инициирующую щель только в призабойной части шпура, так как процесс резания начинается после упора инструмента в забой. Указанные недостатки значительно снижают надежность и эффективность устройства.
Технической задачей предлагаемого решения является повышение надежности работы щелеобразователя за счет регулирования нагрузок, действующих на режущие органы в процессе резания, и повышение эффективности устройства за счет возможности нарезания инициирующей щели на любом участке шпура.
Поставленная цель достигается тем, что в щелеобразователе, включающем стакан, в котором выполнены продольные окна и перекрестно установлены режущие органы с возможностью перемещения по перекрестным оппозитным направляющим уклонам и выхода их режущих частей из продольных окон стакана по указанным уклонам, пружину возврата, согласно техническому решению перекрестные оппозитные направляющие уклоны выполнены на внутренней поверхности стакана. Режущие органы установлены на поршне, размещенном внутри стакана с возможностью осевого перемещения, в полости которого установлен регулируемый подпорный клапан. При этом между поршнем и стаканом размещена пружина возврата. Такая совокупность признаков существенно повышает надежность работы щелеобразователя, так как за счет регулирования усилия открытия подпорного клапана можно изменять усилие подачи, передаваемое на режущие органы. Кроме того, наличие в конструкции поршня позволяет нарезать инициирующую щель в любом месте шпура, так как он является упором для режущих органов, и его осевое перемещение под действием давления рабочей жидкости обеспечивает выход режущих органов через продольные окна стакана, что значительно повышает эффективность устройства.
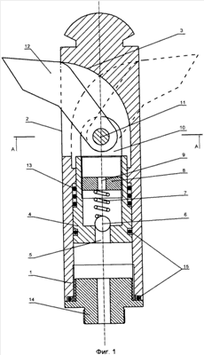
Сущность технического решения поясняется описанием конструкции щелеобразователя и чертежами фиг.1, на которой представлен общий вид щелеобразователя в продольном разрезе с возможным положением режущих органов в процессе работы, и фиг.2, на которой показано сечение А-А на фиг.1.
Щелеобразователь состоит из стакана 1 (фиг.1), в котором выполнены продольные окна 2. На внутренней поверхности стакана 1, в его головной части, профрезерованы перекрестные оппозитные направляющие уклоны 3 (далее – направляющие уклоны 3). Внутри стакана 1 установлен поршень 4, имеющий в донной части сквозное отверстие 5, закрытое шариком 6 подпорного клапана (поз. не обозначен), который, помимо шарика 6, состоит из рабочей пружины 7 и гайки 8 со сквозным отверстием 9. С противоположной стороны поршень 4 имеет две проушины 10, между которыми посредством оси 11 закреплены режущие органы 12 (фиг.2). Между поршнем 4 и стаканом 1 установлена пружина 13 возврата. Присоединение щелеобразователя к буровому ставу осуществляется через штуцер 14. Герметичность стакана 1 обеспечена уплотнениями 15.
Щелеобразователь работает следующим образом. К штуцеру 14 присоединяется жесткий став бурового станка и устройство вводится в заранее пробуренный шпур на расчетную глубину. С пульта бурового станка включается подача рабочей жидкости и вращатель бурового става. Рабочая жидкость под давлением через внутренние отверстия в штангах поступает внутрь стакана 1. Поршень 4 под действием результирующей силы от давления рабочей жидкости начинает движение, сжимая пружину 13 возврата и перемещая режущие органы 12. Последние, перемещаясь по направляющим уклонам 3, выходят через продольные окна 2 из стакана 1 и за счет вращения нарезают на стенках шпура инициирующую щель.
Исходя из прочности горного массива, в котором производится нарезание инициирующей щели, подпорный клапан настраивается с помощью рабочей пружины 7 и гайки 8 на давление рабочей жидкости, при котором на поршне 4 создается постоянное осевое рабочее усилие, обеспечивающее оптимальный режим работы режущих органов 12. При превышении указанного давления в стакане 1 открывается сквозное отверстие 5 и рабочая жидкость через сквозное отверстие 9 в гайке 8 поступает в зону резания, охлаждая режущие органы 12 и способствуя удалению продуктов резания.
После окончания нарезания инициирующей щели, о чем свидетельствует выход чистой рабочей жидкости, подачу рабочей жидкости отключают и буровой став соединяют со сливом. При этом давление, действующее на дно поршня 4, падает, и под действием пружины 13 возврата поршень 4 и режущие органы 12 возвращаются в исходное положение. После этого щелеобразователь готов к извлечению из шпура и перемещению на новое место нарезания инициирующей щели.
Формула изобретения
Щелеобразователь, включающий стакан, в котором выполнены продольные окна и перекрестно установлены режущие органы с возможностью перемещения по перекрестным оппозитным направляющим уклонам и выхода их режущих частей из продольных окон стакана по указанным уклонам, пружину возврата, отличающийся тем, что перекрестные оппозитные направляющие уклоны выполнены на внутренней поверхности стакана, а режущие органы установлены на поршне, размещенном внутри стакана с возможностью осевого перемещения, в полости которого установлен регулируемый подпорный клапан, при этом между поршнем и стаканом размещена пружина возврата.
РИСУНКИ
|
|