|
|
(21), (22) Заявка: 2007143826/03, 26.11.2007
(24) Дата начала отсчета срока действия патента:
26.11.2007
(46) Опубликовано: 20.06.2009
(56) Список документов, цитированных в отчете о поиске:
RU 52005 U1, 10.03.2006. RU 43272 U1, 10.01.2005. RU 2230850 C2, 20.06.2004. RU 2184186 C2, 27.06.2002. RU 2265690 С1, 10.12.2005.
Адрес для переписки:
344022, г.Ростов-на-Дону, Социалистическая, 162, РГСУ, патентный отдел
|
(72) Автор(ы):
Никулин Юрий Яковлевич (RU), Еремина Лидия Васильевна (RU), Мелихов Олег Олегович (RU), Саенко Сергей Сергеевич (RU), Сукиязов Александр Гургенович (RU), Гутикова Людмила Ивановна (RU)
(73) Патентообладатель(и):
Никулин Юрий Яковлевич (RU), Еремина Лидия Васильевна (RU), Мелихов Олег Олегович (RU), Саенко Сергей Сергеевич (RU), Сукиязов Александр Гургенович (RU), Гутикова Людмила Ивановна (RU), Государственное образовательное учреждение высшего профессионального образования “Ростовский государственный строительный университет” (РГСУ) (RU)
|
(54) УСТРОЙСТВО ОБЕЗВОЖИВАНИЯ БИТУМА
(57) Реферат:
Устройство обезвоживания битума относится к области строительства автомобильных дорог и может быть использовано при подготовке битума для приготовления горячей асфальтобетонной смеси, а также для обезвоживания гудрона и мазута. Цель данного устройства – сохранение качества битума в процессе его обезвоживания в связи с замедлением химических реакций конденсации, полимеризации и окисления за счет снижения температуры процесса обезвоживания, отсутствия контакта обезвоживаемого битума с кислородом воздуха и коротковременности теплового воздействия. Сущность изобретения заключается в том, что устройство обезвоживания битума, содержащее емкость обезвоживания, установленную вертикально, с люком в верхнем торце, накрытым крышкой, и герметично соединенную через пароотвод с конденсатором, имеющим охладитель, расходную и приемную емкости для битума, стабилизатор расхода и датчик уровня, битумный и вакуум- насосы, запорную арматуру, нагреватели, при этом от входного патрубка, расположенного в верхней части, по спирали и перпендикулярно внутренней поверхности емкости обезвоживания на держателях установлен лоток с наружным и внутренним бортиками, собранный из составных частей с радиально закрепленными в них герметичными оребренными ТЭНами, причем каждая последующая часть лотка смещена вниз, образуя перепад, а в центре емкости обезвоживания установлена мачта с закрепленной на ней гирляндой ИК-нагревателей, расположенных по спирали. 2 ил.
Устройство обезвоживания битума относится к области строительства автомобильных дорог и может быть использовано при подготовке битума для приготовления горячей асфальтобетонной смеси, а также для обезвоживания гудрона и мазута.
Известна установка для обезвоживания битума (пат. RU 2184186), в которой стекающий по лотку слой битума облучается СВЧ-энергией, в результате чего из него выделяется влага.
Наиболее близким техническим решением является низкотемпературный битумный вакуум-котел (пат. RU 52005), содержащий корпус с технологическими патрубками и нагревательными элементами, дополнительно содержащий размещенную над котлом и соединенную с ним испарительную камеру с последовательно расположенными в ней плоскими лотками, соединенными по Z-образной схеме, при этом верхняя часть испарительной камеры через левый патрубок и битумный циркуляционный насос соединяется с котлом, а через правый патрубок испарительной камеры, кран, конденсатор – с размещенным в нем трубчатым охладителем, и фильтр с вакуум-насосом.
При работе низкотемпературного вакуум-котла разогретый обводненный битум из котла перекачивается в верхнюю часть испарительной камеры, где он, стекая по Z-образному лотку, обезвоживается и сливается обратно в котел. Причем в испарительной камере и котле создается вакуумирование.
Низкотемпературный вакуум-котел имеет ряд недостатков, к которым следует отнести:
1. Паровыделение из обводненного битума в испарительной камере происходит лишь на верхних частях Z-образного лотка, так как тепловая энергия, накопленная битумом за счет его перегрева нагревателями в котле, расходуется на парообразование и не восполняется в процессе его стекания по лотку.
2. Обезвоженный в испарительной камере битум сливается с лотка в котел, где перемешивается с обводненным битумом, откуда он опять перекачивается циркуляционным насосом в испарительную камеру. Следовательно, отдельные порции битума могут многократно перегреваться и проходить стадию выпаривания, из-за чего качество битума существенно ухудшается, продолжительность процесса обезвоживания значительно увеличивается и момент, когда битум в котле полностью обезвожен, определить достаточно сложно.
3. Затруднен выход пара с нижней части испарительной камеры, так как составные части Z-образного лотка прикреплены своим верхним концом к ее боковым стенкам, образуя замкнутое сверху пространство, под которым влага скапливается, конденсируется и стекает обратно на лоток.
Вышеперечисленные недостатки можно устранить, подводя необходимое количество тепловой энергии к обводненному битуму на всем протяжении его движения по лотку, обеспечив тем самым полное выпаривание из него влаги. Кроме того, необходимо заменить Z-образный лоток, например, спиралевидным, со свободным пространством внутри витков «спирали», для обеспечения выхода с него пара.
Задачей данного устройства является сохранение качества битума в процессе его обезвоживания в связи с замедлением химических реакций конденсации, полимеризации и окисления за счет снижения температуры процесса обезвоживания, отсутствия контакта обезвоживаемого битума с кислородом воздуха и коротковременности теплового воздействия.
Это достигается обезвоживанием тонкого слоя битума, стекающего по спиралевидному лотку, при вакуумировании внутри устройства.
Учитывая невысокую температуру процесса вакуумного обезвоживания и его относительную коротковременность, следует отметить существенное уменьшение энергозатрат на компенсацию внешних потерь от поверхности котла и вредных выбросов летучих углеводородов в окружающую среду.
Сущность изобретения заключается в том, что устройство обезвоживания битума, содержащее емкость обезвоживания, установленную вертикально, с люком в верхнем торце, накрытым крышкой, и герметично соединенную через пароотвод с конденсатором, имеющим охладитель, расходную и приемную емкости для битума, стабилизатор расхода и датчик уровня, битумный насос и вакуум-насос, запорную арматуру, нагреватели, при этом от входного патрубка, расположенного в верхней части, по спирали и перпендикулярно внутренней поверхности емкости обезвоживания на держателях установлен лоток с наружным и внутренним бортиками, собранный из составных частей с радиально закрепленными в них герметичными оребренными ТЭНами, причем каждая последующая часть лотка смещена вниз, образуя перепад, а в центре емкости обезвоживания установлена мачта с закрепленной на ней гирляндой ИК-нагревателей, расположенных по спирали.
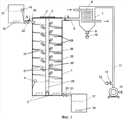
Сущность изобретения поясняется чертежами, где фиг.1 – вертикальный разрез устройства обезвоживания битума, фиг.2 – поперечный разрез емкости обезвоживания.
Устройство обезвоживания битума содержит емкость обезвоживания 1, установленную вертикально, с люком 2 в верхнем торце, накрытым крышкой 3, датчиком уровня 4, нагревателями 5, герметично соединенную пароотводом 6 с конденсатором 7, имеющим охладитель 8 и сливной патрубок 9 с краном 10, и далее, через трубопровод 11, имеющий патрубок 12 с краном 13, с вакуум-насосом 14, дополнительно содержит расходную 15 со стабилизатором расхода 16 и приемную 17 емкости с нагревателями 18 и 19, соединенные патрубками 20 и 21, имеющими краны 22 и 23, с емкостью обезвоживания 1, причем от входного патрубка 20 по спирали и перпендикулярно внутренней поверхности емкости обезвоживания 1 на держателях 24 установлен лоток с наружным 25 и внутренним 26 бортиками, собранный из составных частей 27 с радиально закрепленными на них герметичными оребренными ТЭНами 28, при этом каждая последующая часть 27 лотка смещена вниз, образуя перепад, а в центре емкости обезвоживания 1 установлена мачта 29 с закрепленной на ней гирляндой ПК-нагревателей 30, расположенных по спирали.
Монтаж элементов конструкции емкости обезвоживания 1 осуществляется следующим образом: через открытый люк 2 в емкость обезвоживания 1 опускаются и устанавливаются на держатели 24 составные части 27 лотка с радиально расположенными на них оребренными ТЭНами 28. ТЭНы 28 подключаются к силовому питанию. Затем в центр емкости обезвоживания 1 через открытый люк 2 опускается и устанавливается мачта 29 с закрепленной на ней гирляндой ИК-нагревателей 30. Гирлянда ИК-нагревателей 30 подключается к силовому питанию. Люк 2 герметично закрывается крышкой 3. Устройство готово к эксплуатации.
Принцип работы устройства обезвоживания битума заключается в следующем.
Процесс обезвоживания производится циклически. Для чего из емкости обезвоживания 1 с помощью насоса 14 при закрытых кранах 10, 13, 22 и 23 откачивается воздух и в ней создается вакуумирование. Открывается кран 22 и из расходной емкости 15 разогретый до температуры 85-90°С обводненный битум под действием перепада давлений через патрубок 20 поступает на лоток. При этом стабилизатор расхода 16 изменяет входное сечение патрубка 20 обратнопропорционально уровню обводненного битума в расходной емкости 15, чем обеспечивается равномерность высоты слоя битума, движущегося по лотку. Так как точка кипения воды в емкости обезвоживания 1 понижена за счет вакуумирования, то обезвоживание происходит при температуре ниже 100°С. Причем температура движущегося по лотку обводненного битума поддерживается оребренными ТЭНами 28 и ИК-нагревателями 30, в результате чего за время протекания по лотку битум полностью обезвоживается.
Выход пузырьков пара на поверхность движущегося слоя битума активируется при его протекании между ребрами ТЭНов 28 за счет перемешивания, а также при его перетекании тонкой пленкой с части 27 лотка на нижележащую часть 27. Кроме того, процесс выхода пара из тонкого слоя движущегося битума интенсифицируется ИК-нагревателями 30. Образующаяся паровоздушная смесь по пароотводу 6 попадает в конденсатор 7, в котором влага улавливается и собирается на дне. Выпаренный битум с лотка сливается на дно емкости обезвоживания 1, где его объем контролируется датчиком уровня 4. При наполнении отведенного в емкости обезвоживания 1 объема выпаренным битумом оребренные ТЭНы 28, ИК-нагреватели 30 и вакуум-насос 14 отключаются, а кран 22 закрывается. Открывается кран 13, емкость обезвоживания наполняется воздухом и давление в ней нормализуется. Открывается кран 23 и обезвоженный битум через патрубок 21 перетекает в расходную емкость 17. Открывается кран 10 и из конденсатора 7 через патрубок 9 сливается скопившаяся в нем влага. Краны 10, 13 и 23 закрываются. Устройство обезвоживания битума готово к следующему циклу работы.
Таким образом, использование устройства обезвоживания позволяет:
– сохранить качество битума в процессе его обезвоживания, а значит, увеличить срок службы асфальтобетонных покрытий автомобильных дорог, уложенных из смесей на данном битуме;
– существенно уменьшить энергозатраты на компенсацию потерь тепла в атмосферу от поверхности котла;
– улучшить экологическую обстановку в рабочей зоне АБЗ.
Данное устройство просто по конструкции и в эксплуатации, а также при проведении регламентных работ.
Формула изобретения
Устройство обезвоживания битума, содержащее емкость обезвоживания, установленную вертикально, с люком в верхнем торце, накрытым крышкой, и герметично соединенную через пароотвод с конденсатором, имеющим охладитель, расходную и приемную емкости для битума, стабилизатор расхода и датчик уровня, битумный насос и вакуум-насос, запорную арматуру, нагреватели, отличающееся тем, что от входного патрубка, расположенного в верхней части, по спирали и перпендикулярно внутренней поверхности емкости обезвоживания на держателях установлен лоток с наружным и внутренним бортиками, собранный из составных частей с радиально закрепленными в них герметичными оребренными ТЭНами, причем каждая последующая часть лотка смещена вниз, образуя перепад, а в центре емкости обезвоживания установлена мачта с закрепленной на ней гирляндой ИК-нагревателей, расположенных по спирали.
РИСУНКИ
|
|