|
|
(21), (22) Заявка: 2007134754/02, 19.03.2005
(24) Дата начала отсчета срока действия патента:
19.03.2005
(46) Опубликовано: 20.06.2009
(56) Список документов, цитированных в отчете о поиске:
US 4302021 А, 24.11.1981. SU 1122438 А, 07.11.1984. RU 2036051 С1, 27.05.1995. RU 2047425 С1, 10.11.1995. RU 4089 U1, 16.05.1997.
(85) Дата перевода заявки PCT на национальную фазу:
18.09.2007
(86) Заявка PCT:
DE 2005/000517 20050319
(87) Публикация PCT:
WO 2006/099820 20060928
Адрес для переписки:
129090, Москва, ул. Б.Спасская, 25, стр.3, ООО “Юридическая фирма Городисский и Партнеры”, пат.пов. А.В.Мицу
|
(72) Автор(ы):
РЕМ Гюнтер Хорст (DE)
(73) Патентообладатель(и):
РЕМ ГМБХ (DE)
|
(54) СВЕРЛИЛЬНЫЙ ПАТРОН
(57) Реферат:
Патрон выполнен подтягиваемым и содержит корпус, поворотный зажимной конус, опирающийся в осевом направлении на установленный на корпусе держатель кулачков, в котором в направляющих прорезях установлены зажимные кулачки, имеющие возможность перемещения для зажимания и отпускания посредством относительного поворота между корпусом и зажимным конусом с держателем, а также блокирующее устройство, имеющее, с одной стороны, коаксиальный оси патрона зубчатый обод и, с другой стороны, входящую под действием пружины в зубчатый обод опирающуюся на держатель кулачков защелку. Блокирующее устройство блокирует корпус и защелку при введенной в зубчатый обод защелке против относительного поворота в направлении отпускания кулачков, но не создает препятствий относительным поворотам в направлении зажимания. Патрон содержит расположенное коаксиально его оси и выполненное с возможностью поворачивания снаружи отпускающее кольцо, которое охватывает держатель кулачков для перестановки защелки между введенным в зубчатый обод и выведенным из него положениями. Для упрощения обращения с патроном зажимной конус своим задним концом расположен вблизи отпускающего кольца и жестко соединен с держателем кулачков. Отпускающее кольцо на своей радиально внутренней поверхности имеет управляющий кулачок для перестановки защелки из введенного в зубчатый обод положения в выведенное из него положение при повороте отпускающего кольца в направлении, которое при повороте зажимного конуса обеспечивает отпускание зажимных кулачков. 7 з.п. ф-лы, 3 ил.
Изобретение относится к подтягиваемому сверлильному патрону, содержащему корпус патрона, поворотный коаксиально относительно корпуса патрона зажимной конус, опирающийся в осевом направлении на установленный на корпусе патрона держатель кулачков, в котором по направляющим прорезям направляются зажимные кулачки, которые для зажимания и отпускания переставляются посредством относительного поворота между корпусом патрона и зажимным конусом с держателем кулачков, и имеющее, с одной стороны, коаксиальный оси патрона зубчатый обод и, с другой стороны, входящую под действием пружины в зубчатый обод, опирающуюся на держатель кулачков защелку, блокирующее устройство, которое блокирует корпус патрона и защелку при введенной в зубчатый обод защелке против относительного поворота в направлении отпускания зажимных кулачков, но не создает препятствий относительным поворотам в направлении зажимания, а также расположенное коаксиально оси патрона, выполненное с возможностью поворачивания снаружи отпускающее кольцо, которое охватывает держатель кулачков для перестановки защелки между введенным в зубчатый обод и выведенным из зубчатого обода положениями.
Такой подтягиваемый сверлильный патрон известен из ЕР0017748А1, который отлично зарекомендовал себя на практике и поэтому получил широкое распространение. В этом известном подтягиваемом сверлильном патроне зажимной корпус соединен без возможности проворачивания с держателем кулачков, который в свою очередь на заднем конце жестко соединен с держателем кулачков, который несет защелку. Приведение в действие защелки осуществляется посредством поворота отпускающего кольца и приведения в действие зажимных кулачков посредством поворота зажимной гильзы (зажимного конуса), так что для отпускания и зажимания сверлильного патрона необходимо последовательно переставлять отпускающее кольцо и зажимную гильзу согласованным друг с другом образом. Для открывания сверлильного патрона, т.е. для отпускания зажимания удерживаемого зажимными кулачками сверлильного инструмента необходимо сначала повернуть отпускающее кольцо, чтобы с помощью упора вывести защелку из зацепления с зубчатым ободом, а затем можно выполнять поворот зажимной гильзы для перестановки зажимных кулачков, при этом направление поворота зажимной гильзы должно быть противоположным направлению поворота отпускающего кольца. Поэтому пользователь должен сначала захватывать рукой отпускающее кольцо и поворачивать в одном направлении, чтобы затем осуществить перехват рукой с отпускающего кольца на зажимную гильзу (зажимной конус), которую необходимо поворачивать в противоположном направлении для открывания сверлильного патрона и смены сверлильного инструмента. Если необходимо зажать новый сверлильный инструмент, то пользователь должен выполнять эти действия в обратном порядке, т.е. сначала так повернуть отпускающее кольцо, чтобы относящийся к отпускающему кольцу упор больше не нагружал защелку, и поэтому она может находиться в зацеплении с зубчатым ободом, в то время как перестановка зажимных кулачков для зажимания сверлильного инструмента требует поворота зажимной гильзы снова в противоположном отпускающему кольцу направлении. Обращение с этим сверлильным патроном в профессиональных кругах обученного персонала не представляет трудностей, однако может быть затруднительным в домашних условиях для пользователя, который лишь изредка выполняет сверлильные работы.
Недостатком также является большая осевая длина сверлильного патрона, поскольку она связана с большой массой, которая делает состоящее из сверлильного патрона и бормашины сверлильное устройство тяжелым со смещенным вперед центром тяжести.
Поэтому в основу изобретения положена задача такой оптимизации сверлильного патрона указанного в начале вида, чтобы упростить обращение с ним.
Эта задача решена согласно изобретению в сверлильном патроне указанного в начале вида тем, что зажимной конус на своем заднем в осевом направлении конце расположен вблизи отпускающего кольца и жестко соединен с держателем кулачков, и отпускающее кольцо на своей в радиальном направлении внутренней поверхности имеет управляющий кулачок для перестановки защелки из введенного в зубчатый обод положения в выведенное из зубчатого обода положение при повороте отпускающего кольца в направлении, которое при повороте зажимного конуса соответствует отпусканию зажимных кулачков.
Сверлильный патрон согласно изобретению характеризуется, прежде всего, компактной конструкцией с короткой осевой длиной, которая обеспечивается непосредственным соединением зажимного конуса с держателем кулачков, так что упрощается обращение с имеющим этот сверлильный патрон сверлильным устройством, в частности облегчается его удерживание без необходимости компенсации с помощью револьверной рукоятки бормашины большого крутящего момента, обусловленного расположением впереди центра тяжести. Дополнительно к этому значительно упрощается обращение со сверлильным патроном, поскольку необходимые для приведения в действие сверлильного патрона операции для отпускания и зажимания требуют приведения в действие в одном и том же направлении отпускающего кольца и зажимного конуса. Это достигается против необходимой ориентации зубчатого обода и взаимодействующей с ним защелки для блокировки поворота для отпускания зажимных кулачков за счет того, что с помощью отпускающего кольца вызывается поворот защелки, который противоположен направлению поворота отпускающего кольца. Таким образом, если отпускающее кольцо поворачивается влево, то защелка поворачивается вправо, при этом это изменение направления поворота на противоположное достигается за счет взаимодействия выполненного на радиально внутренней поверхности отпускающего кольца управляющего кулачка с защелкой.
Кроме того, укорочение сверлильного патрона, а также согласованное друг с другом направление поворота отпускающего кольца и зажимного конуса обеспечивает возможность захвата пользователем одновременно отпускающего кольца и зажимного конуса, так что автоматически обеспечивается последовательность во времени приведения в действие отпускающего кольца и зажимного конуса как при зажимании, так и при отпускании.
Для этого защелка предпочтительно выполнена в виде двуплечего рычага с имеющим запирающий зуб первым плечом рычага и с предназначенным для прилегания к управляющему кулачку вторым плечом рычага, поскольку в этом случае второе плечо рычага может проходить в радиальном направлении наружу для большого перекрытия и прилегания на большой поверхности к управляющему кулачку.
Кроме того, в рамках изобретения предусмотрено, что второе плечо рычага выполнено изогнутым с радиально внутрь свободным концом. Этот изгиб также служит для большого перекрытия управляющего кулачка и тем самым большой направляющей длины с целью обеспечения при повороте отпускающего кольца плавного перехода защелки из зацепления с зубчатым ободом в положение отпускания.
Для обеспечения заданного позиционирования отпускающего кольца в положении отпускания и в положении зацепления относительно держателя кулачков на наружной окружной поверхности держателя кулачков и на внутренней окружной поверхности отпускающего кольца выполнены упоры, ограничивающие возможность поворота отпускающего кольца относительно держателя кулачков в обоих направлениях поворота.
Предпочтительный вариант выполнения изобретения характеризуется тем, что на свободном конце второго плеча рычага выполнено фасонное ребро, которое в выведенном состоянии защелки зажимается между управляющим кулачком и держателем кулачков. За счет такого выполнения реализуется стопорное устройство, которое обеспечивает поворотное положение отпускающего кольца относительно держателя кулачков, так что необходимо приложение повышенного усилия для преодоления зажимного действия с целью изменения направления поворота отпускающего кольца на противоположное. В качестве альтернативного решения существует также возможность реализации стопорного устройства за счет того, что между свободным концом второго плеча рычага и отпускающим кольцом выполняется действующая в выдвинутом состоянии защелки стопорная посадка.
Для предотвращения смещения в радиальном направлении пружины на защелке при приведении ее в действие предусмотрено, что второе плечо рычага выполнено длиннее первого плеча рычага и на своей обращенной к пружине стороне имеет углубление для упора пружины.
Это можно обеспечить также тем, что второе плечо рычага на обращенной к пружине стороне выполнено с вогнутым участком.
Ниже приводится подробное описание изобретения на примере выполнения со ссылками на прилагаемые чертежи, на которых изображено:
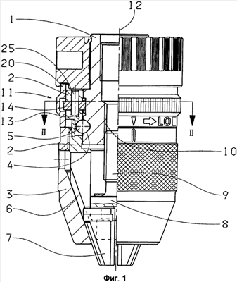
фиг.1 – сверлильный патрон согласно изобретению, вид сбоку с разрезом левой стороны;
фиг.2 – разрез по линии II-II на фиг.1; и
фиг.2а – разрез согласно фиг.2 в положении отпускания защелки с пружиной, прилегающей к ограничению второго плеча рычага.
На чертежах (фиг.1-2а) показан подтягиваемый сверлильный патрон, который имеет корпус 1 патрона, а также поворотный коаксиально корпусу 1 патрона, опирающийся в осевом направлении через держатель 2 кулачков на корпус 1 патрона зажимной конус 3, при этом для облегчения поворота зажимного конуса 3 относительно корпуса 1 патрона и тем самым для повышения зажимного усилия предусмотрено перемещающееся в желобчатых дорожках 4 тело 5 качения между корпусом 1 патрона и зажимным конусом 3 соответственно, жестко соединенным с зажимным конусом 3 держателем 2 кулачков. За счет направления зажимных кулачков 7 в пазах 6 держателя 2 кулачков действующий со стороны сверлильного инструмента (не изображен) на зажимные кулачки 7 крутящий момент соответственно передается на держатель 2 кулачков, соответственно, в виде радиального усилия на зажимной конус 3. В показанном примере выполнения зажимные кулачки 7 опираются сзади на поводок 8, который установлен с возможностью вращения с резьбовым пальцем 9 в центральном резьбовом отверстии 10 корпуса 1 патрона. Таким образом, поводок 8 и тем самым резьбовой палец 9 вращаются относительно корпуса 1 патрона одинаково с держателем 2 кулачков, зажимным конусом 3 и зажимными кулачками 7. При повороте зажимного конуса 3 относительно корпуса 1 патрона соответственно поворачивающийся при этом резьбовой палец 9 поводка 8 перемещается в зависимости от направления поворота аксиально вперед или назад, что приводит в первом случае к зажиманию, а во втором случае к отпусканию зажимных кулачков 7.
Для предотвращения при зажатом инструменте поворота между корпусом 1 патрона и зажимным конусом 3, который может приводить к ослаблению зажима сверлильного инструмента, между корпусом 1 патрона и зажимным конусом 3 предусмотрено запирающее устройство 11, содержащее, с одной стороны, коаксиальный оси 12 патрона зубчатый обод 13, который в показанном примере выполнения выполнен на корпусе 1 патрона, и, с другой стороны, опирающуюся на держатель 2 кулачков защелку 14, которая запирает корпус 1 патрона и защелку 14 при введенной в зубчатый обод 13 защелке 14 против относительного поворота в направлении отпускания зажимных кулачков 7, но без создания препятствий относительному повороту в направлении зажимания. Поджимающая защелку 14 в зубчатый обод 13 пружина 15 расположена в отверстии 16 держателя 2 кулачков, выполнена в виде пружины сжатия и действует на второе плечо 17 выполненной в виде двуплечего рычага защелки 14. Первое плечо 18 рычага имеет предусмотренные для взаимодействия с зубчатым ободом 13 запирающие зубья 19.
Для обеспечения открывания снаружи вручную защелки (14) с целью отпускания сверлильного патрона предусмотрено опирающееся на задний конец зажимного конуса 3 коаксиально оси 12 патрона поворачиваемое снаружи отпускающее кольцо 20, которое охватывает держатель 2 кулачков. Для приведения в действие защелки 14 отпускающее кольцо 20 имеет на своей радиально внутренней поверхности управляющий кулачок 21 для перестановки защелки 14 из введенного в зубчатый обод 13 положения в выведенное положение при повороте отпускающего кольца 20 в направлении, которое при повороте зажимного конуса 3 соответствует отпусканию зажимных кулачков 7. Второе плечо 17 рычага защелки 14 выполнено изогнутым с отклоненным радиально внутрь свободным концом, как показано на фиг.2. На фиг.2 видно, что на наружной окружной поверхности держателя 2 кулачков и внутренней окружной поверхности отпускающего кольца 20 выполнены упоры 22/23, ограничивающие возможность поворота отпускающего кольца 20 относительно держателя 2 кулачков в обоих направлениях.
Для фиксации поворотного положения отпускающего кольца 20 относительно держателя 2 кулачков существует возможность выполнения на свободном конце второго плеча 17 рычага фасонного ребра 24, которое в выдвинутом состоянии защелки 14 зажимается между управляющим кулачком 21 и держателем 2 кулачков, или же, в качестве альтернативного решения, выполнения между свободным концом второго плеча 17 рычага и отпускающим кольцом 20 стопорной посадки, действующей в выдвинутом состоянии.
Для того чтобы при повороте отпускающего кольца 20 в направлении отпускания пружина 15 не перемещалась в радиальном направлении, предусмотрено выполнение второго плеча 17 рычага длиннее первого плеча 18 рычага и на его обращенной к пружине 15 стороне выполнение углубления для упора пружины 15 (фиг.2).
В качестве альтернативного решения, это достигается также выполнением второго плеча 17 рычага вогнутым на обращенной к пружине 15 стороне.
Ниже приводится краткое описание обслуживания сверлильного патрона согласно изобретению. Исходя из показанного на фиг.1 состояния с максимально смещенными внутрь зажимными кулачками 7, что соответствует состоянию зажимания сверлильного инструмента, для замены сверлильного инструмента пользователь сначала захватывает отпускающее кольцо 20 и поворачивает, если смотреть спереди, против часовой стрелки (фиг.2) для обеспечения воздействия управляющего кулачка 21 на второе плечо 17 рычага защелки 14 и вызывания поворота защелки 14 вокруг своей поворотной оси 25, так что запирающие зубья 19 на первом плече 18 рычага выходят из зацепления с зубчатым ободом 13. Поворот отпускающего кольца 20 относительно держателя 2 кулачков ограничен упорами 22/23, при этом поворотное положение отпускающего кольца 20 относительно держателя 2 кулачков фиксируется с помощью стопорного устройства, так что пользователь может отпускать отпускающее кольцо 20 и захватывать зажимной конус 3 для поворота его в том же направлении, что и перед этим отпускающего кольца 20, и завершения тем самым зажимания сверлильного инструмента, т.е. отпускания сверлильного патрона. Если теперь необходимо зажать новый сверлильный инструмент, то отпускающее кольцо 20 поворачивают в противоположном направлении, т.е. в направлении часовой стрелки, для достижения снова конфигурации, показанной на фиг. 2. Это положение защелки 14 фиксируется пружиной 15, когда пользователь отпускает отпускающее кольцо 20 в положении прилегания к упору 22, чтобы затем поворачивать зажимной конус 3 для зажимания сверлильного инструмента. Наклон боковой поверхности зубьев зубчатого обода 13 выбирается так, что защелка 14 для зажимания может скользить от зуба к зубу, так что за счет зубчатого зацепления не создается помех подтягиванию также во время режима сверления.
Следует отметить, что за счет укороченной осевой длины сверлильного патрона пользователь имеет также возможность захватывать и поворачивать одновременно отпускающее кольцо 20 и зажимной конус 3, при этом пользователь может, как правило, использовать эту возможность, обхватывая тремя пальцами всегда вместе с зажимным конусом 3 также отпускающее кольцо 20. Когда отпускающее кольцо 20 затем выводит через второе плечо 17 рычага защелку 14 из зацепления с зубчатым ободом 13, соответственно упирается в упоры 22, соответственно 23, то пользователь не будет иметь желания поворачивать дальше отпускающее кольцо 20, но вследствие меньшего сопротивления повороту зажимного конуса 3 будет продолжать его поворачивать и концентрироваться на этом.
Формула изобретения
1. Подтягиваемый сверлильный патрон, содержащий корпус (1), поворотный коаксиально относительно корпуса (1) зажимной конус (3), опирающийся в осевом направлении на установленный на корпусе (1) держатель (2) кулачков (7), в котором в направляющих прорезях (6) установлены зажимные кулачки (7), имеющие возможность перемещения для зажимания и отпускания посредством относительного поворота между корпусом (1) патрона и зажимным конусом (3) с держателем (2) кулачков (7), а также имеющее, с одной стороны, коаксиальный оси (12) патрона зубчатый обод (13) и, с другой стороны, входящую под действием пружины в зубчатый обод (13), опирающуюся на держатель (2) кулачков защелку (14), блокирующее устройство (11), которое блокирует корпус (1) патрона и защелку (14) при введенной в зубчатый обод (13) защелке (14) против относительного поворота в направлении отпускания зажимных кулачков (7), но не создает препятствий относительным поворотам в направлении зажимания, а также расположенное коаксиально оси (12) патрона, выполненное с возможностью поворачивания снаружи отпускающее кольцо (20), которое охватывает держатель (2) кулачков для перестановки защелки (14) между введенным в зубчатый обод (13) и выведенным из зубчатого обода (13) положениями, отличающийся тем, что зажимной конус (3) своим задним в осевом направлении концом расположен вблизи отпускающего кольца (20) и жестко соединен с держателем (2) кулачков, отпускающее кольцо (20) на своей радиально внутренней поверхности имеет управляющий кулачок (21) для перестановки защелки (14) из введенного в зубчатый обод (13) положения в выведенное из зубчатого обода (13) положение при повороте отпускающего кольца (20) в направлении, которое при повороте зажимного конуса (3) обеспечивает отпускание зажимных кулачков (7).
2. Сверлильный патрон по п.1, отличающийся тем, что защелка (14) выполнена в виде двуплечего рычага с имеющим, по меньшей мере, один запирающий зуб (19) первым плечом (18) рычага и с предназначенным для прилегания к управляющему кулачку вторым плечом (17) рычага.
3. Сверлильный патрон по п.2, отличающийся тем, что второе плечо (17) рычага выполнено изогнутым с отклоненным радиально внутрь свободным концом.
4. Сверлильный патрон по любому из пп.1-3, отличающийся тем, что на наружной окружной поверхности держателя (2) кулачков и на внутренней окружной поверхности отпускающего кольца (20) выполнены упоры (22, 23), ограничивающие возможность поворота отпускающего кольца (20) относительно держателя (2) кулачков (7) в обоих направлениях поворота.
5. Сверлильный патрон по п.2, отличающийся тем, что на свободном конце второго плеча (17) рычага выполнено фасонное ребро (24), которое в выведенном состоянии защелки (14) зажимается между управляющим кулачком (21) и держателем (2) кулачков (7).
6. Сверлильный патрон по п.2, отличающийся тем, что в выдвинутом состоянии защелки (14) для его стопорения свободный конец второго плеча (17) рычага поджат к отпускающему кольцу (20).
7. Сверлильный патрон по п.2, отличающийся тем, что второе плечо (17) рычага выполнено длиннее первого плеча (18) рычага и на своей обращенной к пружине стороне имеет углубление для упора пружины (15).
8. Сверлильный патрон по п.2, отличающийся тем, что второе плечо (17) рычага на обращенной к пружине стороне выполнено вогнутым.
РИСУНКИ
|
|