|
(21), (22) Заявка: 2006117328/14, 26.10.2004
(24) Дата начала отсчета срока действия патента:
26.10.2004
(30) Конвенционный приоритет:
28.10.2003 IT MO 2003 A 000292
(43) Дата публикации заявки: 10.12.2007
(46) Опубликовано: 20.06.2009
(56) Список документов, цитированных в отчете о поиске:
WO 90/03196, 05.04.1990. US 5323900, 28.06.1994. US 5147319, 15.09.1992. SU 1747088, 15.07.1992. RU 2019995 C1, 30.09.1994.
(85) Дата перевода заявки PCT на национальную фазу:
29.05.2006
(86) Заявка PCT:
EP 2004/012073 20041026
(87) Публикация PCT:
WO 2005/049126 20050602
Адрес для переписки:
191036, Санкт-Петербург, а/я 24, “НЕВИНПАТ”, пат.пов. А.В.Поликарпову
|
(72) Автор(ы):
ФЕРРАРЕЗИ Федерико (IT)
(73) Патентообладатель(и):
ФЕРРАРЕЗИ Федерико (IT)
|
(54) ЗАЩИТНЫЙ ЭЛЕМЕНТ ДЛЯ ИСПОЛЬЗОВАННЫХ ИГЛ ДЛЯ ПЕРФУЗИЙ, ПЕРЕЛИВАНИЙ И ПОДОБНЫХ ОПЕРАЦИЙ
(57) Реферат:
Изобретение относится к медицине и может использоваться для защиты медицинских работников от заражения от игл, использованных на пациентах с инфекционными патологиями, передающимися через кровь. Защитный элемент состоит из первой и второй деталей, выполненных с возможностью соединения между собой соединительным элементом при изготовлении и транспортировке и отделения друг от друга за счет отсоединения указанного соединительного элемента при использовании. Первая деталь снабжена поддоном. Вторая деталь снабжена двумя первыми гребнями, двумя вторыми гребнями. Поддон и гребни при использовании расположены в соответствующих деталях и находятся на внутренних противоположных сторонах защитного элемента. Первая и вторая детали при использовании соединены между собой с помощью запорных средств и соответствующих прорезей в задней части защитного элемента. Изобретение обеспечивает надежную защиту от заражения через кровь. 8 з.п. ф-лы, 9 ил.
Область техники
Изобретение относится к защитному элементу для использованных игл для перфузий, переливаний и подобных операций.
Уровень техники
В течение некоторого времени применялись защитные элементы для использованных игл, снабженных небольшими крылышками, называемыми “клапанами”, которые выполнены за одно целое с этими иглами. Такие иглы предназначены для перфузий, внутривенного вливания и аналогичных операций. Защитные элементы служат для защиты медицинских работников от случайного укола иглой, только что использованной на пациенте, который может иметь патологию, передающуюся через кровь.
В связи с важностью этой защиты были разработаны и изготовлены многочисленные защитные элементы. Как правило, защитные элементы представляют собой футляры, конструкция которых позволяет вставить в них трубку, используемую для аддукции жидкости, вводимой в пациента или забираемой из него, и поместить в них иглу сразу после ее использования. Обычно корпус таких защитных элементов имеет форму полого цилиндра с двумя расположенными диаметрально противоположно прорезями, в которые при вставке иглы для перфузий и переливания вводят ее крылышки. В задней части этих прорезей имеется торцевой запорный элемент, например ступенька или небольшой зубец, благодаря чему игла при вставке в защитный элемент захватывается внутри последнего и ее нельзя вытащить из него. Естественно, для выполнения своей функции этот запорный элемент должен обладать определенной гибкостью.
В WO 90/03196 описаны различные варианты выполнения защитного элемента.
Хотя известные защитные элементы в общем обеспечивают высокую степень безопасности в отношении риска укола использованной иглой, они имеют определенный недостаток, связанный с тем, что на них остаются капли крови, которые могут вытечь из иглы, а поскольку простой контакт слизистой оболочки с инфицированной кровью представляет серьезную опасность, этот недостаток можно считать существенным.
Раскрытие изобретения
Главной целью изобретения является создание защитного устройства, которое хотя и состоит из двух деталей, которые должны быть отдельными, чтобы их можно было надеть на трубку, с которой соединена игла, но представляет собой единое изделие на момент изготовления и во время транспортировки, что дает существенную экономию при транспортировке.
Дополнительная цель состоит в изготовлении устройства, которое, кроме эффективного предупреждения случайного укола, гарантирует защиту от возможного вытекания крови из использованной иглы.
Защитный элемент для использованных игл для перфузий, переливаний и подобных операций, предусматривающий полную вставку снабженной крылышками иглы в защитный футляр и ее запирание в нем, согласно изобретению состоит из первой детали и второй детали, соединенных между собой соединительным элементом при изготовлении и транспортировке защитного элемента и отделенных друг от друга при его использовании, причем это отделение возможно за счет отсоедиения указанного соединительного элемента; первая деталь имеет поддон, вторая деталь имеет по меньшей мере два гребня; поддон и гребни расположены внутри соответствующих деталей так, что при использовании защитного элемента находятся на его внутренних сторонах в противоположных положениях, а первая деталь и вторая деталь соединены при использовании с помощью запорных средств и соответствующих прорезей в задней части защитного элемента.
Эти и другие особенности изобретения станут понятнее из последующего описания предпочтительного варианта его осуществления, приведенного в качестве примера, не ограничивающего объем изобретения.
Описание сопровождается чертежами, где
на фиг.1 показан вид сбоку защитного элемента в исходной конфигурации;
на фиг.2 показан вид сверху защитного элемента, изображенного на фиг.1;
на фиг.3 показан в аксонометрии защитный элемент в процессе использования с вставленной в него иглой;
на фиг.4 показана в аксонометрии первая деталь;
на фиг.5 показана в аксонометрии вторая деталь;
на фиг.6 показан продольный разрез первой детали защитного элемента;
на фиг.7 показан поперечный разрез по линии В-В первой детали в области, соответствующей выступам с прорезью;
на фиг.8 показан вид в плане нижней части второй детали;
на фиг.9 показан разрез задней части второй детали в области, соответствующей запорным средствам.
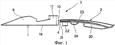
Согласно фиг.1 первая деталь 1 и вторая деталь 2 защитного элемента 3 соединены друг с другом соединительным элементом 4, например лапкой. На фиг.1 и 2 защитный элемент 3 показан в конфигурации, которую он имеет непосредственно после выполнения литья и во время его транспортировки к пользователям, но до того, как он будет надет пользователем на соединительную трубку 5 с “клапаном”, т.е. с иглой 6, снабженной “крылышками” 7.
Первая деталь 1 имеет примерно на половине своей длины два боковых края 8, которые поднимаются относительно базовой поверхности 9 и расположены на наружных боковых сторонах первой детали 1, при этом соответствующая наружная поверхность находится в одной плоскости с боковым профилем этой детали. Каждый боковой край 8 оканчивается в направлении к задней части 10 первой детали 1 заплечиком 11, который прерывает протяженность бокового края в вертикальном направлении. Боковые края 8 являются также боковыми краями защитного элемента 3 в его рабочей конфигурации, показанной на фиг.3.
Внутри первой детали имеется поддон 12, отцентрированный по ее продольной центральной оси А-А, соответствующей продольной оси всего защитного элемента 3 как в его удлиненной, так и рабочей конфигурации.
Часть указанного поддона, обращенная в направлении к передней части 13 первой детали 1, снабжена торцевым выступом 14. Передняя часть первой детали 1 является также передней частью защитного элемента 3 в его рабочей конфигурации, как видно на фиг.3.
Первая деталь 1 имеет три канавки 15а, 15b и 15с, расположенные одна за другой вдоль продольной оси А-А. Первая канавка 15а доходит до поддона 12, вторая канавка 15b проходит по существу от поддона до тех пор, пока она не сравняется с заплечиками 11, а третья канавка 15с проходит от области заплечиков к задней части 10.
Расположенные по обе стороны от оси А-А ступеньки 16 отделяют базовую поверхность 9 от второй канавки 15b.
В области, соответствующей задней части 10, выполнены на расстоянии друг от друга два выступа 17, каждый из которых расположен на соответствующей наружной стороне первой детали 1 и его наружная поверхность находится в одной плоскости с боковым профилем этой детали.
Каждый выступ 17 имеет прорезь 18, расположенную вертикально относительно контактирующей с кожей пациента опорной поверхности 19 первой детали 1.
Нижнее основание каждой прорези 18 обозначено позицией 18а на фиг.7.
Вторая деталь 2 на своей части, которая при использовании защитного элемента 3 находится внутри него, имеет два гребня 20, отделенные друг от друга и проходящие параллельно продольной оси А-А на равных расстояниях от нее. Расстояние между гребнями соответствует расстоянию между ступеньками 16 в первой детали 1.
Поперек задней части 21 второй детали расположены два запорных средства 22, например фиксатора, как показано в разрезе на фиг.9. Периметрический размер каждого запорного средства немного меньше размера каждой прорези 18. Позицией 22а на фиг.9 обозначена выемка в каждом запорном средстве 22.
Линия соединения соединительного элемента 4 с задней частью 10 расположена на большей высоте, чем опорная поверхность 19, и поэтому не находится на одном уровне с этой поверхностью, а линия соединения соединительного элемента 4 с задней частью 21 по существу лежит на одном уровне с краем верхней части 23.
Два гребня 24, расположенные на второй детали 2, при использовании защитного элемента 3 остаются внутри него. Эти вторые гребни отделены друг от друга и расположены параллельно продольной оси А-А на равных расстояниях от нее. Расстояние между вторыми гребнями больше, чем расстояние между первыми гребнями 20.
Высота вторых гребней 24 такова, что при использовании защитного элемента 3 расстояние между указанными краями и базовой поверхностью 9 немного меньше толщины крылышка 7.
Ниже описана работа защитного элемента согласно изобретению со ссылками на чертежи.
Защитный элемент 3 поступает к пользователю в такой конфигурации, когда первая деталь 1 и вторая деталь 2 соединены друг с другом соединительным элементом 4. Пользователь разделяет эти две детали путем скручивания соединительного элемента, что приводит к полному его удалению.
Если по какой-либо причине пользователь решит не удалять соединительный элемент 4 полностью, последний останется прикрепленным к одной из двух задних частей 10 или 21.
В этом случае, если после разделения двух деталей 1 и 2 соединительный элемент остается прикрепленным к задней части 10 первой детали 1, которая прикладывается к коже пациента, он не будет контактировать с кожей, так как линия соединения лапки 10 находится выше опорной поверхности 19 защитного элемента 3 на коже пациента.
Если же лапка 10 остается прикрепленной ко второй детали 2, то она тоже не будет контактировать с кожей пациента, даже если она присоединена ко второй детали на высоте верхней поверхности 23, так как эта поверхность 23 не должна находиться в контакте с пациентом.
После отделения деталей 1 и 2 друг от друга их можно наложить на трубку 5 и прочно скрепить друг с другом путем пропускания двух фиксаторов 22 на второй детали 2 через две прорези 18 на первой детали 1; при этом выемки 22а заскакивают под соответствующие нижние основания 18а благодаря гибкости материала, из которого выполнены фиксаторы 22, таким образом, что указанные две детали соединяются между собой прочно и неразъемно. Естественно, что зазор между соединенными деталями 1 и 2 позволяет трубке 5 скользить в пространстве, ограниченном канавками 15а, 15b, 15с и первым гребнем 20.
Введение в защитный элемент 3 иглы 6 после ее использования и извлечения из кожи пациента не будет описано подробно, поскольку эта процедура хорошо известна. Следует только отметить, что клапан, т.е. узел из иглы 6 и крылышек 7, после того, как он полностью вставлен в защитный элемент, остается запертым в нем благодаря взаимодействию переднего края крылышек с заплечиками 11.
Когда игла 6 полностью вставлена в защитный элемент 3, ее острие находится в месте, где расположен поддон 12, и поэтому капли крови, которые могут вытечь из иглы, попадают на поддон, не вытекая из защитного элемента 3.
Следует также отметить, что торцевой выступ 14 не только образует упор для острия иглы 6, но и создает дополнительный барьер, препятствующий вытеканию крови из защитного элемента 3.
Предусмотрены также меры по предотвращению вытекания крови из защитного элемента 3 в боковом направлении, а именно, когда две детали 1 и 2 соединены между собой, охватывая трубку 5, нижние края двух первых гребней 20, расположенных в нижней части второй детали 2, прижимаются к соответствующим ступенькам 16, расположенным в первой детали 1.
Кроме того, когда детали 1 и 2 соединены, охватывая трубку 5, нижние края вторых гребней 24 подгибают крылышки 7, прижимая их к базовой поверхности 9 и тем самым предотвращая вытекание крови из защитного элемента 3 в области, соответствующей канавке 15с.
Таким образом, когда игла 6 полностью вставлена в защитный элемент 3, вытекшие из нее капли крови не вытекут из защитного элемента ни в области, соответствующей его передней части 13, ни в области, соответствующей боковым краям 8. Когда игла 6 полностью вставлена в защитный элемент 3, ее не удастся извлечь оттуда, даже в боковом направлении, благодаря первым гребням 20, ограничивающим перемещение иглы 6 в боковом направлении, и вторым гребням 24, прижимающим крылышки 7 к базовой поверхности 9.
Первое преимущество защитного элемента согласно изобретению заключается в том, что хотя он состоит из двух деталей, которые должны быть отдельными, чтобы их можно было надеть на трубку, с которой соединена игла, он после изготовления и во время транспортировки представляет собой единое изделие, что существенно сокращает транспортировочные расходы.
Второе преимущество состоит в том, что благодаря наличию внутреннего поддона 12 предотвращается вытекание крови из передней части защитного элемента 3.
Следующее преимущество состоит в том, что предотвращается вытекание остатков крови из боковых частей защитного элемента 3. Это достигается благодаря наличию во второй детали защитного элемента первых гребней 20, которые прижимаются к соответствующим ступенькам 16, расположенным в первой детали 1, и вторых гребней 24, которые прижимают крылышки клапана к базовой поверхности 9.
Еще одно преимущество состоит в том, что когда игла находится в рабочей конфигурации, ее невозможно извлечь из защитного элемента в боковом направлении благодаря наличию указанных первых гребней 20.
Формула изобретения
1. Защитный элемент для использованных игл с крылышками, предусматривающий введение иглы в защитный элемент и ее запирание в нем, отличающийся тем, что он состоит из первой и второй деталей, выполненных с возможностью соединения между собой соединительным элементом при изготовлении и транспортировке, и отделения друг от друга за счет отсоединения указанного соединительного элемента при использовании, при этом первая деталь снабжена поддоном, вторая деталь снабжена, по меньшей мере, двумя первыми гребнями и, по меньшей мере, двумя вторыми гребнями; указанные поддон и первые и вторые гребни при использовании расположены в соответствующих деталях и находятся на внутренних противоположных сторонах защитного элемента, а первая и вторая детали при использовании соединены между собой с помощью запорных средств и соответствующих прорезей в задней части защитного элемента.
2. Защитный элемент по п.1, отличающийся тем, что первая деталь, вторая деталь и соединительный элемент отлиты за одну операцию.
3. Защитный элемент по п.1, отличающийся тем, что поддон отцентрирован относительно продольной центральной оси первой детали, соответствующей продольной оси всего защитного элемента, и служит контейнером для капель оставшейся вытекающей из иглы после ее использования и вставки в защитный элемент крови.
4. Защитный элемент по п.3, отличающийся тем, что перед поддоном расположен торцевой выступ, обращенный к передней части защитного элемента и образующий упор для острия иглы и дополнительный барьер для вытекающей из защитного элемента в области его передней части крови.
5. Защитный элемент по п.1, отличающийся тем, что высота первых гребней при использовании защитного элемента равна расстоянию между нижней поверхностью второй детали и ступеньками на первой детали и обеспечивает взаимодействие указанных первых гребней с соответствующей ступенькой для предотвращения вытекания крови из защитного элемента в области его наружных краев.
6. Защитный элемент по п.5, отличающийся тем, что расстояние между вторыми гребнями соответствует расстоянию между ступеньками.
7. Защитный элемент по п.1, отличающийся тем, что на базовой поверхности, находящейся внутри защитного элемента при его использовании, выполнена канавка, проходящая по всей длине первой детали.
8. Защитный элемент по п.1, отличающийся тем, что высота вторых гребней при использовании равна расстоянию между нижней поверхностью второй детали и базовой поверхностью защитного элемента за вычетом толщины крылышек и обеспечивает возможность взаимодействия между вспомогательными вторыми гребнями и верхней поверхностью указанных крылышек для дополнительного предотвращения вытекания крови из защитного элемента в боковом направлении в области канавки.
9. Защитный элемент по п.5, отличающийся тем, что на базовой поверхности, находящейся внутри защитного элемента при его использовании, выполнена канавка, проходящая по всей длине первой детали, а ступеньки отделяют базовую поверхность от канавки по обеим сторонам от центральной продольной оси первой детали.
РИСУНКИ
|