|
|
(21), (22) Заявка: 2004128092/14, 20.09.2004
(24) Дата начала отсчета срока действия патента:
20.09.2004
(30) Конвенционный приоритет:
19.09.2003 US 10/666,154
(43) Дата публикации заявки: 27.02.2006
(46) Опубликовано: 20.06.2009
(56) Список документов, цитированных в отчете о поиске:
US 4180162 А, 25.12.1979. SU 1806679 A1, 07.04.1993. RU 2159085 C1, 20.11.2000. ЕР 1285629 А, 26.02.2003. US 6116440 A, 12.09.2000. US 6183467 В1, 06.02.2001. US 4985034 A, 15.01.1991. US 4106620 A, 15.08.1978.
Адрес для переписки:
129090, Москва, ул. Б.Спасская, 25, стр.3, ООО “Юридическая фирма Городисский и Партнеры”, пат.пов. С.А.Дорофееву, рег. 146
|
(72) Автор(ы):
ВИНДУС-СМИТ Брайан (GB), АЛЛЕН Джон (US)
(73) Патентообладатель(и):
ДАЙЭБИТИЗ ДАЙЭГНОСТИКС, ИНК. (US)
|
(54) УПАКОВКА ДЛЯ МЕДИЦИНСКОГО УСТРОЙСТВА, КОМПЛЕКТ И СВЯЗАННЫЕ С НИМИ СПОСОБЫ
(57) Реферат:
Группа изобретений относится к медицине. Упаковка содержит основной закупоривающий элемент и вспомогательный закупоривающий элемент. Основной закупоривающий элемент имеет выполненную в нем выемку. Основной закупоривающий элемент включает проксимальный конец и дистальный конец. Выемка имеет проем выемки на проксимальном конце основного закупоривающего элемента и конфигурирована для приема и прочного удерживания в ней по меньшей мере частично медицинского устройства с возможностью его извлечения. Вспомогательный закупоривающий элемент выполнен для закупоривания проема выемки, когда медицинское устройство вставлено в выемку. Выемка имеет по меньшей мере один боковой канал, который разделен на участок, используемый перед применением, и участок, используемый после применения. Участок, используемый перед применением, конфигурирован для приема и прочного удерживания с возможностью извлечения медицинского устройства в выемке, а участок, используемый после применения, конфигурирован для приведения в негодность использованного медицинского устройства. Упаковочный комплект для медицинского устройства содержит вышеуказанный основной закупоривающий элемент и соединитель, выполненный для захвата медицинского устройства при извлечении медицинского устройства из выемки. Способ извлечения медицинского устройства из упаковки для медицинского устройства и последующего приведения медицинского устройства в негодность включает выполнение упаковки для медицинского устройства с содержащимся в нем медицинским устройством, причем упаковка для медицинского устройства включает основной закупоривающий элемент с выемкой и вспомогательный закупоривающий элемент, обеспечивающий закупоривание проема выемки, захват медицинского устройства, извлечение захваченного медицинского устройства из выемки упаковки для медицинского устройства и последующую вставку захваченного медицинского устройства в выемку упаковки для медицинского устройства во второе положение для приведения в негодность медицинского устройства для последующего использования. Способ извлечения медицинского устройства из упаковки для медицинского устройства и последующего приведения медицинского устройства в негодность включает выполнение упаковки для медицинского устройства с содержащимся в нем медицинским устройством, находящимся в первом положении, причем упаковка для медицинского устройства включает основной закупоривающий элемент с выемкой, вспомогательный закупоривающий элемент, обеспечивающий закупоривание проема выемки, и соединитель, прерывание вспомогательного закупоривающего элемента соединителем, чтобы по меньшей мере часть соединителя входила в выемку для медицинского устройства, захват медицинского устройства соединителем, извлечение соединителя и захваченного медицинского устройства из выемки упаковки для медицинского устройства и последующую вставку соединителя и захваченного медицинского устройства в выемку упаковки для медицинского устройства во второе положение для приведения в негодность медицинского устройства для последующего использования. Изобретения обеспечивают стерильность и/или защиту помещенного в него медицинского устройства, предусматривают несложное приведение в готовность медицинского устройства при использовании и защищают элемент для прокалывания кожной ткани от повреждения, влаги и/или загрязнения до использования и также защищают пользователя от случайного контакта с ним. Они приспособлены для обеспечения невозможности последующего использования медицинского устройства, таким образом, предотвращая его многократное применение. Кроме того, вследствие относительной простоты конфигурации, упаковки для медицинских устройств, соответствующие настоящему изобретению, экономически эффективны. 4 н. и 14 з.п. ф-лы; 22 ил.
Предпосылки создания изобретения
Область техники, к которой относится изобретение
Настоящее изобретение относится, в целом, к упаковкам для медицинских устройств и, в частности, к упаковкам для медицинских устройств для размещения и надежного удерживания с возможностью извлечения медицинского устройства.
Описание известного уровня техники
Различные медицинские устройства требуют упаковки, например, для защиты медицинского устройства от повреждения до использования и для сохранения стерильности медицинского устройства. В отношении комплексных медицинских устройств, в которых скомбинированы элемент для прокалывания кожной ткани (например, ланцет или микроигла) и контрольная полоска, соответствующая упаковка должна предусматривать несложное приведение в готовность элемента для прокалывания кожной ткани при использовании с одновременным обеспечением также защиты пользователя от непреднамеренного контакта с элементом для прокалывания кожной ткани до и после использования. Кроме того, упаковка должна обеспечивать влагостойкость для защиты контрольной полоски при хранении.
Одноразовые (то есть удаляемые в отходы после одного использования) комплексные медицинские устройства являются характерными с точки зрения указанных выше требований, поскольку они требуют упаковки для медицинского устройства, которая сохраняет стерильность и защищает содержащееся в нем одноразовое комплексное медицинское устройство от повреждения до использования. Такие упаковки для медицинских устройств должны также обеспечивать влагостойкость и защиту от ультрафиолетовых лучей в отношении контрольной полоски одноразовых комплексных медицинских устройств до использования. Кроме того, упаковка медицинского устройства должна предусматривать приведение в готовность элемента для прокалывания кожной ткани такого одноразового комплексного медицинского устройства при его использовании, а также приведение в негодность (то есть предотвращение последующего использования) и безопасное удаление в отходы одноразового комплексного медицинского устройства после использования.
Обычные упаковки для медицинских устройств не соответствуют всем или даже большей части указанных выше требований экономически эффективным образом. Следовательно, в данной области еще существует необходимость в упаковке для медицинского устройства, которая обеспечивает стерильность и/или защиту заключенного в нее медицинского устройства, а также предусматривает несложное приведение в готовность медицинского устройства при его использовании. Кроме того, в отношении комплексных медицинских устройств, которые включают элемент для прокалывания кожной ткани (например, ланцет или микроиглу), существует необходимость в упаковке для медицинского устройства, которая защищает элемент для прокалывания кожной ткани от повреждения, влаги и/или загрязнения до использования, которая защищает пользователя от случайного контакта с ним и которая также делает невозможным последующее использование медицинского устройства, таким образом, предотвращая многократное его применение. Кроме того, материалы и способы, используемые при изготовлении упаковки для медицинского устройства, должны быть экономически эффективными.
Краткое описание изобретения
Упаковки для медицинских устройств, соответствующие настоящему изобретению, обеспечивают стерильность и/или защиту помещенного в него медицинского устройства (например, комплексного медицинского устройства). Варианты выполнения упаковок для медицинских устройств, соответствующие настоящему изобретению, также предусматривают несложное приведение в готовность медицинского устройства при использовании. Кроме того, в отношении комплексных медицинских устройств, которые включают элемент для прокалывания кожной ткани (например, ланцет или микроиглу), упаковки для медицинских устройств, соответствующие вариантам осуществления настоящего изобретения, защищают элемент для прокалывания кожной ткани от повреждения, влаги и/или загрязнения до использования и защищают пользователя от случайного контакта с ним. Варианты выполнения упаковок для медицинских устройств, соответствующие настоящему изобретению, также приспособлены для обеспечения невозможности последующего использования медицинского устройства, таким образом, предотвращая его многократное применение. Кроме того, вследствие относительной простоты конфигурации, упаковки для медицинских устройств, соответствующие настоящему изобретению, экономически эффективны.
Упаковка для медицинского устройства, соответствующая вариантам осуществления настоящего изобретения, включает основной закупоривающий элемент с выполненной в нем выемкой и вспомогательный закупоривающий элемент.
Основной закупоривающий элемент включает проксимальный конец и дистальный конец, при этом выемка имеет проем выемки на проксимальном конце основного закупоривающего элемента и конфигурирована для приема и прочного удерживания в ней по меньшей мере частично медицинского устройства (например, комплексного медицинского устройства, которое включает элемент для прокалывания кожной ткани и контрольную полоску) с возможностью его извлечения. Вспомогательный закупоривающий элемент выполнен для закупоривания проема выемки, когда медицинское устройство вставлено в выемку. Кроме того, выемка имеет по меньшей мере один боковой канал, который разделен на участок, используемый перед применением, и участок, используемый после применения, причем участок, используемый перед применением, конфигурирован для приема и прочного удерживания с возможностью извлечения медицинского устройства в выемке, а участок, используемый после применения, конфигурирован для приведения в негодность использованного медицинского устройства.
Согласно предпочтительному варианту выполнения медицинское устройство прочно и с возможностью извлечения удерживается за счет трения между медицинским устройством и по меньшей мере одним боковым каналом.
Преимущественно, основной закупоривающий элемент включает указатель направления.
Предпочтительно, выемка основного закупоривающего элемента выполнена для приема и прочного удерживания с возможностью извлечения комплексного медицинского устройства, которое включает электрические контакты, проходящие через проем выемки, и вспомогательный закупоривающий элемент.
Вспомогательный закупоривающий элемент может включать ребра, которые уплотняют проем выемки.
Вспомогательный закупоривающий элемент преимущественно представляет собой прорываемый вспомогательный закупоривающий элемент и может быть выполнен для постоянного прикрепления к медицинскому устройству.
Основной закупоривающий элемент может дополнительно включать выемку в дистальном конце, выполненную для блокирования медицинского устройства.
Согласно другому аспекту изобретения предусматривается упаковочный комплект для медицинского устройства, содержащий основной закупоривающий элемент с выполненной в нем выемкой, вспомогательный закупоривающий элемент и соединитель.
Основной закупоривающий элемент включает проксимальный конец и дистальный конец, при этом выемка имеет проем выемки на проксимальном конце основного закупоривающего элемента и конфигурирована для приема и прочного удерживания в ней по меньшей мере частично медицинского устройства с возможностью его извлечения.
Вспомогательный закупоривающий элемент выполнен для закупоривания проема выемки, когда медицинское устройство вставлено в выемку, а соединитель выполнен для захвата медицинского устройства при извлечении медицинского устройства из выемки. При этом выемка имеет по меньшей мере один боковой канал, который разделен на участок, используемый перед применением, и участок, используемый после применения, причем участок, используемый перед применением, конфигурирован для приема и прочного удерживания с возможностью извлечения медицинского устройства в выемке, а участок, используемый после применения, конфигурирован для приведения в негодность использованного медицинского устройства.
Предпочтительно, соединитель включает указатель направления соединителя.
Также предпочтительно, соединитель имеет форму, обеспечивающую прерывание вспомогательного закупоривающего элемента, и включает по меньшей мере один элемент для захвата полоски для соединения с электрическими контактами медицинского устройства.
Способы, соответствующие настоящему изобретению, обеспечивают несложное приведение в готовность к использованию медицинского устройства (то есть извлечение из упаковки для медицинского устройства).
В частности, изобретение предусматривает способ извлечения медицинского устройства из упаковки для медицинского устройства и последующего приведения медицинского устройства в негодность, включающий:
выполнение упаковки для медицинского устройства с содержащимся в нем медицинским устройством (например, комплексным медицинским устройством, которое включает элемент для прокалывания кожной ткани и контрольную полоску), причем упаковка для медицинского устройства включает основной закупоривающий элемент с выемкой, при этом основной закупоривающий элемент включает проксимальный конец и дистальный конец, при этом выемка имеет проем выемки на проксимальном конце основного закупоривающего элемента и имеет форму, обеспечивающую прием и прочное удерживание в ней по меньшей мере частично медицинского устройства с возможностью его извлечения; и вспомогательный закупоривающий элемент, обеспечивающий закупоривание проема выемки,
захват медицинского устройства,
извлечение захваченного медицинского устройства из выемки упаковки для медицинского устройства, и
последующую вставку захваченного медицинского устройства в выемку упаковки для медицинского устройства во второе положение для приведения в негодность медицинского устройства для последующего использования.
Изобретение предусматривает также способ извлечения медицинского устройства из упаковки для медицинского устройства и последующего приведения медицинского устройства в негодность, включающий:
выполнение упаковки для медицинского устройства с содержащимся в нем медицинским устройством, находящимся в первом положении, причем упаковка для медицинского устройства включает основной закупоривающий элемент с выемкой, при этом основной закупоривающий элемент включает проксимальный конец и дистальный конец, а выемка имеет проем на проксимальном конце основного закупоривающего элемента и имеет форму, обеспечивающую прием и прочное удерживание в ней по меньшей мере частично медицинского устройства с возможностью его извлечения;
вспомогательный закупоривающий элемент, обеспечивающий закупоривание проема выемки, и соединитель,
прерывание вспомогательного закупоривающего элемента соединителем, чтобы по меньшей мере часть соединителя входила в выемку для медицинского устройства,
захват медицинского устройства соединителем,
извлечение соединителя и захваченного медицинского устройства из выемки упаковки для медицинского устройства, и
последующую вставку соединителя и захваченного медицинского устройства в выемку упаковки для медицинского устройства во второе положение для приведения в негодность медицинского устройства для последующего использования.
Такое приведение в негодность может быть достигнуто посредством, например, заклинивания медицинского устройства в фиксированном положении внутри выемки упаковки для медицинского устройства.
Предпочтительно, операция вставки включает вставку захваченного медицинского устройства в выемку основного закупоривающего элемента или включает вставку захваченного медицинского устройства в выемку на дистальном конце упаковки для медицинского устройства.
Способ может дополнительно включать отсоединение соединителя от блокированного медицинского устройства и извлечение соединителя из упаковки для медицинского устройства.
Краткое описание чертежей
Более полное понимание признаков и преимуществ настоящего изобретения будет достигнуто при ознакомлении с нижеследующим подробным описанием иллюстративных вариантов осуществления изобретения, в которых использованы принципы изобретения, и с прилагаемыми чертежами (на которых подобные элементы обозначены одинаковыми позициями), на которых:
фиг.1 – упрощенный вид в перспективе с пространственным разделением деталей упаковки для медицинского устройства, соответствующей настоящему изобретению;
фиг.2A-2D – упрощенные виды сверху, сбоку, торцевой вид проксимального конца и вид с проксимального конца в перспективе основного закупоривающего элемента упаковки для медицинского устройства, показанной на фиг.1;
фиг.3А – упрощенный вид сбоку сечения основного закупоривающего элемента упаковки для медицинского устройства, показанной на фиг.1A-2D, представляющий вид по линии 3А-3А на фиг.2А в направлении, показанном стрелками;
фиг.3В – упрощенный вид сверху сечения основного закупоривающего элемента упаковки для медицинского устройства, показанной на фиг.1A-2D, представляющий вид по линии 3В-3В на фиг.2С в направлении, показанном стрелками;
фиг.4А и 4В – упрощенные виды в перспективе и сбоку соответственно медицинского устройства, которое может содержаться внутри типичных вариантов выполнения упаковок для медицинских устройств, соответствующих настоящему изобретению;
фиг.5А – упрощенный вид проксимального торца основного закупоривающего элемента, показанного на фиг.1, содержащего медицинское устройство, показанное на фиг.4А и 4В;
фиг.5В – упрощенный вид сечения основного закупоривающего элемента и медицинского устройства, показанных на фиг.5А, представляющий вид по линии 5В-5В на фиг.5А в направлении, показанном стрелками;
фиг.5С – вид сверху сечения основного закупоривающего элемента и медицинского устройства, показанных на фиг.5А, представляющий вид по линии 5С-5С на фиг.5А в направлении, показанном стрелками;
фиг.5D – вид сверху в увеличенном масштабе сечения основного закупоривающего элемента и медицинского устройства, показанных на фиг.5С;
фиг.6А и 6В – упрощенные виды сверху и в перспективе типичного варианта выполнения соединителя для использования с типичными вариантами выполнения упаковок для медицинских устройств, соответствующих настоящему изобретению;
фиг.6С – вид сбоку примерного варианта выполнения соединителя, представляющий вид по линии 6С-6С на фиг.6А в направлении, показанном стрелками;
фиг.6D – вид в перспективе проксимального конца примерного варианта выполнения соединителя, используемого с предпочтительным вариантом выполнения упаковки для медицинского устройства, соответствующей настоящему изобретению;
фиг.7 – вид сверху соединителя и вид проксимального конца примерного варианта выполнения упаковки для медицинского устройства, соответствующей настоящему изобретению;
фиг.8 – блок-схема, иллюстрирующая последовательность операций способа извлечения медицинского устройства из упаковки для медицинского устройства, соответствующей примерному варианту осуществления настоящего изобретения;
фиг.9A-D – схематические виды сечений, показывающие разные стадии осуществления способа, показанного на фиг.8;
фиг.10А-Е – схематические виды в перспективе, показывающие разные стадии осуществления способа, показанного на фиг.8;
фиг.11А-С – схематические виды сверху сечений, показывающих разные стадии осуществления способа, показанного на фиг.8;
фиг.12А-С – схематические виды в увеличенном масштабе частей, показанных на фиг.11А-С соответственно;
фиг.13 – блок-схема, показывающая последовательность операций способа извлечения медицинского устройства из упаковки для медицинского устройства и последующего блокирования медицинского устройства согласно примерному варианту осуществления настоящего изобретения;
фиг.14A-D – схематические виды сечений, показывающие разные стадии осуществления способа, показанного на фиг.13;
фиг.15А-В – схематические виды в перспективе, показывающие разные стадии осуществления способа, показанного на фиг.13;
фиг.16А и 16В – схематические виды сверху сечения, показывающие стадию осуществления способа, показанного на фиг.13;
фиг.17 – упрощенный вид в перспективе упаковки для медицинского устройства, соответствующей другому примерному варианту осуществления настоящего изобретения, содержащей медицинское устройство;
фиг.18 – вид в перспективе с пространственным разделением деталей другого примерного варианта выполнения упаковки для медицинского устройства, содержащей комплексное медицинское устройство, соответствующее настоящему изобретению;
фиг.19 – вид в перспективе с пространственным разделением деталей другого примерного варианта выполнения упаковки для медицинского устройства, содержащей комплексное медицинское устройство, соответствующей настоящему изобретению;
фиг.20 – упрощенный вид сверху сечения дополнительного примерного варианта выполнения упаковки для медицинского устройства, соответствующей настоящему изобретению;
фиг.21 – упрощенный вид сверху сечения упаковки для медицинского устройства, показанной на фиг.20, с удерживаемым в ней медицинским устройством; и
фиг.22 – упрощенный вид сверху сечения упаковки для медицинского устройства, показанной на фиг.21, с блокированным в ней медицинским устройством.
Подробное описание изобретения
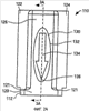
На фиг.1, 2A-2D, 3А и 3В показаны различные упрощенные виды упаковки 100 для медицинского устройства, соответствующей примерному варианту осуществления настоящего изобретения. Упаковка 100 для медицинского устройства включает основной закупоривающий элемент 110 и вспомогательный закупоривающий элемент 150.
Основной закупоривающий элемент 110 включает выполненную в нем полость 116, проксимальный конец 112 и дистальный конец 114. Выемка 116 имеет проем 118 выемки, находящийся на проксимальном конце 112 основного закупоривающего элемента 110 и конфигурированный, по меньшей мере, для частичного приема и прочного удерживания с возможностью извлечения медицинского устройства (например, комплексного медицинского устройства 300, показанного на фиг.4А и 4В).
На фиг.4А и 4В показаны упрощенные виды в перспективе и сбоку соответственно примерного комплексного медицинского устройства 300, которое может прочно и с возможностью извлечения удерживаться внутри упаковки 100 для медицинского устройства. Комплексное медицинское устройство 300 включает контрольную полоску 304 и элемент 302 для прокалывания кожной ткани, как показано на фиг.4А-4В. Контрольная полоска 304 имеет реакционный район (не показан) и электрические контакты 306, которые заканчиваются на дистальном конце 310 медицинского устройства 300. Электрические контакты 306 выполнены из любого пригодного проводящего материала, такого как углерод. Элемент 302 для прокалывания кожной ткани включает ланцет 320, приспособленный для прокалывания кожи пользователя и втягивания крови в реакционный район контрольной полоски 304. Дополнительные описания комплексных медицинских устройств, которые могут содержаться в упаковках для медицинских устройств, соответствующих настоящему изобретению, можно обнаружить в международной заявке PCT/GB 01/05634 (опубликованной под номером WO 02/49507 27 июня 2002 г.) и в заявке на патент США 10/143399, которые включены сюда в качестве ссылки. Кроме того, элемент 302 для прокалывания кожной ткани можно изготовлять при помощи штампа последовательного действия, как описано в указанной выше международной заявке PCT/GB 01/05634 и заявке на патент США 10/143399.
Возвращаясь к фиг.1, 2A-2D, 3А и 3В, следует отметить, что в варианте выполнения упаковки 100 медицинского устройства проем 118 выемки ограничен закраиной 120, имеющей достаточную площадь поверхности для связывания вспомогательного закупоривающего элемента 150 с закраиной 120 способами, известными специалистам в данной области техники, включающими термосваривание, но не ограничивающимися им. Таким образом, вспомогательный закупоривающий элемент 150 и основной закупоривающий элемент 110 упаковки 100 медицинского устройства обеспечивают стерильность и защиту от влаги содержащегося в ней медицинского устройства.
Внешние признаки основного закупоривающего элемента 110 включают первую периферийную кромку 122, вторую периферийную кромку 124, верхнюю поверхность 126 основного закупоривающего элемента и нижнюю поверхность 128 основного закупоривающего элемента. Как показано на фиг.2А, первая периферийная кромка 122 и вторая периферийная кромка 124 усечены к концу у дистальной кромки 121 закраины 120. Если необходимо, первую и вторую периферийные кромки 122, 124 можно располагать асимметрично относительно продольной оси основного закупоривающего элемента. Такая асимметричная конфигурация может обеспечивать правильную ориентацию упаковки медицинского устройства при вставке ее в принимающий паз соответствующего прибора (например, в принимающий паз аналитического измерительного прибора, конфигурированный для направления упаковки медицинского устройства к соединителю, описанному ниже со ссылками на фиг.6A-6D).
Как показано на фиг.1 и 2А, верхняя поверхность 126 основного закупоривающего элемента может включать указатель 130 направления, который не является ровным продолжением остальной верхней поверхности 126 основного закупоривающего элемента (например, возвышается над ней или, в альтернативном варианте, утоплен ниже нее). Указатель 130 направления может включать (но не ограничен ими) эллипс 132 и стрелку 134, как показано на фиг.1 и 2А. Указатель 130 направления образует для пользователя как осязаемый, так и визуальный ориентиры для правильной ориентации упаковки 100 медицинского устройства при использовании.
Выемка 116 ограничена (по меньшей мере частично) первой ровной внутренней поверхностью 127 и второй ровной внутренней поверхностью 129 и включает первый и второй боковые каналы 140 и 142 соответственно, как показано на фиг.2C-2D и 3В. Кроме того, выемка 116 также ограничена первой боковой поверхностью 170, расположенной с внутренней стороны относительно первой периферийной кромки 122, и второй боковой поверхностью 172, расположенной с внутренней стороны относительно второй периферийной кромки 124. Вблизи проксимального конца 112 первая боковая поверхность 170 имеет первую скошенную кромку 160, и вторая боковая поверхность 172 имеет вторую скошенную кромку 162. Первая скошенная кромка 160 заканчивается у начала первого бокового канала 140, а вторая скошенная кромка 162 заканчивается у начала второго бокового канала 142. Первый боковой канал 140 и второй боковой канал 142 проходят около половины длины вдоль первой и второй боковых поверхностей 170 и 172 соответственно. Первая и вторая скошенные кромки 160, 162 начинаются от проема 118 выемки и имеют наклон внутрь и к дистальному концу 114 основного закупоривающего элемента 110.
Первый и второй боковые каналы 140 и 142 начинаются от концов первой и второй скошенных кромок 160 и 162 соответственно и проходят в выемку 116 приблизительно до половины ее глубины. Первый и второй боковые каналы 140 и 142 разделены на участок 202, используемый после применения, промежуточную точку 204 и участок 206, используемый перед применением (см. фиг.3А и 3В). Как можно видеть на фиг.3В, первый боковой канал 140 представляет собой зеркальное отображение второго бокового канала 142. Из настоящего описания специалисту в данной области техники будет понятно, что первая и вторая скошенные кромки 160, 162, первый и второй боковые каналы 140, 142, промежуточная точка 204 и участок 206, используемый перед применением, конфигурированы для приема и прочного удерживания с возможностью извлечения медицинского устройства в выемке 116. Кроме того, участок 202, используемый после применения, конфигурирован для приведения в негодность использованного медицинского устройства (как описано подробно ниже со ссылками, например, на фиг.16А и 16В).
Основной закупоривающий элемент 110 может быть выполнен из любого пригодного материала, известного специалистам в данной области техники, включая, например, жесткие пластмассовые материалы, такие как полистирол, поликарбонат и полиэфир. Такие жесткие пластмассовые материалы не допускают прокалывания и непроницаемы для воздуха и переносимых по воздуху бактерий и, таким образом, обеспечивают стерильность и защиту от прокалывания. С точки зрения защиты от влаги может быть особенно предпочтительно выполнять основной закупоривающий элемент 110 из наполненного влагопоглотителем полиэтилена высокой плотности (например, наполненного влагопоглотителем полиэтилена высокой плотности 2АР, производимого компанией Airsec во Франции).
Вспомогательный закупоривающий элемент 150 конфигурирован для закупоривания проема 118 выемки после помещения медицинского устройства в выемку 116. В варианте осуществления изобретения, показанном на фиг.1, вспомогательный закупоривающий элемент 150 представляет собой прорываемую пленку, такую как прорываемая металлическая фольга. Другие пригодные материалы для выполнения вспомогательного закупоривающего элемента 150 включают бумагу, полимер и материал Tyvek. Однако, как описано ниже относительно других вариантов осуществления изобретения, вспомогательный закупоривающий элемент 150 может иметь различные формы, каждая из которых обеспечивает закупоривание проема выемки соответствующего основного закупоривающего элемента после, по меньшей мере, частичной вставки медицинского устройства в выемку основного закупоривающего элемента.
На фиг.2D показан вид в перспективе проксимального конца основного закупоривающего элемента 110. Промежуточная точка 204 включает вертикальный уступ 204А и горизонтальный уступ 204В, как показано на фиг.2D. После помещения неиспользованного медицинского устройства (например, комплексного медицинского устройства 300, показанного на фиг.4А и 4В до использования) в выемку 116 основного закупоривающего элемента 110 вертикальный уступ 204А предотвращает вставку медицинского устройства (не показано) дальше промежуточной точки 204 (см. фиг.2А и 2В). Другими словами, неиспользованное медицинское устройство вставляется только до достижения первого положения, которое определяется вхождением в контакт неиспользованного медицинского устройства с промежуточной точкой 204. Однако, когда медицинское устройство использовано, такое использованное медицинское устройство может быть вставлено назад в выемку 116 основного закупоривающего элемента 110 для приведения в состояние негодности и удаления в отходы. При этом использованное медицинское устройство (например, комплексное медицинское устройство 300, показанное на фиг.4А и 4В после использования) вставляют дальше первого положения, до достижения второго положения, в котором использованное медицинское устройство проходит за промежуточную точку 204 к дистальному концу 114 и невосстановимо повреждается (то есть приводится в негодность) горизонтальным уступом 204В. Такое повреждение предотвращает последующее извлечение и, таким образом, повторное использование однажды использованного медицинского устройства.
На фиг.5A-5D показаны разные виды основного закупоривающего элемента 100, показанного на фиг.1, с комплексным медицинским устройством 300, показанным на фиг.4А и 4В, вставленным в него, до использования комплексного медицинского устройства 300 (то есть комплексное медицинское устройство 300 не использовалось). Как показано на фиг.5A-5D, комплексное медицинское устройство 300 проходит между первым боковым каналом 140 и вторым боковым каналом 142 и лежит параллельно первой ровной внутренней поверхности 127 и второй ровной внутренней поверхности 129. Неиспользованное комплексное медицинское устройство 300 прочно удерживается внутри выемки 116 за счет трения первым боковым каналом 140 и вторым боковым каналом 142. Дистальный конец 310 комплексного медицинского устройства 300 остается в проксимальном конце 112 упаковки 100 медицинского устройства 100 и не входит в контакт с первым боковым каналом 140 и вторым боковым каналом 142. Кроме того, следует отметить, что ланцет 320 находится внутри полости 116 и, таким образом, защищен от непреднамеренного повреждения. Неиспользованное комплексное медицинское устройство 300 расположено в первом и втором боковых каналах 140 и 142 так, что проксимальный конец 312 комплексного медицинского устройства 300 касается промежуточной точки 204, но не проходит дальше нее, а дистальный конец 310 комплексного медицинского устройства 300 остается свободным и не входит в контакт с первым и вторым боковыми каналами 140 и 142 в выемке 116 (см. фиг.5С и 5D) основного закупоривающего элемента 110.
На фиг.6A-6D показан примерный вариант выполнения соединителя 500, предназначенного для извлечения комплексного медицинского устройства 300 из упаковки 100 для медицинского устройства. Кроме того, соединитель 500, предпочтительно, можно использовать для механического и/или манипулирования вручную таким медицинским устройством, когда медицинское устройство извлечено из упаковки для медицинского устройства. Например, соединитель 500 можно использовать для перемещения медицинского устройства из упаковки для медицинского устройства в измерительную систему. Как будет понятно специалистам в данной области техники, соединитель 500 может быть компонентом (или отделяемым компонентом, или постоянно соединенным компонентом) измерительной системы (например, аналитического измерительного прибора для определения концентраций анализируемого вещества в образцах биологической жидкости). В альтернативном варианте соединитель 500 может быть скомбинирован с упаковками для медицинских устройств для формирования комплекта, соответствующего примерному варианту осуществления настоящего изобретения.
Соединитель 500 включает элемент 502 для извлечения полоски и корпус 504 соединителя. Кроме того, соединитель 500 включает проксимальный конец 510 и дистальный конец 512, верхнюю поверхность 514 и нижнюю поверхность 516. Корпус 504 соединителя включает указатель 518 направления соединителя, находящийся на верхней поверхности 514. Указатель 518 (возможный) направления соединителя не является ровным продолжением верхней поверхности 514 соединителя 500 (например, возвышается над ней или утоплен ниже нее). Указатель 518 направления соединителя может включать (но не ограничиваясь ими) эллипс 530 и стрелку 532. Указатель 518 направления соединителя образует для пользователя как осязаемый, так и визуальный ориентиры для правильной ориентации соединителя 500 при вставке в упаковку 100 для медицинского устройства.
Элемент 502 для извлечения полоски включает нижнюю ветвь 540 для захвата полоски, верхнюю ветвь 542 для захвата полоски и множество элементов 544 для захвата полоски, как показано на фиг.6C-6D. Соединитель 500 также включает электрические провода (не показаны) для создания электрического соединения (соединений) между элементами 544 для захвата полоски и аналитическим измерительным прибором. Кроме того, элемент 502 для извлечения полоски включает вертикальный барьер 550, который входит в контакт с дистальным концом 310 комплексного медицинского устройства 300, когда комплексное медицинское устройство 300 захвачено соединителем 500. Хотя для иллюстрации и описания на фиг.60 показаны три элемента 544 для захвата полоски, элемент 502 для извлечения полоски может включать любое пригодное количество элементов для захвата полоски. Элементы 544 для захвата полоски находятся на внутренней поверхности 543 верхней ветви 542 для захвата полоски. Элементы 544 для захвата полоски представляют собой подпружиненные соединения, выполненные, например, посредством запрессовывания в соединитель 500 любым пригодным способом, известным специалистам в данной области техники. Элементы 544 для захвата полоски используются для вхождения в контакт с контрольной полоской 304 комплексного медицинского устройства 300 при помощи электрических контактов 306. Специалисту в данной области техники будет понятно, что соединитель 500 может обеспечивать электрическое соединение между контрольной полоской 304 и аналитическим измерительным прибором при помощи элементов 544 для захвата полоски и электрических проводов соединителя.
На фиг.7 показан вид сверху соединителя 500 и вид проксимального торца основного закупоривающего элемента 110, причем вертикальными прерывистыми линиями показано правильное выравнивание соединителя 500 при извлечении медицинского устройства. Сплошной горизонтальной линией 5F-5F показана ширина медицинского устройства (составляющая, например, приблизительно 5,5 мм), а сплошной горизонтальной линией 5G-5G показана ширина элемента 502 для захвата полоски (составляющая, например, приблизительно 4,5 мм).
На фиг.8 показана блок-схема, иллюстрирующая последовательность операций способа 800 извлечения медицинского устройства из упаковки для медицинского устройства, соответствующей примерному варианту осуществления настоящего изобретения. Способ 800 описан ниже со ссылками на фиг.9A-D (схематические виды сечений, показывающие разные стадии осуществления способа 800), фиг.10А-Е (схематические виды в перспективе, показывающие разные стадии осуществления способа 800), фиг.11А-С (схематические виды сверху сечений, показывающие разные стадии осуществления способа 800) и фиг.12А-С (схематические виды в увеличенном масштабе частей фиг.11А-С, соответственно).
Способ включает, в первую очередь, (I) выполнение упаковки для медицинского устройства с вспомогательным закупоривающим элементом и содержащимся в ней медицинским устройством и (II) выполнение соединителя, как показано согласно операции 810 на фиг.8. Специалисту в данной области техники будет понятно, что упаковка для медицинского устройства и соединитель могут быть любой пригодной упаковкой для медицинского устройства, соответствующей настоящему изобретению, которая включает прорываемый вспомогательный закупоривающий элемент (например, упаковкой для медицинского устройства, показанной на фиг.1), и любым пригодным соединителем, соответствующим настоящему изобретению. Типичные упаковка для медицинского устройства и соединитель показаны на фиг.9А и фиг.10А, на которых подобные элементы упаковки для медицинского устройства и соединителя, показанных на предшествующих фигурах, обозначены одинаковыми позициями.
Далее, как показано согласно операции 820, вспомогательный закупоривающий элемент прорывают (например, пробивают) соединителем, чтобы, по меньшей мере, часть соединителя вошла в выемку основного закупоривающего элемента (см. фиг.9В, 10В, 11А и 12А). Затем соединитель захватывает медицинское устройство (см. фиг.9С, 10С, 11В и 12В), как указано согласно операции 830. Усилие, требуемое для сцепления соединителя с медицинским устройством, составляет, например, приблизительно 2 Н. Соединитель и захваченное медицинское устройство затем извлекают из выемки упаковки для медицинского устройства, как указано согласно операции 840 (см. фиг.9D, 10D-10E, 11С и 12С). Каждую из операций способа 800 выполняют, например, или вручную пользователем, или при помощи механического и/или электрического устройства.
Следует отметить, что прерывание вспомогательного закупоривающего элемента (такого как прорываемая пленка) и захват медицинского устройства соединителем не приводят к прохождению медицинского устройства за промежуточные точки 204 первого и второго боковых каналов 140, 142 (как показано на фиг.12А и 12В, которые соответствуют операциям прерывания и захвата способа 800), поскольку усилие, требуемое для продвижения медицинского устройства за промежуточные точки 204 (например, 7 Н), значительно превышает усилие, требуемое для сцепления соединителя с медицинским устройством (например, 2 Н). В варианте осуществления изобретения, показанном на фиг.9A-9D, 10А-10Е, 11А-11С и 12А-12С, в ходе операции захвата элементы для захвата полоски соединителя захватывают контрольную полоску 304 комплексного медицинского устройства 300, и вертикальный барьер соединителя входит в контакт с дистальным концом комплексного медицинского устройства 300. Усилие, требуемое для прерывания вспомогательного закупоривающего элемента и захвата медицинского устройства, может составлять, например, от около 1,5 Н до 2,5 Н.
Сплошная линия 5F-5F на фиг.10Е показывает размер, который идентичен размеру сплошной горизонтальной линии 5F-5F на фиг.7 (то есть ширине комплексного медицинского устройства 300). Сплошная линия 10Н-10Н на фиг.10Е показывает ширину ланцета медицинского устройства. Сплошная линия 10I-10I на фиг.10Е показывает ширину проема выемки упаковки для медицинского устройства, которая превышает размер, показанный сплошной линией 5F-5F, для обеспечения беспрепятственной вставки медицинского устройства в выемку и извлечения из нее.
Способ может осуществляться вручную или автоматически. Кроме того, способ может осуществляться, например, комплексным устройством, в котором скомбинированы аналитический измерительный прибор и соединитель в конфигурации, которая предусматривает: (I) извлечение медицинского устройства из упаковки для медицинского устройства; (II) получение от пользователя пробы (например, пробы цельной крови) и получение результата анализа (например, концентрации глюкозы в пробе цельной крови) в ходе одной операции, выполняемой комплексным устройством. Механические перемещения могут быть включены во взведение ланцета, приведение в готовность новой контрольной полоски и/или удаление.
На фиг.13 показана блок-схема, иллюстрирующая последовательность операций способа извлечения медицинского устройства из упаковки для медицинского устройства для использования и последующего приведения в негодность медицинского устройства после использования согласно примерному варианту осуществления настоящего изобретения. Способ описан ниже со ссылками на фиг.14A-14D (схематические виды сечений, показывающие разные стадии осуществления способа), фиг.15A-15D (схематические виды в перспективе, показывающие разные стадии осуществления способа) и фиг.16А-16В (схематические виды сверху сечений, показывающие стадию осуществления способа).
Способ включает, в первую очередь, (I) выполнение упаковки для медицинского устройства с вспомогательным закупоривающим элементом и медицинским устройством, содержащимся в ней в первом положении, и (II) выполнение соединителя, как показано согласно операции 1310 на фиг.13. Специалисту в данной области техники будет понятно, что упаковка для медицинского устройства и соединитель могут быть любой упаковкой для медицинского устройства, соответствующей настоящему изобретению, которая включает прорываемый вспомогательный закупоривающий элемент (например, упаковкой для медицинского устройства, показанной на фиг.1).
Затем в ходе операции 1320 вспомогательный закупоривающий элемент прорывают (например, пробивают) соединителем, чтобы, по меньшей мере, часть соединителя вошла в выемку основного закупоривающего элемента. Затем соединитель захватывает медицинское устройство, как указано согласно операции 1330. Соединитель и захваченное медицинское устройство затем извлекают из выемки упаковки для медицинского устройства для использования, как указано согласно операции 1340.
Затем в ходе операции 1350 соединитель и захваченное медицинское устройство вставляют обратно в выемку упаковки для медицинского устройства во второе положение, в результате чего медицинское устройство приводят в негодность (см. фиг.14А-14С, 15Д-15С и 16А-16В). Затем соединитель выводят из зацепления с медицинским устройством и извлекают из упаковки для медицинского устройства, как указано согласно операции 1360. Предполагается, что в ходе операции 1350 медицинское устройство приводят в негодность в силу того, что медицинское устройство заклинивают в выемке, и усилие, требуемое для извлечения медицинского устройства из выемки, превышает усилие, требуемое для отсоединения соединителя от медицинского устройства. Таким образом, попытка повторно извлечь медицинское устройство при помощи соединителя не принесет успеха, поскольку соединитель будет отсоединяться от медицинского устройства, не прилагая усилия, достаточного для извлечения заклиненного медицинского устройства.
Следует отметить, что при вставке соединителя и захваченного медицинского устройства в выемку в ходе операции 1350 медицинское устройство проходит во второе положение в пределах участка 202, используемого после применения, которое находится за промежуточными точками 204 первого и второго боковых каналов (см., в частности, фиг.16В), то есть дальше первого положения. Усилие, требуемое для вставки медицинского устройства в упаковку для медицинского устройства и приведения медицинского устройства в негодность составляет, например, приблизительно 7 Н. Как отмечалось выше, приведение в негодность медицинского устройства является результатом того, что медицинское устройство заклинивают в выемке таким образом, что его невозможно повторно извлечь при помощи соединителя.
На фиг.17 показана упаковка 1900 для медицинского устройства, соответствующая другому примерному варианту осуществления настоящего изобретения. На фиг.17 прерывистыми линиями показаны некоторые признаки, которые скрыты, поскольку фиг.17 является видом в перспективе. Кроме того, на фиг.17 показан случай, когда медицинское устройство (то есть комплексное медицинское устройство 300, показанное на фиг.4А и 4В) удерживается внутри упаковки 1900 для медицинского устройства частично. В варианте осуществления изобретения, показанном на фиг.17, электрические контакты 306 проходят из выемки через ее проем и вспомогательный закупоривающий элемент. Поскольку электрические контакты 306 проходят через проем выемки и вспомогательный закупоривающий элемент, сцепление электрических контактов с соединителем может быть упрощено. Например, нет необходимости в прерывании или, по-другому, удалении любого компонента упаковки медицинского устройства для получения доступа к электрическим контактам, и электрические контакты могут свободно отклоняться при сцеплении с соединителем.
Упаковка 1900 для медицинского устройства включает основной закупоривающий элемент 1910, имеющий проксимальный конец 1912, выемку 1918 и проем 1916 выемки. Дистальный конец 1914 конфигурирован для выполнения функций ручки при извлечении вручную упаковки 1900 медицинского устройства из вспомогательного закупоривающего элемента (не показан).
Упаковка 1900 медицинского устройства может быть выполнена, например, из литой пластмассы или другого материала, который непроницаем для воздуха и/или переносимых по воздуху бактерий для создания сохраняющей стерильность и не допускающей прокалывания защиты. Пригодные материалы включают (но не ограничиваются ими) полистирол, полиэтилен, поликарбонат и полиэфир.
Выемка 1918 упаковки 1900 медицинского устройства ограничена поверхностями, обозначенными прерывистыми линиями на фиг.17. Проем 1916 выемки конфигурирован для обеспечения помещения полностью элемента 302 для прокалывания кожной ткани медицинского устройства 300 в выемку 1918, как показано на фиг.17. Упаковка 1900 для медицинского устройства включает расположенные внутри ребра 1960, находящиеся ближе к дистальному концу относительно проема 1916 выемки. Ребра 1960 служат для уплотнения выемки 1918, когда медицинское устройство частично вставлено в него, и обеспечивают стерильность и защиту для элемента 302 для прокалывания кожной ткани посредством создания извилистого пути между окружающей средой и выемкой упаковки для медицинского устройства. Ребра 1960 совместно с по меньшей мере частично вставленным медицинским устройством служат вспомогательным закупоривающим элементом для упаковки 1900 для медицинского устройства. В качестве альтернативы ребрам 1960 можно использовать эластомерные кольцевые уплотнения для закупоривания выемки 1918, когда в нее частично вставлено медицинское устройство, и для обеспечения стерильности и защиты для элемента 302 для прокалывания кожной ткани.
На фиг.18 показан вид в перспективе с пространственным разделением деталей упаковки 2000 для медицинского устройства, соответствующей еще одному примерному варианту осуществления настоящего изобретения, содержащей медицинское устройство 300 (показанное на фиг.4А и 4В). Упаковка 2000 для медицинского устройства включает основной закупоривающий элемент 2010 и вспомогательный закупоривающий элемент 2020. Основной закупоривающий элемент 2010 имеет проксимальный конец 2012, дистальный конец 2014, проем выемки (не показан) и выемку (также не показана). Выемка и проем выемки основного закупоривающего элемента 2010 конфигурированы для помещения в выемку элемента для прокалывания кожной ткани комплексного медицинского устройства целиком, чтобы обеспечивать защиту этого элемента для прокалывания кожной ткани.
Вспомогательный закупоривающий элемент 2020 имеет проксимальный конец 2022, дистальный конец 2024, проем 2026 вспомогательного закупоривающего элемента и выемку (не показана) вспомогательного закупоривающего элемента. Проем 2026 вспомогательного закупоривающего элемента и выемка вспомогательного закупоривающего элемента конфигурированы для помещения в выемку контрольной полоски 304 комплексного медицинского устройства целиком или частично. Кроме того, проксимальный конец 2012 основного закупоривающего элемента 2010 приспособлен для плотного вхождения в проем 2026 вспомогательного закупоривающего элемента и в выемку вспомогательного закупоривающего элемента. Когда основной закупоривающий элемент 2010 плотно вставлен в проем 2026 вспомогательного закупоривающего элемента и в выемку вспомогательного закупоривающего элемента, комплексное медицинское устройство 300 полностью закрыто, при этом обеспечивается защита его стерильности и защита от влаги.
Предпочтительно, как основной закупоривающий элемент 2010, так и вспомогательный закупоривающий элемент 2020 выполняют из литой пластмассы или другого жесткого материала, который непроницаем для воздуха и переносимых по воздуху бактерий, для обеспечения стерильности и предотвращения прокалывания. Пригодные материалы для выполнения основного закупоривающего элемента 2010 и вспомогательного закупоривающего элемента 2020 включают (но не ограничиваются ими) полистирол, полиэтилен, поликарбонат и полиэфир.
На фиг.19 показан вид в перспективе с пространственным разделением деталей еще одного примерного варианта осуществления настоящего изобретения. Упаковка 2100 для медицинского устройства включает основной закупоривающий элемент 2110 и вспомогательный закупоривающий элемент 2120. Основной закупоривающий элемент 2110 имеет проксимальный конец 2112, дистальный конец 2114, проем 2116 выемки и выемку (не показана). Проем 2116 выемки и выемка упаковки 2100 для медицинского устройства конфигурированы для помещения элемента 302 для прокалывания кожной ткани комплексного медицинского устройства и проксимального конца 2122 вспомогательного закупоривающего элемента (описан ниже) в выемку целиком, что обеспечивает защиту элемента 302 для прокалывания кожной ткани.
Вспомогательный закупоривающий элемент 2120 упаковки 2100 для медицинского устройства имеет проксимальный конец 2122 и дистальный конец 2124. Кроме того, комплексное медицинское устройство 300 постоянно прикреплено к вспомогательному закупоривающему элементу 2120 на проксимальном конце 2122. Следует отметить, что постоянное прикрепление такого комплексного медицинского устройства к вспомогательному закупоривающему элементу 2120 обеспечивает преимущества при манипулировании в ходе использования комплексного медицинского устройства. Например, вспомогательный закупоривающий элемент может быть сцеплен с измерительным прибором, после чего пользователь может легко снять основной закупоривающий элемент (например, посредством стягивания, вращения или разъединения защелкивающегося соединения) для приведения в рабочее положение комплексного медицинского устройства.
На фиг.20, 21 и 22 показан основной закупоривающий элемент 2450 упаковки для медицинского устройства, соответствующей другому типичному варианту осуществления настоящего изобретения (для ясности вспомогательный закупоривающий элемент этой упаковки для медицинского устройства не показан). На фиг.21 показано комплексное медицинское устройство 300, удерживаемое внутри основного закупоривающего элемента 2450, и на фиг.22 показано комплексное медицинское устройство 300, блокированное внутри основного закупоривающего элемента 2450. Основной закупоривающий элемент 2450 идентичен основному закупоривающему элементу 110, показанному на фиг.3В, за исключением того, что основной закупоривающий элемент 2450 имеет выемку 2452 в дистальном конце, конфигурированную для блокирования и удаления в отходы комплексного медицинского устройства.
Специалистам в данной области техники будет понятно, что варианты выполнения упаковок для медицинских устройств, соответствующих настоящему изобретению, могут быть вторично упакованы для одноразового использования, например, в небольшую тару или картридж, конфигурированный для выдачи упаковок с медицинскими устройствами. Вторичная упаковка может быть выполнена из материала, содержащего влагопоглотитель, или она может содержать отдельно упакованный влагопоглотитель для поддержания сухого состояния содержимого.
При ознакомлении с настоящим описанием специалисту в данной области техники также будет понятно, что с вариантами выполнения упаковок для медицинских устройств, соответствующими настоящему изобретению, можно с пользой применять множество различных медицинских устройств. Такие медицинские устройства включают (но не ограничиваются ими) комплексные медицинские устройства, включающие комбинацию из контрольной полоски и ланцета, примеры которых описаны в указанных выше в международной заявке PCT/GB 01/05634 и в заявке на патент США 10/143399, которые включены сюда в качестве ссылки. Специалисту в данной области также будет понятно, что такие контрольные полоски могут иметь (но не ограничиваясь ими) электрохимическую или фотометрическую конфигурацию. Только для примера медицинские устройства на разных чертежах в настоящем описании были показаны в электрохимической конфигурации.
Кроме того, специалистам в данной области техники будет понятно, что упаковки для медицинских устройств, соответствующие вариантам осуществления настоящего изобретения, можно использовать с медицинским устройством, предназначенным для измерения, например, содержания глюкозы, кетонов, гликированного альбумина, холестерина и параметров свертывания пробы.
Кроме того, специалисту в данной области техники будет также понятно, что упаковки для медицинских устройств, соответствующие настоящему изобретению, могут содержаться в комбинированной системе взятия проб и анализа на месте. Примеры таких систем, предназначенных для анализа на месте, описаны в международной заявке на патент PCT/US 01/07169 (опубликованной под номером WO 01/64105 А1 7 сентября 2001 г.) и в международной заявке на патент РСТ/СВ 02/03772 (опубликованной под номером WO 03/015627 А1 27 февраля 2003 г.), каждая из которых включена сюда в качестве ссылки.
Следует понимать, что при осуществлении изобретения в описанные здесь варианты его осуществления могут быть внесены различные альтернативы. Предполагается, что нижеследующая формула изобретения определяет объем изобретения и что она охватывает способы и конструкции, входящие в объем этой формулы изобретения и ее эквивалентов.
Формула изобретения
1. Упаковка для медицинского устройства, содержащая основной закупоривающий элемент с выполненной в нем выемкой, причем основной закупоривающий элемент включает проксимальный конец и дистальный конец, при этом выемка имеет проем выемки на проксимальном конце основного закупоривающего элемента и конфигурирована для приема и прочного удерживания в ней, по меньшей мере частично, медицинского устройства с возможностью его извлечения, и вспомогательный закупоривающий элемент, выполненный для закупоривания проема выемки, когда медицинское устройство вставлено в выемку, при этом выемка имеет по меньшей мере один боковой канал, который разделен на участок, используемый перед применением, и участок, используемый после применения, причем участок, используемый перед применением, конфигурирован для приема и прочного удерживания с возможностью извлечения медицинского устройства в выемке, а участок, используемый после применения, конфигурирован для приведения в негодность использованного медицинского устройства.
2. Упаковка по п.1, в которой медицинское устройство прочно и с возможностью извлечения удерживается за счет трения между медицинским устройством и по меньшей мере одним боковым каналом.
3. Упаковка по п.1, в которой основной закупоривающий элемент включает указатель направления.
4. Упаковка по п.1, в которой выемка основного закупоривающего элемента выполнена для приема и прочного удерживания с возможностью извлечения комплексного медицинского устройства, которое включает электрические контакты, проходящие через проем выемки и вспомогательный закупоривающий элемент.
5. Упаковка по п.1, в которой вспомогательный закупоривающий элемент включает ребра, которые уплотняют проем выемки.
6. Упаковка по п.1, в которой вспомогательный закупоривающий элемент представляет собой прорываемый вспомогательный закупоривающий элемент.
7. Упаковка по п.1, в которой вспомогательный закупоривающий элемент выполнен для постоянного прикрепления к медицинскому устройству.
8. Упаковка по п.1, в которой основной закупоривающий элемент дополнительно включает выемку в дистальном конце, выполненную для блокирования медицинского устройства.
9. Упаковочный комплект для медицинского устройства, содержащий основной закупоривающий элемент с выполненной в нем выемкой, причем основной закупоривающий элемент включает проксимальный конец и дистальный конец, при этом выемка имеет проем выемки на проксимальном конце основного закупоривающего элемента и конфигурирована для приема и прочного удерживания в ней, по меньшей мере частично, медицинского устройства с возможностью его извлечения, вспомогательный закупоривающий элемент, выполненный для закупоривания проема выемки, когда медицинское устройство вставлено в выемку, и соединитель, выполненный для захвата медицинского устройства при извлечении медицинского устройства из выемки, при этом выемка имеет по меньшей мере один боковой канал, который разделен на участок, используемый перед применением, и участок, используемый после применения, причем участок, используемый перед применением, конфигурирован для приема и прочного удерживания с возможностью извлечения медицинского устройства в выемке, а участок, используемый после применения, конфигурирован для приведения в негодность использованного медицинского устройства.
10. Упаковочный комплект по п.9, в котором соединитель включает указатель направления соединителя.
11. Упаковочный комплект по п.9, в котором соединитель имеет форму, обеспечивающую прорывание вспомогательного закупоривающего элемента.
12. Упаковочный комплект по п.9, в котором соединитель включает по меньшей мере один элемент для захвата полоски для соединения с электрическими контактами медицинского устройства.
13. Способ извлечения медицинского устройства из упаковки для медицинского устройства и последующего приведения медицинского устройства в негодность, включающий выполнение упаковки для медицинского устройства с содержащимся в нем медицинским устройством, причем упаковка для медицинского устройства включает основной закупоривающий элемент с выемкой, при этом основной закупоривающий элемент включает проксимальный конец и дистальный конец, при этом выемка имеет проем выемки на проксимальном конце основного закупоривающего элемента и имеет форму, обеспечивающую прием и прочное удерживание в ней, по меньшей мере частично, медицинского устройства с возможностью его извлечения; и вспомогательный закупоривающий элемент, обеспечивающий закупоривание проема выемки, захват медицинского устройства, извлечение захваченного медицинского устройства из выемки упаковки для медицинского устройства, и последующую вставку захваченного медицинского устройства в выемку упаковки для медицинского устройства во второе положение для приведения в негодность медицинского устройства для последующего использования.
14. Способ по п.13, в котором используют медицинское устройство, представляющее собой комплексное медицинское устройство, которое включает элемент для прокалывания кожной ткани и контрольную полоску.
15. Способ извлечения медицинского устройства из упаковки для медицинского устройства и последующего приведения медицинского устройства в негодность, включающий выполнение упаковки для медицинского устройства с содержащимся в нем медицинским устройством, находящимся в первом положении, причем упаковка для медицинского устройства включает основной закупоривающий элемент с выемкой, при этом основной закупоривающий элемент включает проксимальный конец, и дистальный конец, а выемка имеет проем на проксимальном конце основного закупоривающего элемента и имеет форму, обеспечивающую прием и прочное удерживание в ней, по меньшей мере частично, медицинского устройства с возможностью его извлечения; вспомогательный закупоривающий элемент, обеспечивающий закупоривание проема выемки, и соединитель, прорывание вспомогательного закупоривающего элемента соединителем, чтобы по меньшей мере часть соединителя входила в выемку для медицинского устройства, захват медицинского устройства соединителем, извлечение соединителя и захваченного медицинского устройства из выемки упаковки для медицинского устройства, и последующую вставку соединителя и захваченного медицинского устройства в выемку упаковки для медицинского устройства во второе положение для приведения в негодность медицинского устройства для последующего использования.
16. Способ по п.15, в котором операция вставки включает вставку захваченного медицинского устройства в выемку основного закупоривающего элемента.
17. Способ по п.16, в котором операция вставки включает вставку захваченного медицинского устройства в выемку на дистальном конце упаковки для медицинского устройства.
18. Способ по п.16, дополнительно включающий отсоединение соединителя от блокированного медицинского устройства и извлечение соединителя из упаковки для медицинского устройства.
РИСУНКИ
|
|