|
|
(21), (22) Заявка: 2008112494/14, 19.03.2008
(24) Дата начала отсчета срока действия патента:
19.03.2008
(46) Опубликовано: 20.06.2009
(56) Список документов, цитированных в отчете о поиске:
ПЕТРОВ Б.А., ГАЛЬПЕРИН Э.И. Хирургия внепеченочных желчных протоков. – М.: Медицина, 1971, с.87, 88. RU 70781 U1, 20.02.2008. US 4512338, 23.04.1985. US 6682554, 27.01.2004. LEIGHTON J.A. Recent advanced in endoscopic capsule imaging: see what we have been missing, Rev. Gastroenterol. Disord., 2006, suppl., 1: S19-27.
Адрес для переписки:
450000, г.Уфа-Центр, ул. Ленина, 3, БАШГОСМЕДУНИВЕРСИТЕТ, патентный отдел
|
(72) Автор(ы):
Мустафин Тагир Исламнурович (RU), Тимербулатов Махмуд Вилевич (RU), Шарифгалиев Ильдар Асхадуллович (RU), Куклин Дмитрий Сергеевич (RU), Мустафин Артур Тагирович (RU)
(73) Патентообладатель(и):
Государственное образовательное учреждение высшего профессионального образования “БАШКИРСКИЙ ГОСУДАРСТВЕННЫЙ МЕДИЦИНСКИЙ УНИВЕРСИТЕТ ФЕДЕРАЛЬНОГО АГЕНТСТВА ПО ЗДРАВООХРАНЕНИЮ И СОЦИАЛЬНОМУ РАЗВИТИЮ” (ГОУ ВПО БГМУ РОСЗДРАВА) (RU)
|
(54) СПОСОБ ПРОВЕДЕНИЯ ИССЛЕДОВАНИЯ ДЛЯ ОПРЕДЕЛЕНИЯ ПРОХОДИМОСТИ ПОЛЫХ ОРГАНОВ ДЛЯ ЖИДКОСТИ В ЭКСПЕРИМЕНТЕ
(57) Реферат:
Изобретение относится к медицине, может быть использовано для определения проходимости полых органов в эксперименте. Используют устройство, содержащее ящик с крышкой. На дне ящика размещена кружка Эсмарха. Поверх кружки расположена манжета от тонометра. Трубки от манжеты тонометра с присоединенными к ним манометром, насосом и трубка от кружки Эсмарха с присоединенной к ее свободному концу канюлей выведены наружу. Канюля имеет расширение. Трубки выведены через отверстия на боковой стенке ящика. Кружку Эсмарха заполняют 0,9% водным раствором хлорида натрия. Канюлю посредством лигатуры герметично устанавливают в просвете исследуемого органа. Работой насоса повышают давление в системе. Отмечают давление начала истечения жидкости из просвета исследуемого органа. Измеряют объем жидкости, прошедшей через просвет полого органа за единицу времени при давлении 20 и более мм ртутного столба. Способ позволяет количественно определить проходимость полого органа, улучшить параметры стандартизации исследования. 1 ил.
Изобретение относится к медицине, в частности к патологической анатомии и патофизиологии, и может быть использовано для определения проходимости полых органов (желчный пузырь, мочевой пузырь, кровеносный сосуд) в эксперименте.
Проходимость полых органов для биологических жидкостей является важным показателем, отражающим эвакуаторную, транспортную функцию органа. Органические изменения в стенке полого органа зачастую вызывают затруднение проходимости жидкости (пассажа) и нередко сопровождают заболевания этих органов.
Известен метод определения скорости кровотока в сосудах при ультразвуковом исследовании (Митьков В.В. Клиническое руководство по ультразвуковой диагностике. – М.: Видар, 1996. – Т 1-3). Метод основан на регистрации изменения длины волны ультразвукового излучения при отражении от движущегося в кровеносном сосуде потоке крови in vivo (эффект Доплера). Однако метод непригоден для исследования пассажа жидкостей, не отражающих ультразвук (моча, желчь), а также на изолированных органах in vitro (операционный и экспериментальный материал).
Авторами в доступной научно-медицинской и патентной литературе не обнаружено сведений об известности способа проведения исследования для определения проходимости полых органов в эксперименте.
Технический результат – количественное определение проходимости полого органа по скорости истечения жидкости из него при заданном гидростатическом давлении в эксперименте, улучшение параметров стандартизации исследования.
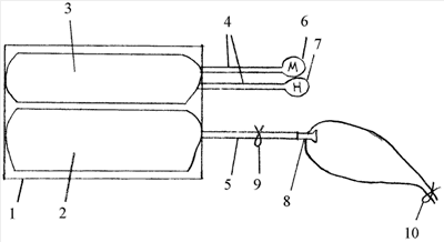
Предлагаемый способ иллюстрируется чертежом, на котором изображен общий вид устройства для определения проходимости полых органов.
Предлагаемый способ определения проходимости полых органов для жидкости в эксперименте осуществляется следующим образом. При изготовлении устройства (см. чертеж) используют плотный ящик с крышкой 1 размером 30×21×15 см, на дно ящика укладывают кружку Эсмарха 2, поверх нее – манжету 3 от тонометра для измерения артериального давления. Трубки 4 от манжеты тонометра с присоединенными к ним манометром 6 и насосом 7, а также трубку 5 от кружки Эсмарха выводят наружу через отверстия на боковой стенке ящика. Свободный конец трубки 5 герметично соединяют с канюлей 8, имеющей расширение на конце. В качестве измерительного устройства используют манометр 6, мерный цилиндр и секундомер.
Перед началом работы кружку Эсмарха заполняют 0,9% водным раствором хлорида натрия, а на трубку 5 накладывают зажим 9. Крышку ящика плотно закрывают. На этом завершают этап подготовки устройства.
На втором этапе канюлю 8 посредством лигатуры герметично устанавливают в просвете исследуемого органа. Зажим 9 снимают. Работой насоса 7 медленно повышают давление в системе. По показаниям манометра отмечают давление начала истечения жидкости из просвета исследуемого органа. Далее накладывают зажим на выходной отдел исследуемого органа, работой насоса повышают и постоянно поддерживают гидростатическое давление в органе на уровне 20 мм ртутного столба (по данным манометра), зажим снимают. С помощью мерной колбы и секундомера замеряют объем жидкости (мл), прошедшей через просвет полого органа за 1 минуту. Аналогичные измерения производятся при давлении 30, 40, 50 и т.д. мм ртутного столба. Данные фиксируют в протоколе исследования.
При работе устройства поддерживают минимальный объем жидкости в кружке Эсмарха 1500 мл.
Принцип работы. При нагнетании воздуха насосом 7 манжета от тонометра, увеличиваясь, давит на кружку Эсмарха, что повышает давление физиологического раствора в ней и в просвете исследуемого органа (контроль идентичности давления воздуха в манжете и давления жидкости в кружке Эсмарха был произведен установкой в него водного манометра). Скорость истечения жидкости через просвет полого органа при постоянном гидростатическом давлении зависит лишь от внутреннего диаметра наиболее узкой части полого органа, что является физической основой предложенного метода. Таким образом, скорость истечения жидкости через просвет полого органа при заданном постоянном гидростатическом давлении характеризует его проходимость. Использование в качестве рабочей жидкости изотонического раствора хлорида натрия позволяет избежать погрешностей, вызванных гидратацией тканей органа, в случае использования воды.
Формула изобретения
Способ исследования проходимости полых органов для жидкости в эксперименте, характеризующийся тем, что используют устройство, содержащее ящик с крышкой, на дне которого размещена кружка Эсмарха, а поверх нее манжета от тонометра, при этом трубки от манжеты тонометра с присоединенными к ним манометром, насосом и трубка от кружки Эсмарха с присоединенной к ее свободному концу канюлей, имеющей расширение, выведены наружу через отверстия на боковой стенке ящика, кружку Эсмарха заполняют 0,9%-ным водным раствором хлорида натрия, канюлю посредством лигатуры герметично устанавливают в просвете исследуемого органа, работой насоса повышают давление в системе, отмечают давление начала истечения жидкости из просвета исследуемого органа, измеряют объем жидкости, прошедшей через просвет полого органа за единицу времени при давлении 20 и более мм ртутного столба.
РИСУНКИ
|
|