|
|
(21), (22) Заявка: 2006113117/09, 10.09.2004
(24) Дата начала отсчета срока действия патента:
10.09.2004
(30) Конвенционный приоритет:
19.09.2003 GB 0321916.9
(43) Дата публикации заявки: 10.09.2006
(46) Опубликовано: 10.06.2009
(56) Список документов, цитированных в отчете о поиске:
US 5558794 А, 24.09.1996. RU 2126564 C1, 20.02.1999. US 4200973 A, 06.05.1980. US 4575620 A, 11.03.1986. DE 19805174 С, 02.06.1999.
(85) Дата перевода заявки PCT на национальную фазу:
19.04.2006
(86) Заявка PCT:
GB 2004/003857 20040910
(87) Публикация PCT:
WO 2005/029920 20050331
Адрес для переписки:
129090, Москва, ул. Б.Спасская, 25, стр.3, ООО “Юридическая фирма Городисский и Партнеры”, пат.пов. Ю.Д.Кузнецову, рег. 595
|
(72) Автор(ы):
О`КОННОР Джейсон Дэниел Харольд (GB)
(73) Патентообладатель(и):
ХИТСЭЙФ КЕЙБЛ СИСТЕМЗ ЛТД (GB)
|
(54) САМОРЕГУЛИРУЮЩИЙСЯ ЭЛЕКТРИЧЕСКИЙ НАГРЕВАТЕЛЬНЫЙ КАБЕЛЬ
(57) Реферат:
Последовательный резистивный нагревательный кабель содержит нагревательный элемент, простирающийся в продольном направлении вдоль кабеля. Элемент содержит полупроводник, имеющий положительный температурный коэффициент. Нагревательный прибор содержит нагревательный элемент, проходящий в продольном направлении вдоль кабеля, причем элемент содержит полупроводник, имеющий положительный температурный коэффициент. Способ изготовления последовательного резистивного саморегулирующегося нагревательного кабеля заключается в том, что используют нагревательный элемент, проходящий в продольном направлении вдоль кабеля. В способе изготовления нагревательного элемента используют последовательный резистивный саморегулирующийся кабель. Нагревательный прибор может являться обогревателем сиденья автомобиля. Техническим результатом является увеличение срока службы кабеля и уменьшение стартового тока. 4 н. и 5 з.п. ф-лы, 6 ил.
Область техники, к которой относится изобретение
Настоящее изобретение относится к электрическому нагревательному кабелю, выходная мощность которого является саморегулирующейся в результате включения в состав материала с положительным температурным коэффициентом (PTC, ПТК), а также к нагревательным приборам, включающим в себя указанные кабели.
Уровень техники
Параллельные резистивные полупроводниковые саморегулирующиеся нагревательные кабели хорошо известны в технике. Такие кабели обычно содержат два проводника (известные как шинные провода), проходящие в продольном направлении вдоль кабеля. Обычно проводники размещаются внутри полупроводникового полимерного нагревательного элемента, который является непрерывным и напрессован вдоль длины проводников. Таким образом, кабель имеет форму параллельного сопротивления с мощностью, прикладываемой через два проводника к нагревательному элементу, соединенному параллельно с двумя проводниками. Обычно нагревательный элемент имеет положительный температурный коэффициент. Таким образом, когда температура элемента увеличивается, сопротивление материала, электрически соединенного между проводниками, увеличивается, тем самым снижая выходную мощность. Такие нагревательные кабели, в которых выходная мощность изменяется согласно температуре, называются саморегулирующимися или самоограничивающимися кабелями.
На фиг.1 представлен обычный параллельный резистивный полупроводниковый саморегулирующийся нагревательный кабель 2. Кабель состоит из полупроводниковой полимерной матрицы 8, напрессованной путем экструзии вокруг двух параллельных проводников 4, 6. Матрица служит в качестве нагревательного элемента. Затем на матрицу 8 напрессовывается путем экструзии полимерная изоляционная оболочка 10. Обычно для дополнительной механической защиты и/или для использования в качестве заземляющего провода добавляется проводящая внешняя оплетка 12 (например, оловянно-медная оплетка). Такая оплетка обычно покрывается термопластичной внешней оплеткой 14 для дополнительной механической и коррозионной защиты.
Указанные параллельные резистивные саморегулирующиеся нагревательные кабели обладают рядом преимуществ относительно несаморегулирующихся нагревательных кабелей и, следовательно, являются более популярными. Например, саморегулирующиеся нагревательные кабели благодаря своим ПТК (положительный температурный коэффициент) характеристикам не перегреваются. По мере того как температура в какой-либо точке в кабеле увеличивается, сопротивление нагревательного элемента в этой точке увеличивается, снижая выходную мощность в указанной точке, и обогреватель эффективно отключается.
Далее, благодаря саморегулированию температуры нагревательного элемента часто с такими обогревателями нет необходимости использовать “холодные проводники”. Холодные проводники часто требуются в нерегулируемых обогревателях, например, в высокотемпературной окружающей среде нагревательный элемент может нагреваться до относительно высокой температуры. Холодные проводники присоединяются к концам указанных нерегулируемых обогревателей, чтобы обеспечить возможность подключения нагревательного элемента к источнику электропитания, без перегрева контактных клемм или источника питания. Холодные проводники обычно имеют форму проводов с относительно низким сопротивлением, расположенных так, чтобы производить неощутимое тепло. Однако установка холодных проводников достаточно трудоемкий процесс. Далее, соединение между холодным проводником и обогревателем имеет относительно высокую интенсивность отказов из-за градиента температуры и термоциклирования, которым подвергается соединение.
Следовательно, поскольку саморегулирующиеся обогреватели обычно используют так, чтобы они работали в пределах безопасного температурного диапазона, холодные проводники не требуются.
Однако параллельные резистивные полупроводниковые саморегулирующиеся обогреватели обладают рядом нежелательных характеристик.
Наиболее общим видом отказа параллельных резистивных саморегулирующихся обогревателей является потеря или уменьшение электрического контакта между силовыми проводниками и напрессованной полупроводниковой матрицей, формирующей нагревательный элемент. Например, дифференциальное расширение элементов и термоциклирование могут приводить к нарушению или уменьшению электрического контакта. Указанное уменьшение приводит к образованию электрического дугового разряда в кабеле и к последующим потерям тепловой мощности. Таким образом, срок службы изделия зависит от связи между проводниками и нагревательным элементом.
Часто нагревательный кабель может находиться при относительно низкой температуре (и, следовательно, низком сопротивлении) при первоначальной подаче питания. Таким образом, когда кабель включается в холодном состоянии, низкое сопротивление влечет высокий стартовый ток. Следовательно, предохранители, предназначенные для обеспечения первого уровня электрической безопасности (сверх токовой защиты), должны быть рассчитаны на то, чтобы допускать намного более высокие токи (часто шестикратно), чем номинальный или рабочий ток. Это приводит к снижению токовой безопасности и слишком крупногабаритным переключателям и элементам.
Сущность изобретения
Технической задачей настоящего изобретения является создание электрического нагревательного кабеля, который позволит устранить указанные недостатки, т.е. нагревательный кабель, имеющий последовательную архитектуру, позволит увеличить ожидаемый срок службы кабеля и уменьшить стартовый ток по сравнению с подобным параллельным резистивным саморегулирующимся нагревательным кабелем.
Поставленная задача решена путем создания последовательного резистивного нагревательного кабеля, содержащего нагревательный элемент, проходящий в продольном направлении вдоль кабеля, причем элемент содержит материал, имеющий положительный температурный коэффициент.
Предпочтительно кабель может быть саморегулирующимся кабелем.
Материал может быть полупроводниковым.
Материал может содержать полимер.
Материал может содержать полиэтиленовую матрицу высокой плотности, включающую в себя углерод.
Нагревательный кабель может дополнительно содержать по меньшей мере одну проводящую концевую муфту, расположенную на торце кабеля и находящуюся в электрическом контакте с нагревательным элементом через проводящую пасту.
Проводящая паста может содержать серебро.
Согласно второму аспекту настоящего изобретения предложен нагревательный прибор, содержащий нагревательный кабель, описанный выше.
Нагревательный прибор может быть обогревателем сиденья автомобиля.
Согласно третьему аспекту настоящего изобретения предложен способ изготовления последовательного резистивного нагревательного кабеля, заключающийся в том, что формируют нагревательный элемент, проходящий в продольном направлении вдоль кабеля, причем элемент содержит материал, имеющий положительный температурный коэффициент.
Согласно четвертому аспекту настоящего изобретения предложен способ изготовления нагревательного прибора, заключающийся в том, что используют последовательный резистивный нагревательный кабель, имеющий нагревательный элемент, проходящий в продольном направлении вдоль кабеля, причем элемент содержит материал, имеющий положительный температурный коэффициент.
Краткое описание чертежей
В дальнейшем изобретение поясняется описанием конкретных вариантов его осуществления со ссылками на сопровождающие чертежи, на которых
фиг.1 изображает общий вид известного параллельного резистивного саморегулирующегося нагревательного кабеля;
фиг.2 – общий вид кабеля согласно варианту осуществления настоящего изобретения;
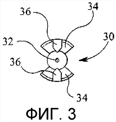
фиг.3 – вид с торца концевой муфты для соединения кабеля согласно изобретению;
фиг.4А и 4Б – концевую муфту (вид сбоку), соединяемую с кабелем согласно изобретению;
фиг.5 – схему нагревательного прибора согласно изобретению.
Подробное описание предпочтительных вариантов осуществления изобретения
Неожиданно было обнаружено, что последовательный резистивный саморегулирующийся кабель объединяет преимущества параллельных резистивных саморегулирующихся нагревательных кабелей, но имеет меньше недостатков.
На фиг.2 показан общий вид последовательного резистивного саморегулирующегося кабеля согласно варианту осуществления настоящего изобретения. Нагревательный кабель 20 содержит нагревательный элемент 22, проходящий в продольном направлении вдоль кабеля. Нагревательный элемент 22 имеет положительный температурный коэффициент, так что сопротивление элемента увеличивается с увеличением температуры. Предпочтительно элемент содержит полупроводниковый материал, сформированный в виде провода или струны. Один пример подходящего материала представляет собой полупроводниковый полиэтилен высокой плотности (HDPE), например полиэтилен, легированный углеродом. Обычно элемент имеет по существу круглое поперечное сечение диаметром 2 мм.
Первичная изоляционная оболочка или покрытие 24 окружает нагревательный элемент 22 и используется, чтобы электрически изолировать элемент 22 от окружающей среды. Обычно указанная первичная изоляционная оболочка 24 формируется из полимера, такого как полиолефин, толщиной около 0,8 мм.
Проводящая внешняя оплетка 26, например медная оплетка толщиной около 0,5 мм, может быть использована для дополнительной механической защиты и/или использована в качестве заземляющего провода. Такая оплетка также может быть покрыта термопластичной внешней оболочкой обычно толщиной около 0,6 мм для дополнительной механической защиты.
Известны последовательные резистивные нагревательные кабели, которые содержат металлический нагревательный провод высокого сопротивления, имеющий по существу постоянное электрическое сопротивление. Такие кабели имеют по существу постоянную выходную мощность независимо от температуры обогревателя. В высокотемпературных средах упомянутые последовательные обогреватели продолжают производить заданный нагрев, что может привести к перегреву или сгоранию обогревателя, если им не управлять извне.
Однако если нагревательный элемент имеет положительный температурный коэффициент, когда какая-либо часть обогревателя подвергается действию высокой температуры, выходная мощность обогревателя уменьшается, чтобы предотвратить перегрев или сгорание. Кроме того, поскольку описанный вариант осуществления является саморегулирующимся, он может быть использован для прямого соединения с выводами источника питания без необходимости прикреплять отдельные холодные проводники. Тем самым можно исключить вспомогательный материал и дорогостоящие трудозатраты и устраняется вероятность отказа в точке соединения холодного/горячего. Предпочтительно нагревательный элемент формируется из полимерного и/или полупроводникового материала. Такие материалы особенно подходят для саморегулирующихся нагревательных кабелей, поскольку они имеют относительно высокий ПТК. Другими словами, сопротивление материала значительно изменяется для заданного температурного диапазона. Например, в температурном диапазоне 100°C сопротивление может изменяться на 50%. В полимерных материалах такое изменение сопротивления обычно обусловлено расширением полимера и, по меньшей мере, частичным разрывом проводящего тракта между двумя проводниками.
Кроме упомянутых преимуществ, которые являются характерными для параллельного резистивного саморегулирующегося кабеля, можно указать другие преимущества, обусловленные последовательной конфигурацией.
По сравнению с подобным параллельным резистивным саморегулирующимся кабелем последовательный резистивный саморегулирующийся нагревательный кабель имеет более низкий пусковой ток при холодном запуске. Это обусловлено тем, что пусковой ток обратно пропорционален расстоянию, которое разделяет заряженную и нейтральную концевые муфты. В параллельном кабеле два проводника находятся близко друг к другу, обычно на расстоянии 8 мм. Приложенное сетевое напряжение к двум шинным проводам, проходящим через полупроводник, легированный углеродом, может легко «подпрыгнуть». Наоборот, в последовательной конфигурации две концевые муфты разнесены на некоторое расстояние, обычно на метры, в отличие от миллиметров, и, следовательно, бросок тока подавляется. Например, типичный параллельный резистивный саморегулирующийся нагревательный кабель, рассчитанный на 30 ватт на метр, мог бы иметь сопротивление холодного пуска около 300 Ом, при этом стабильное сопротивление возрастает до около 2 кОм после заданного периода времени. Другими словами, сопротивление кабеля изменяется, по меньшей мере, на порядок величины. В противоположность этому аналогично рассчитанный последовательный резистивный кабель имеет сопротивление холодного пуска около 1-1,5 Ом, при этом стабильное сопротивление вырастает до около 2 кОм. Из этого следует, что изменение сопротивления последовательного кабеля ниже, чем изменение сопротивления аналогичного параллельного кабеля, при этом последовательный кабель имеет более низкий пусковой ток при холодном пуске. Следовательно, приборы защиты от сверхтока могут быть рассчитаны близко к рабочему току, что позволит улучшить токовую безопасность и уменьшить величину, на которую надо увеличивать габариты переключателей и элементов. Кроме того, последовательные резистивные саморегулирующиеся нагревательные кабели менее восприимчивы к отказу, чем параллельный резистивный саморегулирующийся нагревательный кабель. Это обусловлено тем, что в последовательном саморегулирующемся нагревательном кабеле хороший электрический контакт между силовыми проводниками и элементом необходимо обеспечивать только на двух концах последовательного кабеля, в противоположность непрерывному хорошему контакту вдоль всей длины параллельного кабеля. Поскольку контакты с проводниками обеспечиваются на конце кабеля, при необходимости проверки контакта легко осуществлять ремонт или замену.
На фиг.3 представлен вид с торца концевой муфты 30 для присоединения к кабелю, подходящей для создания электропроводного соединения с торцом нагревательного кабеля. Предпочтительно подобное соединение выполняется на каждом торце кабеля. На фиг.4А показано поперечное сечение концевой муфты, надетой на нагревательный элемент 22, расположенный на одном торце кабеля 20, на фиг.4Б показана концевая муфта, установленная на место. Концевая муфта соединяется с проводящим соединительным проводом, который, в свою очередь, соединяется с источником электропитания, подходящим для подачи энергии для работы обогревателя.
Концевая муфта 30 содержит основную часть 32, задающую отверстие. Лапки 34 отходят от основной части 32. На конце каждой лапки расположено зажимное средство 36, удаленное от основной части 32. При использовании зажимное средство 36 вонзается в поверхность и сжимает ее, например, зажимное средство 36 погружается в поверхность нагревательного элемента 22.
Как показано на фиг.4А и 4Б, концевая муфта 30 расположена так, что основная часть 32 контактирует с торцом проходящего в продольном направлении нагревательного элемента 22. Лапки 34 проходят вдоль сторон нагревательного элемента 22. Проводящая паста (например, серебряная паста) впрыскивается через апертуру в направлении, показанном стрелкой 38, в основной части 32, чтобы заполнить пустоту между торцом кабеля и смежной поверхностью основной части 32 концевой муфты. Впоследствии паста затвердевает, гарантируя хороший электрический контакт между концевой муфтой и нагревательным элементом. Допустим, что произошла потеря электрического контакта, тогда легко можно ввести новую порцию проводящей пасты.
Кроме того, к концам лапок 34, удаленным от основной части 32, прикладывается давление, так чтобы погрузить зажимное средство 36 в элемент 22.
Такой последовательный резистивный саморегулирующийся нагревательный кабель подходит для использования во множестве нагревательных приборов и имеет широкое применение. Он особенно подходит для использования в приборах известной заданной длины. Это обеспечивает возможность более легкого определения размеров нагревательного прибора.
Было обнаружено, что последовательные резистивные саморегулирующиеся нагревательные кабели, содержащие ПТК материалы, особенно подходят для использования в нагревательных приборах или установках, в которых желательно селективно нагревать часть прибора, находящуюся в контакте с внешним объектом, например, обогреватель сиденья автомобиля или обогреватели ручек руля мотоцикла. Одним из примеров такого материала является полиэтилен, легированный углеродом.
На фиг.5 показан вид сверху обогревателя сиденья автомобиля, т.е. схема расположения последовательного резистивного саморегулирующегося нагревательного кабеля 20 внутри обогревателя 40 сиденья автомобиля.
Полная ширина A обогревателя 40 составляет около 600 мм при длине B, равной около 900 мм. Не считая торцов кабеля, снабженных концевыми муфтами 30 для соединения с источником питания, кабель 20 распределяется так, чтобы поддерживать расстояние от периферии обогревателя, по меньшей мере, равной С. Обычно C составляет около 100 мм. Кабель располагается внутри обогревателя сиденья автомобиля так, чтобы по существу равномерно распределяться внутри сиденья автомобиля с расстоянием D разнесения кабеля, которое составляет около 100 мм.
Подобная установка обычно требует полной длины кабеля около 3000 мм. Для кабеля, рассчитанного на 3 Вт/м, типичное сопротивление цепи составляет около 16 Ом, тогда как для кабеля, рассчитанного на 7 Вт/м, сопротивление цепи могло бы составлять около 6,9 Ом.
При нормальной работе кабель будет испускать тепло, чтобы греть сиденье автомобиля. Если пользователь контактирует с поверхностью над частью кабеля, то контактирование приведет к увеличению температуры указанной части вследствие того, что скорость тепловых потерь уменьшится за счет относительно теплого тела пользователя. При этом благодаря элементу, содержащему ПТК материал, области сиденья, находящиеся в контакте с пользователем (на которых он сидит), будут испытывать увеличение удельного сопротивления. Такое увеличение удельного сопротивления будет снижать полную тепловую мощность кабеля, поскольку полное сопротивление кабеля будет увеличено. Однако для тех областей, где сопротивление увеличивается благодаря последовательному типу кабеля, тепло, испускаемое из этих областей, будет выше, чем тепло, испускаемое из других областей с более низким сопротивлением, где отсутствует масса тела пользователя. Таким образом, использование последовательного резистивного кабеля с ПТК позволит реализовать обогреватель, в котором большая часть тепла испускается из области, находящейся в контакте с пользователем, то есть ПТК гарантирует поддержание такой области при приемлемой температуре, которая не обжигает пользователя.
Формула изобретения
1. Последовательный резистивный саморегулирующийся нагревательный кабель, содержащий нагревательный элемент, проходящий в продольном направлении вдоль кабеля, причем элемент содержит полупроводник, имеющий положительный температурный коэффициент.
2. Нагревательный кабель по п.1, отличающийся тем, что полупроводник содержит полимер.
3. Нагревательный кабель по п.1, отличающийся тем, что полупроводник содержит полиэтиленовую матрицу высокой плотности, включающую в себя углерод.
4. Нагревательный кабель по п.1, отличающийся тем, что дополнительно содержит по меньшей мере одну проводящую концевую муфту, расположенную на торце кабеля и находящуюся в электрическом контакте с нагревательным элементом через проводящую пасту.
5. Нагревательный кабель по п.4, отличающийся тем, что проводящая паста содержит серебро.
6. Нагревательный прибор, содержащий нагревательный элемент, проходящий в продольном направлении вдоль кабеля, причем элемент содержит полупроводник, имеющий положительный температурный коэффициент, при этом нагревательный прибор содержит по меньшей мере одну проводящую концевую муфту, расположенную на торце кабеля и находящуюся в электрическом контакте с нагревательным элементом через проводящую пасту.
7. Нагревательный прибор по п.6, отличающийся тем, что упомянутый прибор является обогревателем сиденья автомобиля.
8. Способ изготовления последовательного резистивного саморегулирующегося нагревательного кабеля, заключающийся в том, что используют нагревательный элемент, проходящий в продольном направлении вдоль кабеля, причем элемент содержит полупроводник, имеющий положительный температурный коэффициент.
9. Способ изготовления нагревательного прибора, заключающийся в том, что используют последовательный резистивный саморегулирующийся нагревательный кабель, имеющий нагревательный элемент, проходящий в продольном направлении вдоль кабеля, причем элемент содержит полупроводник, имеющий положительный температурный коэффициент.
РИСУНКИ
|
|