|
|
(21), (22) Заявка: 2007130052/12, 06.08.2007
(24) Дата начала отсчета срока действия патента:
06.08.2007
(46) Опубликовано: 10.06.2009
(56) Список документов, цитированных в отчете о поиске:
SU 416902 A1, 25.11.1974. SU 832276 A1, 23.05.1981. SU 1670811 A1, 15.08.1991. SU 1511557 A1, 30.09.1989. SU 1776949 A1, 23.11.1992. JP 6342687 A, 13.12.1994. US 4471214 A, 11.09.1984. US 5286951 A, 15.02.1994. US 3812580 A, 28.05.1974.
Адрес для переписки:
346400, Ростовская обл., г. Новочеркасск, ул. Б.Хмельницкого, 54/5, кв.23, И.И. Ересько
|
(72) Автор(ы):
Савелов Николай Семенович (RU), Сериков Николай Николаевич (RU), Соломенцев Кирилл Юрьевич (RU)
(73) Патентообладатель(и):
Савелов Николай Семенович (RU), Сериков Николай Николаевич (RU), Соломенцев Кирилл Юрьевич (RU)
|
(54) УСТРОЙСТВО ОТТАИВАНИЯ И НИЗКОТЕМПЕРАТУРНОГО ПОДОГРЕВА СЫПУЧИХ МАТЕРИАЛОВ
(57) Реферат:
Изобретение относится к технике оттаивания, подогрева и сушки сыпучих материалов, преимущественно песка и гравия, и может быть использовано в различных отраслях промышленности, например, при производстве бетонных изделий на асфальтобетонных и строительных предприятиях. Устройство содержит загрузочный бункер, токоподводы, электронагреватель, расположенный непосредственно в массе нагреваемого сыпучего материала. Электронагреватель состоит из нескольких нагревательных секций, равномерно распределенных по всему объему загрузочного бункера, каждая нагревательная секция состоит из несущей балки, отрезков металлических прутов, соединенных между собой последовательно и расположенных зигзагообразно, креплений, которые содержат изоляторы, причем отрезки металлических прутов верхними своими частями с помощью креплений подвешены к несущей балке, концы которой прикреплены к противоположным стенкам бункера, а токоподводы подключены к началам и концам каждой нагревательной секции. Техническим результатом изобретения является равномерность нагрева, предотвращение смерзания в бункере при отрицательных температурах по Цельсию, обеспечение защиты конструкции устройства от механического воздействия глыб, облегчение продвижения глыб вниз под собственным весом. 2 ил.
Изобретение относится к технике оттаивания, подогрева и сушки сыпучих материалов, преимущественно песка и гравия, и может быть использовано в различных отраслях промышленности, например, при производстве бетонных изделий на асфальтобетонных и строительных предприятиях.
Известно устройство для нагрева, сушки и прокаливания сыпучих материалов [Патент Российской Федерации 2161761, кл. F26B 17/12, F26B 3/34, 2001], содержащее цилиндрический корпус, теплоизоляционный материал, загрузочный и разгрузочный патрубки, индукционный нагревательный элемент, состоящий из внешней трубы, электрической обмотки, внутренней трубы с внешним в осевом направлении оребрением, имеющим в поперечном сечении вид “снежинки”, магнитные шунты в верхней и нижней частях устройства, где верхний магнитный шунт выполнен в виде стакана с продольными ребрами на внешней поверхности, с патрубком для отвода пароводяной фракции, а нижний шунт выполнен в виде горизонтальной трубы, образующей вместе с внутренней трубой вентилируемый объем. Горизонтальная труба шахты с одного конца имеет люк для резервирования (удаления побочных продуктов), а с другого – штуцер для подачи рабочего агента, например сжатого воздуха для вентиляции устройства в непрерывном и дискретном режимах его работы. Электрическая обмотка выполнена из сплава с высокой коррозионной стойкостью.
Однако основным недостатком данного устройства является его низкая надежность и высокая стоимость. Это обусловлено тем, что устройство содержит большое число сложных в изготовлении деталей, в частности индукционный нагревательный элемент.
Известно устройство “Электрическая печь для обработки сыпучих материалов” [Патент Российской Федерации 2085817, кл. F27B 1/09, 1997], содержащее корпус с загрузочным и разгрузочным средствами, расположенными соответственно в верхней и нижней частях корпуса. В корпусе выполнен электронагревательный канал, сформированный элементами из электропроводящих и электронепроводящих материалов, выполненными в форме полых усеченных конусов, пирамид или сфероидов, соединенных друг с другом основаниями: большие с большими, малые с малыми.
Однако основным недостатком данного устройства является неравномерность нагрева и зависимость мощности от влажности нагреваемого сыпучего материала. Это является следствием того, что нагрев происходит за счет тепла, выделяющегося в сыпучем материале при пропускании через него электрического тока, а электропроводность сыпучего материала зависит от его влажности.
Наиболее близким по технической сущности к предлагаемому изобретению (прототип) является устройство для непрерывного нагрева пылевидных и мелкозернистых материалов [Авторское свидетельство СССР 416902, кл. H05B 3/00, F27B 1/08, 1974], содержащее корпус, загрузочный бункер и электронагреватель, токоподводы, причем электронагреватель выполнен в виде прямых шин и расположен непосредственно в массе нагреваемого сыпучего материала.
Однако данное устройство имеет четыре существенных недостатка.
Первым существенным недостатком данного устройства является неравномерность нагрева при использовании больших объемов сыпучего материала. Это является следствием того, что теплопроводность сыпучего материала мала и вблизи электронагревателя, выполненного в виде прямой шины, нагрев будет существенно больше, чем на некотором расстоянии.
Вторым существенным недостатком устройства является невозможность работы устройства при отрицательных температурах по Цельсию, т.к. сыпучий материал в загрузочном бункере может смерзаться.
Третьим существенным недостатком устройства является незащищенность электронагревателя с токоотводами от механического воздействия со стороны сыпучего материала при его загрузке, особенно в условиях его смерзания, приводящего к образованию глыб. Это механическое воздействие может деформировать нагреватель.
Четвертым существенным недостатком является жесткое крепление нагревателя, затрудняющее движение материала вниз под действием собственного веса, содержащего смерзшиеся глыбы.
Задачей предлагаемого изобретения является расширение функциональных возможностей.
Технический результат заключается в следующем:
– равномерность нагрева;
– предотвращение смерзания в бункере при отрицательных температурах по Цельсию;
– защита конструкции устройства от механического воздействия глыб;
– облегчение продвижения глыб вниз под собственным весом вследствие того, что нижние части секций могут свободно смещаться относительно друг друга, а после исчезновения механического воздействия самоустанавливаться в исходное положение под действием своего веса.
Поставленная задача достигается тем, что в устройство, содержащее загрузочный бункер, токоподводы, электронагреватель, расположенный непосредственно в массе нагреваемого сыпучего материала, дополнительно введены несущие балки, крепления, изоляторы, причем электронагреватель состоит из нескольких нагревательных секций, равномерно распределенных по всему объему загрузочного бункера, каждая нагревательная секция состоит из несущей балки, отрезков металлических прутов, соединенных между собой последовательно и расположенных зигзагообразно, креплений, которые содержат изоляторы, причем отрезки металлических прутов верхними своими частями с помощью креплений подвешены к несущей балке, изоляторы обеспечивают электрическую изоляцию отрезков металлических прутов от несущей балки, которая прикреплена к противоположным стенкам бункера.
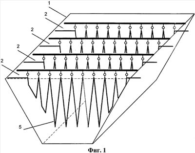
На фиг.1 приведено предлагаемое устройство, на фиг.2 приведен вид одной нагревательной секции в разрезе загрузочного бункера.
Устройство содержит загрузочный бункер 1, в котором расположен электронагреватель (на рисунке не обозначен), состоящий из нагревательных секций 2. Каждая нагревательная секция 2 состоит из несущей балки 3, двух токоподводов 4, отрезков металлических прутов 5, верхние концы которых прикреплены к несущей балке 3 с помощью креплений 6, содержащих изоляторы 7. Один из токоподводов 4 подключен к началу нагревательной секции 2, другой – к ее концу.
Устройство работает следующим образом. Через токоподводы 4 и отрезки металлических прутов 5 пропускается большой ток, благодаря чему они нагреваются и нагревают сыпучий материал, находящийся в загрузочном бункере 1. Ток протекает через отрезки металлических прутов 5, находящихся в составе нагревательных секций 2, которые равномерно пронизывают объем загрузочного бункера 1. При загрузке сыпучего материала сверху несущая балка 3 обеспечивает защиту нагревательной секции 2 от падающих сверху глыб. Крепления 6 содержат изоляторы 7, которые необходимы для изоляции токопроводящих отрезков металлических прутов 5 от несущей балки 3.
Каждый из отрезков металлических прутов 5 по отдельности может нагревать сыпучий материал в непосредственной близости от него, а на некотором расстоянии от него (более 0,2-0,3 м) сыпучий материал длительное время остается холодным. Поэтому, если нагревательный элемент представляет собой отдельный отрезок металлического прута, он не может обеспечивать равномерный нагрев сыпучего материала, если происходит непрерывное подсыпание сыпучего материала сверху и расход из бункера снизу.
Поэтому в предлагаемой конструкции отрезки металлических прутов 5 соединены между собой последовательно и расположены зигзагообразно. Они равномерно пронизывают весь объем загрузочного бункера 1 за счет того, что расстояния между соседними отрезками металлических прутов 5 не превышают 0,2-0,3 м. Также расстояния от нижних концов отрезков металлических прутов 5 до стенок загрузочного бункера 1 не превышают 0,2-0,3 м. Также расстояния между соседними нагревательными секциями 2 равны между собой и не превышают 0,2-0,3 м. Для того чтобы закрепить отрезки металлических прутов 5 в пространстве, необходимы несущая балка 3 и крепления 6. Крепления 6 содержат изоляторы 7, которые необходимы для изоляции токопроводящих отрезков металлических прутов 5 от несущей балки 3. Такая реализация позволяет получить новое свойство – способность обеспечить равномерный нагрев сыпучего материала.
За счет того, что обеспечивается равномерный нагрев, предотвращается смерзание сыпучего материала в загрузочном бункере 1 при отрицательных температурах по Цельсию.
За счет того, что несущая балка 3 находится сверху, а крепления 6, содержащие изоляторы 7, отрезки металлических прутов 5 находятся под несущей балкой 3, обеспечивается защита конструкции устройства от падающих сверху глыб.
Нагревательные секции 2 висят на креплениях 6, поэтому смерзшиеся глыбы не могут застрять или заклинить между секциями.
Таким образом, достигается технический результат, заключающийся в следующем:
– равномерность нагрева;
– предотвращение смерзания в загрузочном бункере 1 при отрицательных температурах по Цельсию;
– защита конструкции устройства от глыб;
– облегчение продвижения глыб вниз под собственным весом вследствие того, что нижние части нагревательных секций 2 могут свободно смещаться относительно друг друга, а после исчезновения механического воздействия самоустанавливаться в исходное положение под действием своего веса.
Формула изобретения
Устройство оттаивания и подогрева сыпучих материалов, содержащее загрузочный бункер, токоподводы, электронагреватель, расположенный непосредственно в массе нагреваемого сыпучего материала, отличающееся тем, что электронагреватель состоит из нескольких нагревательных секций, равномерно распределенных по всему объему загрузочного бункера, каждая нагревательная секция состоит из несущей балки, отрезков металлических прутов, соединенных между собой последовательно и расположенных зигзагообразно, креплений, которые содержат изоляторы, причем отрезки металлических прутов верхними своими частями с помощью креплений подвешены к несущей балке, концы которой прикреплены к противоположным стенкам бункера, а токоподводы подключены к началам и концам каждой нагревательной секции.
РИСУНКИ
|
|