|
|
(21), (22) Заявка: 2007134412/09, 16.03.2006
(24) Дата начала отсчета срока действия патента:
16.03.2006
(30) Конвенционный приоритет:
16.03.2005 KR 10-2005-0021644
(46) Опубликовано: 10.06.2009
(56) Список документов, цитированных в отчете о поиске:
RU 2214065 С2, 10.10.2003. RU 2232483 С2, 10.07.2004. WO 0147191 A1, 28.06.2001. US 2003112178 A1, 19.06.2003.
(85) Дата перевода заявки PCT на национальную фазу:
14.09.2007
(86) Заявка PCT:
KR 2006/000968 20060316
(87) Публикация PCT:
WO 2006/098599 20060921
Адрес для переписки:
129090, Москва, ул.Б.Спасская, 25, строение 3, ООО “Юридическая фирма Городисский и Партнеры”, пат.пов. А.В.Мицу, рег. 364
|
(72) Автор(ы):
ДЗУНГ Хеунг-Чул (KR), ЛИ Сунг-Вон (KR)
(73) Патентообладатель(и):
САМСУНГ ЭЛЕКТРОНИКС КО., ЛТД. (KR)
|
(54) УСТРОЙСТВО И СПОСОБ ВЫБОРА СЕТЕВОГО ИНТЕРФЕЙСА В МОБИЛЬНОМ ТЕРМИНАЛЕ, ПОДДЕРЖИВАЮЩЕМ СХЕМУ МНОЖЕСТВЕННОГО БЕСПРОВОДНОГО ДОСТУПА
(57) Реферат:
Изобретение относится к системам мобильной связи. Технический результат заключается в повышении эффективности предоставления беспроводных ресурсов. Предложены устройство и способ выбора сетевого интерфейса в мобильном терминале, поддерживающем схему множественного беспроводного доступа. При приеме от уровня приложения запроса на соединение с конкретным сетевым интерфейсом менеджер интерфейса устанавливает соответствие уровня приложения со связанным с ним сетевым интерфейсом. При обнаружении передачи обслуживания путем приема текущей информации эфира менеджер передачи обслуживания передает в виртуальный интерфейс информацию, указывающую изменение на новый сетевой интерфейс. Виртуальный интерфейс передает пакет Интернет протокола (IP-пакет), принятый от уровня приложения, во внешнюю среду посредством сетевого интерфейса, соответствующего уровню приложения согласно результату решения о передаче обслуживания, выданного менеджером передачи обслуживания. 3 н. и 16 з.п. ф-лы, 12 ил.
Область техники, к которой относится изобретение
Настоящее изобретение относится к устройству и способу выбора сетевого интерфейса в мобильном терминале. В частности, настоящее изобретение относится к устройству и способу выбора сетевого интерфейса в мобильном терминале, поддерживающем схему множественного беспроводного доступа.
Уровень техники
В целом сети мобильной связи для предоставления обычной коммутируемой голосовой услуги содержат сеть множественного доступа с частотным разделением каналов (Frequency Division Multiple Access, FDMA), которая разделяет заданный диапазон частот на множество частотных каналов и распределяет частотные каналы множеству абонентов, сеть множественного доступа с временным разделением каналов (Time Division Multiple Access, TDMA), которая разделяет частотный канал на множество временных интервалов и распределяет временные интервалы множеству абонентов, и сеть множественного доступа с кодовым разделением каналов (Code Division Multiple Access, CDMA), которая распределяет один и тот же диапазон частот и один и тот же временной интервал множеству абонентов, но распределяет абонентам различные коды согласно их способам связи.
Вместе со стремительным прогрессом технологий связи современная система связи CDMA, которая представляет собой обычную систему мобильной связи, может предоставлять не только обычную голосовую услугу, но также высокоскоростную услугу пакетной передачи данных, которая позволяет абонентам передавать цифровые данные большего объема, такие как электронная почта, фотографии, видео и т.п., с помощью мобильных терминалов (или мобильных станций).
Так называемая система мобильной связи 3-го поколения (3G) для предоставления услуги высокоскоростной пакетной передачи данных, как правило, применяет схему CDMA, и схема CDMA содержит синхронную схему, принятую в США, и асинхронную схему, принятую в Европе и Японии. Например, асинхронная схема содержит общие услуги пакетной радиопередачи (General Packet Radio Service, GPRS), а синхронная схема содержит стандарты CDMA 2000 1x, 1x Evolution Data Only (EV-DO) и 1x Evolution of Data and Voice (EV-DV). В настоящее время активно разрабатываются системы мобильной связи, нацеленные на систему IMT-2000 (International Mobile Telecommunication), которая является следующим поколением синхронных систем мобильной связи, и на систему UMTS (Universal Mobile Telecommunication Systems), которая является следующим поколением асинхронных систем мобильной связи. Система UMTS также известна как широкополосная CDMA (Wideband CDMA или W-CDMA).
Ниже следует краткое описание систем мобильной связи. Услуга GPRS была разработана на основе коммутируемой глобальной системы мобильной связи (GSM), чтобы предоставить услугу пакетной передачи данных, и CDMA 2000 1x предоставляет услугу передачи данных на скорости 144 килобит/с нисходящей линии связи, которая больше скорости обычных сетей IS-95A/IS-95B, которые поддерживают скорости 14,4 килобит/с и 56 килобит/с, используя сеть IS-95C, которая эволюционировала из обычных сетей IS-95A/IS-95B. 1x EV-DO эволюционировала из CDMA 2000 1x, чтобы поддерживать скорость передачи данных нисходящей линии связи примерно 2,4 мегабит/с, для передачи цифровых данных большого объема, и 1x EV-DV одновременно поддерживает голосовую услугу и услугу передачи данных, чтобы компенсировать недостатки 1x EV-DO.
Между тем группа стандартизации IEEE 802.1x в настоящее время разрабатывает другой стандарт для предоставления беспроводной услуги Интернет в мобильных терминалах, и сеть, предоставляющая беспроводную услугу Интернет согласно стандарту IEEE 802.1x, обычно называется WLAN (Wireless Local Area Network – беспроводная локальная сеть). Благодаря своей широкой полосе пропускания WLAN за короткое время может передать/принять большой объем пакетированных данных через мобильные терминалы, и он предоставляет портативную услугу Интернет (также известную как услуга WiBro), в которой каждый абонент разделяет каналы, чтобы эффективно использовать сеть с широкополосным беспроводным доступом (Broadband Wireless Access, BWA).
Схема для предоставления в мобильных терминалах услуги пакетной передачи данных грубо разделяется на схему с использованием сети мобильной связи 3G CDMA 1x (на которую ниже приведены ссылки как на «схему, основанную на сети мобильной связи») и схему с использованием WLAN (на которую ниже приведены ссылки как на «схему, основанную на WLAN»). В схеме, основанной на сети мобильной связи, после установления сеанса протокола точка-точка (протокола двухточечной связи) (Point-to-Point Protocol, PPP) между мобильным терминалом и узлом услуги пакетной передачи данных (Packet Data Service Node, PDSN), PDSN назначает IP-адрес мобильному терминалу, чтобы предоставить услугу пакетной передачи. Схема, основанная на WLAN, назначает IP-адрес мобильному терминалу, имеющему доступ к WLAN через точку доступа (ТД), используя протокол DHCP (Dynamic Host Configuration Protocol – протокол динамического конфигурирования узла). Впоследствии домашний агент (Home Agent, HA) и внешний агент (Foreign Agent, FA) взаимодействуют, чтобы предоставить услуги пакетной передачи в мобильный терминал.
Услуга пакетной передачи данных, основанная на сети мобильной связи, и услуга пакетной передачи данных, основанная на WLAN, работают независимо, как описано выше. Используя существующую конфигурацию сети и конфигурацию протокола, обе сети, поскольку они соединены друг с другом через IP-сеть, такую как Интернет, могут просто предоставить услугу взаимодействия сети, такую как услуга передачи обслуживания. Услуга передачи обслуживания предоставлена, чтобы удовлетворить требования пользователей к бесперебойной работе пакетной передачи данных, и она предлагает удобство для пользователей услуги, и существует возрастающая потребность в исследовании данной технологии.
Ниже, со ссылкой на Фиг.1, следует описание конфигурации обычной системы мобильной связи, которая предоставляет услугу передачи обслуживания.
Фиг.1 представляет собой схему, иллюстрирующую конфигурацию обычной системы мобильной связи, в которой сеть мобильной связи и WLAN соединены друг с другом. Например, сеть CDMA 2000 1x и WLAN стандарта 802.1x соединены друг с другом.
Ссылаясь на Фиг.1, мобильная стация (МС) 110 соединена с сетью мобильной связи посредством базовой стации (БС) 120 или соединена с WLAN посредством точек доступа для соединения беспроводной сети с проводной сетью и контроллера точки доступа (КТД, APC) для управления пакетной передачи (на которые ниже будут ссылки как на «ТД/КТД» 150), чтобы получать услугу пакетной передачи данных. БС 120 содержит подсистемы базового приемопередатчика (ПБП, BTS) и контроллер базовой станции (КБС, BSC) для управления ПБП. Функция контроля пакетов (ФКП, PCF) 130 контролирует поток пакетных данных между БС 120 и PDSN/FA 140.
PDSN/FA 140 содержит PDSN для обработки установки PPP, чтобы МС 110 соединялась с PDSN, и FA для управления текущим IP-адресом МС 110 совместно с HA 170. Мобильность МС 110, использующей услугу пакетной передачи данных, гарантируется известной технологией MIP (Mobile IP – мобильный IP), и MIP поддерживает мобильность, используя два IP-адреса для заданной МС 110. Один из этих двух IP-адресов является домашним адресом, который фиксирован независимо от текущего положения МС 110, а другой представляет собой CoA (Care-of-Address – временный адрес), который изменяется в зависимости от текущего положения МС 110. Домашний адрес и CoA обрабатываются посредством HA 170 и FA соответственно.
PDSN/FA 140 служит шлюзом, который устанавливает сеанс PPP с МС 110, и предоставляет возможность МС 110 обмениваться пакетными данными с узлом-корреспондентом (УК, CN), который не показан. УК относится к серверу приложения, который соединен с сетью пакетной передачи данных, такой как IP-сеть, и предоставляет МС 110 услугу пакетной передачи. Маршрутизатор доступа (Access Router) (AR)/FA 160 содержит МД для маршрутизации пути доступа МС 110, соединенной к WLAN, и FA для доставки пакетных данных УК, принятых от HA 170 с использованием протокола туннелирования, до текущего положения, то есть CoA, МС 110, или доставки пакетных данных МС 110 до УК.
Все пакетные данные, предназначенные для МС 110, сначала доставляются в HA 170 в IP-сети, которая управляет фиксированным домашним адресом МС 110. Узлу корреспонденту, который представляет собой внешний хост, обменивающийся пакетными данными с МС 110, неизвестен адрес CoA, указывающий текущее положение МС 110, а известен только фиксированный домашний адрес МС 110. Следовательно, пакетные данные, предназначенные для МС 110, сначала доставляются в FA узла PDSN/FA 140 или в FA узла AR/FA 160 посредством HA 170 согласно сети, к которой в текущее время соединена МС 110, и далее передаются в МС 110 через PDSN/FA 140 или AR/FA 160.
В вышеупомянутой конфигурации сети, в которой сеть мобильной связи и WLAN взаимодействуют друг с другом для услуги пакетной передачи, поскольку две сети работают раздельно, представляется возможным реализовать взаимодействие (то есть передачу обслуживания) между двумя сетями, используя MIP без изменения существующей конфигурации сети и конфигурации протокола.
Фиг.2 представляет собой структурную схему, иллюстрирующую внутреннюю структуру обычного мобильного терминала.
Ссылаясь на Фиг.2, контроллер 200 управляет общей работой мобильного терминала, включающей в себя обработку вызова.
Под управлением контроллера 200 дисплей 210 отображает данные отображения для данных клавишного ввода, принятого из блока 220 клавишного ввода, или отображает рабочее состояние мобильного терминала и различную информацию, используя иконки, сообщения SMS и изображения. Кроме того, под управлением контроллера 200 дисплей 210 позволяет абоненту визуально распознавать рабочее состояние, когда он устанавливает или активирует необходимую функцию. В добавление, под управлением контроллера 200 дисплей 210 отображается относящееся к обработке вызова экранное изображение, относящееся к SMS экранное изображение и относящееся к Интернету экранное изображение.
Блок 220 клавишного ввода, содержащий множество буквенно-цифровых клавиш и функциональных клавиш, предоставляет ввод данных с клавиш от пользователя в контроллер 200. То есть при получении клавишного ввода для каждой клавиши блок 220 клавишного ввода выводит данные клавишного ввода, однозначно соответствующие клавишному вводу, и данные клавишного ввода, выводимые из блока 220 клавишного ввода, применяются в контроллере 200. Контроллер 200 определяет, какому клавишному вводу соответствуют принятые данные клавишного ввода, и выполняет соответствующую операцию согласно результату определения.
Память 230, соединенная с контроллером 200, содержит постоянное запоминающее устройство (ПЗУ, ROM) для хранения различной программной информации, необходимой для управления работой мобильного терминала, оперативное запоминающее устройство (ОЗУ, RAM) и голосовую память.
Радиочастотный (РЧ) блок 250 обменивается РЧ сигналами с БС посредством антенны. РЧ блок 250 преобразует с понижением частоты принятый РЧ сигнал в сигнал промежуточной частоты (ПЧ) и выводит сигнал ПЧ в процессор 240 основной полосы частот. РЧ блок 250 преобразует с повышением частоты сигнал ПЧ, принятый от процессора 240 основной полосы частот, в РЧ сигнал и передает РЧ сигнал в БС. Процессор 240 основной пролосы частот служит как специализированная аналоговая микросхема основной полосы частот, предоставляющая интерфейс между контроллером 200 и РЧ блоком 250. Процессор 240 основной полосы частот преобразует цифровой сигнал, принятый от контроллера 200, в сигнал ПЧ и применяет сигнал ПЧ в РЧ блоке 250. Процессор 240 основной полосы частот преобразует аналоговый сигнал ПЧ, принятый от РЧ блока 250, в цифровой немодулированный сигнал и подает немодулированный цифровой сигнал в контроллер 200.
Камера 260 установлена в мобильном терминале, чтобы реализовать функцию телефона с камерой. Если от абонента принимается ввод с клавиши фото, то ввод с клавиши фото передается в контроллер 200 через блок 220 клавишного ввода, и контроллер 200 управляет функцией фото мобильного терминала согласно вводу клавиши фото.
Фиг.3 представляет собой схему, иллюстрирующую набор (стек) протоколов обычного мобильного терминала.
Ссылаясь на Фиг.3, мобильный терминал 110 или мобильная станция (МС) содержит аппаратное обеспечение 104 и 105, поддерживающее управление доступом к среде (MAC – Medium Access Control) и эфира, набор 103 протоколов ядра для оперирования связанным аппаратно-программным обеспечением и Уровнем 3 или выше и уровни 100-102 приложения, содержащие прикладные программы (например, прикладные программы услуги голосового вызова и услуги загрузки) для фактической реализации услуг. Каждый из уровней 100-102 приложения передает в набор 103 протоколов ядра запрос на соединение для использования IP-адресов и номеров портов в качестве сетевых ресурсов. Впоследствии набор 103 протоколов ядра устанавливает соответствия одного из доступных на текущий момент сетевых интерфейсов с его связанным IP-адресом и номером порта (IP-адрес + номер порта) и обменивается трафиками (потоками обмена) с физическими уровнями 104 и 105. Физические уровни мобильного терминала содержат уровень 104 WLAN/BWA, имеющий доступ к сети WLAN/BWA, и уровень 105 3G MAC/Air, имеющий доступ к сети мобильной связи.
Фиг.4 представляет собой схему для описания изменения в набор протоколов, когда обычный мобильный терминал выполняет передачу обслуживания. Левая сторона Фиг.4 иллюстрирует конфигурацию, в которой прикладная программа выполняет передачу, используя технологию беспроводного доступа для сети WLAN или BWA (на которую далее следует ссылка как на WLAN/BWA). Правая сторона Фиг.4 иллюстрирует конфигурацию, в которой прикладная программа выполняет передачу, используя технологию беспроводного доступа для сети мобильной связи, когда мобильный терминал перемещается из сети WLAN/BWA в сеть мобильной связи.
Если мобильный терминал перемещается из сети WLAN/BWA в сеть мобильной связи, то мобильный терминал больше не может поддерживать связь с сетью WLAN/BWA. В этом случае, поскольку изменения в IP-адресе и номере порта отсутствуют, уровни 411-413 приложения не могут обнаружить изменения в сетевом интерфейсе, произошедшие из-за передачи обслуживания.
В этой конфигурации прикладные программы не могут выбирать и использовать технологию беспроводного доступа. Поскольку сеть WLAN/BWA имеет меньшую область покрытия и более широкую полосу пропускания, а сеть мобильной связи имеет большую область покрытия и более узкую полосу пропускания, эти сети представляют собой технологии беспроводного доступа, которые могут компенсировать недостатки друг друга. В этом случае прикладные программы также могут быть использованы согласно таким характеристикам. Например, для службы присутствия и службы, основанной на местоположении, в которой одной стороне может быть известно об информации состояния другой стороны, такой как VoIP (Voice over IP – Передача Голоса по IP-сетям) или MSN messenger, отсутствует необходимость предоставлять бесперебойное обслуживание, даже когда происходит передача обслуживания. Тем не менее, в случае, когда пользователь, использующий прикладную программу, которая требует широкой полосы пропускания, такую как FTP (File Transport Protocol – протокол передачи файлов), выполняет передачу обслуживания из сети WLAN/BWA в сеть мобильной связи, если пользователь разделяет узкую полосу пропускания сети мобильной связи, чтобы предоставить услуги FTP и VoIP, ухудшается качество услуги в реальном времени, как показано на Фиг.5. В добавление, если пользователь получает услугу FTP посредством сети мобильной связи, оплата услуги намного увеличивается, поскольку оплата мобильной услуги больше, чем оплата услуги для сети WLAN/BWA. Фиг.5 представляет собой схему, иллюстрирующую полосу пропускания обычного мобильного терминала, поддерживающего услугу передачи обслуживания.
В варианте осуществления с Фиг.5 прикладная программа мобильного терминала 110 может предоставлять услугу FTP, которой характерен поток обмена большого объема, и услугу VoIP, которой характерен поток обмена реального времени. На Фиг.5 толщина стрелки представляет полосу пропускания передачи. То есть, чем толще стрелка, тем шире полоса пропускания, и чем тоньше стрелка, тем уже полоса пропускания.
В варианте осуществления мобильный терминал может осуществлять передачу обслуживания из зоны горячей точки во внешнюю зону, где он не может принимать услугу WLAN/BWA.
На Фиг.5 ссылочные номера 511 и 521 обозначают полосы пропускания, требуемые для приема услуги FTP, и ссылочные номера 512 и 522 обозначают полосы пропускания, требуемые для услуги VoIP.
Мобильный терминал 510 в зоне горячей точки может поддерживать достаточную полосу пропускания, как показано ссылочным номером 513. Тем не менее, если мобильный терминал 510 выполняет передачу обслуживания из зоны горячей точки во внешнюю зону, он не может поддерживать достаточную полосу пропускания, как показано ссылочным номером 523, поскольку он переместился в сеть мобильной связи. Следовательно, когда мобильный терминал выполнил передачу обслуживания из зоны горячей точки в сеть мобильной связи, ухудшается качество услуги в реальном времени из-за конфликта между потоком обмена реального времени и потоком обмена большого объема.
Сущность изобретения
Следовательно, задачей настоящего изобретения является создание устройства и способа более эффективного предоставления беспроводных ресурсов для каждой отдельной услуги без изменения в прикладной программе в течение передачи обслуживания в мобильном терминале для поддержки схемы множественного беспроводного доступа.
Еще одной задачей настоящего изобретения является создание устройства и способа более эффективной связи уровня приложения для предоставления услуги технологиям беспроводного доступа с разнотипными характеристиками в мобильном терминале, по существу, одновременно для поддержания технологий беспроводного доступа с разнотипными характеристиками.
Еще одной задачей настоящего изобретения является создание устройства и способа предоставления возможности прикладной программе, которая работает по конкретной технологии беспроводного доступа, и прикладной программе, которая требует, по существу, бесперебойного обслуживания, работать без модификации в работе и структуре в мобильном терминале для поддержки схемы множественного беспроводного доступа.
Еще одной задачей настоящего изобретения является создание устройства и способа первоочередного обслуживания прикладной программы, которая требует бесперебойного обслуживания, когда мобильный терминал, получающий широкополосную услугу, перемещается в узкополосную услугу.
Еще одной задачей настоящего изобретения является создание устройства и способа эффективного обслуживания прикладной программы, которая требует бесперебойного обслуживания, в нестабильном состоянии, где в течение короткого времени между сетью WLAN/BWA и сетью мобильной связи часто происходит передача обслуживания.
Согласно аспекту настоящего изобретения предоставлено устройство сетевого интерфейса мобильного терминала для поддержки множества схем беспроводного доступа с различными характеристиками. Устройство сетевого интерфейса содержит первый сетевой интерфейс для связи с первой системой беспроводной связи, второй сетевой интерфейс для связи со второй системой беспроводной связи, виртуальный интерфейс для связи с первой системой беспроводной связи или второй системой беспроводной связи посредством первого сетевого интерфейса или второго сетевого интерфейса и менеджер интерфейса для установления соответствия первой прикладной программы с тем сетевым интерфейсом из первого сетевого интерфейса и второго сетевого интерфейса, который удовлетворяет характеристике первой прикладной программы, при приеме запроса на соединение от первой прикладной программы, способной связываться с первым сетевым интерфейсом и вторым сетевым интерфейсом, и для установления соответствия второй прикладной программы с виртуальным интерфейсом при приеме запроса на соединение от второй прикладной программы, способной связываться и с первым сетевым интерфейсом, и со вторым сетевым интерфейсом.
Согласно аспекту настоящего изобретения предоставлен способ выбора сетевого интерфейса мобильного терминала. Мобильный терминал содержит первый сетевой интерфейс для связи с первой системой беспроводной связи и второй сетевой интерфейс для связи со второй системой беспроводной связи, и он поддерживает множество схем беспроводного доступа с различными характеристиками. Способ содержит этапы, на которых при приеме запроса на соединение от первой прикладной программы, способной связываться с одним интерфейсом из первого сетевого интерфейса и второго сетевого интерфейса, посредством менеджера интерфейса устанавливают соответствие первой прикладной программы с тем сетевым интерфейсом из первого сетевого интерфейса и второго сетевого интерфейса, который удовлетворяет характеристике первой прикладной программы, и при приеме запроса на соединение от второй прикладной программы, способной связываться и с первым сетевым интерфейсом, и со вторым сетевым интерфейсом, устанавливают соответствие второй прикладной программы с виртуальным интерфейсом, при обнаружении передачи обслуживания с помощью приема текущей информации эфира посредством менеджера передачи обслуживания передают в виртуальный интерфейс информацию, указывающую изменение на новый сетевой интерфейс, и посредством виртуального интерфейса передают пакет Интернет протокола (IP-пакет) во внешнюю область через новый сетевой интерфейс.
Согласно еще одному аспекту настоящего изобретения предоставлен способ выбора сетевого интерфейса виртуального интерфейса в мобильном терминале. Мобильный терминал содержит первый сетевой интерфейс для связи с первой системой беспроводной связи и второй сетевой интерфейс для связи со второй системой беспроводной связи, и он поддерживает множество схем беспроводного доступа с различными характеристиками. Способ содержит этапы, на которых при обнаружении передачи обслуживания с помощью приема текущей информации эфира посредством менеджера передачи обслуживания передают в виртуальный интерфейс информацию, указывающую изменение на новый сетевой интерфейс, и посредством виртуального интерфейса принимают пакет Интернет протокола (IP-пакет) от прикладной программы, способной связываться и с первым сетевым интерфейсом и со вторым сетевым интерфейсом, и передают принятый IP-пакет во внешнюю область через новый сетевой интерфейс.
Краткое описание чертежей
Вышеупомянутые и другие задачи, отличительные признаки и преимущества настоящего изобретения будут очевидны из следующего подробного описания при рассмотрении его совместно с сопутствующими чертежами, на которых:
Фиг.1 – структурная схема, иллюстрирующая конфигурацию обычной системы мобильной связи, поддерживающей услугу передачи обслуживания;
Фиг.2 – структурная схема, иллюстрирующая внутреннюю структуру обычного мобильного терминала;
Фиг.3 – схема, иллюстрирующая набор протоколов обычного мобильного терминала;
Фиг.4 – схема, иллюстрирующая набор протоколов обычного мобильного терминала для поддержки услуги передачи обслуживания;
Фиг.5 – схема, иллюстрирующая полосу пропускания обычного мобильного терминала для поддержки услуги передачи обслуживания;
Фиг.6 – структурная схема, иллюстрирующая внутреннюю структуру мобильного терминала согласно варианту осуществления настоящего изобретения;
Фиг.7А и 7В – структурные схемы, иллюстрирующие исходную операцию прикладной программы, которая использует эфир только для одной сети из сети WLAN/BWA и сети мобильной связи, согласно варианту осуществления настоящего изобретения;
Фиг.8 – схема, иллюстрирующая внутреннюю структуру мобильного терминала, работающего в сети WLAN/BWA согласно варианту осуществления настоящего изобретения;
Фиг.9 – схема, иллюстрирующая внутреннюю структуру мобильного терминала после его передачи обслуживания из сети WLAN/BWA в сеть мобильной связи согласно варианту осуществления настоящего изобретения;
Фиг.10 – схема, иллюстрирующая структуру мобильного терминала для осуществления передачи посредством сети мобильной связи после его передачи обслуживания из сети WLAN/BWA в сеть мобильной связи согласно варианту осуществления настоящего изобретения;
Фиг.11 – схема, иллюстрирующая изменение полосы пропускания, когда выбирается сетевой интерфейс, согласно варианту осуществления настоящего изобретения; и
Фиг.12 – блок-схема, иллюстрирующая способ выбора сетевого интерфейса в мобильном терминале, поддерживающем схему множественного доступа, согласно варианту осуществления настоящего изобретения.
Во всех чертежах одинаковые ссылочные номера обозначают одинаковые детали, компоненты и структуры.
Подробное описание вариантов осуществления
Ниже со ссылкой на прилагаемые чертежи подробно описаны варианты осуществления настоящего изобретения. В следующем описании в целях краткости и ясности опущено подробное описание использованных здесь известных функций и конфигураций.
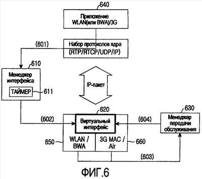
Согласно варианту осуществления настоящего изобретения представлен мобильный терминал, который соединяется с интерфейсом согласно характеристике услуги. Фиг.6 представляет собой структурную схему, иллюстрирующую структуру мобильного терминала согласно варианту осуществления настоящего изобретения. Ниже со ссылкой на Фиг.6 приведено описание мобильного терминала согласно варианту осуществления настоящего изобретения. Одинаковые элементы на Фиг.6 и 1 обозначены одинаковыми ссылочными номерами (обозначениями).
В варианте осуществления мобильный терминал 110 может иметь доступ к сети мобильной связи, сети WLAN и сети BWA посредством интерфейса сети мобильной связи (или 3G), интерфейса WLAN и интерфейса BWA, соответственно.
Мобильный терминал 110 содержит менеджер 610 интерфейса для предоставления возможности мобильному терминалу 110 соединяться с сетевым интерфейсом согласно характеристике услуги, виртуальный интерфейс 620 для бесперебойного обслуживания и менеджер 630 передачи обслуживания для выполнения передачи обслуживания. При приеме запроса на соединение для прикладной программы от уровня 640 приложения менеджер 610 интерфейса устанавливает соответствие прикладной программы со связанным сетевым интерфейсом, то есть устанавливает соответствия прикладной программы с интерфейсом WLAN/BWA и интерфейсом сети мобильной связи (или 3G). В этом случае менеджер 610 интерфейса использует сетевой интерфейс, доступный для установления соответствия IP-адреса и номера порта.
Менеджер интерфейса 610 периодически выполняет мониторинг информации состояния сетевого интерфейса. Менеджер 610 интерфейса содержит таймер 611, и отсчет таймера 611 начинается во время передачи обслуживания. После запуска таймера 611, если сетевой интерфейс не активируется в предыдущем состоянии (то есть если имеет место изменение сетевого интерфейса) в течение заданного времени, то менеджер 610 интерфейса завершает прикладную программу, которая выполняет передачу с сетевым интерфейсом. Однако если сетевой интерфейс активируется в предыдущем состоянии (то есть если изменение сетевого интерфейса не имеет место) в течение заданного времени, то менеджер 610 интерфейса повторно активирует (или запускает заново) прикладную программу, которая выполняет передачу с сетевым интерфейсом.
Виртуальный интерфейс 620, как показано на Фиг.6, существует на физическом уровне 650 WLAN/BWA и уровне 660 MAC/Air сети мобильной связи (или 3G), и он скрывает изменение нижнего физического сетевого интерфейса от верхнего уровня. Виртуальный интерфейс 620 периодически выполняет мониторинг информации состояния сетевого интерфейса и передает информацию состояния сетевого интерфейса менеджеру 630 передачи обслуживания. Далее виртуальный интерфейс 620 обменивается своими IP-пакетами с заданным сетевым интерфейсом на основании решения передачи обслуживания, выдаваемого менеджером 630 передачи обслуживания.
Менеджер 630 передачи обслуживания передает/принимает информацию состояния уровня 650 WLAN/BWA и уровня 660 3G MAC/Air посредством виртуального интерфейса 620 и на основании информации состояния определяет, выполнить ли передачу обслуживания, и предоставляет информацию решения передачи обслуживания в виртуальный интерфейс 620.
Фиг.6 представляет собой структурную схему, иллюстрирующую исходную операцию прикладной программы, которая одновременно использует сеть WLAN/BWA и сеть мобильной связи.
Прикладная программа уровня 640 приложения, которая одновременно использует сеть WLAN/BWA и сеть мобильной связи, на этапе 601 передает запрос на настройку соединения в менеджер 610 интерфейса. Далее менеджер 610 интерфейса классифицирует прикладную программу, поддерживающую технологию множественного беспроводного доступа, посредством номера порта. Далее на этапе 602 менеджер 610 интерфейса обменивается потоками обмена прикладной программы с внешней средой посредством виртуального интерфейса 620. Виртуальный интерфейс 620 действует как интерфейс, который виртуально существует в сети WLAN/BWA и сети мобильной связи, посредством чего возможно скрыть от верхнего уровня изменение в нижнем физическом уровне, то есть уровне 650 WLAN/BWA и уровне 660 3G MAC/Air. На этапе 603 физические уровни 650 и 660 передают информацию состояния сетевого интерфейса в менеджер 630 передачи обслуживания. Далее менеджер 630 передачи обслуживания на основании принятой информации состояния сетевого интерфейса определяет, выполнять ли передачу обслуживания. На этапе 604 менеджер 630 передачи обслуживания передает результат решения передачи обслуживания в виртуальный интерфейс 610. Потоки обмена уровня приложения, передаваемые в виртуальный интерфейс, таким образом, передаются во внешнюю среду, используя какой-либо один из интерфейсов для уровня 650 WLAN/BWA и интерфейса для уровня 660 3G MAC/Air.
Фиг. 7А и 7В представляют собой структурные схемы, иллюстрирующие исходную операцию прикладной программы, которая использует эфир только для одной из сети WLAN/BWA и сети мобильной связи, согласно варианту осуществления настоящего изобретения. В частности, Фиг.7А иллюстрирует исходную операцию прикладной программы, которая использует беспроводную часть сети WLAN/BWA, а Фиг.7В иллюстрирует исходную операцию прикладной программы, которая использует только эфир сети мобильной связи.
Ссылаясь на Фиг.7А, на этапе 701 уровень 710 приложения, который использует только технологию WLAN/BWA, передает запрос на соединение в менеджер 610 интерфейса. Далее на этапе 702 менеджер 610 интерфейса устанавливает соответствие прикладной программы уровня 710 приложения с уровнем 650 WLAN/BWA, используя номер порта.
Ссылаясь на Фиг.7В, на этапе 703 уровень 711 приложения, который использует только технологию сети мобильной связи (или 3G), передает запрос на соединение в менеджер 610 интерфейса. Далее на этапе 704 менеджер 610 интерфейса устанавливает соответствие прикладной программы уровня 711 приложения с уровнем 660 3G MAC/Air, используя номер порта.
Фиг.8-10 представляют собой схемы для описания способа для выбора сетевого интерфейса во время передачи обслуживания мобильного терминала из сети WLAN/BWA в сеть мобильной связи.
Фиг.8 представляет собой схему, иллюстрирующую внутреннюю структуру мобильного терминала, работающего в сети WLAN/BWA, согласно варианту осуществления настоящего изобретения.
Ссылаясь на Фиг.8, на этапе 801 менеджер 630 передачи обслуживания обменивается с виртуальным интерфейсом 620 информацией состояния сети WLAN/BWA и сети мобильной связи. На этапе 802 менеджер 610 интерфейса периодически выполняет мониторинг информации состояния уровня 650 WLAN/BWA. Менеджер 610 интерфейса устанавливает соответствие прикладной программы 2 уровня 640 приложения, которая одновременно предоставляет услугу WLAN/BWA и услугу сети мобильной связи (или 3G), с виртуальным интерфейсом. В результате потоки обмена от прикладной программы 2 уровня 640 приложения передаются во внешнюю среду посредством виртуального интерфейса 620. То есть потоки обмена уровня 640 приложения, доставляемые в виртуальный 620 интерфейс, передаются во внешнюю среду, используя интерфейс для уровня 650 WLAN/BWA из интерфейса для уровня 650 WLAN/BWA и интерфейса для уровня 660 3G MAC/Air. В добавление, посредством интерфейса для уровня 650 WLAN/BWA менеджер 610 интерфейса передает во внешнюю среду потоки обмена прикладной программы 1 уровня 710 приложения, которая предоставляет только услугу WLAN/BWA.
Фиг.9 представляет собой схему, иллюстрирующую внутреннюю структуру мобильного терминала после его передачи обслуживания из сети WLAN/BWA в сеть мобильной связи согласно варианту осуществления настоящего изобретения.
Ссылаясь на Фиг.9, на этапе 901 менеджер 630 передачи обслуживания обменивается с виртуальным интерфейсом 620 информацией состояния эфира сети WLAN/BWA и сети мобильной связи. Если мобильный терминал обнаруживает необходимость передачи обслуживания из сети WLAN/BWA в сеть мобильной связи, то менеджер 630 передачи обслуживания принимает решение о выполнении передачи обслуживания и предоставляет результат решения передачи обслуживания в виртуальный интерфейс 620. Далее на этапе 902 менеджер 610 интерфейса периодически выполняет мониторинг состояния сетевого интерфейса. Между тем, если происходит передача обслуживания, то менеджер 610 интерфейса запускает входящий в его состав таймер 611. После запуска таймера 611, если сетевой интерфейс не активируется в течение заданного времени, то менеджер 610 интерфейса завершает прикладную программу 1 710, соответствующую интерфейсу WLAN/BWA, чтобы, таким образом, приостановить потоки обмена на этапе 903. Однако если после запуска таймера 611 сетевой интерфейс активируется в течение заданного времени, то менеджер 610 интерфейса повторно активирует прикладную программу 1 710, соответствующую интерфейсу WLAN/BWA.
Если потоки обмена приостанавливаются путем завершения на этапе 903 прикладной программы 1 710, соответствующей интерфейсу WLAN/BWA, то прикладная программа 1 уровня 710 приложения, соответствующая интерфейсу WLAN/BWA, больше не сможет осуществлять передачу. На этапе 904 менеджер 610 интерфейса передает информацию, указывающую активацию интерфейса сети мобильной связи для прикладной программы 3 уровня 711 приложения, соответствующей только сети мобильной связи. Если прикладная программа 3 уровня 711 приложения перед этим передала в менеджер 610 интерфейса запрос на соединение, то менеджер 610 интерфейса выполняет операцию соединения.
Фиг.10 представляет собой схему, иллюстрирующую структуру мобильного терминала для выполнения передачи посредством сети мобильной связи после его передачи обслуживания из сети WLAN/BWA в сеть мобильной связи согласно варианту осуществления настоящего изобретения.
Ссылаясь на Фиг.10, на этапе 1001 менеджер 630 передачи обслуживания обменивается с виртуальным интерфейсом 620 информацией состояния сети WLAN/BWA и сети мобильной связи.
Поскольку мобильный терминал выполнил передачу обслуживания из сети WLAN/BWA в сеть мобильной связи, как описано со ссылкой на Фиг.9, то прикладная программа 2 уровня 640 приложения, которая может осуществлять передачу и в сети WLAN/BWA, и в сети мобильной связи, передает свои потоки обмена в виртуальный интерфейс 620, и виртуальный интерфейс 620 передает эти потоки обмена во внешнюю среду посредством уровня 660 3G MAC/Air. В добавление, прикладная программа 3 уровня 711 приложения, которая может выполнять передачу только в сети мобильной связи, передает свои потоки обмена во внешнюю среду посредством уровня 660 3G MAC/Air.
Фиг.11 представляет собой схему, иллюстрирующую изменение полосы пропускания, когда выбирается сетевой интерфейс, согласно варианту осуществления настоящего изобретения.
В варианте осуществления на Фиг.11 прикладная программа мобильного терминала 110 может предоставлять услугу FTP, которой характерен большой объем потока обмена, и услугу VoIP, которой характерен поток обмена реального времени. На Фиг.11 толщина стрелки представляет полосу пропускания передачи. То есть, чем толще стрелка, тем шире полоса пропускания, и чем тоньше стрелка, тем уже полоса пропускания.
Виртуальный интерфейс 620 существует на уровне 650 WLAN/BWA и уровне 660 3G MAC/Air.
В варианте осуществления мобильный терминал 110 мог выполнить передачу обслуживания из зоны горячей точки 1110 во внешнюю зону 1120, где он не может принимать услугу WLAN/BWA.
На Фиг.11 ссылочные номера 1111 и 1121 обозначают полосы пропускания, требуемые для приема услуги FTP, и ссылочные номера 1112 и 1122 обозначают полосы пропускания, требуемые для приема услуги VoIP.
Мобильный терминал 110 в зоне горячей точки 1110 может поддерживать полосу пропускания, достаточную для предоставления услуг FTP и VoIP, как показано ссылочными номерами 650 и 660. Даже когда мобильный терминал 110 выполняет передачу обслуживания из зоны горячей точки 1110 во внешнюю зону 1120, мобильный терминал 110 не испытывает недостаточности полосы пропускания, поскольку он получает полосу пропускания, предоставленную виртуальным интерфейсом 620 в добавление к полосе пропускания, показанной ссылочным номером 660, после передачи обслуживания на сеть мобильной связи. Следовательно, когда мобильный терминал 110 выполняет передачу обслуживания из зоны горячей точки 1110 во внешнюю зону 1120, где размещена сеть мобильной связи, мобильный терминал 110 может предотвратить ухудшение качества услуги реального времени, которое происходит из-за конфликта между потоком обмена реального времени и потоком обмена большого объема.
Фиг.12 представляет собой блок-схему, иллюстрирующую управление мобильного терминала согласно варианту осуществления настоящего изобретения. В описанном здесь варианте осуществления мобильный терминал 110 может быть соединен с сетью WLAN/BWA.
Ссылаясь на Фиг.12, на этапе 1201 мобильный терминал 110 принимает данные через ТД (не показана). На этапе 1202 мобильный терминал определяет, равна ли или больше мощность сигнала от ТД, чем пороговое значение. Если мощность сигнала от ТД не больше или равна пороговому значению, то на этапе 1203 мобильный терминал 110 принимает данные через сеть WLAN/BWA. Однако если мощность сигнала от ТД больше или равна пороговому значению, то на этапе 1204 менеджер 630 передачи обслуживания мобильного терминала 110 обнаруживает передачу обслуживания посредством сигнала эфира. Далее мобильный терминал 110 выполняет установление связи (или согласование) с близлежащей базовой станцией (БС) 120, чтобы получить доступ в сеть мобильной связи на этапе 1205, и завершает передачу обслуживания из сети WLAN/BWA в сеть мобильной связи на этапе 1206. В это время менеджер 610 интерфейса мобильного терминал 110 выполняет мониторинг информации состояния уровня 650 WLAN/BWA. При обнаружении завершения передачи обслуживания менеджер 610 интерфейса приостанавливает потоки обмена, определяя, что он больше не может выполнять передачу с прикладной программой 1. В то же время менеджер 610 интерфейса запускает свой таймер 611 на этапе 1207. После запуска таймера 611 менеджер 610 интерфейса на этапе 1208 определяет, активируется ли сетевой интерфейс в исходном сетевом интерфейсе в течение заданного времени. Если его сетевой интерфейс активируется в исходный сетевой интерфейс в течение заданного времени, то на этапе 1209 менеджер 610 интерфейса повторно активирует старую прикладную программу 1 и на этапе 1210 выполняет передачу с помощью прикладной программы 1. Однако если на этапе 1208 его сетевой интерфейс не активируется в исходном сетевом интерфейсе в течение заданного времени, то менеджер 610 интерфейса на этапе 1211 активирует любую доступную прикладную программу, например, прикладную программу 3, способную устанавливать связь с целевым сетевым интерфейсом, которому передано обслуживание мобильного терминала 110. Далее менеджер 610 интерфейса устанавливает соответствие прикладной программы 3 с интерфейсом 660 3G MAC/Air, чтобы выполнять передачу на этапе 1212. Кроме того, менеджер 610 интерфейса устанавливает соответствие прикладной программы 2 уровня 640 приложения с виртуальным интерфейсом 620, чтобы выполнять передачу.
Из вышеизложенного описания следует, что мобильный терминал, поддерживающий технологию множественного беспроводного доступа, без модификации в порядке работы и структуре может предоставить возможность работы прикладной программе, которая действует только по конкретной технологии беспроводного доступа, и прикладной программе, которая требует бесперебойного обслуживания во время передачи обслуживания.
Кроме того, мобильный терминал согласно варианту осуществления настоящего изобретения может в первоочередном порядке обслуживать прикладную программу, которая требует бесперебойного обслуживания, когда мобильный терминал, принимающий широкополосную услугу, перемещается в область с узкой полосой пропускания.
Кроме того, в мобильном терминале с технологией множественного беспроводного доступа согласно варианту осуществления настоящего изобретения прикладная программа, которая действует только по конкретной технологии беспроводного доступа, и прикладная программа, которая требует бесперебойного обслуживания во время передачи обслуживания, могут работать без модификации в порядке работы и структуре.
Более того, настоящее изобретение эффективно может обслуживать прикладную программу, которая требует бесперебойного обслуживания в нестабильном состоянии, когда за короткое время многократно происходит передача обслуживания между сетью WLAN/BWA и сетью мобильной связи.
Несмотря на то, что настоящее изобретение было проиллюстрировано и описано со ссылкой на конкретные варианты осуществления, специалистам в данной области техники совершенно понятно, что могут быть выполнены различные изменения в форме и деталях в рамках объема и сущности настоящего изобретения, которые определены прилагаемой формулой изобретения и ее эквивалентами.
Формула изобретения
1. Устройство сетевого интерфейса мобильного терминала, содержащее первый сетевой интерфейс для связи с первой системой беспроводной связи; второй сетевой интерфейс для связи со второй системой беспроводной связи; виртуальный интерфейс для связи с, по меньшей мере, одной системой из первой системы беспроводной связи и второй системы беспроводной связи посредством, по меньшей мере, одного интерфейса из первого сетевого интерфейса и второго сетевого интерфейса; и менеджер интерфейса для установления соответствия первой прикладной программы с тем сетевым интерфейсом из, по меньшей мере, одного интерфейса из первого сетевого интерфейса и второго сетевого интерфейса, который удовлетворяет характеристике первой прикладной программы, при приеме запроса на соединение от первой прикладной программы, применимой к, по меньшей мере, одному интерфейсу из первого сетевого интерфейса и второго сетевого интерфейса, и для установления соответствия второй прикладной программы с виртуальным интерфейсом при приеме запроса на соединение от второй прикладной программы, применимой к первому сетевому интерфейсу и ко второму сетевому интерфейсу.
2. Устройство сетевого интерфейса по п.1, дополнительно содержащее менеджер передачи обслуживания для передачи в виртуальный интерфейс информации, указывающей изменение на новый сетевой интерфейс, при обнаружении передачи обслуживания путем приема текущей информации эфира.
3. Устройство сетевого интерфейса по п.1, в котором менеджер интерфейса содержит таймер и в котором, если сетевой интерфейс не активируется в старом сетевом интерфейсе в течение некоторого периода времени, то менеджер интерфейса активирует прикладную программу, применимую к новому сетевому интерфейсу, и устанавливает соответствие прикладной программы с новым сетевым интерфейсом.
4. Устройство сетевого интерфейса по п.1, в котором менеджер интерфейса содержит таймер и в котором, если сетевой интерфейс не активируется в старом сетевом интерфейсе в течение некоторого периода времени, то менеджер интерфейса дезактивирует прикладную программу, применимую к старому сетевому интерфейсу.
5. Устройство сетевого интерфейса по п.1, в котором менеджер интерфейса содержит таймер и в котором, если сетевой интерфейс активируется в старом сетевом интерфейсе в течение некоторого периода времени, то менеджер интерфейса повторно активирует старую прикладную программу и устанавливает соответствие старой прикладной программы со старым сетевым интерфейсом.
6. Устройство сетевого интерфейса по п.1, в котором менеджер интерфейса устанавливает соответствие прикладной программы с сетевым интерфейсом, удовлетворяющим характеристике прикладной программы, используя номер порта.
7. Устройство сетевого интерфейса по п.1, в котором, по меньшей мере, один интерфейс из первого сетевого интерфейса и второго сетевого интерфейса содержит виртуальный интерфейс.
8. Устройство сетевого интерфейса по п.1, в котором виртуальный интерфейс скрывает изменение в сетевом интерфейсе от верхнего уровня.
9. Устройство сетевого интерфейса по п.1, в котором менеджер интерфейса периодически выполняет мониторинг состояния сетевых интерфейсов.
10. Способ выбора сетевого интерфейса мобильного терминала, содержащего первый сетевой интерфейс для связи с первой системой беспроводной связи и второй сетевой интерфейс для связи со второй системой беспроводной связи, причем способ содержит этапы, на которых при приеме запроса на соединение от первой прикладной программы, применимой к, по меньшей мере, одному интерфейсу из первого сетевого интерфейса и второго сетевого интерфейса, посредством менеджера интерфейса устанавливают соответствие первой прикладной программы с тем сетевым интерфейсом из первого сетевого интерфейса и второго сетевого интерфейса, который удовлетворяет характеристике первой прикладной программы, и при приеме запроса на соединение от второй прикладной программы, применимой и к первому сетевому интерфейсу, и ко второму сетевому интерфейсу, устанавливают соответствие второй прикладной программы с виртуальным интерфейсом; при обнаружении передачи обслуживания путем приема текущей информации эфира, посредством менеджера передачи обслуживания передают в виртуальный интерфейс информацию, указывающую изменение на новый сетевой интерфейс; и посредством виртуального интерфейса передают пакет Интернет протокола (IP-пакет) через новый сетевой интерфейс.
11. Способ по п.10, дополнительно содержащий этапы, на которых если сетевой интерфейс не активируется в старом сетевом интерфейсе в течение некоторого периода времени, посредством менеджера интерфейса активируют прикладную программу, применимую к новому сетевому интерфейсу; и устанавливают соответствие прикладной программы с новым сетевым интерфейсом.
12. Способ по п.10, дополнительно содержащий этапы, на которых если сетевой интерфейс активируется в старом сетевом интерфейсе в течение некоторого периода времени, посредством менеджера интерфейса повторно активируют старую прикладную программу; и устанавливают соответствие старой прикладной программы со старым сетевым интерфейсом.
13. Способ по п.10, в котором этап установления соответствия содержит этап, на котором устанавливают соответствие прикладной программы с сетевым интерфейсом для удовлетворения характеристики прикладной программы, используя номер порта.
14. Способ по п.10, в котором, по меньшей мере, один из сетевых интерфейсов содержит виртуальный интерфейс.
15. Способ по п.10, в котором виртуальный интерфейс скрывает изменение в сетевом интерфейсе от верхнего уровня.
16. Способ по п.10, дополнительно содержащий этап, на котором посредством менеджера интерфейса периодически выполняют мониторинг состояния сетевого интерфейса.
17. Способ выбора сетевого интерфейса виртуального интерфейса в мобильном терминале, содержащем первый сетевой интерфейс для связи с первой системой беспроводной связи и второй сетевой интерфейс для связи со второй системой беспроводной связи, причем способ содержит этапы, на которых при обнаружении передачи обслуживания путем приема текущей информации эфира, посредством менеджера передачи обслуживания передают в виртуальный интерфейс информацию, указывающую изменение на новый сетевой интерфейс; и посредством виртуального интерфейса принимают пакет Интернет протокола (IP-пакет) от прикладной программы, способной связываться с первым сетевым интерфейсом и вторым сетевым интерфейсом, и передают принятый IP-пакет через новый сетевой интерфейс.
18. Способ по п.17, в котором, по меньшей мере, один из сетевых интерфейсов содержит виртуальный интерфейс.
19. Способ по п.17, в котором виртуальный интерфейс скрывает изменение в сетевом интерфейсе от верхнего уровня.
РИСУНКИ
|
|