|
|
(21), (22) Заявка: 2008111861/09, 28.03.2008
(24) Дата начала отсчета срока действия патента:
28.03.2008
(46) Опубликовано: 10.06.2009
(56) Список документов, цитированных в отчете о поиске:
ОКУНЕВ Ю.Б. и др. Использование сложных сигналов для построения системы передачи дискретной информации, инвариантной к изменению частоты и фазы. – Радиотехника, 1979, т.34, 11. RU 2185029 C1, 10.07.2002. US 6865215 B1, 08.03.2005. EP 0774842 A2, 21.05.1997.
Адрес для переписки:
111024, Москва, ул. Авиамоторная, 8А, отдел ИРИС, МТУСИ, Е.П. Зелевичу
|
(72) Автор(ы):
Журавлев Валерий Иванович (RU), Трусевич Надежда Павловна (RU)
(73) Патентообладатель(и):
Государственное образовательное учреждение высшего профессионального образования Московский технический университет связи и информатики (RU)
|
(54) УСТРОЙСТВО ДЛЯ ПЕРЕДАЧИ И ПРИЕМА ДИСКРЕТНЫХ СООБЩЕНИЙ С ИСПОЛЬЗОВАНИЕМ СИГНАЛОВ С ПРЯМЫМ РАСШИРЕНИЕМ СПЕКТРА, СО СВОЙСТВАМИ ИНВАРИАНТНОСТИ К ЧАСТОТНО-ФАЗОВЫМ ВОЗМУЩЕНИЯМ В КАНАЛЕ СВЯЗИ
(57) Реферат:
Изобретение относится к радиосвязи и может быть использовано для передачи дискретных сообщений с помощью сигналов с прямым расширением спектра. Достигаемый технический результат – увеличение информационной скорости и структурной скрытности устройства передачи и приема дискретных сообщений с использованием сигналов с прямым расширением спектра, со свойствами инвариантности к частотно-фазовым возмущениям, возникающим в канале связи. Устройство содержит на передающей стороне источник дискретных сообщений, блок несистематического разделения, первый генератор псевдослучайной последовательности (ПСП), генератор функций Адамера-Уолша, генератор несущей частоты, генератор тактовой частоты, шесть перемножителей, фазовращатель на 90°, сумматор и усилитель мощности, на приемной стороне – усилитель, блок синхронизации, три блока полосовой фильтрации, фазовращатель на 90°, генератор ПСП, пять перемножителей, генератор несущей частоты и демодулятор. 6 ил.
Изобретение относится к радиосвязи, когда передача дискретных сообщений осуществляется с помощью сигналов с прямым расширением спектра путем фазовой модуляции несущей частоты псевдослучайными последовательностями.
Подобные устройства широко известны. Они реализуют взаимокорреляционные и автокорреляционные алгоритмы обработки сигналов. Аналогом предлагаемого устройства является устройство, описанное в [Диксон Р.К. Широкополосные системы / Пер. с англ. под ред. Журавлева В.И. – М.: Связь, 1979]. Это устройство на передающей стороне (фиг.1а) содержит источник дискретных сообщений 1, который последовательно соединен с первым входом первого перемножителя 2, первым входом второго перемножителя 3 и первым входом сумматора 7, второй вход которого подключен к выходу третьего перемножителя 6, при этом первый выход генератора ПСП 4 (псевдослучайной последовательности) подключен к второму входу первого перемножителя 2, а второй выход генератора ПСП 4 подключен к первому входу третьего перемножителя 6, первый выход генератора несущей частоты 5 подключен к второму входу второго перемножителя 3, а второй выход генератора несущей частоты 5 подключен к второму входу третьего перемножителя 6, при этом выход сумматора 7 подключен к входу усилителя мощности 8, выход которого подключен к антенне.
Устройство на приемной стороне может быть выполнено двумя способами, как показано на фиг.1б и 1в.
В схеме, изображенной на фиг.1б, входной сигнал поступает на вход усилителя 9, с выхода которого после усиления – на входы первого 10 и второго 11 блоков полосовой фильтации, выходы которых подключены к входам перемножителя 12, выход которого подключен к входу третьего блока полосовой фильтрации 13, выход которого подключен к входу демодулятора 14.
В схеме по существу осуществляется свертка спектров сигналов с прямым расширением спектра (СПРС) при отсутствии средств предварительного поиска и точной синхронизации, она является одним из вариантов реализации алгоритмов автокорреляционной обработки и поэтому обладает низкой помехоустойчивостью.
В том случае, когда необходимо обеспечить более высокую помехоустойчивость, схема может быть дополнена двумя перемножителями (первым 16 и вторым 20), генератором ПСП 18 с блоком синхронизации 19, как показано на фиг.1в. В этом устройстве увеличение помехоустойчивости достигается за счет использования алгоритма взаимокорреляционной обработки для свертки спектров СПРС, который требует точной временной синхронизации генератора опорных сигналов (генератора ПСП 18). В указанной схеме сигнал с выхода усилителя 15 поступает на первые входы первого 16 и второго 20 перемножителей, на вторые входы которых поступают сигналы с выходов генератора ПСП 18, к входу которого подключен блок синхронизации 19, вход которого подключен к выходу усилителя 15, при этом сигналы с выходов первого 16 и второго 20 перемножителей поступают соответственно на вход первого блока полосовой фильтации 17 и второго блока полосовой фильтрации 21, с выходов которых сигналы поступают на перемножитель 22, и далее как в схеме, изображенной на фиг.1б.
Главным недостатком таких устройств является пониженная по сравнению с потенциально возможной скорость передачи дискретной информации, так как дискретное сообщение передается по одному каналу, а по второму каналу передается пилот-сигнал. В данном устройстве передачи и приема информационное сообщение передается на несущей частоте f1, а пилот-сигнал на несущей частоте f2. Частоты f1 и f2 выбираются так, чтобы спектры информационного сообщения и пилот-сигнала практически не перекрывались (фиг.2), а это приводит к снижению эффективности использования выделенного спектра радиочастот.
11]. В этом устройстве дискретное сообщение и пилот-сигнал передаются на несущих, отличающихся фазовым сдвигом 90°, т.е. полным перекрытием спектров. Это устройство (фиг.3) на передающей стороне содержит два генератора ПСП (первый 3 и второй 4), выход первого генератора ПСП 3 подключен к первому входу первого перемножителя 5, а выход второго генератора ПСП 4 подключен к первому входу третьего перемножителя 8, выходы первого 5 и третьего 8 перемножителей подключены соответственно к первому и второму входам сумматора 10, выход которого подключен к входу усилителя мощности 11, при этом выход генератора тактовой частоты 1 подключен к входам первого 3 и второго 4 генераторов ПСП, источник дискретных сообщений 2 подключен к первому входу второго перемножителя 6, выход которого подключен к второму входу первого перемножителя 5, при этом выход генератора несущей частоты 9 подключен одновременно к второму входу второго перемножителя 6 и входу фазовращателя на 90° 7, выход которого подключен к второму входу третьего перемножителя 8.
На приемной стороне устройство содержит блок синхронизации 13, выход которого подключен одновременно к входам первого 15 и второго 16 генераторов ПСП, а также к первому входу демодулятора 22, при этом выходы генераторов ПСП первого 15 и второго 16 подключены соответственно к первым входам первого 14 и второго 17 перемножителей, вторые входы которых, а также вход блока синхронизации 13 подключены к выходу усилителя 12, при этом выходы первого 14 и второго 17 перемножителей подключены соответственно к входу первого блока полосовой фильтрации 18 и входу второго блока полосовой фильтрации 19, выход которого через фазовращатель на 90° 20 подключен к второму входу перемножителя 21, выход которого подключен к второму входу демодулятора 22, а выход первого блока полосовой фильтрации 18 подключен к первому входу перемножителя 21.
Поскольку в данном устройстве дискретное сообщение и пилот-сигнал по существу передаются на одной радиочастоте, это устройство свободно от недостатков аналога.
Недостатком прототипа является более низкая скорость передачи по сравнению с потенциальной возможной вследствие того, что передаваемая мощность распределяется поровну между информационным и пилот-сигналом, а полезную нагрузку несет информационный сигнал.
Технический результат, достигаемый в заявленном устройстве заключается в увеличении информационной скорости и структурной скрытности устройства передачи и приема дискретных сообщений с использованием сигналов с прямым расширением спектра, со свойствами инвариантности к частотно-фазовым возмущениям, возникающим в канале связи.
Указанный технический результат достигается тем, что в устройство передачи и приема дискретных сообщений с использованием сигналов с прямым расширением спектра, со свойствами инвариантности к частотно-фазовым возмущениям в канале связи, содержащее на передающей стороне источник дискретных сообщений, второй перемножитель, генератор тактовой частоты, первый выход которого подключен к входу первого генератора ПСП, генератор несущей частоты, первый выход которого подключен к входу фазовращателя на 90°, выход которого подключен к второму входу третьего перемножителя, при этом выходы первого и третьего перемножителей подключены соответственно к первому и второму входам сумматора, выход которого подключен к входу усилителя мощности, а на приемной стороне – усилитель, выход которого подключен одновременно к входу блока синхронизации и к вторым входам первого и второго перемножителей, при этом выходы первого и второго перемножителей подключены соответственно к входам первого блока полосовой фильтрации и второго блока полосовой фильтрации, при этом выход блока синхронизации подключен к входу первого генератора ПСП, а выход первого блока полосовой фильтрации подключен к первому входу перемножителя, фазовращатель на 90° и демодулятор, введены на передающей стороне блок несистематического разделения символов последовательности передаваемого сообщения, четвертый, пятый и шестой перемножители, а также генератор функций Адамара-Уолша, при этом источник дискретных сообщений подключен к входу блока несистематического разделения, первый и второй выходы которого подключены соответственно к первому входу второго перемножителя и первому входу четвертого перемножителя, первый выход первого генератора ПСП подключен к второму входу второго перемножителя, а второй выход первого генератора ПСП подключен к второму входу четвертого перемножителя, который соединен последовательно с первым входом пятого перемножителя и первым входом третьего перемножителя, при этом второй перемножитель соединен последовательно с первым входом шестого перемножителя и первым входом первого перемножителя, второй вход которого подключен к второму выходу генератора несущей частоты, при этом первый и второй выходы генератора функций Адамара-Уолша подключены соответственно к второму входу шестого перемножителя и второму входу пятого перемножителя, а второй выход генератора тактовой частоты подключен к входу генератора функций Адамара-Уолша, а на приемной стороне введены третий и четвертый перемножители, генератор несущей частоты и третий блок полосовой фильтрации, вход которого подключен к выходу перемножителя, а выход – к входу демодулятора, при этом первый выход первого генератора ПСП подключен к первому входу третьего перемножителя, а второй выход первого генератора ПСП подключен к первому входу четвертого перемножителя, первый выход генератора несущей частоты подключен к второму входу четвертого перемножителя, а второй выход генератора несущей частоты подключен к входу фазовращателя на 90°, выход которого подключен к второму входу третьего перемножителя, выход которого подключен к первому входу второго перемножителя, при этом выход второго блока полосовой фильтрации подключен к второму входу перемножителя, а выход четвертого перемножителя подключен к первому входу первого перемножителя.
Увеличение информационной скорости достигается за счет того, что символы информационного сообщения передаются одновременно по двум квадратурным каналам, а восстановление исходной информационной последовательности не может быть осуществлено по одной из двух подпоследовательностей, а только при их объединении с помощью операции перемножения (или сложения по mod 2) в перемножителе. Таким образом достигается структурная скрытность передачи сообщения в заявляемом устройстве.
Что касается свойств инвариантности к частотно-фазовым возмущениям в канале связи, то оно обеспечивается за счет выделения составляющей разностной частоты двух квадратурных сигналов, формируемых первым и вторым блоками полосовой фильтрации, перемножителем и третьим блоком полосовой фильтрации.
Таким образом решается задача увеличения информационной скорости и структурной скрытности устройства передачи и приема дискретных сообщений с использованием сигналов с прямым расширением спектра, со свойствами инвариантности к частотно-фазовым возмущениям в канале связи.
Графические материалы, используемые в описании:
Фиг.1 представляет структурную схему устройства-аналога.
Фиг.2 иллюстрирует спектры информационного сообщения и пилот-сигнала.
Фиг.3 представляет структурную схему устройства-прототипа.
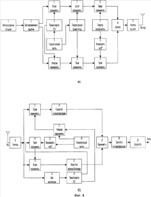
Фиг.4 представляет структурную схему заявляемого устройства.
Фиг.5 представляет схему блока несистематического разделения, который введен на предающей стороне заявляемого устройства.
Фиг.6 иллюстрирует диаграммы, поясняющие работу блока несистематического разделения.
Устройство для передачи и приема дискретных сообщений с использованием сигналов с прямым расширением спектра, со свойствами инвариантности к частотно-фазовым возмущениям в канале связи содержит: на передающей стороне – источник дискретных сообщений 1, выход которого подключен к входу блока несистематического разделения 2, первый выход которого подключен к первому входу второго перемножителя 3, который соединен последовательно с первым входом шестого перемножителя 7, первым входом первого перемножителя 10 и первым входом сумматора 14, а второй выход блока несистематического разделения 2 подключен к первому входу четвертого перемножителя 4, который соединен последовательно с первым входом пятого перемножителя 9, первым входом третьего перемножителя 13 и вторым входом сумматора 14, выход которого подключен к входу усилителя 15, при этом первый выход первого генератора ПСП 4 подключен к второму входу второго перемножителя 3, а второй выход первого генератора ПСП 4 подключен к второму входу четвертого перемножителя 6, при этом первый выход генератора тактовой частоты 5 подключен к входу первого генератора ПСП 4, а второй выход генератора тактовой частоты 5 подключен к входу генератора функций Адамара-Уолша 8, первый выход которого подключен к второму входу шестого перемножителя 7, а второй выход генератора функций Адамара-Уолша 8 подключен к второму входу пятого перемножителя 9, при этом первый выход генератора несущей частоты 11 соединен последовательно с входом фазовращателя на 90° 12 и вторым входом третьего перемножителя 13, а второй выход генератора несущей частоты 11 подключен к второму входу первого перемножителя 10, а на приемной стороне – усилитель 16, выход которого подключен одновременно к второму входу первого перемножителя 17, второму входу второго перемножителя 19 и входу блока синхронизации 23, при этом выход первого перемножителя 17 подключен к входу первого блока полосовой фильтрации 20, выход которого подключен к первому входу перемножителя 27, к второму входу которого подключен выход второго блока полосовой фильтрации 25, вход которого подключен к выходу второго перемножителя 19, первый вход которого подключен к выходу третьего перемножителя 18, при этом выход блока синхронизации 23 подключен к входу первого генератора ПСП 26, первый выход которого подключен к первому входу третьего перемножителя 18, второй вход которого подключен к выходу фазовращателя на 90° 22, а второй выход первого генератора ПСП 26 подключен к первому входу четвертого перемножителя 21, выход которого подключен к первому входу первого перемножителя 17, при этом первый и второй выходы генератора несущей частоты 24 подключены соответственно к второму входу четвертого перемножителя 21 и входу фазовращателя на 90° 22, при этом выход перемножителя 27 соединен последовательно с входом третьего блока полосовой фильтрации 28 и входом демодулятора 29.
Устройство (фиг.4) работает следующим образом.
На передающей стороне последовательность символов передаваемого сообщения U(t) с выхода источника дискретных сообщений 1 поступает на вход блока несистематического разделения 2, представленный на фиг.5, который формирует на своих выходах такие две подпоследовательности
U(t) U1(t), U2, (t),
которые при перемножении (при сложении по модулю два) дают исходную последовательность
U1(t) U2(t)=U(t).
Каждая из этих подпоследовательностей модулирует во втором 3 и четвертом 6 перемножителях сигнал псевдослучайной последовательности, формируемой первым генератором ПСП 4. В результате на выходах второго 3 и четвертого 6 перемножителей формируются сигналы с прямым расширением спектра и инверсной модуляцией. Коэффициент расширения спектра определяется отношением тактовой частоты псевдослучайной последовательности, вырабатываемой генератором тактовой частоты 5, и частоты следования символов подпоследовательностей. Далее производится дополнительная модуляция сигналов, формируемых на выходах второго 3 и четвертого 6 перемножителей сигналами, формируемыми генератором функций Адамара-Уолша 8. Период модуляции определяется соотношением тактовых частот, снимаемых с первого и второго выходов генератора тактовой частоты 5. Функции Адамара-Уолша подбираются таким образом, что при их перемножении формируется меандр полутактовой частоты MEТ/2(t). На выходе шестого перемножителя 7 формируется синфазный модулирующий сигнал сложной формы I(t), а на выходе пятого перемножителя 9 – квадратурный Q(t). В первом 10 и третьем 13 перемножителях осуществляется перенос спектра сложных модулирующих сигналов на квадратурные несущие, отличающиеся фазовым сдвигом на 90°. При сложении двух модулированных по фазе ВЧ сигналов в сумматоре 14 на его выходе формируется сигнал с квадратурной фазовой модуляцией, который после усиления в усилителе мощности 15 поступает на вход антенны.
На приемной стороне принятый сигнал после предварительного усиления в усилителе 16 поступает на два канала корреляционной обработки. Первый канал корреляционной обработки включает в себя первый перемножитель 17 и первый блок полосовой фильтрации 20, а второй канал корреляционной обработки – второй перемножитель 19 и второй блок полосовой фильтрации 25. На опорные (первые входы) входы первого 17 и второго 19 перемножителей поступают квадратурные опорные сигналы, сформированные блоками: первым генератором ПСП 26, генератором несущей частоты 24, фазовращателем на 90° 22, третьим 18 и четвертым 21 перемножителями. Частота опорных сигналов отличается от частоты несущей входного сигнала на промежуточную частоту, на которую настроены первый 20 и второй блоки 25 полосовой фильтрации. При наличии точной временной синхронизации первого генератора ПСП 26, обеспечиваемой блоком синхронизации 23, фазовая модуляция по закону псевдослучайной последовательности устраняется. В результате на выходах первого 20 и второго 25 блоков полосовой фильтрации формируются сигналы промежуточной частоты, модулированные по фазе по закону функций Адамара-Уолша и символами информационных подпоследовательностей. В результате перемножения этих сигналов в перемножителе 27 на его выходе образуется составляющая сигнала полутактовой частоты, модулированная по фазе символами последовательности передаваемого сообщения. Эта составляющая выделяется третьим блоком полосовой фильтрации 28. С выхода третьего блока полосовой фильтрации 28 модулированный по фазе сигнал полутактовой частоты поступает на вход демодулятора 29, в котором осуществляется демодуляция передаваемого информационного сообщения.
При наличии частотных и фазовых возмущений несущей частоты происходит их компенсация, благодаря выделению составляющих сигнала разностной частоты.
Блок несистематического разделения символов последовательности передаваемого сообщения, который введен на передающей стороне, работает следующим образом.
Триггер DD2.1 (фиг.5 Переключается по фронту, a DD2.2 – по спаду входной последовательности. Прямой выход триггера DD2.1 соединен с входом второго триггера DD2.2 для исключения зависимости соотношения подпоследовательностей от начальной установки триггеров.
Такое разделение названо несистематическим ввиду отсутствия в выходных подпоследовательностях в явном виде битов входной последовательности.
На фиг.6 приведены временные диаграммы случайной входной последовательности U(t) и соответствующих ей выходных подпоследовательностей U1(t) и U2(t) с меньшим значением средней частоты следования символов.
Подпоследовательности U1(t) и U2(t) обладают рядом практически важных особенностей:
– суммирование U1(t) и U2(t) по модулю 2 дает исходную последовательность U(t), т.е. U1(t) и U2(t) представляют собой алгебраически – связанные подпоследовательности (АСП);
– одновременная инверсия U1(t) и U2(t) на входах сумматора по модулю два никак не отражается на выходной последовательности;
– в подпоследовательностях U1(t) и U2(t) независимо от структуры U(t) имеет место строго определенная последовательность смены пар символов: 00; 10; 11; 01 в соответствии с кодом Грея.
Формула изобретения
Устройство для передачи и приема дискретных сообщений с использованием сигналов с прямым расширением спектра, со свойствами инвариантности к частотно-фазовым возмущениям в канале связи, содержащее на передающей стороне источник дискретных сообщений, второй перемножитель, генератор тактовой частоты, первый выход которого подключен к входу первого генератора псевдослучайной последовательности, генератор несущей частоты, первый выход которого подключен к входу фазовращателя на 90°, выход которого подключен к второму входу третьего перемножителя, при этом выходы первого и третьего перемножителей подключены соответственно к первому и второму входам сумматора, выход которого подключен к входу усилителя мощности, а на приемной стороне – усилитель, выход которого подключен одновременно к входу блока синхронизации и к вторым входам первого и второго перемножителей, при этом выходы первого и второго перемножителей подключены соответственно к входам первого блока полосовой фильтрации и второго блока полосовой фильтрации, при этом выход блока синхронизации подключен к входу первого генератора псевдослучайной последовательности, а выход первого блока полосовой фильтрации подключен к первому входу перемножителя, фазовращатель на 90° и демодулятор, отличающееся тем, что на передающей стороне введены блок несистематического разделения, четвертый, пятый и шестой перемножители, а также генератор функций Адамара-Уолша, при этом источник дискретных сообщений подключен к входу блока несистематического разделения, первый и второй выходы которого подключены соответственно к первому входу второго перемножителя и первому входу четвертого перемножителя, первый выход первого генератора псевдослучайной последовательности подключен к второму входу перемножителя, а второй выход первого генератора псевдослучайной последовательности подключен к второму входу четвертого перемножителя, выход которого соединен последовательно с первым входом пятого перемножителя и первым входом третьего перемножителя, при этом выход второго перемножителя соединен последовательно с первым входом шестого перемножителя и первым входом первого перемножителя, второй вход которого подключен к второму выходу генератора несущей частоты, при этом первый и второй выходы генератора функций Адамара-Уолша подключены соответственно ко второму входу шестого перемножителя и второму входу пятого перемножителя, а второй выход генератора тактовой частоты подключен к входу генератора функций Адамара-Уолша, а на приемной стороне введены третий и четвертый перемножители, генератор несущей частоты и третий блок полосовой фильтрации, вход которого подключен к выходу перемножителя, а выход – к входу демодулятора, при этом первый выход первого генератора псевдослучайной последовательности подключен к первому входу третьего перемножителя, а второй выход генератора псевдослучайной последовательности подключен к первому входу четвертого перемножителя, первый выход генератора несущей частоты подключен к второму входу четвертого перемножителя, а второй выход генератора несущей частоты подключен к входу фазовращателя на 90°, выход которого подключен к второму входу третьего перемножителя, выход которого подключен к первому входу второго перемножителя, при этом выход второго блока полосовой фильтрации подключен к второму входу перемножителя, а выход четвертого перемножителя подключен к первому входу первого перемножителя.
РИСУНКИ
|
|