|
|
(21), (22) Заявка: 2008109593/09, 14.03.2008
(24) Дата начала отсчета срока действия патента:
14.03.2008
(46) Опубликовано: 10.06.2009
(56) Список документов, цитированных в отчете о поиске:
ДИКСОН Р.К. Широкополосные системы. Перевод с англ. / Под ред. В.И. Журавлева. – М.: Связь, 1979, с.180. RU 2185029 C1, 10.07.2002. RU 2178237 C2, 10.01.2002. US 6865215 B1, 08.03.2005. EP 0774842 A2, 21.05.1997.
Адрес для переписки:
111024, Москва, ул. Авиамоторная, 8А, отдел ИРИС, МТУСИ, Е.П. Зелевичу
|
(72) Автор(ы):
Журавлев Валерий Иванович (RU), Руднев Александр Николаевич (RU), Трусевич Надежда Павловна (RU)
(73) Патентообладатель(и):
Государственное образовательное учреждение высшего профессионального образования Московский технический университет связи и информатики (RU)
|
(54) УСТРОЙСТВО ДЛЯ ПЕРЕДАЧИ И ПРИЕМА ДИСКРЕТНЫХ СООБЩЕНИЙ С ИСПОЛЬЗОВАНИЕМ СИГНАЛОВ С ПРЯМЫМ РАСШИРЕНИЕМ СПЕКТРА
(57) Реферат:
Изобретение относится к области радиосвязи и может использоваться для передачи дискретных сообщений путем фазовой модуляции несущей частоты псевдослучайными последовательностями. Достигаемый технический результат увеличение помехоустойчивости. Устройство содержит на передающей стороне источник дискретных сообщений, блок несистематического разделения, четыре перемножителя, генератор псевдослучайной последовательности, генератор несущей частоты, сумматор и усилитель мощности, а на приемной стороне – усилитель, перемножитель, три блока полосовой фильтрации, кореллятор, демодулятор, генератор псевдослучайной последовательности и блок поиска и синхронизации. 6 ил.
Изобретение относится к области радиосвязи, когда передача дискретных сообщений осуществляется с помощью сигналов с прямым расширением спектра путем фазовой модуляции несущей частоты псевдослучайными последовательностями.
Подобные устройства широко известны. Они реализуют взаимокорреляционные и автокорреляционные алгоритмы обработки сигналов. Аналогом предлагаемого устройства является устройство, описанное в [Чердынцев В.А. Статистическая теория совмещенных радиотехнических систем. Минск: Вышэйшая школа, 1980, 206 с.]. Это устройство (фиг.1а) на передающей стороне содержит источник дискретных сообщений 1, выход которого последовательно соединен с первым входом первого перемножителя 2, первым входом второго перемножителя 3 и входом усилителя мощности 4, при этом выход генератора тактовой частоты 5 подключен к входу генератора ПСП (псевдослучайной последовательности) 6, выход которого подключен к второму входу первого перемножителя 2, генератор несущей частоты 7, выход которого подключен ко второму входу второго перемножителя 3.
На приемной стороне устройство (фиг.1б) содержит усилитель 8, выход которого последовательно соединен с первым входом первого перемножителя 9, входом фильтра нижних частот 10, первым входом второго перемножителя 11 и входом блока ФАПЧ (фазовой автоподстройки частоты) 12, выход которого подключен к второму входу первого перемножителя 9, при этом выход фильтра нижних частот 10 подключен также к входу линии задержки 13, выход которой подключен к второму входу второго перемножителя 11, выход которого также подключен к входу полосового фильтра 14, соединенного последовательно с демодулятором 15.
В схеме, изображенной на фиг.1а, сигнал передаваемого сообщения d(t) с источника дискретных сообщений 1 поступает на первый вход первого перемножителя 2, на второй вход которого поступает сигнал с выхода генератора ПСП, на выходе первого перемножителя 2 формируется сигнал ПСП либо его инверсия в зависимости от передаваемого символа дискретного сообщения (“0” или “1”), затем во втором перемножителе 3 осуществляется фазовая модуляция сигнала несущей частоты, поступающей на второй вход второго перемножителя 3 с выхода генератора несущей частоты 7, сигналом, формируемым на выходе первого перемножителя 2, далее сигнал усиливается в усилителе мощности 4.
На приемной стороне (фиг.1б) осуществляется демодуляция переданного сообщения. Принятый сигнал с выхода усилителя 8 поступает на первый вход первого перемножителя 9. Этот сигнал может быть представлен

Этот сигнал в первом перемножителе 9 перемножается с опорным, поступающим с выхода блока ФАПЧ, который можно представить как

где – оценка фазы принимаемого сигнала.
На выходе фильтра нижних частот выделяется разностная составляющая перемножаемых сигналов (1) и (2)

где – постоянная величина.
Во втором перемножителе 11 перемножаются сигналы (3) и его копия, задержанная на длительность, равную половине длительности символа ПСП. В результате на вход полосового фильтра 14 поступает сигнал вида

Полосовой фильтр 14 выделяет составляющую спектра произведения сигналов на тактовой частоте, модулированную сигналом передаваемого сообщения, которая поступает в демодулятор 15, в котором осуществляется демодуляция передаваемого сообщения.
Но устройства такого типа обладают низкой помехоустойчивостью, так как используется в лучшем случае только половина мощности полезного сигнала. Кроме этого любая бигармоническая помеха с частотным сдвигом, равным полутактовой частоте, ведет к образованию помехи на тактовой частоте, что также снижает помехоустойчивость.
Наиболее близким по технической сущности и решаемой задачи является устройство, описанное в [Диксон Р.К. Широкополосные системы / Пер. с англ. под ред. Журавлева В.И. – М.: Связь, 1979] на стр.180.
Это устройство на передающей стороне (фиг.2а) содержит источник дискретных сообщений 1, который последовательно соединен с первым входом первого перемножителя 2, первым входом второго перемножителя 3 и первым входом сумматора 7, второй вход которого подключен к выходу третьего перемножителя 6, при этом первый выход генератора ПСП 4 (псевдослучайной последовательности) подключен к второму входу первого перемножителя 2, а второй выход генератора ПСП 4 подключен к первому входу третьего перемножителя 6, первый выход генератора несущей частоты 5 подключен к второму входу второго перемножителя 3, а второй выход генератора несущей частоты 5 подключен к второму входу третьего перемножителя 6, при этом выход сумматора 7 подключен к входу усилителя мощности 8, выход которого подключен к антенне.
На приемной стороне данное устройство (фиг.2б) содержит усилитель 9, выход которого подключен параллельно к входам первого 10 и второго 11 блоков полосовой фильтации, выходы которых подключены к входам перемножителя 12, выход которого подключен к входу третьего блока полосовой фильтрации 13, выход которого подключен к входу демодулятора 14.
Недостатками устройства-прототипа являются пониженная структурная скрытность и низкая по сравнению с потенциально достижимой помехоустойчивость.
В устройстве (фиг.2) по существу осуществляется свертка спектров сигналов с прямым расширением спектра (СПРС) при отсутствии средств предварительного поиска и точной синхронизации, она является одним из вариантов реализации алгоритмов автокорреляционной обработки и поэтому обладает низкой помехоустойчивостью.
В устройстве-прототипе информационное сообщение передается на несущей частоте f1, а пилот-сигнал на несущей частоте f2. Частоты f1 и f2 выбираются так, чтобы спектры информационного сообщения и пилот-сигнала практически не перекрывались (фиг.3), а это приводит к снижению эффективности использования выделенного спектра радиочастот. Поскольку, как было указано, в устройстве для передачи основного и пилот-сигналов используются две различные несущие частоты, то система имеет низкую помехоустойчивость при воздействии бигармонических помех, частоты которых совпадают с частотами несущих основного и пилот-сигналов.
Технический результат, достигаемый в заявленном устройстве, заключается в увеличении помехоустойчивости и структурной скрытности устройства для передачи и приема дискретных сообщений с использованием сигналов с прямым расширением спектра.
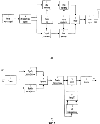
Указанный технический результат достигается тем, что в устройство для передачи и приема дискретных сообщений с использованием сигналов с прямым расширением спектра, содержащее на передающей стороне источник дискретных сообщений, первый перемножитель, выход которого подключен к первому входу второго перемножителя, выход которого подключен к первому входу сумматора, выход которого подключен к входу усилителя мощности, при этом второй вход сумматора подключен к выходу третьего перемножителя, второй вход которого подключен к второму выходу генератора несущей частоты, первый выход которого подключен к второму входу второго перемножителя, а первый выход генератора ПСП подключен к второму входу первого перемножителя, а на приемной стороне – усилитель, выход которого подключен одновременно к входам первого блока полосовой фильтрации и второго блока полосовой фильтрации, а выходы первого и второго блоков полосовой фильтрации подключены соответственно к первому и второму входам перемножителя, выход которого подключен к входу третьего блока полосовой фильтрации, и демодулятор, дополнительно введены на передающей стороне блок несистематического разделения и четвертый перемножитель, выход которого подключен к первому входу третьего перемножителя, при этом вход блока несистематического разделения подключен к выходу источника дискретных сообщений, первый выход блока несистематического разделения подключен к первому входу первого перемножителя, а второй выход блока несистематического разделения подключен к первому входу четвертого перемножителя, к второму входу которого подключен второй выход генератора ПСП, а на приемной стороне введены коррелятор, генератор ПСП и блок поиска и синхронизации, при этом выход третьего блока полосовой фильтрации подключен одновременно к первому входу коррелятора и входу блока поиска и синхронизации, первый выход которого подключен к первому входу генератора ПСП, второй вход которого подключен к второму выходу блока поиска и синхронизации, а вход генератора ПСП подключен к второму входу коррелятора, выход которого подключен к входу демодулятора.
На выходе сумматора (фиг.4а) будет сформирован сигнал

где U1(t), U2(t) – подпоследовательности символов передаваемого сообщения (модулирующие сигналы), UПСП1(t), UПСП2(t) – псевдослучайные последовательности расширения спектра основного и пилот-сигналов.
На приемной стороне заявляемого устройства (фиг.46) введен коррелятор, генератор ПСП и блок поиска и синхронизации, что дополняет устройство средствами грубой и точной синхронизации.
Сигналы на выходах первого и второго блоков полосовой фильтрации определяются следующим образом:

где 1(t), 2(t) – частотно-фазовые возмущения несущих основного и пилот-сигналов, k1, k2 – постоянные множители.
При перемножении сигналов (6) и выделении составляющей разностной частоты с помощью третьего блока полосовой фильтрации получаем

Используя известные свойства подпоследовательностей U1(t) и U2(t), получаемых при несистематическом разделении, и свойство циклического сдвига при сложении (перемножении) m-последовательности, имеем

где k3 – постоянный множитель, U(t) – исходная последовательность символов передаваемого сообщения, UПСП (t) – псевдослучайная последовательность, отличающаяся от последовательностей UПСП1(t) и UПСП2(t) лишь циклическим сдвигом.
Таким образом получаем сигнал S3(t) на фиксированной частоте, модулированный по фазе сигналами передаваемого сообщения и псевдослучайной последовательности UПСП(t) известной задержкой, определяемой номером циклического сдвига, с полной или частичной компенсацией частотно-фазовых возмущений, возникающих в канале связи.
Сигнал S3(t) подвергается взаимокорреляционной обработке с помощью коррелятора, в процессе которой осуществляется сжатие его спектра. При этом происходит расширение спектра помехи на разностной частоте, образующейся при перемножении составляющих бигармонической помехи.
Таким образом, введение блока несистематического разделения последовательностей в сочетании со специальным выбором псевдослучайных последовательностей, расширения спектра основного и пилот-сигналов позволяет не только увеличить помехоустойчивость системы, но и упростить решение задачи синхронизации.
К тому же система приобретает дополнительное свойство структурной скрытности. Это свойство проявляется в том, что перехват одного из имеющихся сигналов оказывается недостаточным для восстановления символов переданного сообщения. Их восстановление оказывается возможным только при наличии перехвата двух сигналов и знания закона разделения и объединения подпоследовательностей.
Таким образом, решается задача увеличения помехоустойчивости и структурной скрытности.
Графические материалы, используемые в описании:
Фиг.1 представляет структурную схему устройства-аналога.
Фиг.2 представляет структурную схему устройства-прототипа.
Фиг.3 иллюстрирует спектры информационного сообщения и пилот-сигнала.
Фиг.4 представляет структурную схему заявляемого устройства.
Фиг.5 представляет схему блока несистематического разделения.
Фиг.6 иллюстрирует диаграммы, поясняющие работу блока несистематического разделения.
Устройство для передачи и приема дискретных сообщений с использованием сигналов с прямым расширением спектра содержит на передающей стороне: источник дискретных сообщений 1, выход которого соединен со входом блока несистематического разделения 2, первый и второй выходы которого подключены соответственно к первому входу первого перемножителя 3 и первому входу четвертого перемножителя 7, генератор ПСП 5, первый выход которого соединен с вторым входом первого перемножителя 3, а второй выход соединен со вторым входом четвертого перемножителя 7, генератор несущей частоты 6, первый выход которого соединен со вторым входом второго перемножителя 4, а второй выход соединен со вторым входом третьего перемножителя 8, первый вход которого соединен с выходом четвертого перемножителя 7, а выход соединен с вторым входом сумматора 9, первый вход которого соединен с выходом второго перемножителя 4, первый вход которого соединен с выходом первого перемножителя 3, а выход сумматора 9 соединен с входом усилителя мощности 10, а на приемной стороне – усилитель 11, выход которого соединен одновременно с входами первого блока полосовой фильтрации 12 и второго блока полосовой фильтрации 13, выходы которых соединены соответственно с первым и вторым входами перемножителя 14, выход которого соединен с входом третьего блока полосовой фильтрации 15, блок поиска и синхронизации 19, вход которого соединен одновременно с выходом третьего блока полосовой фильтации 15 и с первым входом коррелятора 16, выход которого соединен с входом демодулятора 17, генератор ПСП 18, выход которого соединен с вторым входом коррелятора 16, а входы генератора ПСП 18 соединены с соответствующими выходами блока поиска и синхронизации 19.
Устройство (фиг.4) работает следующим образом.
На передающей стороне последовательность символов передаваемого сообщения U(t) с выхода источника дискретных сообщений 1 поступает на вход блока несистематического разделения 2, представленный на фиг.5, который формирует на своих выходах такие две подпоследовательности

которые при перемножении (при сложении по модулю два) дают исходную последовательность

Каждая их этих подпоследовательностей модулирует в первом 3 и четвертом 7 перемножителях сигналы псевдослучайных последовательностей, формируемой генератором ПСП 5. В результате на выходах первого 3 и четвертого 7 перемножителей формируются сигналы с прямым расширением спектра. Сигналами с выходов первого 3 и четвертого 7 перемножителей осуществляется фазовая манипуляция несущих частот с генератора несущей частоты 6 во втором 4 и третьем 8 перемножителях. Фазоманипулированные сигналы с выходов второго 4 и третьего 8 перемножителей поступают на входы сумматора 9, а далее после усиления в усилителе мощности 10 – на вход антенны.
На приемной стороне принятый сигнал после предварительного усиления в усилителе 11 поступает на входы первого 12 и второго 13 блоков полосовой фильтрации, на выходах которых формируются сигналы, определяемые соотношением (6). После перемножения этих сигналов в перемножителе 14 и выделении разностной составляющей на выходе третьего блока полосовой фильтрации 15 получаем сигнал, определяемый соотношением (7). Далее в корреляторе 16 сигнал с выхода третьего блока полосовой фильтрации 15 подвергается взаимокорреляционной обработке, в процессе которой осуществляется сжатие его спектра. Необходимая временная синхронизация обеспечивается средствами с использованием грубой и точной синхронизации, реализованными в блоке поиска и синхронизации 19 и генератора ПСП 18. В демодуляторе 17 происходит восстановление последовательности символов передаваемого сообщения.
Блок несистематического разделения символов последовательности передаваемого сообщения, который введен на передающей стороне, работает следующим образом.
Триггер DD2.1 (фиг.5) переключается по фронту, a DD2.2 – по спаду входной последовательности через инвертор DD1.1. Прямой выход триггера DD2.1 соединен с входом второго триггера DD2.2 для исключения зависимости соотношения подпоследовательностей от начальной установки триггеров.
Такое разделение названо несистематическим ввиду отсутствия в выходных подпоследовательностях в явном виде битов входной последовательности.
На фиг.6 приведены временные диаграммы случайной входной последовательности U(t) и соответствующих ей выходных подпоследовательностей U1(t) и U2(t) с меньшим значением средней частоты следования символов.
Подпоследовательности U1(t) и U2(t) обладают рядом практически важных особенностей:
– суммирование U1(t) и U2(t) по модулю 2 дает исходную последовательность U(t), т.е. U1(t) и U2(t) представляют собой алгебраически связанные подпоследовательности (АСП);
– одновременная инверсия U1(t) и U2(t) на входах сумматора по модулю два никак не отражается на выходной последовательности;
– в подпоследовательностях U1(t) и U2(t) независимо от структуры U(t) имеет место строго определенная последовательность смены пар символов: 00; 10; 11; 01 в соответствии с кодом Грея.
Формула изобретения
Устройство для передачи и приема дискретных сообщений с использованием сигналов с прямым расширением спектра, содержащее на передающей стороне источник дискретных сообщений, первый перемножитель, выход которого подключен к первому входу второго перемножителя, выход которого подключен к первому входу сумматора, выход которого подключен к входу усилителя мощности, при этом второй вход сумматора подключен к выходу третьего перемножителя, второй вход которого подключен к второму выходу генератора несущей частоты, первый выход которого подключен к второму входу второго перемножителя, а первый выход генератора псевдослучайной последовательности подключен к второму входу первого перемножителя, а на приемной стороне – усилитель, выход которого подключен одновременно к входам первого блока полосовой фильтрации и второго блока полосовой фильтрации, а выходы первого и второго блоков полосовой фильтрации подключены соответственно к первому и второму входу перемножителя, выход которого подключен к входу третьего блока полосовой фильтрации и демодулятор, отличающееся тем, что на передающей стороне введены блок несистематического разделения и четвертый перемножитель, выход которого подключен к первому входу третьего перемножителя, при этом вход блока несистематического разделения подключен к выходу источника дискретных сообщений, первый выход блока несистематического разделения подключен к первому входу первого перемножителя, а второй выход блока несистематического разделения подключен к первому входу четвертого перемножителя, к второму входу которого подключен второй выход генератора псевдослучайной последовательности, а на приемной стороне введены коррелятор, генератор псевдослучайной последовательности и блок поиска и синхронизации, при этом выход третьего блока полосовой фильтрации подключен одновременно к первому входу коррелятора и входу блока поиска и синхронизации, первый выход которого подключен к первому входу генератора псевдослучайной последовательности, второй вход которого подключен к второму выходу блока поиска и синхронизации, а вход генератора псевдослучайной последовательности подключен к второму входу коррелятора, выход которого подключен к входу демодулятора.
РИСУНКИ
|
|