|
|
(21), (22) Заявка: 2008107081/09, 27.02.2008
(24) Дата начала отсчета срока действия патента:
27.02.2008
(46) Опубликовано: 10.06.2009
(56) Список документов, цитированных в отчете о поиске:
ДИКСОН Р.К. Широкополосные системы. Перевод с англ. / Под ред. В.И. Журавлева. М.: Связь, 1979, с.180. RU 2185029 С1, 10.07.2002. RU 2178237 C2, 10.01.2002. US 6865215 B1, 08.03.2005. EP 0774842 A2, 21.05.1997.
Адрес для переписки:
111024, Москва, ул. Авиамоторная, 8А, отдел ИРИС, МТУСИ, Е.П. Зелевичу
|
(72) Автор(ы):
Журавлев Валерий Иванович (RU), Руднев Александр Николаевич (RU), Трусевич Надежда Павловна (RU)
(73) Патентообладатель(и):
Государственное образовательное учреждение высшего профессионального образования Московский технический университет связи и информатики (RU)
|
(54) УСТРОЙСТВО ДЛЯ ПЕРЕДАЧИ И ПРИЕМА ДИСКРЕТНЫХ СООБЩЕНИЙ С ИСПОЛЬЗОВАНИЕМ СИГНАЛОВ С ПРЯМЫМ РАСШИРЕНИЕМ И АВТОКОРРЕЛЯЦИОННЫМ СЖАТИЕМ СПЕКТРА
(57) Реферат:
Изобретение относится к радиосвязи и может использоваться для передачи дискретных сообщений путем фазовой модуляции несущей частоты псевдослучайными последовательностями. Достигаемый технический результат – увеличение эффективности использования спектра и увеличение помехоустойчивости при одновременном упрощении приемной части. Устройство содержит на передающей стороне источник дискретных сообщений, шесть перемножителей, генератор псевдослучайной последовательности, сумматор, усилитель мощности, генератор несущей частоты, блок несистематического разделения, генератор последовательностей Адамара-Уолша, а на приемной стороне – усилитель, первый блок полосовой фильтрации, второй блок полосовой фильтрации, перемножитель и демодулятор. 6 ил.
Изобретение относится к области радиосвязи, когда передача дискретных сообщений осуществляется с помощью сигналов с прямым расширением спектра путем фазовой модуляции несущей частоты псевдослучайными последовательностями.
Подобные устройства широко известны. В них реализуются взаимокорреляционные и автокорреляционные алгоритмы обработки сигналов. Аналогом предлагаемого устройства является устройство, описанное в [Чердынцев В.А. Статистическая теория совмещенных радиотехнических систем. Минск: Вышэйшая школа, 1980, 206 с.]. Это устройство (фиг.1а) на передающей стороне содержит источник дискретных сообщений 1, выход которого последовательно соединен с первым входом первого перемножителя 2, первым входом второго перемножителя 3 и входом усилителя мощности 4, при этом выход генератора тактовой частоты 5 подключен к входу генератора ПСП (псевдослучайной последовательности) 6, выход которого подключен к второму входу первого перемножителя 2, генератор несущей частоты 7, выход которого подключен ко второму входу второго перемножителя 3.
На приемной стороне устройство (фиг.1б) содержит усилитель 8, выход которого последовательно соединен с первым входом первого перемножителя 9, входом фильтра нижних частот 10, первым входом второго перемножителя 11 и входом блока ФАПЧ (фазовой автоподстройки частоты) 12, выход которого подключен к второму входу первого перемножителя 9, при этом выход фильтра нижних частот 10 подключен также к входу линии задержки 13, выход которой подключен к второму входу второго перемножителя 11, выход которого также подключен к входу полосового фильтра 14, соединенного последовательно с демодулятором 15.
В схеме, изображенной на фиг.1а, сигнал передаваемого сообщения d(t) с источника дискретных сообщений 1 поступает на первый вход первого перемножителя 2, на второй вход которого поступает сигнал с выхода генератора ПСП, на выходе первого перемножителя 2 формируется сигнал ПСП, либо его инверсия в зависимости от значения символа передаваемого дискретного сообщения (“0” или “1”), затем во втором перемножителе 3 осуществляется фазовая модуляция сигнала несущей частоты, поступающей на второй вход второго перемножителя 3 с выхода генератора несущей частоты 7, сигналом, формируемым на выходе первого перемножителя 2, далее сигнал усиливается в усилителе мощности 4.
На приемной стороне (фиг.1б) осуществляется демодуляция переданного сообщения следующим образом. Принятый сигнал с выхода усилителя 8 поступает на первый вход первого перемножителя 9. Этот сигнал может быть представлен

где А – амплитуда сигнала, 0 – несущая частота, – фаза, U(t) – сигнал передаваемого сообщения, Uпсп(t) – сигнал псевдослучайной последовательности расширения спектра.
Этот сигнал в первом перемножителе 9 перемножается с опорным, поступающим с выхода блока ФАПЧ, который можно представить как

где – оценка фазы принимаемого сигнала.
С помощью фильтра нижних частот выделяется разностная составляющая перемножаемых сигналов (1) и (2)

где k=0,5 cos( ) – постоянная величина.
Во втором перемножителе 11 перемножаются сигнал (3) и его копия, задержанная на время, равное половине длительности символа ПСП. В результате на вход полосового фильтра 14 поступает сигнал вида

Полосовой фильтр 14 выделяет составляющую тактовой частоты спектра произведения сигналов на тактовой частоте, модулированную сигналом передаваемого сообщения, которая поступает в демодулятор 15, в котором осуществляется демодуляция сигнала передаваемого сообщения.
В устройствах такого типа осуществляется корреляционная обработка, поэтому они обладают низкой помехоустойчивостью, так как здесь используется в лучшем случае только половина мощности полезного сигнала и появляются дополнительные составляющие помехи вида “шум × шум”, “сигнал × шум “. Кроме этого любая бигармоническая помеха с частотным сдвигом, равным полутактовой частоте, ведет к образованию помехи на тактовой частоте, что также является причиной снижения помехоустойчивости.
Наиболее близким по технической сущности и решаемой задаче является устройство, описанное в [1] Диксон Р.К. Широкополосные системы. / Пер. с англ. под ред. Журавлева В.И. – М.: Связь, 1979 на стр.180. В нем реализован двухканальный принцип с передачей на отдельных несущих информационного и пилот-сигналов.
Это устройство на передающей стороне (фиг.2а) содержит источник дискретных сообщений 1, который последовательно соединен с первым входом первого перемножителя 2, первым входом второго перемножителя 3 и первым входом сумматора 7, второй вход которого подключен к выходу третьего перемножителя 6, при этом первый выход генератора ПСП 4 (псевдослучайной последовательности) подключен к второму входу первого перемножителя 2, а второй выход генератора ПСП 4 подключен к первому входу третьего перемножителя 6, первый выход генератора несущей частоты 5 подключен к второму входу второго перемножителя 3, а второй выход генератора несущей частоты 5 подключен к второму входу третьего перемножителя 6, при этом выход сумматора 7 подключен к входу усилителя мощности 8, выход которого подключен к антенне.
На приемной стороне данное устройство (фиг.2б) содержит усилитель 9, выход которого подключен параллельно к входам первого 10 и второго 11 блоков полосовой фильтации, выходы которых подключены к входам перемножителя 12, выход которого подключен к входу третьего блока полосовой фильтрации 13, выход которого подключен к входу демодулятора 14.
Недостатками устройства-прототипа является низкая эффективность использования спектра, так как информационное сообщение и пилот- сигнал передаются на разных несущих. Кроме этого в данном устройстве (фиг.2) по существу осуществляется свертка спектра информационного сигнала путем его перемножения с пилот-сигналом (СПРС) при отсутствии средств предварительного поиска и точной синхронизации, т.е. в нем реализован один из вариантов автокорреляционной обработки и поэтому он обладает низкой помехоустойчивостью.
В устройстве-прототипе частоты f1 и f2 выбираются так, чтобы спектры информационного и пилот-сигналов практически не перекрывались (фиг.3), а это приводит к снижению эффективности использования выделенного спектра радиочастот. Поскольку, как было указано, в устройстве для передачи информационного и пилот-сигналов используются две различные несущие частоты, то система имеет низкую помехоустойчивость при воздействии помех, частотная расстройка которых оказывается равной разности частот несущих информационного и пилот-сигналов.
Технический результат, достигаемый в заявленном устройстве, заключается в увеличении эффективности использования спектра и увеличении помехоустойчивости при одновременном упрощении приемной части.
Указанный технический результат достигается тем, что в устройство для передачи и приема дискретных сообщений с использованием сигналов с прямым расширением и автокорреляционным сжатием спектра, содержащее на передающей стороне источник дискретных сообщений, первый перемножитель, генератор псевдослучайной последовательности, выход которого подключен к второму входу первого перемножителя, второй перемножитель, выход которого подключен к первому входу сумматора, третий перемножитель, выход которого подключен к второму входу сумматора, выход которого подключен к входу усилителя мощности, а выход генератора несущей частоты подключен к второму входу второго перемножителя, а на приемной стороне – усилитель, выход которого соединен последовательно с входом первого блока полосовой фильтрации, первым входом перемножителя, входом второго блока полосовой фильтрации и входом демодулятора, дополнительно введены на передающей стороне блок несистематического разделения, вход которого подключен к выходу источника дискретных сообщений, четвертый перемножитель, первый вход которого подключен к второму выходу блока несистематического разделения, первый выход которого подключен к первому входу первого перемножителя, при этом второй вход четвертого перемножителя подключен одновременно к выходу генератора псевдослучайной последовательности и второму входу первого перемножителя, пятый перемножитель, генератор последовательностей Адамара-Уолша, шестой перемножитель, выход которого подключен к первому входу третьего перемножителя, второй вход которого подключен одновременно к выходу генератора несущей частоты и второму входу второго перемножителя, первый вход которого подключен к выходу пятого перемножителя, первый вход которого подключен к выходу первого перемножителя, а выход четвертого перемножителя подключен к первому входу шестого перемножителя, к второму входу которого подключен второй выход генератора последовательностей Адамара-Уолша, первый выход которого подключен к второму входу пятого перемножителя, а на приемной стороне – второй вход перемножителя подключен одновременно к первому входу перемножителя и к выходу первого блока полосовой фильтрации.
Передаваемый сигнал имеет следующий вид:

где U1(t) и U2(t) – сигналы информационных подпоследовательностей на выходах блока несистематического разделения;
Uпсп(t) – сигнал на выходе генератора псевдослучайной последовательности;
HW1(t) и HW2(t) – сигналы на выходах генератора последовательностей Адамара-Уолша.
Сигнал на входе приемника (фиг.4б) может быть представлен следующим образом:

где (t) – процесс, описывающий частотно-фазовые возмущения в канале связи,
k – постоянный множитель.
При возведении сигнала S1(t) в квадрат в перемножителе и выделении составляющей разностной частоты вторым блоком полосовой фильтрации получаем

Здесь учтено свойство подпоследовательностей, полученных при несистематическом разделении. Общим правилом восстановления исходной последовательности при несистематическом разделении является сложение по mod2 всех подпоследовательностей. Такой вариант объединения обеспечивает инвариантность результата сложения к инвертированию четного числа подпоследовательностей. Учитывается также и свойство последовательностей Адамара-Уолша, заключающееся в том, что при перемножении двух последовательностей Адамара-Уолша получается другая, отличающаяся по форме от первых двух последовательность Адамара-Уолша, а в данном случае являющаяся меандром полутактовой частоты МЕT/2(t).
Таким образом, благодаря выбору модулирующих сигналов специальной формы, получаемых с помощью устройства несистематического разделения и генератора последовательностей Адамара-Уолша, удается использовать для передачи дискретных сообщений гармоническое колебание одной частоты, а не двух, как в прототипе. Это позволяет увеличить эффективность использования спектра и помехоустойчивость, а также упростить приемную часть устройства, исключив дополнительный канал обработки сигналов.
Графические материалы, используемые в описании:
Фиг.1 представляет структурную схему устройства-аналога.
Фиг.2 представляет структурную схему устройства-прототипа.
Фиг.3 иллюстрирует спектры информационного сообщения и пилот- сигнала.
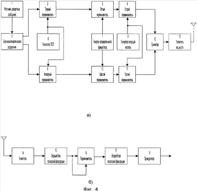
Фиг.4 представляет структурную схему заявляемого устройства, где а – передающая часть, б – приемная часть.
Фиг.5 представляет схему блока несистематического разделения.
Фиг.6 иллюстрирует диаграммы, поясняющие работу блока несистематического разделения.
Устройство для передачи и приема дискретных сообщений с использованием сигналов с прямым расширением и автокорреляционным сжатием спектра содержит на передающей стороне источник дискретных сообщений 1, выход которого подключен к входу блока несистематического разделения 5, первый и второй выходы которого подключены соответственно к первому входу первого перемножителя 2 и первому входу четвертого перемножителя 9, генератор ПСП 6, выход которого подключен одновременно к второму входу первого перемножителя 2 и второму входу четвертого перемножителя 9, выход которого соединен последовательно с первым входом шестого перемножителя 10, первым входом третьего перемножителя 11 и вторым входом сумматора 12, а выход первого перемножителя 2 соединен последовательно с первым входом пятого перемножителя 3, первым входом второго перемножителя 4 и первым входом сумматора 12, выход которого подключен к входу усилителя мощности 13, при этом первый и второй выходы генератора последовательностей Адамара-Уолша 7 подключены соответственно к второму входу пятого перемножителя 3 и второму входу шестого перемножителя 10, а выход генератора несущей частоты 8 подключен одновременно к второму входу второго перемножителя 4 и второму входу третьего перемножителя 11, на приемной стороне – усилитель 14, соединенный последовательно с входом первого блока полосовой фильтрации 15, первым входом перемножителя 16, входом второго блока полосовой фильтрации 17, входом демодулятора 18, при этом второй вход перемножителя 16 подключен одновременно к его первому входу и выходу первого блока полосовой фильтрации 15.
Устройство (фиг.4) работает следующим образом. На передающей стороне последовательность символов передаваемого сообщения U(t) с выхода источника дискретных сообщений 1 поступает на вход блока несистематического разделения 5, который формирует на своих выходах такие две подпоследовательности U1(t) и U2(t), которые при перемножении (при сложении по модулю два) дают исходную последовательность
U1(t) U2(t)=U(t).
С помощью этих подпоследовательностей в перемножителях первом 2 и четвертом 9 осуществляется инверсная модуляция псевдослучайной последовательности, вырабатываемой генератором ПСП 6. Модулированные псевдослучайные последовательности подвергаются дополнительной модуляции в пятом 3 и шестом 10 перемножителях последовательностями HW1(t) и HW2(t), вырабатываемыми генератором последовательностей Адамара-Уолша 7. На выходах перемножителей пятого 3 и шестого 10 формируются модифицированные псевдослучайные последовательности, которые модулируют по фазе гармонический сигнал несущей, вырабатываемый генератором несущей частоты 8. Эта операция осуществляется во втором 4 и третьем 11 перемножителях. Далее сигналы с выходов соответствующих перемножителей складываются в сумматоре 12 и после усиления в усилителе мощности 13 поступают на вход антенны S(t) (5).
На приемной стороне принимаемый сигнал S1(t) (6), после усиления в усилителе 14, подвергается полосовой селекции в первом блоке полосовой фильтрации 14, а затем возводится в квадрат в перемножителе 16, и на выходе второго блока полосовой фильтрации 17 выделяется составляющая разностной частоты, которая сохраняет фазовую модуляцию сигналом передаваемого сообщения (7). Далее в демодуляторе осуществляется выделение сигнала передаваемого сообщения.
Блок несистематического разделения символов последовательности передаваемого сообщения, который введен на передающей стороне, работает следующим образом.
Триггер DD2.1 (фиг.5) переключается по фронту, a DD2.2 – по спаду входной последовательности через инвертор DD1.1. Прямой выход триггера DD2.1 соединен с входом второго триггера DD2.2 для исключения зависимости соотношения подпоследовательностей от начальной установки триггеров.
Такое разделение названо несистематическим ввиду отсутствия в выходных подпоследовательностях в явном виде битов входной последовательности.
На фиг.6 приведены временные диаграммы случайной входной последовательности U(t) и соответствующих ей выходных подпоследовательностей U1(t) и U2(t) с меньшим значением средней частоты следования символов.
Подпоследовательности U1(t) и U2(t) обладают рядом практически важных особенностей:
– суммирование U1(t) и U2(t) по модулю 2 дает исходную последовательность U(t), т.е. U1(t) и U2(t) представляют собой алгебраически связанные подпоследовательности (АСП);
– одновременная инверсия U1(t) и U2(t) на входах сумматора по модулю 2 никак не отражается на выходной последовательности;
– в подпоследовательностях U1(t) и U2(t) независимо от структуры U(t) имеет место строго определенная последовательность смены пар символов: 00; 10; 11; 01 в соответствии с кодом Грея.
Формула изобретения
Устройство для передачи и приема дискретных сообщений с использованием сигналов с прямым расширением и автокорреляционным сжатием спектра, содержащее на передающей стороне источник дискретных сообщений, первый перемножитель, генератор псевдослучайной последовательности, выход которого подключен к второму входу первого перемножителя, второй перемножитель, выход которого подключен к первому входу сумматора, третий перемножитель, выход которого подключен к второму входу сумматора, выход которого подключен к входу усилителя мощности, а выход генератора несущей частоты подключен к второму входу второго перемножителя, а на приемной стороне – усилитель, выход которого соединен последовательно с входом первого блока полосовой фильтрации, первым входом перемножителя, входом второго блока полосовой фильтрации и входом демодулятора, отличающееся тем, что на передающей стороне введены блок несистематического разделения, вход которого подключен к выходу источника дискретных сообщений, четвертый перемножитель, первый вход которого подключен к второму выходу блока несистематического разделения, первый выход которого подключен к первому входу первого перемножителя, при этом второй вход четвертого перемножителя подключен одновременно к выходу генератора псевдослучайной последовательности и второму входу первого перемножителя, пятый перемножитель, генератор последовательностей Адамара-Уолша, шестой перемножитель, выход которого подключен к первому входу третьего перемножителя, второй вход которого подключен одновременно к выходу генератора несущей частоты и второму входу второго перемножителя, первый вход которого подключен к выходу пятого перемножителя, первый вход которого подключен к выходу первого перемножителя, а выход четвертого перемножителя подключен к первому входу шестого перемножителя, к второму входу которого подключен второй выход генератора последовательностей Адамара-Уолша, первый выход которого подключен к второму входу пятого перемножителя, а на приемной стороне – второй вход перемножителя подключен одновременно к первому входу перемножителя и к выходу первого блока полосовой фильтрации.
РИСУНКИ
|
|