|
|
(21), (22) Заявка: 2005138303/09, 03.05.2004
(24) Дата начала отсчета срока действия патента:
03.05.2004
(30) Конвенционный приоритет:
09.05.2003 US 60/469,196 17.09.2003 US 60/503,850
(43) Дата публикации заявки: 10.05.2006
(46) Опубликовано: 10.06.2009
(56) Список документов, цитированных в отчете о поиске:
US 2002/160769 A1, 31.10.2002. RU 2141176 C1, 10.11.1999. RU 98119766 A, 27.08.2000. WO 03/024129 A1, 20.03.2003.
(85) Дата перевода заявки PCT на национальную фазу:
09.12.2005
(86) Заявка PCT:
IB 2004/001506 20040503
(87) Публикация PCT:
WO 2004/100468 20041118
Адрес для переписки:
129090, Москва, ул. Б.Спасская, 25, стр.3, ООО “Юридическая фирма Городисский и Партнеры”, пат.пов. Ю.Д.Кузнецову, рег. 595
|
(72) Автор(ы):
МАНГОЛЬД Стефан (US), ЧЖУН Чжунь (US), СООМРО Амджад (US)
(73) Патентообладатель(и):
КОНИНКЛЕЙКЕ ФИЛИПС ЭЛЕКТРОНИКС Н.В. (NL)
|
(54) ИЗМЕРЕНИЕ ДИАГРАММ АКТИВНОСТИ СРЕДЫ ПЕРЕДАЧИ ДАННЫХ В БЕСПРОВОДНЫХ СЕТЯХ И ПОЛУЧЕНИЕ ИНФОРМАЦИИ ИЗ ДИАГРАММ АКТИВНОСТИ
(57) Реферат:
Заявлено изобретение для измерения диаграмм активности среды передачи данных в беспроводных сетях и получения информации о среде радиосвязи из измеряемых диаграмм активности среды передачи данных. Техническим результатом является улучшение характеристик для сетей стандарта IEEE 802.11. Это изобретение является тройным. Во-первых, оно определяет, что следует измерять, включая диаграммы ожидания/занятости среды передачи данных, основанные на выявлении мощности, диаграмму ожидания/занятости среды передачи данных, основанную на выявлении преамбулы, и диаграмму ожидания/занятости среды передачи данных, основанную на виртуальном зондировании. Во-вторых, оно обеспечивает механизм для сообщения запроса и сообщения об измерении, как иллюстрируется для случая стандарта IEEE 802.11. И наконец, оно определяет информацию, которая может быть получена, давая эти измерения в качестве обнаружения: устройств, не соответствующих стандарту 802, систем стандарта 802.11е, приоритетов доступа к среде передачи данных на основе конкуренции стандарта 802.11е, использования управляемого доступа к среде передачи данных стандарта 802.11е, существования стандартов 802.11b/g и скрытых станций. 2 н. и 13 з.п. ф-лы, 12 ил.
Настоящее изобретение относится к измерению активности среды передачи данных в беспроводных сетях и получению информации о внешних условиях радиосвязи на основании измеряемой активности среды.
В условиях беспроводной связи многие системы совместно используют среду передачи данных, и для облегчения управления ресурсами радиосвязи необходима информация об их использовании этой среды. Поскольку среда передачи данных используется совместно, для любого возможно осуществлять контроль передач, собирать и анализировать данные о передачах, чтобы характеризовать использование среды.
Однако обычно невозможно непосредственно опрашивать других пользователей среды передачи данных об их использовании среды и поэтому эти данные следует собирать косвенно, считывая поток обмена информацией в среде передачи данных и собирая данные из этого потока обмена информацией для выведения выполняемых активностей и диаграмм, связанных с этими активностями.
Когда приложения беспроводной локальной сети БЛС разрастаются, развиваются инструментальные средства для косвенного сбора таких данных, чтобы их анализировать и характеризовать активности беспроводных сетей. Они включают в себя такие инструментальные средства, как анализаторы протокола беспроводной связи, которые могут обследовать каждый из уровней стека, чтобы выявлять проблемы.
Сопутствующие развитию инструментов стандарты беспроводной сети связи развиваются, чтобы в достаточной мере удовлетворять спрос на обслуживание беспроводной сети. Стандарт IEEE (Института инженеров по электронике и радиотехнике) для сетей БЛС представляет собой 802.11 [1]. Он использует различные физические уровни, например, 802.11a [2] и 802.11b [3], причем каждый из этих документов включен здесь путем ссылки, как будто полностью сформулированный. Первоначальный стандарт 802.11 IEEE для сетей БЛС обеспечивал низкую пропускную способность, и в 1999 г. был опубликован стандарт 802.11b IEEE, чтобы поддерживать базисные скорости передачи данных до 11 Мегабит/с (Мбит/с).
Большая часть сетей БЛС, применяемых в настоящее время, используют технологию 802.11b, которая функционирует в диапазоне 2,4 ГГц и поддерживает максимальную теоретическую скорость передачи данных 11 Мбит/с, со средней пропускной способностью в диапазоне 4-6 Мбит/с. Снижение взаимного влияния до минимума является сложной задачей из-за многих различных систем беспроводной связи, уже работающих в диапазоне 2,4 ГГц.
Однако признавая, что для видеоприложений и мультимедийных приложений требуются более высокие скорости передачи данных, IEEE принял стандарт 802.11a, который действует в диапазоне 5 ГГц и определяет способы, подлежащие использованию для скоростей передачи данных до 54 Мбит/с, но практически достигает пропускной способности в диапазоне 20-25 Мбит/с. В зависимости от страны стандарт 802.11а имеет четыре, восемь или более каналов.
Стандарт 802.11е обеспечивает поддержку качества обслуживания (КО) для приложений БЛС, для которых гарантируемое качество является критическим, например приложений, чувствительных к задержке, таких как передача речи по межсетевому протоколу беспроводной связи (VoWIP). Классы обслуживания обеспечивают управляемые уровни КО для информационных, речевых и видеоприложений.
Стандарт 802.1lg предлагает скорости передачи данных в диапазоне 6-54 Мбит/с, три неперекрывающихся канала, обратную совместимость со стандартом 802.11b с сопровождающим замедлением до скоростей стандарта 802.11b и ряд методов модуляции.
Среду передачи данных раскрывает множество устройств, не соответствующих стандартам 802.11, например устройства стандарта Bluetooth, 2,4 ГГц беспроводные телефоны, и даже микроволновые печи являются источниками радиопомех и, таким образом, часто ухудшают характеристики для сетей стандарта 802.11.
Настоящее изобретение реализовывает устройство и способ, в которых результаты зондирования периодов занятости и ожидания в беспроводной среде используются для выведения диаграмм использования относительно других систем радиосвязи, которые работают в сканируемой среде. В предпочтительном варианте осуществления устройство радиосвязи зондирует беспроводную среду (этот процесс здесь упоминается как зондирование), чтобы обеспечить сбор информации об активностях других устройств радиосвязи, использующих среду (здесь упоминается как измерение). Другие устройства радиосвязи могут соответствовать или не соответствовать тому же коммуникационному стандарту, что и устройство радиосвязи, и могут быть или не быть частью той же сети связи, что и устройство радиосвязи.
В предпочтительном варианте осуществления зондирующее устройство радиосвязи зондирует беспроводную среду в течение некоторого времени (в дальнейшем упоминаемого как интервал зондирования) и обследует диаграммы периодов занятости и/или ожидания, и/или диаграммы протокола, связанного с моментами времени. Результирующие диаграммы в дальнейшем упоминаются как результаты зондирования.
Из результатов зондирования может быть получена следующая информация при условии выявления с пропусками и ошибками (поэтому в дальнейшем упоминается как обнаружение, а не выявление).
– Обнаружение устройств, не соответствующих стандарту 802.11.
– Обнаружение систем радиосвязи стандарта 802.11е посредством измерения статистических данных ожидания среды передачи данных.
– Обнаружение систем радиосвязи стандарта 802.11е посредством измерения поведения во время передачи целевого радиомаяка (ВПЦР) и/или при ограничении благоприятных возможностей для передачи (ОгрБВПер). Одной ключевой характерной особенностью УДС (управления доступом к среде) стандарта 802.11е является благоприятная возможность для передачи (БВПер). БВПер определяется как интервал времени, когда станция имеет право инициировать передачи, определяемые временем запуска и максимальной продолжительностью. Возможности БВПер приобретаются через конкуренцию (РФРК-БВПер) или предоставляются HC через опрос (опрашиваемые БВПер). Продолжительность РФРК БВПер ограничена ОгрБВПер ширины БНУКО, распределяемым HC в кадрах радиомаяка.
– Обнаружение приоритетов в доступе к среде передачи данных на основе конкуренции.
– Обнаружение доступа к среде передачи данных стандарта 802.11 с высшим приоритетом без случайного возврата.
– Обнаружение систем радиосвязи стандарта 802.11b/802.11g.
– Обнаружение скрытых станций.
Настоящее изобретение распространяет современное состояние техники для сетей БЛС, обеспечивая устройство и способ для получения информации о типах систем радиосвязи и режимах из их диаграмм активности, без установления связи с этими системами радиосвязи.
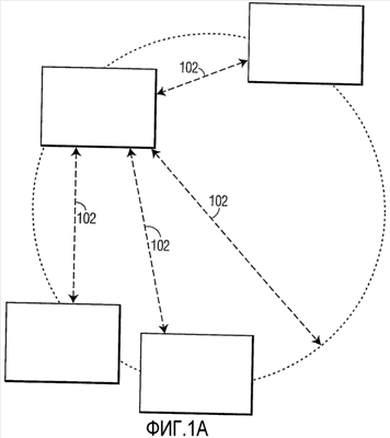
Фиг.1A – упрощенная блок-схема, иллюстрирующая архитектуру системы беспроводной связи базисного набора услуг (БНУ), к которой следует применять варианты осуществления настоящего изобретения;
фиг.1B – упрощенная блок-схема, иллюстрирующая архитектуру системы беспроводной связи независимого базисного набора услуг (НБНУ) специального типа, к которой следует применять варианты осуществления настоящего изобретения;
фиг.2 иллюстрирует упрощенную блок-схему точки доступа (ТД) и каждой станции (СТА) в пределах конкретного базисного набора услуг (БНУ) или НБНУ согласно варианту осуществления настоящего изобретения;
фиг.3A иллюстрирует определения типов измерений для элемента запроса измерений согласно варианту осуществления настоящего изобретения;
фиг.3B иллюстрирует формат поля запроса измерений для запроса временной гистограммы зондирования среды согласно варианту осуществления настоящего изобретения;
фиг.3C иллюстрирует определения номера канала для запросов измерений радиосвязи;
фиг.3D иллюстрирует определения диапазона канала для запросов измерений радиосвязи;
фиг.3E иллюстрирует определения подтипа измерения зондирования среды для запросов измерения радиосвязи;
фиг.4A иллюстрирует определение типов измерения для элемента запроса временной гистограммы зондирования среды согласно варианту осуществления настоящего изобретения;
фиг.4B иллюстрирует формат поля сообщения об измерении для элемента сообщения временной гистограммы зондирования среды согласно варианту осуществления настоящего изобретения;
фиг.4C иллюстрирует определения событий зондирования среды для сообщений об измерении радиосвязи; и
фиг.4D иллюстрирует определения пороговых значений ИПМ для сообщений об измерении радиосвязи временной гистограммы ИПМ.
В последующем описании, скорее с целью пояснения, чем ограничения, сформулированы конкретные подробности, такие как конкретная архитектура, интерфейсы, технические приемы и т.д., чтобы обеспечить полное понимание настоящего изобретения. Однако специалистам в данной области техники должно быть очевидно, что настоящее изобретение можно осуществлять на практике в других вариантах осуществления, которые отступают от этих конкретных подробностей.
Фиг.1A представляет репрезентативную сеть беспроводной связи базисного набора услуг (БНУ), к которой применяются варианты осуществления настоящего изобретения. Как показано на фиг.1A, точка 100 доступа (ТД) связана с множеством мобильных станций (СТАi) 101, которые через беспроводные линии 102 связи сообщаются друг с другом и с ТД. Ключевой принцип настоящего изобретения состоит в обеспечении механизма для запрашивания и сообщения гистограмм заданной точности так, чтобы любая из ТД 100 и СТАi 101 могла получать активности пользователей в среде передачи данных. Фиг.1B представляет репрезентативную беспроводную сеть независимого базисного набора услуг (НБНУ), к которой применяются варианты осуществления настоящего изобретения. Как показано на фиг.1B, множество мобильных станций (СТАi) 101 связываются друг с другом через беспроводные линии 102 связи без какой-либо ТД. Следует отметить, что каждая сеть, показанная на фиг.1A-1B, с целью иллюстрации является маленькой. На практике большинство сетей могут включать в себя значительно большее количество мобильных СТАi 101.
Рассмотрим фиг.2, на которой ТД 100 и каждая СТАi 101 в пределах БЛС фиг.1A и 1B может включать в себя систему с архитектурой, которая иллюстрируется на блок-схеме фиг.2. Как ТД 100, так и каждая СТАi 101 может включать в себя приемное устройство 201, демодулятор 202, схему 203 получения активности и выведения диаграммы, запоминающее устройство 204, управляющий процессор 205, таймер 206, модулятор 207 и передающее устройство 208. Примерная система 200 фиг.2 представлена только для описательных целей. Хотя описание может обращаться к терминам, обычно используемым в описании конкретных мобильных станций, описание и концепции в равной степени относятся и к другим системам обработки, включая системы, имеющие архитектуры, несходные с показанной на фиг.2.
В предпочтительном варианте осуществления приемное устройство 201 и передающее устройство 208 соединены с антенной (не показанной) для преобразования принимаемых сообщений о гистограммах и передачи требуемых запросов гистограмм и полученных результатов зондирования в соответствующие цифровые данные через демодулятор 202 и модулятор 207 соответственно. Схема получения диаграмм активности функционирует под управлением процессора 205 с целью обработки принимаемых кадров сообщений об измерениях, содержащих измерения и соответствующие отметки времени, или для выполнения запрашиваемых или периодических измерений (автономно), в которых измерения передаются наряду с соответствующими отметками времени в кадрах сообщений об измерениях. На фиг.1В показаны возможные комбинации инициаторов запросов и измерительных устройств для вариантов осуществления сетей БЛС стандарта 802.11 IEEE как для НБНУ, так и для БНУ согласно настоящему изобретению. Таймер 206 используется для установления отметки времени в кадрах сообщений об измерениях, которая указывает начальное время сообщаемого измерения.
В предпочтительном варианте осуществления, в качестве части сканирования беспроводной среды передачи данных, устройство радиосвязи обнаруживает периоды занятости, в течение которых уровень накопленной принимаемой мощности радиосигналов превышает пороговое значение мощности, по меньшей мере, с одним из строгого выявления мощности и выявления преамбулы.
Далее устройство радиосвязи обнаруживает периоды ожидания, в течение которых уровень накопленной принимаемой мощности радиосигналов является, по меньшей мере, либо ниже порогового значения мощности, либо преамбула не обнаружена.
В зависимости от применяемого порогового значения мощности среда воспринимается либо как занятая, либо как свободная. В альтернативном варианте осуществления устройство радиосвязи может применять множество пороговых значений и одновременно собирать различные диаграммы в течение интервала зондирования (периода времени) или последовательно в течение последовательных интервалов зондирования (периодов времени).
Кроме того, в альтернативном варианте осуществления периоды занятости определяются как периоды, в течение которых среда передачи данных выделена другим устройствам радиосвязи, но среда не используется для передачи (которые здесь упоминаются как “периоды виртуальной занятости”). В этом варианте осуществления, даже если уровень накопленной принимаемой мощности радиосигналов ниже порогового значения мощности, среда передачи данных может восприниматься как являющаяся занятой.
Результаты зондирования за некоторый период времени представляются гистограммами, и/или процентами от продолжительности, и/или конкретными числами от продолжительности, и/или полной диаграммой зондирования, и/или частями диаграммы зондирования. Измеряющая СТА прослушивает канал и создает гистограмму, которая отображает как долго канал занят. По завершении измерений прослушивающая СТА знает вероятности (здесь называемые процентами) продолжительностей периодов занятости/ожидания. Например, измеряющая СТА проводит зондирование в течение одной минуты (интервал зондирования = 60 с) и определяет с помощью зондирования, что канал занят в течение ПРОДОЛЖИТЕЛЬНОСТИ <100 мс в течение X1% времени, в течение 100 мс < ПРОДОЛЖИТЕЛЬНОСТЬ <200 мс в течение X2% времени, и в течение 200 мс < ПРОДОЛЖИТЕЛЬНОСТЬ <300 мс в течение X3% времени. СТА либо использует эту информацию сама и не представляет отчет обратно, либо СТА сообщает затем обратно три значения (также называемые интенсивностями, или вероятностями, или процентами) X1, X2, X3, или и то, и другое.
Таким образом, в предпочтительном варианте осуществления, результаты зондирования содержат или получены, по меньшей мере, из одной или более диаграмм занятости и ожидания, полученных по меньшей мере с одним параметром из порогового значения мощности, выявления преамбулы и диаграммы периодов виртуальной занятости.
Результаты зондирования содержат информацию об активностях каналов других устройств радиосвязи. Фактическое измерение, то есть сбор информации об активностях каналов посредством интерпретации диаграммы периодов занятости и ожидания, выполняется, по меньшей мере, одним из зондирующих устройств радиосвязи, которое, в предпочтительном варианте осуществления, сконфигурировано, как показано на фиг.2, и возможно, по меньшей мере, другим аналогично сконфигурированным устройством, на которое сообщаются результаты зондирования. Возможно, что измеряющая СТА использует результаты зондирования непосредственно и не сообщает свои результаты зондирования.
После зондирования среды передачи данных могут быть получены различные типы результатов зондирования:
1. По меньшей мере, одна диаграмма ожидания зондируемой среды, основанная на выявлении мощности, по меньшей мере, для одного порогового значения мощности;
2. По меньшей мере, одна диаграмма занятости зондируемой среды, основанная на выявлении мощности, по меньшей мере, для одного порогового значения мощности;
3. Одна диаграмма ожидания зондируемой среды, основанная на выявлении преамбулы;
4. Одна диаграмма занятости зондируемой среды, основанная на выявлении преамбулы;
5. Одна диаграмма ожидания зондируемой среды, основанная на периодах виртуальной занятости;
6. Одна диаграмма занятости зондируемой среды, основанная на периодах виртуальной занятости;
7. Одна диаграмма зондируемой среды, по меньшей мере, с одним протоколом, связанным с моментом времени, протоколом, связанным с пунктами, выбираемыми из группы, состоящей из времени передачи целевого радиомаяка (ВПЦР) и интервалов без конкуренции; и
8. Любая комбинация диаграмм, описанных в пп.1-7.
В предпочтительном варианте осуществления результаты зондирования периодов занятости и ожидания в беспроводной среде передачи данных используются для получения информации относительно других систем радиосвязи, которые работают в сканируемой среде. Из диаграмм может быть получена следующая информация при условии выявления с пропусками и ошибками (поэтому в дальнейшем упоминаемых скорее как обнаружение, чем выявление).
Обнаружение устройств, не соответствующих стандарту 802.11
В предпочтительном варианте осуществления, если по меньшей мере одна из диаграммы (диаграмм) занятости и ожидания среды, основанная на выявлении преамбулы, показывает, что системы радиосвязи стандарта 802.11 являются неактивными, и если по меньшей мере одна из диаграммы (диаграмм) занятости и ожидания среды, основанная на выявлении мощности, которые собраны в то же самое время, показывает активность в среде, например, коррелированный или периодический доступ, делается заключение, что системы беспроводной связи работают в среде, которая являются не совместимой со стандартом 802.11.
Если дело обстоит так, делается заключение, что работа в этой среде может приводить к потере поддержки обслуживания в зависимости от требований локального обслуживания, и зондирующая система радиосвязи не выбирает для работы соответствующий канал.
Обнаружение систем радиосвязи стандарта 802.11e посредством измерения статистических данных ожидания среды передачи данных
Когда системы радиосвязи стандарта 802.11/802.11е работают с высокой поступающей нагрузкой, станции часто выполняют передачу. Часто, при таком сценарии, продолжительности ожидания среды передачи данных определяются главным образом доступом к среде на основе конкуренции. Поскольку системы радиосвязи стандарта 802.11 и системы радиосвязи стандарта 802.11e интерпретируют процедуры доступа к среде передачи данных на основе конкуренции по-разному, их соответствующие диаграммы ожидания среды передачи данных разные. Эта разница в предпочтительном варианте осуществления служит как средство для различия между ними. В противоположность стандарту 802.11e системы радиосвязи стандарта 802.11 обращаются к первому отрезку времени окна конкуренции (после межкадрового пространства распределенной координации, МПРК) с низкой вероятностью и поэтому главным образом обращаются к более поздним отрезкам времени, особенно в сценариях с высокой поступающей нагрузкой.
Если диаграмма (диаграммы) ожидания среды передачи данных указывает на процедуру доступа к среде на основе конкуренции, которая является характерной для стандарта 802.11, но не для стандарта 802.11e, в предпочтительном варианте осуществления делается заключение, что системы радиосвязи, работающие в среде, являются совместимыми со стандартом 802.11 и не совместимыми со стандартом 802.11e. Если дело обстоит так, при работе в этой среде трудно получать поддержку КО, поскольку там нет БНУ качества обслуживания (БНУКО), который уже функционирует в среде передачи данных.
Обнаружение систем радиосвязи стандарта 802.11е посредством измерения режима работы во время передачи целевого радиомаяка (ВПЦР) и/или при ограничении благоприятных возможностей для передачи (ОгрБВПер)
Системы радиосвязи стандарта 802.11 и системы радиосвязи стандарта 802.11e ведут себя по-разному при ВПЦР и при окончании благоприятных возможностей для передачи; системы радиосвязи стандарта 802.11e не осуществляют передачу во время ВПЦР, тогда как системы радиосвязи стандарта 802.11 осуществляют передачу во время ВПЦР. Кроме того, системы радиосвязи стандарта 802.11 не используют ОгрБВПер. Поэтому системы радиосвязи стандарта 802.11 в конечном счете инициируют обмены кадрами с продолжительностями, превышающими ОгрБВПер.
В предпочтительном варианте осуществления, если, по меньшей мере, одна из воспринимаемых диаграмм показывает, что среда занята до ВПЦР и при ВПЦР, и воспринимаемые диаграммы показывают, что обмены кадрами имеют большие продолжительности, чем ОгрБВПер, делается заключение, что в среде работают системы радиосвязи, которые являются совместимыми со стандартом 802.11, но не совместимыми со стандартом 802.11e. В этом случае, в предпочтительном варианте осуществления, в этой среде поддержку КО гарантировать нельзя, поскольку нет БНУКО, который уже функционирует в среде.
Обнаружение приоритетов в доступе к среде передачи данных на основе конкуренции
Системы радиосвязи, которые работают согласно доступу к среде передачи данных на основе конкуренции стандарта 802.11, поддерживают приоритеты доступа, основанные на различных параметрах доступа к среде передачи данных для различных приоритетов. Эти параметры здесь упоминаются как наборы параметров КО. Информация о применяемых наборах параметров КО является полезной при заблаговременной оценке КО, которая может поддерживаться при работе в среде, уже используемой другими системами радиосвязи стандарта 802.11.
Скорее, чем прием детальной информации о наборах параметров КО, применяемых системами радиосвязи стандарта 802.11, которые в настоящее время работают в среде, в предпочтительном варианте осуществления применяемые наборы параметров КО получают из воспринимаемых диаграмм. Это особенно происходит тогда, когда системы беспроводной связи работают с высокой поступающей нагрузкой. В таком сценарии, в предпочтительном варианте осуществления, продолжительности ожидания среды передачи данных определяются посредством процедуры доступа к среде передачи данных на основе конкуренции.
В предпочтительном варианте осуществления, в общем, делается заключение, что наборы параметров КО формируют характерные диаграммы ожидания среды передачи данных, и чем выше приоритет в доступе к среде передачи данных, тем выше вероятность более коротких продолжительностей ожидания.
Обнаружение использования управляемого доступа функции гибридной координации (УДФГК)
Если диаграмма (диаграммы) ожидания среды передачи данных показывает периоды ожидания с продолжительностью доступа к среде высокого приоритета (упоминается как межкадровое пространство координации пунктов (МПКП)), в предпочтительном варианте осуществления делается заключение, что системы радиосвязи работают в среде передачи данных, которая является совместимой со стандартом 802.11e, и что применяется доступ к среде без конкуренции, например, посредством опроса как часть УДФГК. Если дело обстоит так, в предпочтительном варианте осуществления делается заключение не применять доступ к среде передачи данных без конкуренции УДФГК при работе в среде, поскольку уже имеется по меньшей мере одна другая система радиосвязи, применяющая этот доступ к среде передачи данных. То есть в предпочтительном варианте осуществления всякий раз, когда делается заключение, что имеется по меньшей мере одна другая система радиосвязи, применяющая доступ к среде передачи данных УДФГК, система и способ по настоящему изобретению не применяют доступ к среде передачи данных без конкуренции ФГК, то есть УДФГК.
Обнаружение систем радиосвязи стандарта 802.11b/802.11g
Совместимые со стандартом 802.11b кадры и совместимые со стандартом 802.11g кадры могут иметь различные продолжительности передачи из-за различных продолжительностей преамбулы и заголовка. Имеются продолжительности, которые являются характерными для совместимых со стандартом 802.11g кадров, которые обычно передаются системами радиосвязи стандарта 802.11g в периоды времени, когда системы радиосвязи стандарта 802.11b не работают параллельно.
Если диаграмма (диаграммы) занятости среды передачи данных показывает продолжительности занятости, которые являются типичными для стандарта 802.11g, в предпочтительном варианте осуществления делается заключение, что все системы радиосвязи, работающие в среде, являются совместимыми со стандартом 802.11g. Если дело обстоит так, в предпочтительном варианте осуществления делается заключение, что системы радиосвязи стандарта 802.11g, которые работают в этой среде, достигают более высокой пропускной способности по сравнению со сценариями, где среда совместно используется для систем радиосвязи стандарта 802.11b и стандарта 802.11g.
Обнаружение скрытой станции
Кадры данных и кадры подтверждения приема к (ПОДТВ) посылаются последовательно, почти во всех случаях, когда работают системы радиосвязи стандарта 802.11. Это можно выявить, если кадр является кадром данных или кадром ПОДТВ, посредством декодирования кадра или на основании продолжительности кадра (указываемой продолжительностью занятости среды передачи данных при зондировании среды и/или продолжительностью предшествующей продолжительности ожидания).
Если обнаружены кадры данных, но часто без последующего ожидаемого ПОДТВ, и если в то же самое время виртуальное зондирование несущей (сетевой вектор назначения (СВН)) показывает, что передающая радиостанция ожидает кадр ПОДТВ, в предпочтительном варианте осуществления делается заключение, что по меньшей мере одна станция скрыта по отношению к зондирующей станции. Дополнительный индикатор СВН обеспечивает обнаружение скрытой станции с более высокой точностью, поскольку это обеспечивает возможность ему работать, даже если применяется алгоритм блоков ПОДТВ. Алгоритм блоков ПОДТВ представляет собой концепцию в стандарте 802.11e, которая дает возможность передавать кадры данных без индивидуальных кадров ПОДТВ, то есть с блоками ПОДТВ.
Далее в предпочтительном варианте осуществления, если зондирующая станция принимает кадры в некотором отношении так, что эта станция должна использовать расширенную НФС (настраиваемая файловая система) (РНФС), делается заключение, что одна или более станций являются скрытыми по отношению к зондирующей станции. Станция должна использовать РНФС, если преамбула и заголовок кадра были успешно выявлены, но в конце приема кадра произошла ошибка. В предпочтительном варианте осуществления делается заключение, что другая радиостанция инициировала передачу во время продолжающегося приема, что может происходить только, если две станции являются скрытыми по отношению друг к другу.
Далее в предпочтительном варианте осуществления, если принимаемая мощность изменяется в течение продолжающейся передачи, делается заключение, что по меньшей мере одна станция скрыта по отношению к зондирующей станции.
Запрос 320 и сообщение 420 об измерении зондирования среды передачи данных
В предпочтительном варианте осуществления, запрос 320 измерения зондирования среды передачи данных (фиг.3A-3D) и сообщение 420 об измерении зондирования среды передачи данных (фиг.4A-4D) используются для сбора информации о диаграммах доступа к среде передачи данных с использованием, по меньшей мере, одного индикатора, выбираемого из группы, состоящей из индикатора принимаемой мощности (ИПМ), оценки состояния канала (ОСК) и зоны действия сетевого вектора назначения (СВН)
В предпочтительном варианте осуществления диаграммы сообщаются в виде временных гистограмм, то есть наборов значений, которые представляют вероятности возникновения (“интенсивности”) по меньшей мере одной из некоторых продолжительностей занятости и ожидания. Вместо обеспечения гистограмм по различным уровням мощности в предпочтительном варианте осуществления временные гистограммы обеспечивают информацию о продолжительностях занятости и ожидания с точностью, как определяется в запросе измерения зондирования среды. Например, если собрана временная гистограмма зондирования среды с точностью до отрезка времени, из собранной информации может быть получена информация об активностях среды передачи данных других станций СТА стандарта 802.11. Временные гистограммы обеспечивают подробности об активностях на канале других систем радиосвязи. Это измерение обеспечивает возможность улучшенного управления ресурсами радиосвязи в БЛС стандарта 802.11.
Одно преимущество временной гистограммы зондирования среды заключается в том, что информация о продолжающихся активностях других устройств радиосвязи может быть собрана без приема ответов устройства для сбора информации о трафике или уведомления об ошибках от других точек доступа в течение периода измерения. Это полезно, когда измеряющая СТА может принимать только кадры от станций СТА вне ТА, например, в случае частичного перекрытия систем (БНУКО). В предпочтительном варианте осуществления, как только информация результата зондирования собрана, управление ресурсами радиосвязи облегчается посредством адресации к следующим вопросам:
1. Имеются ли другие не соответствующие стандарту 802.11 устройства, например, микроволновые, работающие на канале, и какова их диаграмма доступа к среде (ответ, наиболее вероятно, будет обеспечиваться через ИПМ и временную гистограмму ОСК)?
2. Существуют ли устройства стандарта 802.11, работающие на канале, которые могут препятствовать поддержке КО (ответ можно обеспечивать через временную гистограмму ожидания ОСК)?
3. Каково текущее состояние на канале в терминах применяемых параметров расширенной функции распределенной координации (РФРК) и поступающей нагрузки для каждого приоритета (ответ можно обеспечивать через временную гистограмму ожидания ОСК)?
4. Достаточная ли пропускная способность остается в канале для его совместного использования устройствами стандарта 802.11, которые уже работают на канале (ответ, наиболее вероятно, будет обеспечиваться через ИПМ и временную гистограмму ожидания ОСК)?
5. Можно ли работать с доступом к каналу без конкуренции ФГК на этом канале или там уже имеется другое устройство, работающее с доступом к каналу без конкуренции (ответ обеспечивается через временную гистограмму ожидания ОСК)?
6. Какова максимальная продолжительность периодов занятости, то есть какое минимальное ОгрБВПер можно применять на этом канале (ответ обеспечивается через гистограмму интервала занятости ОСК)?
Элемент запроса измерения
Фиг.3А иллюстрирует определенные типы измерения для элемента запроса.
Запрос 320 временной гистограммы зондирования среды
Формат кадра запроса измерения, соответствующего запросу 320 временной гистограммы зондирования среды, показан на фиг.3B.
– Номер 301 канала показывает номер канала, для которого применяется запрос измерения (как определено, например, в IEEE 802.11 17.3.8.3.2);
– диапазон 302 канала показывает диапазон частот, см. фиг.3D, в котором применяется номер канала;
– продолжительность 303 измерения установлена равной продолжительности требуемого измерения, выраженная в единицах измерения таймера (ЕИТ);
– подтип 304 измерения зондирования среды показывает подтип измерения зондирования среды для выполнения. Доступные подтипы измерения зондирования среды определены на фиг.3E;
– индикатор принимаемой мощности (ИПМ) 305 определяется как квантованная мера уровня принимаемой мощности, если смотреть на выводе антенны;
– смещение 306 приемника показывает позицию первого приемника, выраженное в микросекундах;
– интервал 307 приемника показывает временной интервал, в течение которого подсчитываются события зондирования среды для нахождения в этом приемнике, выраженный в количестве отрезков времени. События зондирования среды определены на фиг.4C;
– Количество приемников 308 показывает общее количество временных интервалов, которые перекрываются временной гистограммой.
Сообщение 420 временной гистограммы зондирования среды
Формат поля сообщения об измерении сообщения 420 временной гистограммы зондирования среды показан на фиг.4A.
– Номер 401 канала показывает номер канала, к которому применяется сообщение временной гистограммы зондирования среды.
– Диапазон 402 канала показывает измеряемый диапазон частот, взятый из таблицы 2, в котором применяется номер канала.
– Продолжительность 403 измерения установлена равной продолжительности, в течение которой производилось измерение сообщения временной гистограммы зондирования среды, выраженная в ЕИТ.
– Подтип 404 измерения зондирования среды показывает подтип сообщения временной гистограммы зондирования среды, как определено на фиг.3E.
– Пороговое значение 405 ИПМ идентифицирует пороговое значение уровня принимаемой мощности согласно фиг.4D, если смотреть на выводе антенны. Пороговое значение ИПМ используется для определения, происходит ли событие зондирования среды при сборе информации для временной гистограммы ИПМ.
– Интервал 407 приемника показывает временной интервал, в течение которого подсчитываются события зондирования среды, находящиеся в этом приемнике, выраженный в количестве отрезков времени. События зондирования среды определены на фиг.4C.
– Количество приемников 408: в одном из N приемников сообщение временной гистограммы зондирования среды содержит интенсивности в каждом из N временных интервалов, как измерено на указанном канале на протяжении продолжительности измерения.
– Общее количество событий 409 зондирования среды показывает, сколько событий было подсчитано в течение измерения. События зондирования среды определены на фиг.4C.
– Bini (приемникi) – для вычисления интенсивности Bini, 0 ii. Если событие зондирования среды происходит в течение измерения в момент времени t при,>
i0+(i* i)i0+((i+1)* i) для любого i
i0+(N* i) t для i=N-1,
тогда количество событий на Bi увеличивается на единицу, и разрабатывается распределение вероятностей, и генерируется гистограмма и сохраняется в Bini, который представляет распределение во времени вероятностей событий зондирования среды.
В предпочтительном варианте осуществления СТА, принимающая один или больше запросы временной гистограммы зондирования среды передачи данных, отвечает на сообщение временной гистограммы зондирования среды, содержащее гистограмму (гистограммы) согласно требуемому подтипу (подтипам) измерения зондирования среды. Чтобы обеспечивать информацию, которая позволяет делать оценку доверительного уровня сообщаемых данных, также обеспечивается общее количество подсчитываемых событий зондирования среды.
В качестве основного преимущества временной гистограммы зондирования среды информация о продолжающихся активностях других устройств радиосвязи собирается без приема ответов или уведомлений об ошибках устройства для сбора информации о трафике от других точек доступа ТА в течение периода измерения. Это полезно, когда измеряющая СТА может принимать кадры только от станций СТА вне ТА, например, в случае частичного перекрытия систем (БНУКО).
1. Во-первых, при анализировании временных гистограмм зондирования среды, в предпочтительном варианте осуществления определяется, работают ли на сканируемом канале другие устройства радиосвязи, не соответствующие стандарту 802.11, и как распределен их доступ к среде передачи данных по времени. Эта информация используется, например, для обнаружения микроволновых устройств.
2. Во-вторых, при анализировании временной гистограммы зондирования среды, в предпочтительном варианте осуществления определяется, имеются ли станции СТА стандарта 802.11, работающие на этом канале, которые не поддерживают КО, как определено стандартом 802.11е. Например, сравнение диаграммы СВН с ОгрБВПер также показывает, имеются ли действующие станции СТА стандарта 802.11, работающие на этом канале.
3. В-третьих, при анализировании временной гистограммы зондирования среды, в предпочтительном варианте осуществления определяется, используется ли на канале конкурентный свободный доступ. Для обеспечения этой информации используется, например, гистограмма ожидания ОСК.
4. И наконец, при анализировании сообщаемой временной гистограммы зондирования среды, в предпочтительном варианте осуществления определяется, какой уровень поддержки КО выполним при работе на сканируемом канале. Например, можно собрать информацию об используемых параметрах РФРК на сканируемом канале и поступающей нагрузке на сканируемых каналах. Гистограмма ожидания ОСК используется для обеспечения информации об информационной нагрузке для различных приоритетов с различными параметрами межкадрового пространства арбитража (МКПА). Она определяется, если имеется достаточная пропускная способность, остающаяся на сканируемом канале для совместного использования ресурсов радиосвязи, при наличии ограничений КО. Анализируя сообщаемую временную гистограмму зондирования среды, можно дополнительно определить, какова максимальная продолжительность интервалов занятости и какое минимальное ОгрБВПер является подходящим при работе на сканируемом канале.
Хотя были проиллюстрированы и описаны предпочтительные варианты осуществления настоящего изобретения, специалистам в данной области техники должно быть понятно, что можно выполнять различные видоизменения и модификации, и элементы можно заменять на эквиваленты, не отступая при этом от истинного объема настоящего изобретения. Кроме того, можно выполнять множество модификаций, чтобы адаптироваться к конкретной ситуации и положениям настоящего изобретения, не отступая при этом от его общего объема притязаний. Поэтому подразумевается, что настоящее изобретение не ограничено конкретным вариантом осуществления, раскрытым как предполагаемый лучший вариант для выполнения настоящего изобретения, но что настоящее изобретение включает в себя все варианты осуществления, попадающие в объем прилагаемой формулы изобретения.
Источники информации
1. IEEE 802.11 WG Reference number ISO/IEC 8802-11: 1999(E) IEEE Std 802.11, 1999 edition. International Standard [for] Information Technology – Telecommunications and information exchange between systems – Local and metropolitan area networks – Specific Requirements (Международный стандарт для информационной технологии – Телекоммуникации и обмен информацией между системами – Локальные и региональные сети – Специальные требования – Часть 11) – Part 11: Wireless LAN Medium Access Control (MAC) and Physical Layer (PHY) specifications (Требования к управлению доступом к среде передачи данных (УДС) беспроводной ЛС и физическим уровням (ФУ)). New York USA: The Institute of Electrical and Electronics Engineers, Inc. 1999.
2. IEEE 802.11 WG IEEE Std 802.11a, 1999 edition. Supplement to IEEE Standard for Information Technology (Дополнение к стандарту IEEE для информационной технологии) – Telecommunications and information exchange between systems – Local and metropolitan area networks – Specific Requirements – Part 11: Wireless LAN Medium Access Control (MAC) and Physical Layer (PHY) specifications: High-speed Physical Layer in the 5 GHz Band (Высокоскоростной физический уровень в диапазоне 5 ГГц). New York USA: The Institute of Electrical and Electronics Engineers, Inc. 1999.
3. IEEE 802.11 WG IEEE Std 802.11b, 1999 edition. Supplement to IEEE Standard for Information Technology – Telecommunications and information exchange between systems – Local and metropolitan area networks – Specific Requirements – Part 11: Wireless LAN Medium Access Control (MAC) and Physical Layer (PHY) specifications: Higher-Speed Physical Layer Extension in the 2.4 GHz Band (Распространение высокоскоростного физического уровня на диапазон 2,4 ГГц). New York USA: The Institute of Electrical and Electronics Engineers, Inc. 1999.
Формула изобретения
1. Способ выведения информации по меньшей мере об одной второй станции (100, 101), которая функционирует в среде передачи данных, сканируемой первой станцией (100, 101), содержащий этапы сканирования первой станцией (100, 101) в течение предварительно определенного интервала зондирования, который содержит по меньшей мере один последовательный интервал зондирования по меньшей мере для одной активности в среде передачи данных по меньшей мере одной второй станции (100, 101), измерения (203, 205) первой станцией (100, 101) сканируемой по меньшей мере одной активности по меньшей мере одной второй станции (100, 101), и выведения (203, 205) первой станцией (100, 101) по меньшей мере одной диаграммы активности второй станции (100, 101) в течение предварительно определенного интервала зондирования из измеренной сканируемой по меньшей мере одной активности по меньшей мере одной второй станции (100, 101), причем способ дополнительно содержит этапы: приема запроса измерения зондирования среды первой станцией для выведения по меньшей мере одной диаграммы доступа к среде передачи данных по меньшей мере одной второй станции, и в ответ на принятый запрос измерения зондирования среды, передачу первой станцией сообщения об измерении зондирования среды, содержащего по меньшей мере одну диаграмму активности доступа к среде по меньшей мере одной второй станции, полученную первой станцией, причем запрос измерения зондирования среды содержит следующие поля: номер (301) канала, который показывает номер канала, для которого применяется запрос измерения, диапазон (302) канала, который показывает диапазон частот, продолжительность (303) измерения, которая установлена равной продолжительности запрашиваемого измерения, выраженная в единицах измерения таймера (ЕИТ), подтип (304) измерения зондирования среды, который показывает подтип временной гистограммы измерения зондирования среды, подлежащий выполнению, выбираемый из группы, состоящей из временной гистограммы индикатора принимаемой мощности (ИПМ), временной гистограммы ожидания оценки свободного канала (ОСК), временной гистограммы занятости оценки свободного канала (ОСК) и гистограммы занятости сетевого вектора назначения (СВН), индикатор (305) принимаемой мощности (ИПМ), который определяется, как квантованная мера уровня принимаемой мощности, если смотреть на выводе антенны первой станции, смещение (306) приемника, которое показывает позицию первого приемника, выраженную в микросекундах (206), интервал (307) приемника, который показывает временной интервал, в течение которого события зондирования среды подсчитываются для нахождения в этом приемнике, выраженный в количестве отрезков времени, и количество (308) приемников, которое показывает общее количество временных интервалов, охватываемых временной гистограммой, и причем сообщение об измерении зондирования среды содержит следующие поля: номер (401) канала, который показывает номер канала, для которого применяется сообщение об измерении среды, диапазон (402) канала, который показывает измеряемый диапазон частот, в котором применяется номер канала, продолжительность (403) измерения, которая установлена равной продолжительности, в течение которой было измерено сообщение об измерении зондирования среды, выраженная в единицах измерения таймера (ЕИТ). подтип (404) измерения зондирования среды, который показывает подтип сообщения временной гистограммы зондирования среды, пороговое значение (405) ИПМ, которое идентифицирует уровень принимаемой мощности, если смотреть на выводе антенны первой станции, смещение (406) приемника, которое показывает позицию первого приемника, выраженное в микросекундах (206), интервал (407) приемника, который показывает временной интервал, в течение которого подсчитываются события зондирования среды для нахождения в этом приемнике, выраженный в количестве отрезков времени, количество приемников (408): в N приемниках сообщение об измерении зондирования среды содержит интенсивность в соответствующем одном из N временных интервалов, как было измерено в указанном номере канала в течение продолжительности измерения, общее количество событий (409) зондирования среды, которое показывает, сколько событий было подсчитано в течение продолжительности измерения, и интенсивность Bini (410-41 (N-1)), 0 i N, станция (СТА) выводит распределение во времени вероятностей событий зондирования среды.
2. Способ по п.1, в котором этап сканирования первой станцией также содержит этап выявления (203, 205) по меньшей мере одного из по меньшей мере одного периода занятости и по меньшей мере одного периода ожидания в течение интервала зондирования.
3. Способ по п.2, в котором этап выявления также содержит этапы накопления (203, 204, 205) уровня принимаемой мощности упомянутой сканируемой активности, по меньшей мере один из одновременного и последовательного зондирования (203, 205) по меньшей мере одного периода занятости, когда удовлетворяется по меньшей мере одно условие для группы, состоящей из уровня накопленной принимаемой мощности, превышающей по меньшей мере одно предварительно определенное пороговое значение мощности, используя строгое выявление мощности, и преамбула обнаружена, и по меньшей мере один из одновременного зондирования (203, 205) в течение интервала зондирования и последовательного зондирования (203, 205) в течение последовательных интервалов зондирования по меньшей мере одного периода ожидания, когда уровень накопленной принимаемой мощности меньше, чем по меньшей мере одно предварительно определенное пороговое значение мощности, а преамбула не обнаружена.
4. Способ по п.3, в котором этап сканирования первой станцией также содержит этап обнаружения (203, 205) периода виртуальной занятости.
5. Способ по п.4, в котором этап обнаружения периода виртуальной занятости также содержит этап, независимо от уровня накопленной принимаемой мощности, зондирования (203, 205) выявленного периода виртуальной занятости, когда среда передачи данных, выделенная по меньшей мере для одной второй станции, не используется для передачи по меньшей мере одной второй станцией.
6. Способ по п.5, в котором этап измерения первой станцией также содержит этап установления абсолютного количества возникновений и полной продолжительности (203, 205) по меньшей мере одной сканируемой активности за интервал зондирования.
7. Способ по п.6, в котором этап выведения первой станцией также содержит этап вычисления из полной продолжительности (203, 205) по меньшей мере одной активности процентного соотношения времени по меньшей мере одной активности, происходящей в течение интервала зондирования.
8. Способ по п.7, который также содержит этапы: выполнения этапов сканирования первой станцией, измерения первой станцией и выведения первой станцией в течение предварительно определенного периода времени, содержащего по меньшей мере один последовательный интервал зондирования (203, 205), и представления абсолютного количества возникновений по меньшей мере одной активности, которые произошли в течение по меньшей мере одного интервала зондирования предварительно определенного периода времени, с помощью ее гистограммы за предварительно определенный период времени (203, 205).
9. Способ по п.1, который также содержит этап использования (205) по меньшей мере одной выведенной диаграммы активности для обнаружения по меньшей мере одной из следующих ситуаций: i. по меньшей мере одна вторая станция является устройством, не соответствующим стандарту IEEE 802.11, ii. по меньшей мере одна вторая станция является устройством стандарта IEEE 802.11e, iii. набор параметров качества обслуживания (КО) применялся по меньшей мере одной второй станцией iv. по меньшей мере одна вторая станция использует функцию гибридной координации (ФГК), v. по меньшей мере одна вторая станция соответствует одному из стандартов IEEE 802.11b и IEEE 802.11g, и vi. по меньшей мере по меньшей мере одна вторая станция является скрытой от первой станции.
10. Способ по п.1, причем способ дополнительно содержит этапы вычисления интенсивности Bini, 0 i N, в котором станция (СТА) контролирует непрерывную продолжительность контролируемого режима одного из состояний ожидания и занятости, и дает приращение счетчику, Bini41(i-l), на 1, если событие зондирования среды происходит в течение измерения в момент времени t при i0+(i· i)i0+((i+1)· i) для любого ii0+(N· i) t для i=N-1, и генерирования гистограммы (203, 205, 206), которая представляет распределение вероятностей события зондирования среды в течение продолжительности измерения.,
![]()
11. Устройство на первой станции (101) для получения информации по меньшей мере об одной второй станции (101), которая функционирует в среде, сканируемой первой станцией (101), содержащее приемное устройство (201) для приема поступающего сигнала по меньшей мере от одной второй станции (101) в течение предварительно определенного интервала зондирования, который содержит по меньшей мере один последовательный интервал зондирования, схему (203) сбора активности и выведения диаграммы, которая измеряет диаграммы активности упомянутого поступающего сигнала, принимаемого в ней, и получает из них диаграммы, таймер (206), который обеспечивает систему отсчета времени в единицах измерения таймера (ЕИТ), управляющий процессор (205), подсоединенный к схеме (203) сбора активности и выведения диаграммы и таймеру (206) и, в течение предварительно определенного интервала, выполненный с возможностью считывания по меньшей мере одной из активности занятости и ожидания упомянутого поступающего сигнала и выведения оттуда диаграммы активности в виде гистограммы за некоторый период времени, причем в упомянутом устройстве: первая станция (101) принимает запрос (320) измерения зондирования среды для выведения по меньшей мере одной гистограммы доступа к среде передачи данных по меньшей мере одной второй станции (101), и в ответ на принятый запрос (320) измерения зондирования среды, первая станция (101) передает (207, 208) сообщение (420) об измерении зондирования среды, содержащее по меньшей мере одну гистограмму доступа к среде по меньшей мере одной второй станции 101, полученную первой станцией (101), причем запрос измерения зондирования среды содержит следующие поля: номер (301) канала, который показывает номер канала, для которого применяется запрос измерения, диапазон (302) канала, который показывает диапазон частот, продолжительность (303) измерения, которая установлена равной продолжительности запрашиваемого измерения, выраженная в единицах измерения таймера (ЕИТ), подтип (304) измерения зондирования среды, который показывает подтип временной гистограммы измерения зондирования среды, подлежащий выполнению, выбираемый из группы, состоящей из временной гистограммы индикатора принимаемой мощности (ИПМ), временной гистограммы ожидания оценки свободного канала (ОСК), временной гистограммы занятости оценки свободного канала (ОСК) и гистограммы занятости сетевого вектора назначения (СВН), индикатор (305) принимаемой мощности (ИПМ), который определяется, как квантованная мера уровня принимаемой мощности, если смотреть на выводе антенны первой станции, смещение (306) приемника, которое показывает позицию первого приемника, выраженную в микросекундах (206), интервал (307) приемника, который показывает временной интервал, в течение которого события зондирования среды подсчитываются для нахождения в этом приемнике, выраженный в количестве отрезков времени, и количество (308) приемников, которое показывает общее количество временных интервалов, охватываемых временной гистограммой, и причем сообщение об измерении зондирования среды содержит следующие поля: номер (401) канала, который показывает номер канала, для которого применяется сообщение об измерении среды, диапазон (402) канала, который показывает измеряемый диапазон частот, в котором применяется номер канала, продолжительность (403) измерения, которая установлена равной продолжительности, в течение которой было измерено сообщение об измерении зондирования среды, выраженная в единицах измерения таймера (ЕИТ), подтип (404) измерения зондирования среды, который показывает подтип сообщения временной гистограммы зондирования среды, пороговое значение (405) ИПМ, которое идентифицирует уровень принимаемой мощности, если смотреть на выводе антенны первой станции, смещение (406) приемника, которое показывает позицию первого приемника, выраженное в микросекундах (206), интервал (407) приемника, который показывает временной интервал, в течение которого подсчитываются события зондирования среды для нахождения в этом приемнике, выраженный в количестве отрезков времени, количество приемников (408): в N приемниках сообщение об измерении зондирования среды содержит интенсивность в соответствующем одном из N временных интервалов, как было измерено в указанном номере канала в течение продолжительности измерения, общее количество событий (409) зондирования среды, которое показывает, сколько событий было подсчитано в течение продолжительности измерения, и интенсивность Bini (410-41(N-1)), 0 i N, станция (СТА) выводит распределение во времени вероятностей событий зондирования среды.
12. Устройство по п.11, которое также содержит запоминающее устройство (204), подсоединенное к управляющему процессору (205) для сохранения упомянутой гистограммы за некоторый период времени, и в котором управляющий процессор (205) также выполнен с возможностью: накопления уровня принимаемой (201) мощности упомянутой сканируемой активности, выполнения по меньшей мере одного из одновременного зондирования в течение интервала зондирования и последовательного зондирования в течение последовательных интервалов зондирования по меньшей мере одного периода занятости, когда удовлетворяется по меньшей мере одно условие для группы, состоящей из уровня накопленной принимаемой мощности, превышающего по меньшей мере одно предварительно определенное пороговое значение мощности, используя строгое выявление мощности, и обнаружена преамбула, и выполнения по меньшей мере одного из одновременного зондирования в течение интервала зондирования и последовательного зондирования в течение последовательных интервалов зондирования по меньшей мере одного периода ожидания, когда уровень накопленной принимаемой мощности меньше, чем по меньшей мере одно предварительно определенное пороговое значение мощности, и преамбула не обнаружена.
13. Устройство по п.12, в котором управляющий процессор (205) также выполнен с возможностью считывания выявленного периода виртуальной занятости, когда среда, распределенная по меньшей мере для одной второй станции (101), не используется для передачи по меньшей мере одной второй станцией (101), независимо от уровня накопленной принимаемой мощности.
14. Устройство по п.13, в котором управляющий процессор (205) также выполнен с возможностью использования по меньшей мере одной выведенной диаграммы активности для обнаружения по меньшей мере одной из следующих ситуаций: i. по меньшей мере одна вторая станция (101) является устройством, не соответствующим стандарту IEEE 802.11, ii. по меньшей мере одна вторая станция (101) является устройством стандарта IEEE 802.11e, iii. набор параметров качества обслуживания (КО) применялся по меньшей мере одной второй станцией (101), iv. по меньшей мере одна вторая станция (101) использует функцию гибридной координации (ФГК), v. по меньшей мере одна вторая станция (101) соответствует одному из стандартов IEEE 802.11b и IEEE 802.11g, и vi. по меньшей мере одна вторая станция (101) является скрытой от первой станции (101).
15. Устройство по п.11, в котором: управляющий процессор (205) также выполнен с возможностью обеспечения – контролируемого режима одного из состояния ожидания или занятости, для вычисления интенсивности Bini41(i-1), 0 i i, на 1, если событие зондирования среды происходит в течение измерения в момент времени t при i0+(i· i)i0+((i+1)· i) для любого ii0+(N· i) t для i=N-1, и генерирования гистограммы, которая представляет распределение вероятностей события зондирования среды по продолжительности измерения.,
,>
РИСУНКИ
,![]()
|
|