|
|
(21), (22) Заявка: 2008113569/09, 07.04.2008
(24) Дата начала отсчета срока действия патента:
07.04.2008
(46) Опубликовано: 10.06.2009
(56) Список документов, цитированных в отчете о поиске:
RU 2301488 C1, 20.06.2007. SU 1164830 A, 30.06.1985. SU 1132330 A, 30.12.1984. SU 1823093 A1, 23.06.1993. SU 1820475 A1, 07.06.1993. SU 917295 A, 30.03.1982. SU 164344 A, 28.08.1964. US 3506859 A, 14.04.1970.
Адрес для переписки:
344038, г.Ростов-на-Дону, пл. Полка народного ополчения, 2, РГУПС, НИЧ
|
(72) Автор(ы):
Соломин Владимир Александрович (RU), Замшина Лариса Леонидовна (RU), Соломин Андрей Владимирович (RU)
(73) Патентообладатель(и):
Соломин Владимир Александрович (RU), Замшина Лариса Леонидовна (RU), Соломин Андрей Владимирович (RU)
|
(54) ШАГОВЫЙ ЭЛЕКТРОДВИГАТЕЛЬ
(57) Реферат:
Изобретение относится к электротехнике и предназначено для использования в робототехнике и системах автоматики для регулирования шагового перемещения. Технический результат состоит в возможности независимого управления двумя роторами. Шаговый электродвигатель 1 содержит статор 2 с зубцами 3 и 4, расположенными на внутренней и внешней расточках статора, и пазами 5 и 6, расположенными между ними. В пазах 5 и 6 размещены фазные катушки обмотки 7. Ротор содержит электропроводящую часть 8 и магнитопроводящую часть 9, размещенные на валу 10. Электропроводящая часть содержит диаметральную прорезь 11, расположенную по всей активной длине ротора и заполненную изолирующим веществом. На зубцах 4 на внешней расточке статора установлены ролики 12, на которые опирается электропроводящая часть 13 дополнительного ротора, выполненная в виде цилиндра и имеющая диаметральную прорезь 14, расположенную по всей активной длине дополнительного ротора и заполненную изолирующим веществом. Поверх электропроводящей части 13 установлена магнитопроводящая часть 15 дополнительного ротора. К источнику напряжения подключены по пять фазных катушек обмотки, образующих дугообразный ряд, у которого до середины один, а после середины – противоположный порядок следования фаз. Для начала шага ротора отключают последнюю фазную катушку ряда. Для завершения шага – одновременно отключают первую фазную катушку ряда и подключают фазную катушку, следующую за последней катушкой первоначального ряда. 5 ил.
Изобретение относится к области электротехники, а точнее – электродвигателям, предназначенным для использования в дискретных электроприводах.
Известен шаговый электродвигатель, содержащий статор с обмотками, расположенными на его зубцах, ротор, включающий электропроводящую часть, и коммутирующее устройство (см. например: а.с. СССР 907716, МПК Н02К 37/00, 1982 г.; пат. Японии 60-279572, МПК Н02К 37/00, 1985 г.).
Недостатком данных шаговых электродвигателей являются ограниченные функциональные возможности.
Наиболее близким по своей технической сущности к заявляемому является шаговый электродвигатель (ШД), содержащий статор с зубцами и пазами и с обмоткой, состоящей из фазных катушек, ротор, включающий электропроводящую и магнитопроводящую части, и коммутирующее устройство, причем фазные катушки обмотки статора соединены с коммутирующим устройством, при этом начала фазных катушек соединены с клеммами для подключения нулевого провода источника питания, а концы каждой фазной катушки соединены через замыкающие контакты коммутирующего устройства с клеммами для подключения соответствующих фаз источника питания, причем управляющий блок коммутирующего устройства выполнен с возможностью одновременного подключения для фиксации ротора пяти фазных катушек, образующих дугообразный ряд, у которого до середины один, а после середины – противоположный порядок следования фаз, причем для начала шага ротора – с возможностью отключения последней фазной катушки ряда, а для совершения шага – с возможностью одновременного отключения первой фазной катушки ряда и подключения фазной катушки, следующей за последней катушкой первоначального ряда, причем ротор содержит электропроводящую часть, выполненную в виде цилиндра, который выполнен с диаметральной прорезью, расположенной по всей активной длине ротора и заполненной изолирующим веществом (см. пат. RU 2301488, МПК Н02К 37/00, Н02Р 8/42, 2007 г.).
Данный шаговый электродвигатель имеет ограниченные функциональные возможности. Это – недостаток прототипа.
Технической задачей настоящего изобретения является устранение отмеченного недостатка в разработанной конструкции шагового электродвигателя.
Решение технической задачи достигается тем, что шаговый электродвигатель, содержащий статор с зубцами и пазами и с обмоткой, состоящей из фазных катушек, ротор, включающий электропроводящую и магнитопроводящую части, и коммутирующее устройство, причем фазные катушки обмотки статора соединены с коммутирующим устройством, при этом начала фазных катушек соединены с клеммами для подключения нулевого провода источника питания, а концы каждой фазной катушки соединены через замыкающие контакты коммутирующего устройства с клеммами для подключения соответствующих фаз источника питания, причем управляющий блок коммутирующего устройства выполнен с возможностью одновременного подключения для фиксации ротора пяти фазных катушек, образующих дугообразный ряд, у которого до середины один, а после середины – противоположный порядок следования фаз, причем для начала шага роторов – с возможностью отключения последней фазной катушки ряда, а для завершения шага – с возможностью одновременного отключения первой фазной катушки ряда и подключения фазной катушки, следующей за последней катушкой первоначального ряда, причем ротор содержит электропроводящую часть, выполненную в виде цилиндра, который выполнен с диаметральной прорезью, расположенной по всей активной длине ротора и заполненной изолирующим веществом, согласно изобретению на внешней расточке статора выполнены дополнительные зубцы и пазы, причем фазные катушки выполнены кольцевыми и каждая фазная катушка размещена одновременно в пазах, расположенных на внутренней и внешней расточках статора, на зубцах внешней расточки статора установлены роликовые опоры, поверх которых размещен дополнительный ротор, содержащий электропроводящую часть в виде цилиндра, который выполнен с диаметральной прорезью, расположенной по всей активной длине дополнительного ротора и заполненной изолирующим веществом, поверх которого расположена магнитопроводящая часть.
Выполнение на внешней расточке статора дополнительных зубцов и пазов и выполнение фазных катушек кольцевыми и размещение их одновременно в пазах, расположенных на внутренней и внешней расточках статора, поверх которых размещен дополнительный ротор, содержащий электропроводящую часть в виде цилиндра, который выполнен с диаметральной прорезью, расположенной по всей активной длине дополнительного ротора и заполненной изолирующим веществом, поверх которого расположена магнитопроводящая часть, – эти признаки определяют новизну и существенные отличия данного технического решения.
В дальнейшем изобретение поясняется примером его конкретного выполнения со ссылками на прилагаемые чертежи, на которых фиг.1 изображает общий вид шагового электродвигателя без коммутирующего устройства (фрагмент поперечного сечения);
фиг.2 показывает схематически поперечное сечение шагового электродвигателя с подключенными к источнику трехфазного питания пятью фазными катушками, образующими первоначальный ряд (здесь А; В; С – обозначения фаз источника напряжения);
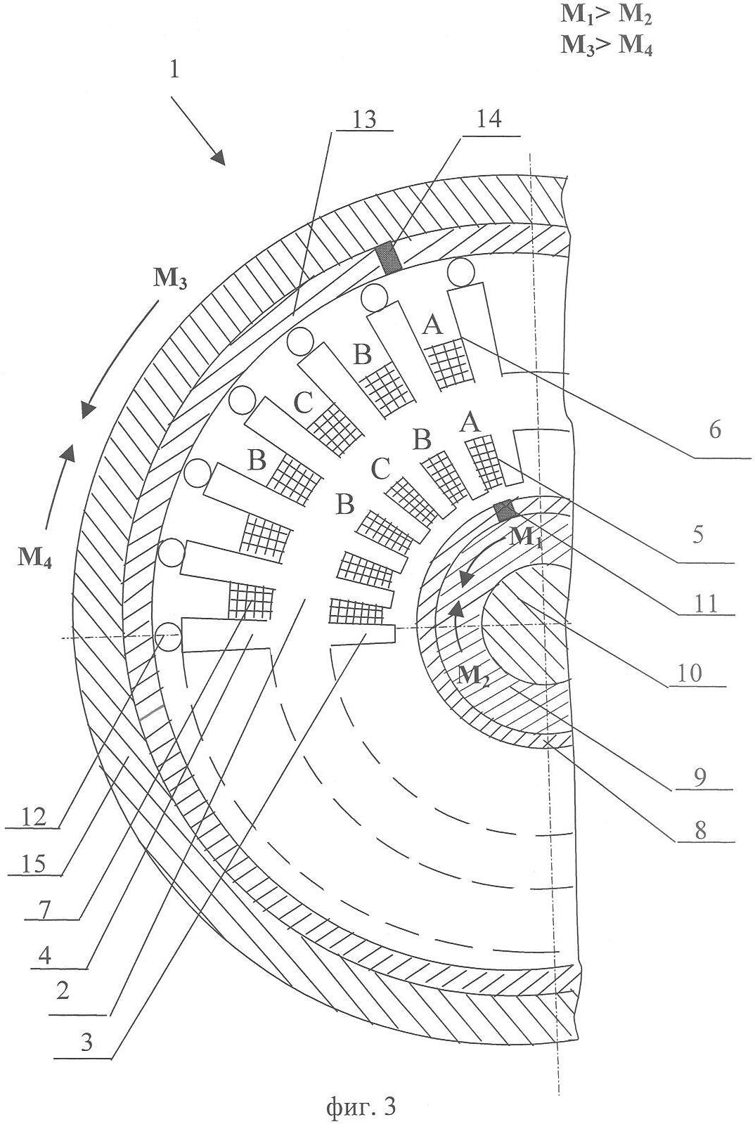
на фиг.3 показан первоначальный ряд фазных катушек при отключении последней катушки ряда для начала шага роторов;
фиг.4 показывает фиксацию роторов в новом положении при отключенной первой фазной катушке первоначального ряда и подключенной фазной катушке, следующей за последней фазной катушкой первоначального ряда, при этом получается новый дугообразный ряд фазных катушек, у которого до середины один, а после середины – противоположный порядок следования фаз;
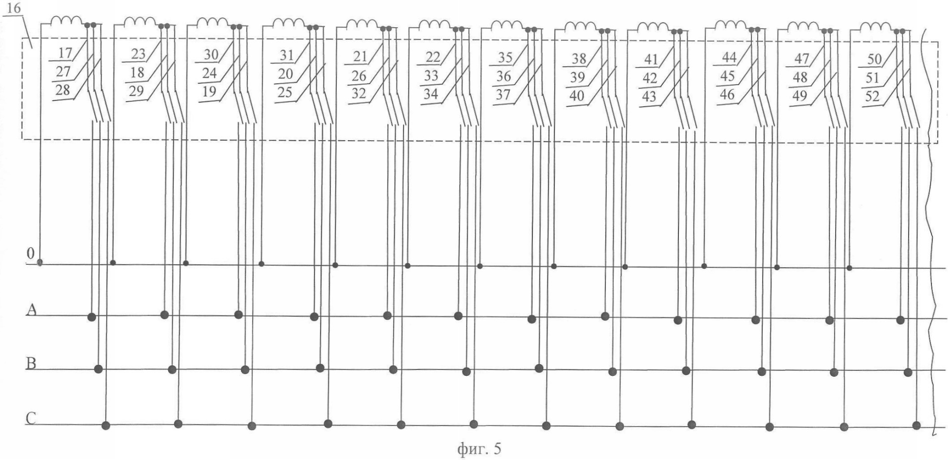
фиг.5 показывает схематически фрагмент коммутирующего устройства для подключения фазных катушек обмотки шагового электродвигателя к источнику трехфазного напряжения.
Шаговый электродвигатель 1 (фиг.1) содержит статор 2, с зубцами 3 и 4, расположенными на внутренней и внешней расточках статора и пазами 5 и 6, расположенными между ними. В пазах 5 и 6 размещены фазные катушки обмотки 7. Основной ротор содержит электропроводящую часть 8 и магнитопроводящую часть 9, размещенные на валу 10. Электропроводящая часть содержит диаметральную прорезь 11, расположенную по всей активной длине основного ротора и заполненную изолирующим веществом. На зубцах 4 на внешней расточке статора установлены ролики 12, на которые опирается электропроводящая часть 13 дополнительного ротора, выполненная в виде цилиндра и имеющая диаметральную прорезь 14, расположенную по всей активной длине дополнительного ротора и заполненную изолирующим веществом. Поверх электропроводящей части 13 установлена магнитопроводящая часть 15 дополнительного ротора.
На фиг.2 изображено схематически поперечное сечение шагового электродвигателя с подключенными к источнику трехфазного питания пятью катушками, образующими первоначальный ряд. Стрелками M1; M2; М3; М4 обозначено направление моментов, действующих на основной и дополнительный роторы шагового электродвигателя (А; В; С – обозначения фаз источника питания). Остальные обозначения те же, что и на фиг.1.
На фиг.3 показан первоначальный ряд фазных катушек при отключении последней катушки ряда до начала шага роторов. Обозначения те же, что и на фиг.1 и фиг.2.
На фиг.4 показана фиксация роторов в новом положении после совершения одного шага, каждого из них на одно зубцовое деление. При отключенной первой фазной катушке 7 первоначального ряда и подключенной катушке, следующей за последней катушкой первоначального ряда. При этом получается новый дугообразный ряд фазных катушек, у которых до середины один, а после середины – противоположный порядок следования фаз.
На фиг.5 показан схематически фрагмент коммутирующего устройства 16 для подключения фазных катушек обмотки шагового электродвигателя к источнику трехфазного напряжения. Контакты 17-52 коммутирующего устройства 16 предназначены для подключения фазных катушек 7 к источнику трехфазного напряжения.
Рассмотрим принцип работы данного шагового электродвигателя. При подключении пяти фазных катушек 7 обмотки ШД (фиг.1 и фиг.2) образуется дугообразный ряд катушек, у которого до середины ряда один (А, В, С), а после середины – противоположный (С, В, А) порядок следования фаз. При этом коммутирующим устройством подключены первые пять катушек слева направо. Замыкаются контакты 17, 18, 19, 20, 21 (фиг.5). Токи, протекающие по катушкам, образующим ряд, создают четыре бегущих навстречу друг другу магнитных поля, пересекающих электропроводящие части 8 и 13 роторов и индуктирующие в них электродвижущие силы (ЭДС) и токи. Токи в электропроводящих частях 8 и 13 будут взаимодействовать с бегущими навстречу друг другу магнитными полями. В результате этого взаимодействия создаются вращающие моменты М1; M2; М3; М4 (фиг.2), которые одинаковы по величине и направлены встречно друг другу. Они будут уравновешивать друг друга и точно фиксировать основной и дополнительный роторы в положении, указанном на фиг.2. Для совершения первого шага от источника питания отключается последняя катушка первоначального дугообразного ряда (фиг.3 и фиг.5), для этого коммутирующим устройством размыкается контакт 21 (фиг.5). В этом случае два из четырех магнитных полей создаются токами трех катушек (А, В, С), а два других бегущих поля – токами двух катушек (В и С). Эти бегущие магнитные поля будут эллиптическими. Эти бегущие магнитные поля, пересекая электропроводящие части 8 и 13 роторов, индуктируют в них ЭДС и токи, которые будут взаимодействовать с бегущими магнитными полями. В результате этого взаимодействия создаются моменты M1 и М2. Момент M1 создается в результате взаимодействия кругового магнитного поля с токами ротора, им индуктированными, и будет больше чем момент М2, который создается при взаимодействии эллиптического магнитного поля с токами ротора, им индуктированными. Под действием разности моментов M1 и М2 основной ротор начнет поворачиваться против часовой стрелки. Момент М3 создается в результате взаимодействия кругового бегущего поля с токами, им индуктированными в электропроводящей части 13 дополнительного ротора. Момент М3 будет больше момента М4 (фиг.3), создаваемого при взаимодействии эллиптического магнитного поля с токами, индуктированными им в электропроводящей части 13 дополнительного ротора. Под действием разности моментов М3 и М4 дополнительный ротор также начнет поворачиваться против часовой стрелки. Для завершения шага и точной фиксации роторов в новом положении коммутирующим устройством отключают от источника питания первую катушку первоначального ряда, для чего размыкают контакт 17. При этом будут замкнуты контакты 29, 24, 25, 26, 22 (фиг.4 и фиг.5). Остальные контакты коммутирующего устройства разомкнуты. При этом получаем новый дугообразный ряд катушек, у которых до середины ряда один, а после середины – противоположный порядок следования фаз. В этом случае моменты М1 и М2, действующие на электропроводящую часть 8 основного ротора, снова становятся равными и фиксируют основной ротор в новом положении, и равными становятся моменты М3 и М4, действующие на электропроводящую часть 13 дополнительного ротора и фиксирующие его в новом положении. Таким образом, каждым ротором сделан шаг на одно зубцовое деление и т.д.
По сравнению с прототипом расширены функциональные возможности шагового электродвигателя за счет реализации одновременно двух шагов основным и дополнительным роторами.
Формула изобретения
Шаговый электродвигатель, содержащий статор с зубцами и пазами и с обмоткой, состоящей из фазных катушек, ротор, включающий электропроводящую и магнитопроводящую части, и коммутирующее устройство, причем фазные катушки обмотки статора соединены с коммутирующим устройством, при этом начала фазных катушек соединены с клеммами для подключения нулевого провода источника питания, а концы каждой фазной катушки соединены через замыкающие контакты коммутирующего устройства с клеммами для подключения соответствующих фаз источника питания, причем управляющий блок коммутирующего устройства выполнен с возможностью одновременного подключения для фиксации ротора пяти фазных катушек, образующих дугообразный ряд, у которого до середины один, а после середины – противоположный порядок следования фаз, причем для начала шага ротора – с возможностью отключения последней фазной катушки ряда, а для завершения шага – с возможностью одновременного отключения первой фазной катушки ряда и подключения фазной катушки, следующей за последней катушкой первоначального ряда, причем ротор содержит электропроводящую часть, выполненную в виде цилиндра, который выполнен с диаметральной прорезью, расположенной по всей активной длине ротора и заполненной изолирующим веществом, отличающийся тем, что на внешней расточке статора выполнены дополнительные зубцы и пазы, причем фазные катушки выполнены кольцевыми и каждая фазная катушка размещена одновременно в пазах, расположенных на внутренней и внешней расточках статора, на зубцах внешней расточки статора установлены роликовые опоры, поверх которых размещен дополнительный ротор, содержащий электропроводящую часть в виде цилиндра, который выполнен с диаметральной прорезью, расположенной по всей активной длине дополнительного ротора и заполненной изолирующим веществом, поверх которого расположена магнитопроводящая часть.
РИСУНКИ
|
|